nvent HOFFMAN RCM42001H RackChiller Rack Manifold User Manual
OVERVIEW
nVent’s rack manifolds are made of stainless steel square tubes utilizing high quality fabrication processes and components. nVent rack manifolds enable integrated IT rack cooling loops to connect with compatible cooling infrastructures.
MINIMUM REQUIREMENTS
Dimensions
It is recommended to use manifolds in a cabinet space that is a minimum of 4 ¼” (11 cm) taller than the manifold itself. A minimum clearance of 1 ¼” (3.5 cm) above and 3” (7.5 cm) below the manifold is recommended.

Water Quality Requirements
nVent follows the water quality guidelines for liquid cooling equipment published by ASHRAE. ASHRAE recommends the following water quality for the secondary or technology cooling system loop.
| Parameter | Secondary Loop |
| pH | 8.0 to 9.5 |
| Corrosion inhibitor(s) | Required |
| Biocide | Required |
| Sulfide | < 1 ppm |
| Sulfate | < 10 ppm |
| Chloride | < 5 ppm |
| Bacteria | < 100 CFUs/mL |
| Total Hardness (as CaCo3) | < 0 ppm |
| Conductivity | 0.2 to 20 micromho/cm |
| Total suspended solids | < 3 ppm |
| Residue after evaporation | < 50 ppm |
| Turbidity | < 20 NTU (Nephelometric) |
When using treated water as the cooling liquid in the secondary loop, nVent supports using deionized and distilled water. The use of reverse osmosis and demineralized water is not supported.
Filtration
nVent recommends using a maximum 50 micron filter on the secondary or technology cooling system loop to remove any particulate within \ the secondary loop during operation. If smaller passage dimensions exist within the secondary loop, then a filter with a smaller passable media dimension can be selected to maintain the ½ to 1/10 passable media range. Differential pressure should be monitored across the filter and tracked over the course of operation to determine if there is particulate build up in the filter. If the differential pressure indicates that there is build up on the filter, the filter should be removed and cleaned, and the particulate from the filter should be examined to determine the type of particulate in the system.
SPECIFICATIONS
Weldment Assembly
Base Material 304L Stainless Steel
Dimensions
Note: dimensions and weights refer to standard models. Custom orders will vary.
- RCM42001 Standard Model:

- RCM42001H Hose Whip Model:

Weight
Fully populated:
- RCM42001 Standard Model
- Dry: 25 lbs
- Filled: 30 lbs
- RCM42001H Hose Whip Model
- Dry: 45 lbs
- Filled: 55 lbs
Internal Volume
Fully populated:
- RCM42001 Standard Model: 195 in3
- RCM42001H Hose Whip Model: 305 in3
Flow Rating
Max flow per branch must not exceed 2.2 GPM.
Maximum Operating Pressure 150 psig (10 bar)
Temperature Rating
- Max operating temperature: 70°C
- Storage temperature: -40°C to 80°C
- It is recommended to warm the rack manifold up to room temperature prior to installation to prevent damages to seals and hoses during handling.
Hose
Material
Peroxide Cured EPDM
Dimensions
- Inlet/outlet Hoses: 1” ID available in 36” lengths
- Branch circuit Hoses: 3/8” ID available in 12”, 18”, and 24” lengths
Minimum Allowable Bend Radius
- 1” ID hose: 6”
- 3/8” ID hose: 3”
Humidity Requirement
It is recommended that ambient humidity be below 70%.
Wetted Materials
During normal operation, coolant comes in contact with the following materials:
- 304L Stainless Steel
- Chrome Plated Brass
- C36000 Brass
- Peroxide Cured EPDM
- Fluorocarbon (FKM) seals
- Nitrile (NBR) seals
INSTALLATION
Handling
Outside of the carton, the rack manifold is best transported to the installation site with the use of a cart. Do not carry or grab the rack manifold by the quick disconnects or hose whip. Do not drag the inlet/outlet hoses across the floor as this can damage to the dual interlocking ball valve or introduce debris to the inner seal.
Pre-Commissioning Checklist
Depressurizing
The rack manifold is pressurized with 10 psig of Nitrogen from the factory. Depressurizing requires attaching the purge hose kit to the purge/ drain port and slowly opening the small ball valve.
Inspecting Bumpers
Ensure the black rubber bumper is properly seated on the dual interlocking ball valve
Inspecting Seals
Ensure the face seal of the dual interlocking ball valve is properly seated
- Improperly seated seal:

- Properly seated sea

Hose Inspection
Inspect all hoses for kinks. If the hose is kinked upon receiving, inspect the kinked section, and do not use if there are signs of stress (discoloration) or cracks.
Mounting
To mount rack manifolds, follow the relevant section of the installation instruction manual included with the mounting bracket kit. Do not lift manifold by hoses or quick disconnects. The rack manifold contains a 1/2″ M6 stud as an optional ground connection, which is indicated by a ground label. It is recommended that this be used with the nVent Bonding and Grounding Kit (Catalog #: DBGRDK).
Commissioning
Flushing
Manifolds should be thoroughly flushed with fluid before connecting to the cooling circuit in order to reduce the risk of contamination entering the circuit. To flush the manifold, connect the fill and purge kit to the port furthest from the 1” inlet/outlet hose. Open the ball valve on the fill and purge kit and run fluid through the manifold for a minimum of 30 seconds.
- Purge/drain port
- Fill and purge kit
Connecting Quick Disconnects
The port furthest from the 1” inlet/outlet hose is for draining/purging and is not intended to be connected to a cooling circuit. When connecting quick disconnects, the force to connect increases as the internal pressure of the system increases. It is recommended to support the manifold while inserting quick disconnects.
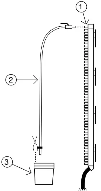
Purging Air
It is important to purge all air from the cooling infrastructure before commissioning any system. It is recommended to purge all circuits in series first, then purge parallel circuits from lowest to highest until all branches are purged of air. An external pump that provides at least 10 GPM is suggested in order to have sufficient flow capacity to move and dislodge any trapped air. The system is purged of air when the coolant passing through the purge hose kit is clear or free of entrained air.
- For bottom feed configurations, the topmost port functions as the purge outlet.

- Manifold purge/drain port
- Purge kit
- Bucket (not included)
- For top feed configurations, the manifold inlet/outlet dual interlocking ball valve can be used as the purge outlet by using the dual interlocking ball valve adaptor kit.

SPARE PARTS
| Catalog Number: | Description: | Image: |
| DPDU2 | HDW KIT, PDU BRKT, PROLINE | ![]() |
| RCPKIT001 | RM PURGE KIT NSP06 | ![]() |
| RCPKIT002 | RK MNFLD TOP FED PRGE KIT ADPT | ![]() |
| RCAMMS | RM ACC MOUNTING SPOOL | ![]() |
| RCAMORR | RM ACC IND ORING RED | ![]() |
| RCAMORB | RM ACC IND ORING BLU | ![]() |
SAFETY AND USER RESPONSIBILITY
- It is the responsibility of the user to ensure the product used presents no health or safety hazard conditions through their own analysis and testing.
- This product can cause severe injury or death if used improperly. Never pressurize the product above 10 psig with compressible fluid. Pressurization above 10 psig must be done hydrostatically.
- The rack manifold is mechanically isolated for thermal performance and is equipped with an optional grounding provision. Avoid routing electrical wires nearby the rack manifold. Do not terminate any wires near the hoses.
- Installing the rack manifold near any radiant heat source could cause accelerated aging of the hose and other non-metallic components.
WARRANTY
https://HOFFMAN.nVent.com/rackchiller-rack-manifold-product-warranty
North America
All locations
Tel +1 763 422 2211
Europe
Straubenhardt, Germany
Tel +49 7082 794.0
Betschdorf, France
Tel +33 388 90 64 90
Warsaw, Poland
Tel +48 22 209 98 35
Assago, Italy
Tel +39 02 5776151 224
Middle East & India
Dubai, United Arab Emirates
Tel +971 4 823 8666
Bangalore, India
Tel +91 80 6715 8900
Istanbul, Turkey
Tel +90 216 250 737
Asia
Shanghai, P.R. China
Tel +86 21 2412 6943
Qingdao, P.R. China
Tel +86 532 8771 6101
Singapore
Tel +65 6768 5800
Shin-Yokohama, Japan
Tel +81 45 476 0271
©2022 nVent. All nVent marks and logos are owned or licensed by nVent Services GmbH or its affiliates. All other trademarks are the property of their respective owners. nVent reserves the right to change specifications without notice. Rev. A
































