rocstor Y10E037-B1 SolidRack 42U Open Frame Rack

Rocstor Legal Disclaimer
The information presented in this manual is not warranted by Rocstor to be totally authoritative, error-free, or complete. This publication is not meant to be a substitute for a detailed operational and site-specific development plan for the use of the product. Therefore, Rocstor assumes no liability for damages, violations of codes, improper installation, system failures, or any other problems that could arise based on the use of this Manual.
THE WARRANTY AND REMEDIES SET FORTH ABOVE ARE LIMITED IN TIME TO THE DURATION OF THE WARRANTY AS STATED HEREIN AND ARE EXCLUSIVE IN LIEU OF ALL OTHER WARRANTIES, LEGAL THEORIES, REMEDIES, AND CONDITIONS, WHETHER ORAL OR WRITTEN, EXPRESS OR IMPLIED. IN NO EVENT SHALL ROCSTOR, OR ANY PARENT, AFFILIATE OR SUBSIDIARY COMPANY OF ROCSTOR OR THEIR RESPECTIVE OFFICERS, DIRECTORS, OR EMPLOYEES BE LIABLE FOR ANY DIRECT, INDIRECT, CONSEQUENTIAL, PUNITIVE, SPECIAL, OR INCIDENTAL DAMAGES, INCLUDING, WITHOUT LIMITATION, DAMAGES FOR LOSS OF BUSINESS, CONTRACTS, REVENUE, LOST PROFITS, DATA, INFORMATION, GOODWILL OR BUSINESS INTERRUPTION RESULTING FROM OR ARISING OUT OF THE USE OF THE PRODUCT OR FAILURE TO FOLLOW INSTRUCTIONS IN THE MANUAL.FURTHERMORE, ROCSTOR SPECIFICALLY DISCLAIMS ANY AND ALL IMPLIED WARRANTIES INCLUDING, WITHOUT LIMITATION, WARRANTIES OF MERCHANTABILITY AND FITNESS FOR A PARTICULAR PURPOSE. IF ROCSTOR CANNOT LAWFULLY DISCLAIM SUCH IMPLIED WARRANTIES, THOSE IMPLIED WARRANTIES WILL BE LIMITED IN DURATION TO THE DURATION SET FORTH ABOVE. FURTHER STILL, ROCSTOR RESERVES THE RIGHT TO MAKE CHANGES OR UPDATES WITH RESPECT TO THE CONTENT OF THE PUBLICATION OR THE FORMAT THEREOF AT ANY TIME AFTER PURCHASE WITHOUT NOTICE.
Some states and provinces do not allow the exclusion or limitation of incidental or consequential damages or exclusions or limitations on the duration of implied warranties or conditions, so the above limitations or exclusions may not apply to you. This warranty gives you specific legal rights and you may also have other rights that vary by state or province. Copyright, intellectual, and all other proprietary rights in the content of the manual (including but not limited to software, audio, video, text, and photographs) rests with Rocstor or its licensor. All rights in the content are the property of Rocstor and are not granted, licensed, assigned, or otherwise passed to the purchaser’ of the product or to persons having access to the information in the manual.
Introduction
SolidRack R3300 Premium 42U Standard-Depth 4-Post Open Frame Rack Cabinet – No Doors or Side Panels – Assembled – 3300 lb (1500 kgs) Static Load Capacity – Includes Casters – Locking – 19” Standard Rack Width – 600mm Wide x 1070mm Deep, 42U Enclosure – Floor Standing – Heavy-duty Cold-rolled Steel (CRS) – For HP®, Dell®, Lenovo® Servers – For Server, Storage, LAN Switch, PDU – ROHS & CE Certified – Comparable to SR42UBEXPND – EIA-310-E & IP20 Protection Rating Compliant – Black
This manual provides notes for the general installation and configuration.
Dimensions Specification
Available Rack Dimensions
- Capacity(U): 42U
- Width(mm): 600
- Depth(mm): 1070

Important Safety Information
Please review and read the instructions very carefully in order to understand the specifications of the equipment. This is essential information before installing, operating, servicing, or maintaining your equipment. These messages or alerts may appear throughout this publication and manual for your purchased equipment. The messages are designed to warn you of possible hazards or to bring to your attention information that would assist and clarifies steps and procedures.
This symbol and label provide Danger or Warning safety which indicates an electrical hazard exists. If instructions are not fully followed, it may result in personal injury.
This is a safety alert symbol. It is used to alert you to potential personal injury hazards. Please follow the instructions very carefully and obey all safety messages that follow this symbol to avoid possible injury or death.- DANGER This symbol represents an imminently hazardous situation that, if not avoided, will result in death or serious injury. Please follow the instructions carefully.
- WARNING This symbol represents a potentially hazardous situation that, if not avoided, can result in death or serious injury. Please follow the instructions carefully.
- CAUTION This symbol indicates a potentially hazardous situation that, if not avoided, can result in minor or moderate injury.
- CAUTION, This symbol if used without the safety alert symbol, indicates a potentially hazardous situation which, if not avoided, can result in equipment damage. Please follow the instructions carefully. Please follow the instructions carefully.
- NOTICE This symbol provides information and practices not related to physical injury including certain environmental hazards, potential damage, or loss of data. Please follow the instructions carefully.
Safety Instructions
Please follow the essential and important instructions in this manual. The information provides you with useful instructions for the installation and customization of the rack or equipment.
WARNING
TIP/ HEAVY EQUIPMENT HAZARD
- The content of this packaging is easily tipped. Please be extra careful and use extreme caution when moving or unpacking this cabinet.
- Two people are preferred and are required to move and unpack the cabinet.
- Before moving the cabinet on its casters, load in the means of servers, storage, or other equipment 159 kg (350 lb) of equipment into the rack and place the equipment at the bottom of the cabinet for additional stability.
- Make sure the leveling feet are up when moving or pushing the cabinet. DO NOT push the cabinet from its sides.
Not following these instructions carefully, can result in death, serious injury, or equipment damage
Labels
Look for additional safety information affixed to the cabinet.
Component Identification
Oprn Frame Rack

- Top cover
- Horizontal Beam
- F rame
- Cable management rail
- Vertical rail
- 2-inch casters
- M12 leveling feet
Hardware and Accessories

To ensure proper and secure installation, cage nuts need to be installed horizontally as shown below. Installing cage nuts in the incorrect orientation can cause injury or equipment damage.

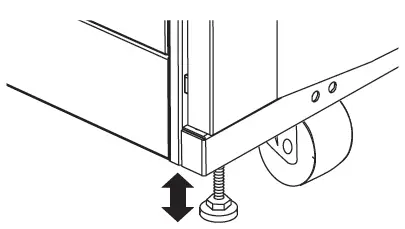
Level the Rack Cabinet
The leveling feet at the corners of the equipment provide a stable base if the door is uneven, but they cannot compensate for a badly sloped surface. Ensure the cabinet is in its intended location. Remove the front and rear doors.
NOTE: Before removing the front door, unplug the ground wires and any other wire connections that may interfere with the removal of the doors.
NOTE
- Use an 18 mm open-end wrench to lower each leveler A until it reaches the floor. (There are 4 levelers, 2 at the front and 2 at the rear.) Make sure each leveler contacts the floor solidly
- Adjust each foot and, using a level, adjust the feet until the cabinet is level and plumb. Do not install the doors until after the cabinet is joined to others in the row.

Note: Lower a leveler by turning it clockwise; raise a leveler by turning it counterclockwise.
Join the Cabinets
Join cabinets with the baying brackets option kit included with the SolidRack 42U. Which will provide alignment and added stability. SolidRack AR3100 cabinets may be joined with or without the side panels installed.
TIP HAZARD
If multiple racks are used, joining cabinets provides limited stability to the cabinets. Secure the cabinet to the floor before installing equipment. Please follow these instructions very carefully. Failure to follow these instructions can result in death, serious injury, or equipment damage. Enclosures within the same row can be connected together by using the included brackets. Side panels can be removed for access between enclosures but is not necessary. There are two connecting brackets on the front and two on the rear of each enclosure.
- Align the enclosures that will be connected together.
- Remove the enclosure doors.
NOTE: See the Remove Front and Rear Doors section for instructions. - Remove a connecting bracket, shown below. Align the connecting bracket between the enclosures such that each end can screw into the other enclosure. Repeat this step for all connecting brackets. Each pair of enclosures should be connected together by two front and two rear brackets.

Ground the Cabinet
DANGER
- HAZARD OF ELECTRIC SHOCK
- Connection of the cabinet to the building’s Common Bonding Network (CBN) is required.
- Failure to follow these instructions will result in death or serious injury.
- Please note that each cabinet should be bonded directly to a common ground using one of the designated grounding points (M6 threaded inserts) at the bottom of the cabinet.
- All enclosure doors have a pre-installed ground wire connected to the enclosure frame.
- To connect the enclosure to the facility’s ground, please use the reserved grounding holes on the base of the front or rear door frame.
- Install an 8 AWG wire with the included M6 screw, and connect the other side of the wire to the facility’s grounding point.

Five-Year Factory Warranty
Rocstor provides a Limited Factory Warranty which applies to products you have purchased for commercial or industrial use in the ordinary course of your business.
Terms of warranty
Rocstor warrants its SolidRack product series to be free from defects in materials and workmanship for a period of five years from the date of purchase. Rocstor’s obligation under this warranty coverage is limited to repairing or replacing, at its sole discretion, any such defective products. This warranty does not apply to equipment that has been damaged by accident, negligence, or misapplication or has been altered or modified in any way. In the event Rocstor repairs or provide a replacement of a defective product or part, the warranty does not extend the original warranty period. Rocstor reserves the right to repair or replace any parts under warranty as new or factory re-manufactured.
Non-transferable warranty
This warranty extends only to the original purchaser who must have properly registered the product. The product may be registered at the Rocstor Web site, https://rocstor.com/customer-support/warranty registration.
Exclusions
If Rocstor tests or examines the alleged defect in the product and finds that the damages or defects do not exist or were caused by a third party or an end user’s misuse, improper installation or testing, or negligence, then Rocstor shall not be liable under the warranty. Furthermore, unauthorized attempts to repair or modify the product by wrong or inadequate electrical connection or voltage, inadequate or inappropriate site operation conditions, repair, installation of corrosive area or atmosphere, a change in location or operating conditions or use, repair by non-Rocstor designated personnel, exposure to the elements, fire, Acts of God, theft, or equipment installation not recommended or contrary to Rocstor’s specifications or recommendations. Warranties will be void and Rocstor will not be liable if the product serial number is tampered with, altered, removed, defaced, or any other cause beyond the range of intended use.
Contact Information
Corporate Headquarters
- 12979 Arroyo Ave
- San Fernando, CA 91340 – USA
- Office: +1 (818) 727-7000
- Fax: +1 (818) 875-0002
- Email: [email protected]
Technical Support / RMA
- Hours: 9:00 am – 5:00 pm PST
- Mon – Fri (excluding holidays)
- Tell: +1 (818) 727-7000 (Domestic and Internationals)
- Fax: +1 (818) 875-0002
- Email: [email protected]
Sales Info
- Hours: 8:00 am – 5:00 pm PST
- Mon – Fri (excluding holidays)
- Tell: +1 (818) 727-7000 (Domestic and Internationals)
- Fax: +1 (818) 875-0002
- Email: [email protected]
Corporate, Government, and Academic Customers
- Our Corporate Sales Team’s goal is to help our U.S.A. and Canadian customers find a storage solution that best serves their needs.
- We will help you determine your best purchasing options. For more information please contact the appropriate department below or call us at +1 (818) 727-7000.
- General sales information: [email protected]
- Corporate sales information: [email protected]
- Educational sales information: [email protected]
- Federal, State & Local government sales information: [email protected]
Resellers/Business Development/OEM Partners
- All Channel National and International Resellers, VARs, Consultants …
- contact Rocstor Channel Sales: call: +1 (818) 727-7000
- Email: [email protected]



















