Y10E033-B1 4U 19in Steel Vertical Wall Mount Rack Bracket
User Manual
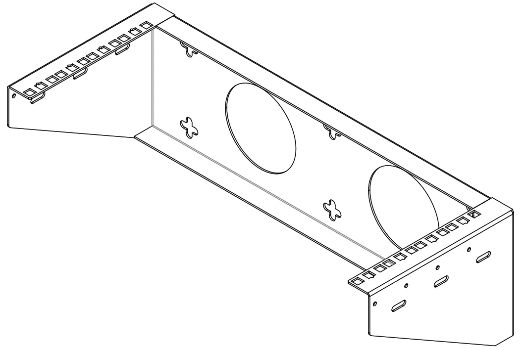
4U 19in Steel Vertical Wall Mount Rack Bracket – Black
Y10E033-B1
Introduction & Installation
- Installation of M6 Cage Nuts provides an attachment point into the square opening to the M6 Mounting Screws. Note: Check your user manual to see how many cage nuts will be needed and where they need to be installed.
A- Insert one of the flanges of the cage nut through the square opening from the inside of the mounting rails and press it against the side of the square opening.
B- You may have to apply some slight compression to the sides so the remaining flange will be able to fit through the square opening. If the cage nut has been installed correctly, then both flanges will jut out through the square opening and will be noticeable on the outer surface of the mounting rail. Repeat steps 1a and 1b until all required cage nuts are installed. - Once the required cage nuts have been installed, you can use the included M6 Mounting Screws and M6 Washers to secure your equipment into the installed M6 Cage Nuts.
Measurements
Units Dimension (Millimeter):

Package Content:
- M6 Cage Nut x 12
- M6 Plastic Washers x 12
- M6 Phillips Head Screw x 12
- Expansion Bolt x4
Five-Year Factory Warranty
Rostro provides a Limited Factory Warranty which applies to products you have purchased for commercial or industrial use in the ordinary course of your business.
Terms of warranty
Rostro warrants its Solid Rack product series to be free from defects in materials and workmanship for a period of five years from the date of purchase. Rockstar’s obligation under this warranty coverage is limited to repairing or replacing, at its sole discretion, any such defective products. This warranty does not apply to equipment that has been damaged by accident, negligence, or misapplication or has been altered or modified in any way. In the event Rostro repairs or provide a replacement of a defective product or part, the warranty does not extend the original warranty period. Rostro reserves the right to repair or replace any parts under warranty as new or factory re manufactured.
Non-transferable warranty
This warranty extends only to the original purchaser who must have properly registered the product. The product may be registered at the Rostro Web site, https://rocstor.com/customer-support/warranty registration.
Exclusions
If Rostro tests or examines the alleged defect in the product and finds that the damages or defects do not exist or were caused by a third party or an end user’s misuse, improper installation or testing, or negligence, then Rostro shall not be liable under the warranty. Furthermore, unauthorized attempts to repair or modify the product by wrong or inadequate electrical connection or voltage, inadequate or inappropriate site operation conditions, repair, installation corrosive area or atmosphere, a change in location or operating conditions or use, repair by non-Rostro designated personnel, exposure to the elements, fire, Acts of God, theft, or equipment installation not recommended or contrary to Rockstar’s specifications or recommendations. Warranties will be void and Rostro will not be liable if the product serial number is tampered with, altered, removed, defaced or any other cause beyond the range of intended use.
Contact Information
Corporate Headquarters
12979 Arroyo Ave
San Fernando, CA 91340 – USA
Office: +1 (818) 727-7000
Fax: +1 (818) 875-0002
Email: [email protected]
Technical Support / RMA
Hours: 9:00 am – 5:00 pm PST
Mon – Fri (excluding holidays)
Tell: +1 (818) 727-7000 (Domestic and Internationals)
Fax: +1 (818) 875-0002
Email: [email protected]
Sales Info
Hours: 8:00 am – 5:00 pm PST
Mon – Fri (excluding holidays)
Tell: +1 (818) 727-7000 (Domestic and Internationals)
Fax: +1 (818) 875-0002
Email: [email protected]
Corporate, Government and Academic Customers
Our Corporate Sales Team’s goal is to help our U.S.A. and Canadian customers find a storage solution that best serves their needs. We will help you determine your best purchasing options. For more information please contact the appropriate department below or call us at +1 (818) 727-7000.
General sales information: [email protected]
Corporate sales information: [email protected]
Educational sales information: [email protected]
Federal, State & Local government sales information: [email protected]
Resellers/Business Development/OEM Partners
All Channel National and International Resellers, VARs, Consultants …
contact Rostro Channel Sales: call: +1 (818) 727-7000
Email: [email protected]
© 2022 Rostro is registered trade mark of Restorage, Inc.
Any unauthorized copying, duplicating, or other reproduction of the contents hereof
is prohibited without written consent from Rocstor. All rights reserved.
Other trademarks are property of their respective owners.



















