Assembly Instructions

![]()
SWJONES.01.01
Art. No. SW-JONES
SW-JONES 3D Smith Rack
Dear customer,
Thank you for choosing BodyCraft® training equipment. BodyCraft® inspires with its multifunctionality and excellent workmanship and is one of the highest quality fitness equipment for home use in terms of innovation and technology. BodyCraft® weight stations, for example, offer a very wide range of exercise possibilities. This ranges from traditional strength training such as bench presses to rehabilitation exercises and workouts for complex sports such as golf, tennis or badminton.
Further information can be found at www.sport-tiedje.com.
Intended Use
The equipment may only be used for its intended purpose.
The equipment is suitable for home use and semi-professional use (e.g. hospitals, clubs, hotels, schools, etc.). The equipment is not suitable for commercial or professional use (e.g. fitness studio).
Legal Notice
| Sport-Tiedje GmbH Europe’s No. 1 for home fitness International Headquarters Flensburger Straße 55 24837 Schleswig Germany | Management: Christian Grau Sebastian Campmann Dr. Bernhard Schenkel No. HRB 1000 SL Local Court Flensburg European VAT Number: DE813211547 |
Disclaimer
BodyCraft® is a registered brand of the company Fitness Authority Industrial Co., LTD. All rights reserved. Any use of this trademark without the explicit written permission of Fitness Authority Industrial Co., LTD is prohibited.
Product and manual are subject to change. Technical data can be changed without advance notice.
ABOUT THIS MANUAL
Please carefully read the entire manual before installation and first use. The manual will help you to quickly set up the system and explains how to safely use it. Make sure that all persons exercising with the equipment (especially children and persons with physical, sensory, mental or motor disabilities) are informed about this manual and its contents in advance. In case of doubt, responsible persons must supervise the use of the equipment.
Due to ongoing changes and software optimisations, the manual may have to be updated. If you notice any discrepancies during assembly or use, please refer to the manual uploaded to the webshop. The latest manual is always available there.
This equipment has been manufactured according to the latest safety knowledge. As far as possible, potential safety hazards which could cause injury have been eliminated. Make sure to carefully follow the instructions and that all parts are securely in place. If required, read through the instructions again to correct any mistakes.
Please pay close attention to the safety and maintenance instructions given here.
The contract partner cannot be held liable for damage to health, accidents or damage to the equipment when it is not used in accordance with these instructions.
The following safety instructions may appear in this manual:
ATTENTION
This notice indicates potentially hazardous situations which, if not avoided, may result in property damage.
⚠ CAUTION
This notice indicates potentially hazardous situations which, if not avoided, may result in slight or minor injuries!
⚠ WARNING
This notice indicates potentially hazardous situations which, if not avoided, may result in death or serious injuries!
⚠ DANGER
This notice indicates potentially hazardous situations which, if not avoided, will result in death or serious injuries!
NOTICE
This notice indicates further useful information.
Retain these instructions in a safe place for future reference, maintenance or when ordering replacement parts.
GENERAL INFORMATION
1.1 Technical Data
Weight and Dimensions
Packaging dimensions (L x W x H) and article weight (gross, incl. packaging) approx.:
| Box 1: | 211 cm x 27 cm x 12 cm | 66 kg |
| Box 2: | 155 cm x 26 cm x 12 cm | 38.4 kg |
| Box 3: | 111 cm x 43 cm x 19 cm | 65.6 kg |
| Box 4: | 220 cm x 31 cm x 10 cm | 15.7 kg |
| Set-up dimensions (L x W x H, without barbell bar): | 107 cm x 139 cmx 211 cm |
| Article weight (net, without packaging): | 174.2 kg |
Barbell bar
| Maximum | 450 |
| load: | 215 |
| Length: Diameter for optional weight plates: | 50 mm |
1.2 Personal Safety
⚠ DANGER
+ Before you start using the equipment, you should consult your physician that this type of exercise is suitable for you from a health perspective. Particularly affected are persons who:have a hereditary disposition to high blood pressure or heart disease, are over the age of 45, smoke, have high cholesterol values, are overweight and/or have not exercised regularly in the past year. If you are under medical treatment that affects your heart rate, medical advice is absolutely essential.
+ Note that excessive training can seriously endanger your health. Please also note that heart rate monitoring systems can be inaccurate. If you notice any signs of weakness, nausea, dizziness, pain, shortness of breath, or other abnormal symptoms, stop exercising immediately and seek advice from your doctor if necessary.
⚠ WARNING
+ This equipment may not be used by children under the age of 14.
+ Children should not be allowed unsupervised access to the equipment.
+ Persons with disabilities must have a medical license and must be under strict observation when using the equipment.
+ The equipment is strictly for use by one person at a time.
+ If your equipment provides a safety key, the clip of the safety key must be attached to your clothing before starting your training. In the event of a fall, the EMERGENCY STOP of the equipment can be initiated.
+ Keep your hands, feet and other body parts, hair, clothing, jewellery and other objects well clear of moving parts.
+ During use, wear suitable sports clothing rather than loose or baggy clothing. When wearing sports shoes, make sure they have suitable soles, preferably made of rubber or other nonslip materials. Shoes with heels, leather soles, studs or spikes are unsuitable.
Never exercise barefoot.
⚠ CAUTION
+ If your equipment needs to be connected to the power supply with a mains cable, make sure that the cable is not a potential tripping hazard.
+ Make sure that nobody is within the range of motion of the equipment during training so as not to endanger you or other persons.
ATTENTION
+ Do not insert any objects of any kind into the openings of the device.
1.3 Set-Up Place
⚠ WARNING
+ Do not place the equipment in main corridors or escape routes.
⚠ CAUTION
+ Choose a location in which to place the equipment such that there is enough free space/clearance to the front, the rear and to the sides of the equipment.
+ The training room should be well ventilated during training and not be exposed to any draughts.
+ Choose the place in which to set up the equipment such that there is enough free space/ clearance to the front, the rear and to the sides of the equipment.
+ The set-up and mounting surface of the equipment should be flat, loadable and solid.
+ If your device is to be mounted on the wall/ceiling, make sure that you use the appropriate assembly material to avoid possible damages or personal injuries. The contractual partner accepts no liability for this.
ATTENTION
+ The device may only be used in one building, in sufficiently tempered and dry rooms (ambient temperatures between 10°C and 35°C). The equipment should not be usedoutdoors or in rooms with high humidity (over 70%) like swimming pools.
+ A floor protective mat/equipment underlay can help to protect high-quality floor coverings (parquet, laminate, cork, carpets) from dents and sweat and can help to level out slight unevenness.
ASSEMBLY
2.1 General Instructions
⚠ DANGER
+ Do not leave any tools, packaging materials such as foils or small parts lying around, as otherwise there is a danger of suffocation for children. Keep children away from the equipment during assembly.
⚠ WARNING
+ Pay attention to the instructions attached to the equipment in order to reduce the risk of injuries.
⚠ CAUTION
+ Ensure to have sufficient room for movement in each direction during assembly.
+ The assembly of the equipment must be carried out by at least two adults. If in doubt, seek the help of a third technically skilled person.
ATTENTION
+ To prevent damage to the equipment and the floor, assemble the equipment on a mat or packaging board.
NOTICE
+In order to make the assembly as simple as possible, some screws and nuts to be used can already be pre-assembled.
+ Ideally, assemble the equipment at its later set-up place.
2.2 Scope of Delivery
The scope of delivery consist of the following parts. At the beginning, check whether all parts and tools belonging to the device are included in the scope of delivery and whether damage has occurred. In the event of complaints, the contractual partner must be contacted directly.
⚠ CAUTION
If parts of the scope of delivery are missing or damaged, the assembly must not be carried out.

| No. 29 40 42 44 45 50 51 54 55 57 | Description 1” ID big washer 1/2”x3-1/4” Hex bolt 3/8”x4” Hex bolt 3/8”x2-3/4” Hex bolt 3/8”x1-1/4” Hex bolt 1/2” Washer 3/8” Washer 1/2” Nylon nut 3/8” Nylon nut 3mm Hex wrench | Qty. 2 8 16 16 8 16 78 8 38 1 | ![]() |
2.3 Assembly
Before assembly, take a close look at the individual assembly steps shown and carry out the assembly in the order given.
NOTICE
+ First loosely screw all parts together and check that they fit properly. Tighten the screws using the tool only when you are instructed to do so.
+ If you have difficulty recognising the graphics, we recommend that you open and/or download the PDF instructions stored in the webshop on your end device (e.g. smartphone, tablet or PC). There you have the option of zooming in closer. Please note that the Adobe Acrobat Reader programme must be installed on your end device in order to open the file.
Step 1: Assembly of the Base Frame
- Slide four upright frames (3) onto the left and right base frame (1L & 1R).
- Attach the upright frames (3) and the base connectors (4) to the left and right base frame (1L & 1R) with a total of eight 3/8”x4” hex bolts (42), 16 3/8” washers (51) and eight 3/8” nylon nuts (55).

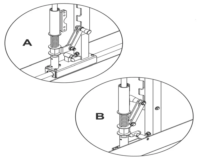
Step 2: Assembly of the Guide Rods, Rack Holders and Top Frames
- Loosen the two 5/16” x 1/4” set screws (49) on the left base bearing housing (15L).
- Insert one guide rod (12) into the round receptor of the left base bearing housing (15L).
- Slide one safety spotter (22), one 1” spring (32), one 1” ID big washer (29) and one vertical bearing housing (20) over the guide rod (12). Make sure the handle of the safety spotter (22) is facing the inside of the machine (fig. A & B).
- Insert one rack holder (11) into the square receptor of the left base bearing housing (15L) and secure with two 3/8”x2-3/4” hex bolts (44), four 3/8” washers (51) and two 3/8” nylon nuts (55).
- Attach the left bar rack (9L) to the inside of the rack holder (11) with six 3/8”x2-3/4” hex bolts (44), twelve 3/8” washers (51) and six 3/8” nylon nuts (55).
- Loosen the two 5/16”x1/4” set screws (49) on the left top bearing housing (17L).
- Place one top frame (2L) over the guide rod (12), upright frames (3) and the rack holder (11).
- Attach the top frame (2L) to the left top bearing housing (17L) with two 1/2”x3-1/4” hex bolts (40), four 1/2” washers (50) and two 1/2” nylon nuts (54).
- Repeat the steps 1 to 8 on the right side with the respective right side parts (16R, 10R, 18R, 2R).


Step 3: Assembly of the Chin Up Bar, Rear Top Frame and Logo Panels
- Attach the chin up bar (6) together with the logo panels (8) to the top frames (2L & 2R) and upright frames (3) with four 3/8”x4” hex bolts (42), eight 3/8” washers (51) and four 3/8” nylon nuts (55) [front].
- Attach the rear top frame (7) together with the logo panels (8) to the top frames (2L & 2R) and upright frame (3) with four 3/8”x4” hex bolts (42), six 3/8” washers (51) and two 3/8” nylon nuts (55) [rear].

Step 4: Assembly of the Weight Bar
- Attach the weight bar (19) to the vertical bearing housings (20) with a total of eight 3/8”x1-1/4” hex bolts (45), 16 3/8” washers (51) and eight 3/8” nylon nuts (55).
- Attach one spring clip (33) to each end of the weight bar (19).
- Attach the top bearing housing connector (5) to the left and right top bearing housings (17L & 18R) with a total of four 1/2”x3-1/4” hex bolts (40), eight 1/2” washers (50) and four 1/2” nylonnuts (54).
- Tighten all bolts, starting at the base and continuing towards the top.
NOTICE
In case the horizontal movement is not smooth, loosen and re-tighten the allen bolts on the earing housings.

STORAGE AND TRANSPORT
3.1 General Instructions
⚠ WARNING
+ The storage location should be chosen so that improper use by third parties or children can be prevented.
+ If your equipment does not have transportation wheels, the equipment must be disassembled before transportation.
ATTENTION
+ Make sure that the equipment is protected from moisture, dust and dirt in the selected storage location. The storage location should be dry and well ventilated and have a constant ambient temperature between 10°C and 35°C.
TROUBLESHOOTING, CARE AND MAINTENANCE
4.1 General Instructions
⚠ WARNING
+ Do not make any improper changes to the equipment.
⚠ CAUTION
+ Damaged or worn components may affect your safety and the life of the equipment.
Therefore, immediately replace damaged or worn components. In such a case, contact the contract partner. The equipment must not be used until it has been repaired. If necessary, use only original spare parts.
ATTENTION
+ In addition to the instructions and recommendations for maintenance and care given here, additional service and/or repair work may be necessary; this must only be carried out by authorised service technicians.
4.2 Faults and Fault Diagnosis
The equipment undergoes regular quality controls during production. Nevertheless, faults or malfunctions may occur. Frequently, individual parts are responsible for these disturbances, an exchange is usually sufficient. Please refer to the following overview for the most common errors and how to correct them. If the equipment still does not function properly, contact your contract partner.
| Fault | Cause | Solution |
| Squeaking & cracking noises | Screw connections loosened or too tight | Check or lubricate screw connections |
| Unit wobbles | + Uneven ground + Loose screw connections | + Align unit + Tighten screw connections |
| Heavy draught | Weight holders/guide rods too dry | Lubricate guide rods |
4.3 Maintenance and Inspection Calendar
To avoid damage from body sweat, the equipment must be cleaned with a damp towel (no solvents!) after each training session.
The following routine tasks must be performed at the specified intervals:
| Part | Weekly | Monthly | Quarterly |
| Screw connections | I | ||
| Slide rails/Guide rods | I | ||
| Legend: C = clean; I = inspect | |||
DISPOSAL
At the end of its operational life, this equipment cannot be disposed of in normal household waste.
Instead, it must be disposed of via an recycling centre. Further information can be obtained from your local authority‘s recycling service.
The materials can be recycled as per their symbols. Through the reuse, recycling of materials or other forms of recovery of old equipment, you make an important contribution to the protection of the environment.
RECOMMENDED ACCESSORIES
To make your training experience even more efficient and pleasant, we recommend that you add suiting accessories to your fitness equipment. For training equipment like smith machines, weight benches or racks this could for example be a floor mat, which makes your fitness equipment stand more securely and also protects the floor from sweat but it could be also additional weights, handles, foot straps for leg exercises or triceps ropes. For some smith machines, there are also optional addons such as leg presses that make your workout even more intense and comprehensive.
Our range of accessories offers the highest quality and makes training even better. If you would like to find out more about compatible accessories, please go to the detail page of the product in our webshop (the easiest way is to enter the article number in the search field above) and go to the recommended accessories on this page. Alternatively, you can use the QR code provided. Of course, you can also contact our customer service: by telephone, e-mail, in one of our branches or via our social media channels. We will be happy to advise you!
https://www.sport-tiedje.co.uk/bodycraft-3d-smith-rack-the-jones-sw-jones

ORDERING SPARE PARTS
7.1 Serial Number and Model Name
In order to provide you with the best possible service, please have the model name, article number, serial number, exploded drawing and parts list ready. The corresponding contact options can be found in chapter 9 of this operating manual.
NOTICE
The serial number of your equipment is unique. It’s located on a white sticker. The exact position of this sticker is shown in the following illustration.

Enter the serial number in the appropriate field.
Serial number:
Brand / Category:
BodyCraft / multi gym
Model Name:
3D Smith Rack The Jones
Article Number:
SW-JONES
7.2 Parts List
| No. | Name | Qty. |
| 1 | BASE FRAME L & R | 2 |
| 2 | TOP FRAME L & R | 2 |
| 3 | UPRIGHT FRAME | 4 |
| 4 | BASE CONNECTOR | 2 |
| 5 | TOP BEARING HOUSING CONNECT | 1 |
| 6 | CHIN UP BAR | 1 |
| 7 | REAR TOP FRAME | 1 |
| 8 | LOGO PANEL | 2 |
| 9L | LEFT BAR RACK | 1 |
| 10R | RIGHT BAR RACK | 1 |
| 11 | RACK HOLDER | 2 |
| 12 | VERTICAL GUIDE ROD | 2 |
| 13 | BASE GUIDE ROD (pre-assembled in Base Frame) | 2 |
| 14 | TOP GUIDE ROD (pre-assembled in Base Frame) | 2 |
| 15L | LEFT BASE BEARING HOUSING (pre-assembled in Base Frame) | 1 |
| 16R | RIGHT BASE BEARING HOUSING (pre-assembled in Base Frame) | 1 |
| 17L | LEFT TOP BEARING HOUSING (pre-assembled in Top Frame) | 1 |
| 18R | RIGHT TOP BEARING HOUSING (pre-assembled in Top Frame) | 1 |
| 19 | WEIGHT BAR | 1 |
| 20 | VERTICAL BEARING HOUSING | 2 |
| 21 | SAFETY CATCH (pre-assembled at factory) | 2 |
| 22 | SAFETY SPOTTER | 2 |
| 23 | LINK PLATE (pre-assembled with Safety Spotter) | 4 |
| 24 | HOOK PLATE (pre-assembled on Weight Bar) | 2 |
| 25 | WEIGHT SLEEVE (pre-assembled on Weight Bar) | 2 |
| 26 | 19 X 13 X 70L CONNECT ROD (pre-assembled on Weight Bar) | 2 |
| 27 | 34 X 29 X 8L SPACER (pre-assembled on Weight Bar) | 4 |
| 28 | 19 X 13 X 15L SHORT CONNECT ROD (pre-assembled on Safety Spotter) | 2 |
| 29 | 1″ ID BIG WASHER | 2 |
| 32 | 1″ SPRING | 2 |
| 33 | 2″ SPRING CLIP | 2 |
| 34 | RUBBER STOPPER (pre-assembled in Base Frame) | 4 |
| 35 | POP PIN (pre-assembled in Base Frame) | 2 |
| 36 | 25mm BEARING (pre-assembled in Base Frame) | 4 |
| 37 | 25mm BEARING (pre-assembled in Vert., Top Bearing Housings) | 8 |
| 38 | 30mm BEARING (pre-assembled in Base Frame) | 4 |
| 39 | 1/2″ X 4″ HEX BOLT | 2 |
| 40 | 1/2″ X 3-1/4″ HEX BOLT | 8 |
| 41 | 1/2″ X 1-3/4″ HEX BOLT | 2 |
| 41A | 1/2″ X 3″ HEX BOLT | 2 |
| 42 | 3/8″ X 4″ HEX BOLT | 16 |
| 43 | 14mm HEX WRENCH | 1 |
| 44 | 3/8″ X 2-3/4″ HEX BOLT | 16 |
| 45 | 3/8″ X 1-1/4″ HEX BOLT | 8 |
| 46 | 1/2″ X 1-1/4″ ALLEN BOLT | 2 |
| 47 | M8 X 20mm ALLEN BOLT | 8 |
| 48 | M8 X 15mm ALLEN BOLT | 4 |
| 49 | 5/16″ X 1/4″ SET SCREW | 16 |
| 50 | 1/2″ WASHER | 24 |
| 51 | 3/8″ WASHER | 78 |
| 52 | LARGER RETAINING RING (pre-assembled in Weight Bar) | 4 |
| 53 | SMALL RETAINING RING (pre-assembled in Vert Bearing Housings) | 8 |
| 54 | 1/2″ NYLON NUT | 14 |
| 55 | 3/8″ NYLON NUT | 38 |
| 56 | 5/16″ SPRING WASHER | 12 |
| 57 | 3mm HEX WRENCH | 1 |
| 58 | PLASTIC KNOB | 2 |
7.3 Exploded Drawing

WARRANTY
Training equipment from BodyCraft® is subject to strict quality control. However, if a fitness equipment purchased from us does not work perfectly, we take it very seriously and ask you to contact our customer service as indicated. We are happy to help you by phone via our service hotline.
Error Descriptions
Your fitness equipment is developed for long-term, high-quality training. However, should a problem arise, please first read the operating instructions. For further assistance, please contact your contract partner or call our service hotline. To ensure your roblem is solved as quickly as possible, please describe the defect as exactly as possible.
In addition to the statutory warranty, we provide a warranty for every fitness equipment purchased from us according to the following provisions.
Your statutory rights are not affected.
Warrantee
The warrantee is the first/original buyer and/or any person who received a newly purchased product as a gift from the original buyer.
Warranty period
The warranty periods, shown on our web shop, begin on delivery of the fitness equipment. The respective warranty periods for your equipment can be found on its product website.
Repair Costs
According to our choice, there will either be a repair, a replacement of individual damaged parts or a complete replacement. Spare parts, that have to be mounted while assembling the equipment, have to be replaced by the warrantee personally and are not a part of repair. After the expiration of the warranty period for repair costs, a pure parts warranty applies, which does not include the repair, installation and delivery costs.
The terms of use are defined as follows:
+ Home use: solely for private use in private households up to 3 hours per day
+ Semi-professional use: up to 6 hours per day (e. g. rehabilitation centres, hotels, clubs, company gyms)
+ Professional use: more than 6 hours per day (e. g. commercial gyms)
Warranty Service
Within the warranty period, equipment which develops faults as a result of material or manufacturing defects, will be repaired or replaced at our discretion. Ownership of equipment or parts of equipment which have been replaced is transferred to us. The warranty period is not extended nor does a new warranty period begin following repair or replacement under the warranty.
Warranty Conditions
For the warranty to be valid, the following steps must be taken:
Please contact our customer service by email or phone. If the product under warranty has to be sent in for repair, the seller bears costs. After expiry of the warranty, the buyer bears the costs of transport and insurance. If the fault is covered by our warranty, you will receive a new or repaired equipment in return.
Warranty claims are invalid in case of damage resulting from:
+ misuse or improper handling
+ environmental influences (moisture, heat, electrical surge, dust, etc.)
+ failure to follow the current safety measures for the equipment
+ failure to follow the operating instructions
+ use of force (e. g. hitting, kicking, falling)
+ interventions which were not carried out by one of our authorized service centres
+ unauthorised repair attempts
Proof of Purchase and Serial Number
Please make sure that you are able to provide the appropriate receipt when claiming on your warranty. So that we can clearly identify the model of your equipment, and for the purposes of our quality control, you will need to give the serial number of your equipment, when contacting the service team. Where possible please have your serial number and your customer number ready when you call our service hotline. It will help us to deal with your request swiftly.
If you cannot find the serial number on your fitness equipment, our service team is at your disposal to offer further information.
Service outside of the Warranty Period
We are also happy to issue an individual cost estimate if there is a problem with your fitness equipment after the warranty has expired, or in cases which do not fall under the terms of the warranty, e. g. normal wear and tear. Please contact our customer service team to find a quick and cost-effective solution to your problem. In such a case you will be responsible for the delivery costs.
Communication
Many problems can be solved just by speaking to us as your specialist supplier. We know how important it is to you as a user of the fitness equipment to have problems solved quickly and simply, so you can enjoy working out with minimal interruption. For that reason, we also want to resolve your queries quickly and in a straightforward manner. Thus, please always keep your customer number and the serial number of the faulty equipment handy.
CONTACT
TECHNICAL SUPPORT
? +44 141 876 3986
? [email protected]
SERVICE
? +44 141 876 3972
? You can find the opening hours on our homepage.
Please find a detailed overview including address and opening hours for all stores of the Sport-Tiedje Group in Germany and abroad on the following website:
www.sport-tiedje.com/en/stores
WE LIVE FITNESS
WEBSHOP AND SOCIAL MEDIA
Sport-Tiedje is Europe’s largest specialist store for home fitness equipment with currently over 70 stores and one of the world’s most renowned online mail order companies for fitness equipment. Private customers order via the 25 web shops in the respective national language or have their desired equpiment assembled on site. In addition, the company supplies fitness studios, hotels, sports clubs, companies and physio practices with professional equipment for endurance and strength training.
Sport-Tiedje offers a wide range of fitness equipment from renowned manufacturers, high-quality in-house developments and comprehensive services, such as a build-up service and sports scientific advice before and after the purchase. The company employs
numerous sports scientists, fitness trainers and competitive athletes.
Visit us also on our social media platforms or our blog!
| www.sport-tiedje.co.uk www.sport-tiedje.de/blog | |
| www.facebook.com/SportTiedje | |
| www.instagram.com/sporttiedje | |
| www.youtube.com/user/sporttiedje |
![]()
![]()
![]()
References
Fitnessgeräte kaufen bei Sport-Tiedje.at - Europas Nr.1 für Heimfitness
Køb træningsudstyr hos Fitshop - Europas nr. 1 inden for hjemmefitness
tiedje.de has been registered
Sport-Tiedje (@sporttiedje) • Instagram photos and videos
Purchase fitness equipment at Sport-Tiedje - Europe's No. 1 for home fitness
Fitnessgeräte kaufen bei Sport-Tiedje - Europas Nr. 1 für Heimfitness
Overview of stores - Europe's No. 1 for home fitness
Sport-Tiedje - Das Fitness Blog -

















