CARSON Po-25 Minibrite 3x LED Lighted Magnifier
Installing Batteries
Slide up protective sleeve to reveal battery door (Fig. 1). Slide battery door back and pull up to remove (Fig. 2). Insert three AAA batteries according to polarity indicators marked inside battery compartment (Fig. 3). Batteries must click into place. Replace battery door (Fig. 4).
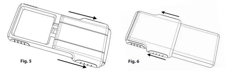
To Activate LED Light
Slide down protective sleeve until you hear a click. This will reveal lens and activate LED light (Fig. 5). When not in use, slide protective sleeve over lens to turn off light and protect lens from damage during storage (Fig. 6).
Warning: Use only alkaline batteries. Mixing old and new, different brands or types within brands may cause batteries to leak, overheat or explode. Keep away from fire or excessive heat. Inspect batteries for corrosion or leakage. Insert in direction indicated. Rechargeable batteries not recommended.
Cleaning Your Magnifier
Clean lens with a soft, clean microfiber cloth by rubbing gently in a circular motion. Moisten the lens cloth with water if needed. Do not use harsh chemicals, solvents or abrasives as they may damage the lens.
Customer Service:
If you experience any difficulties, please contact us and we will be happy to help you.
In the U.S.A.
- Phone: 1-631-963-5000
- Email: [email protected]
In the U.K.
- Phone: +44 (0) 1938 557440
- Email: [email protected]
In the E.U.
- Phone: +44 (0) 1938 557440
- Email: [email protected]
For warranty information, visit www.carson.com/warranty





















