CARSON LT-10 11.5x LED Lighted Folding Magnifier

Instructions for Use
Using Magnifier
Fold base stand out as shown in Figure 1. Fold lens out as shown in Figure 2. Place item directly on desired viewing subject and turn on LED light*. Switch is located on battery compartment (Fig. 3). Focus by turning lens housing until viewing subject appears sharp (Fig. 4). Turn off LED when not in use. To return to protective case, first fold lens portion back and then fold base back. You may need to twist lens housing up slightly to fully close item.
*When using for the first time, please remove plastic tab from battery compartment.

Graduated Base
Measure the viewing subject using the markings on the base stand (Fig. 5). The base stand is marked in both inches and millimeters.

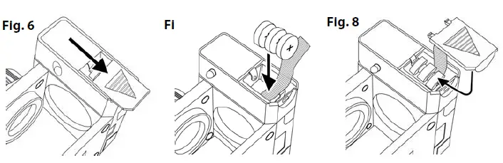
Replacing Batteries
Slide open battery door and remove (Fig. 6). Pull red ribbon up to remove exhausted batteries. Insert 3 G3 button-cell batteries according to the polarity indicators marked on the inside of battery compartment (Fig. 7). Make sure red ribbon is underneath batteries for easier removal. Replace battery cover when complete (Fig. 8).
WARNING: INSPECT ALL BATTERIES FOR SIGNS OF CORROSION OR LEAKAGE. DO NOT EXPOSE TO FIRE OR EXCESSIVE HEAT. USE ALKALINE BATTERIES ONLY, RECHARGEABLE BATTERIES NOT RECOMMENDED. INSERT ALL BATTERIES IN THE DIRECTION INDICATED.
Customer Service
If you experience any difficulties, please contact us and we will be happy to help you.
- In the U.S.A.
Phone: 1-631-963-5000
Email: [email protected] - In the U.K.
Phone: +44 (0) 1938 557440
Email: [email protected] - In the E.U.
Phone: +44 (0) 1938 557440
Email: [email protected]
For warranty information, visit www.carson.com/warranty




















