SEALEY TC960 Tyre Changer

OVERVIEW

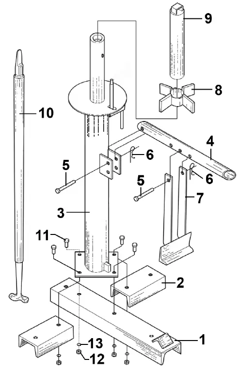
| Item | Part No. | Description | Item | Part No. | Description | |
| 1 | TC960.01 | Pedestal Base | 8 | TC960.08 | Pedestal Spider | |
| 2 | TC960.02 | Side base Channel | 9 | TC960.09 | Pedestal Cap | |
| 3 | TC960.03 | Tyre Table & Pedestal | 10 | TC960.10 | Tyre Bar | |
| 4 | TC960.04 | Bead Breaker Handle | 11 | SS1025.S | Hex Head Set Screw M10 X 25 Zinc | |
| 5 | TC960.05 | Clevis Pegs | 12 | SN10.S | Steel Nut M10 Zinc | |
| 6 | TC960.06 | R-Clip 4.3 X 3mm. | 13 | TC960.13 | Lock Washer | |
| 7 | TC960.07 | Bead Breaker Shoe | — | TC963 | Tyre Bar for Aluminium Wheels (Not Shown) |
NOTE: It is our policy to continually improve products and as such we reserve the right to alter data, specifications and component parts without prior notice. There may be alternative versions of this product, please contact us should you require this information.
IMPORTANT: No liability is accepted for incorrect use of product. Spare parts must be fitted by a competent person
WARRANTY
Guarantee is 12 months from purchase date, proof of which will be required for any claim.














