wiltec 61909 Manual Portable Tyre Changer
Important
Read and follow the operating instructions and safety information before using for the first time.
Technical changes reserved!
Due to further developments, illustrations, functioning steps, and technical data can differ insignificantly.
Updating the documentation
If you have suggestions for improvement or have found any irregularities, please contact us. The information contained in this document may alter at any time without previous notice. It is prohibited to copy or spread any parts of this document in any way without prior written allowance. All rights reserved. The WilTec Wildanger Technik GmbH cannot be held accountable for any possible mistakes in this operating manual, nor in the diagrams and figures shown. Even though the WilTec Wildanger Technik GmbH has undergone the biggest possible efforts to ensure that the operating manual is complete, faultless, and up to date, mistakes cannot be entirely avoided. If you should find a mistake or wish to make a suggestion for improvement, we look forward to hearing from you.
Send an e-mail to:
[email protected]
or use our contact form:
https://www.wiltec.de/contacts/
The most recent version of this manual in various languages can be found in our online shop via:
https://www.wiltec.de/docsearch
Our postal address is:
WilTec Wildanger Technik GmbH Königsbenden 12 52249 Eschweiler Germany
To return orders for exchange, repair, or other purposes, please use the following address. Attention! To allow for smooth execution of your complaint or return, it is important to contact our customer service team before returning the goods.
Returns Department WilTec Wildanger Technik GmbH Königsbenden 28 52249 Eschweiler
E-mail: [email protected]
Tel: +49 2403 55592–0
Fax: +49 2403 55592–15
Introduction
Thank you for purchasing this quality product. To minimize the risk of injury we urge that our clients take some basic safety precautions when using this device. Please read the operation instructions carefully and make sure you have understood its content. Keep these operation instructions safe.
General information
- Please read this manual thoroughly before use, and thoroughly familiarize yourself with all warnings on the device itself and in this manual, as well as with the information on operation and
maintenance. Keep this manual to always have the information on hand. - Make sure that all safety instructions are understood and followed by the user before operating the device. If someone other than yourself wants to operate the device, make sure that the person is aware of the instructions, safety, and warning instructions, and does understand all the information.
Assembly Instructions

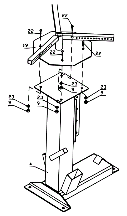
- Attach the jaw frame (19) to the main stand base (4) using screws (22), locknuts (9), and washers (23).
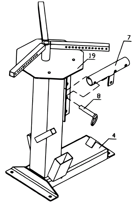
- Attach the handle holder (7) to the main stand base (4) with a lock pin (8)

- Attach the assembly shoe (5) to the handle holder fixture (7) with a screw (6) and locknut (9).

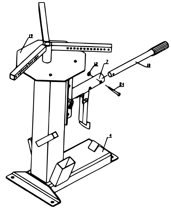
- Attach the handle (10) to the handle holder (7) using a screw (24) and locknut (12). Tighten all screws and nuts.

- Position the main stand on the floor in the desired position. Leave a working area of at least 914 mm on all sides. Mark the drill holes through the base holes and drill four 12.7 mm diameter holes.

- Insert 76.2 mm (3″) concrete anchors into the holes and tighten the anchor nuts.

- Position the jaw frame on the main stand base and tighten it with the supplied 12 mm cheese head screws and nuts. You can now use the device.

General Information
- This tyre changer is suitable for all wheel sizes between 101.6 mm (4″) and 434 mm (17″). The tyre is held in place by two adjustable jaw clamps with holes and an adjustable slide jaw clamp. Two centre posts (four shaft sizes) are provided either for the centre of the bearing or for the centre of the hub.
- When servicing bearing-centred wheels, use a centre shaft corresponding to the bearing size of the wheel (12.7 mm [½″], 15.9 mm [⅝″] or 19 mm [¾″]). Once the wheel is in place, insert the appropriate post into the wheel bearing.
- Maintenance of hub-centred wheels uses a large diameter post. Insert the post directly into the middle of the arms as soon as the wheel is in place.

Operation Instructions
- Slide clamps are positioned to the correct wheel size as indicated by numeric markings on each arm. The pins are inserted on the outside of the terminals. Press the two clamps against the pins.

- The slide clamps must be set to a position larger than the tyre to be machined with the rotating crank arm.

- The wheel is positioned. The wheel rim is pressed against the two slide clamps. Insert the centre post into the centre of the wheel and into the centre hole of the tyre changer. Tighten the adjustable brackets to secure the wheel.

- Dismount the vented tyre using the rod end of the tyre tool. The ball end is pushed under the upper bead and placed on the rim (see illustration). While pushing the lever toward the centre with one hand, the tire must be raised with the other while rotating the unit in a circle.

- Disassemble the lower bead in the same way as above. The angle of the tool to the centre post can be varied according to operator height or rim depth without compromising ease of operation.

- The tyre is mounted over the flat end of the tyre tool. Place the ball headpiece under pressure on the lower side of the tire (always facing the driver) between the rim and the bead. With the flat side against the centre post, turn the tool full circle for cabin’s lower and upper edges.

- Bleed the tire and place the wheel on the fixing rod at the main stand base. Position the bead protector in the bead area and adjust the pivot bar on the main stand leg to the correct height.

- Insert the demountable bar into the shoe and pull it down to break the bead. If necessary, turn the tire 90° and repeat the procedure. To break the bead on the other side, turn the wheel over and repeat this step.

Caution! It is important that a high-quality tyre lubricant is used during assembly and disassembly. Make sure the bead is centred on the rim during the process. In the unlikely event that you will have trouble turning the handle, use a tyre lever. Use a tyre iron to loosen the tire around the point of greatest resistance.
Important: Always lubricate the tyre!
Exploded View and Parts List


Important notice:
The reprint or reproduction, even of excerpts, and any commercial use, even in part, of this instruction manual require the written permission of WilTec Wildanger Technik GmbH.




























