SEALEY TC970 Tyre Spreader with Stand

Parts Information:
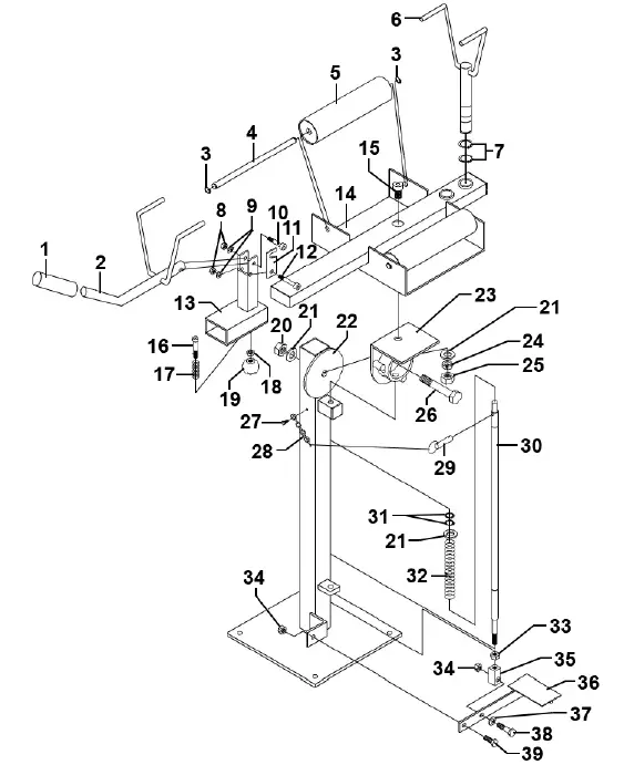
Tyre Spreader with Stand – Manual Model No: TC970

| Item | Part No. | Description | Item | Part No. | Description | ||
| 1 | TC970.01 | Rubber Grip | 20 | TC970.20 | Nylon Nut | ||
| 2 | TC970.02 | Handle | 21 | TC970.21 | Washer | ||
| 3 | TC970.03 | Retaining Ring | 22 | TC970.22 | Pedestal & Base | ||
| 4 | TC970.04 | Axle For Roller | 23 | TC970.23 | Tilt Head | ||
| 5 | TC970.05 | Roller | 24 | TC970.24 | Spring Washer | ||
| 6 | TC970.06 | Tyre Hook | 25 | TC970.25 | Nut | ||
| 7 | TC970.07 | Retaining Ring | 26 | TC970.26 | Bolt M16x90 | ||
| 8 | TC970.08 | Nylon Nut | 27 | SS612.S | Hex Head Set Screw M6 X 12 Zinc | ||
| 9 | TC970.09 | Washer | 28 | TC970.28 | Chain | ||
| 10 | BHSS840.S | Button Head Socket Screw M8 X 40 Zinc | 29 | TC970.29 | Safety Pin | ||
| 11 | TC970.11 | Hook | 30 | TC970.30 | Upright Shaft | ||
| 12 | BHSS850.S | Button Head Socket Screw M8 X 50 Zinc | 31 | TC970.31 | Retaining Ring | ||
| 13 | TC970.13 | Handle Carrier | 32 | TC970.32 | Spring Dia 22.3mm | ||
| 14 | TC970.14 | Roller Platform | 33 | TC970.33 | Nut | ||
| 15 | TC970.15 | Skt. Hd Bolt M16x30 | 34 | TC970.34 | Nylon Nut | ||
| 16 | SCB1055.SB | Socket Cap Bolt M10 X 55mm Black | 35 | TC970.35 | Link Block | ||
| 17 | TC970.17 | Spring Dia 14.2mm | 36 | TC970.36 | Tilt Pedal | ||
| 18 | TC970.18 | Nut | 37 | TC970.37 | Washer | ||
| 19 | TC970.19 | Knob, Sprung Pin Handle, Plastic, Spherical, OD: 35mm, M10 T | 38 | SS1025.S | Hex Head Set Screw M10 X 25 Zinc | ||
| 39 | TC970.39 | Bolt M10x40 | |||||













