elero 11 NHK Tubular Motors with Manual Override

Installation instructions
Keep these instructions in a safe place! After installation of the tubular drive attaches this instruction to the cable for the electrician.
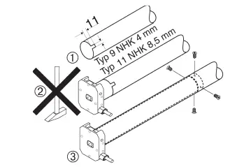
Mounting instructions Installation in round tubes
- On round tubes, cut a slot at the end of the tube on the drive side!
- Push the drive (do not knock in) so that the drive lug engages in the slot.
- Screw on or rivet on the coupling (adaptor)
Installation in profile tubes
- Ⓐ Push the drive with the matching drive adaptor and crown into the profile tube (do not knock in!). Install the shaft with drive and counter support so that the limit switch adjustment mechanism is accessible. Lay the motor cable so that it is protected, do not kink!
- ⒷSecure the counter support to prevent axial movement, e.g. screw or rivet on idler (see illustration above). Secure the drive axially in the support.
Connect the drive to the assembly cable matching the core colors and allow it to run downwards until the limit switch cuts out. - ©Attach the roller shutter to the shaft!
Caution!
Do not drill in the area of the tubular motor! (See illustration above)
Warning advice and installation instructions
Important safety advice! Observe the following instructions. Risk of injury due to electrocution. The connections to the 230 V mains must be made by authorized specialist personnel. Check the system (roller shutters, awnings) regularly for wear or damage. The regulations of the local energy supply company as well as the regulations for wet and damp rooms according to VDE 0100 must be followed when making the connections. Only use unmodified original elero electrical parts. Keep people away from the system until it is stationary. When working on the system (servicing, cleaning windows, etc.), always separate it from the mains supply.
Installation Observe the following instructions!
- The drive must be fixed in such a way that it is not a danger to personnel.
- Before installing the drive, all lines and equipment, which are not required for operation, must be removed from the site.
- During installation, during operation and when work is carried out on the system, the option to separate all three poles from the mains must always exist (Hirschmann connector and Hirschmann coupling or a two-pole switch with minimum 3 mm contact gap or all-pole main switch).
- If the drive is controlled by a switch with OFF pre- setting (dead man’s button), the pushbutton must be fitted at a height of more than 1.50 m and separated from the moving parts.
- Moving parts in a drive, which are below 2,5 m, must be guarded.
- For drives supplied without a driven part the design torque and the design operating time must agree with the properties of the driven parts.
- Please note the technical data on the type plate.
- The drive must be installed so that it cannot get wet.
- Do not install drives in surroundings which are at risk of explosion or in mobile appliances (e.g. in vehicles).
- Keep children away from the (remote) control unit.
- Note the advice in the controller documentation.
- Please note that with the VariEco M NHK tubular motors the smallest internal tube diameter cor-responds with 47 mm and with type 11 tubular motors with 60 mm.
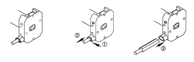
Additional assembly instructions for tubular motors with additional manual override:
- When using manual operation keep people away from the system.
- The manual override must be attached so that it is easy to operate when necessary.
- Insert the crank handle in the drive.
- Fasten the crank handle.
- Ensure that you don’t go past the adjusted limit switch.
Wrong connection
Note: To avoid reverse voltage from the capacitor, do not connect motors in parallel!
Connection example for a tubular motor 230 V / 50 Hz
Important: When reversing direction of travel the drive must first be dead for at least 0.5 seconds.
Remove of the motor cable plug
Warning! Risk of injury due to electrocution When the motor cable plug is removed the supply line must be volt free.
- Delivery condition
- Remove plug
- Insert plug

Remove the motor cable plug Switch off the voltage supply.
- Press locking mechanism on the motor cable plug towards the cable using a screwdriver.
- Pull out the plug.
Insert the motor cable plug - Switch off voltage supply. Insert plug until locking mechanism engages
Limit switch adjustment
The limit switches are set at the factory to 8 revolutions of the shaft. The maximum limit switch range is 29 revolutions of the shaft. A 4 mm allen key or adjusting tools are required for the adjustment.
Adjustment of the „Up“ direction
- Attach the roller shutter to the shaft.
- Allow the drive to run in the „up“ direction.
- At the same time, turn adjusting screw „up“ in ‚-‘ (minus) direction until the drive stops.
- Then hold the „up“ button on the assembly cable depressed. At the same time, turn adjusting screw „up“ in ‚+‘ (plus) direction until the desired end position is reached.
Take account of the change in awning fabric length. (due to temperature fluctuations and effects of the weather). Include a safety margin.
Adjustment of the „Down“ direction
- Allow the drive to run in the „down“ direction. At the same time, turn adjusting screw „down“ in ‚-‘ (minus) direction until the drive stops.
- Then hold the „down“ button on the assembly cable depressed. At the same time, turn adjusting screw „down“ in ‚+‘ (plus) direction until the desired end position is reached.
Checking the limit positions
- Allow the drive to run alternately in both directions until the limit switches cut out. Carry out a fine adjustment of the setting, if necessary. One turn of the adjusting screw corresponds to an approx. 70°turn of the shaft. The drive has a running time of approx. 6 minutes before the thermal protection cuts out. The drive will once again be ready for operation after at minimum of 15 minutes.
Adjusting tool Gear rack (rigid) 13 109.6401
Note: The limit switches will only work after the motor has been installed in the shaft.
For drives with Allen screw
- Operate the adjusting screw according to the direction of travel arrows.
- Turn limit switch adjusting screws as follows:
- minus ( –) = shorter travel
- plus (+) = longer travel
Note: The limit switches will only work after the motor has been installed in the shaft.
- elero GmbH
- Antriebstechnik
- Maybach. 30
- 73278 Schlierbach
- Fon: +49 7021 9539-0
- Fax: +49 7021 9539-212
- [email protected]
- www.elero.com




















