Virtual Fly VF-G1000 Desktop Trainer
Product Information
The VF-G1000 Desktop Trainer is a flight simulator designed for home use. It comes with a gaming joystick and features PFD and MFD panels for virtual flight procedures. The product package includes:
- VF-G1000 Desktop Trainer (pack 1)
- Gaming Joystick (pack 2)
For technical support, contact Virtual Fly at [email protected].
Hardware Setup
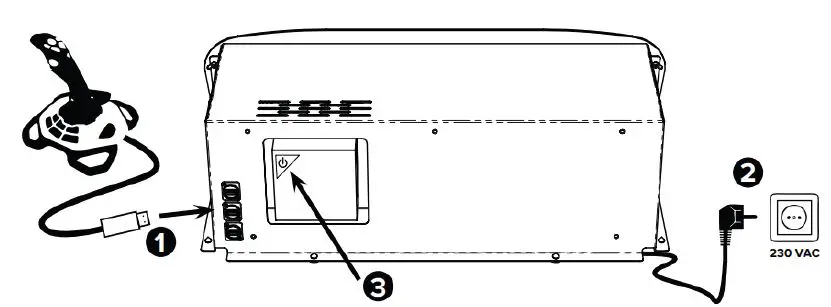
Before using the VF-G1000 Desktop Trainer, connect the gaming joystick to one of the back USB connectors. Make sure the VF-G1000 Desktop Trainer is also connected to a power socket.
Getting Started
Follow these steps to start using the VF-G1000 Desktop Trainer:
- Press the start button of the miniPC and wait for it to boot completely (this takes approximately 1.5 minutes).
- Push the POWER (Vol SQ) button in PFD and MFD panels to activate the screens.
- Use the gaming joystick to control the flight of the virtual plane. The axes of the joystick are already configured for pitch, roll, rudder, and throttle.
Other Configurations
The VF-G1000 Desktop Trainer also includes additional configurations:
Repositioning Aircraft
To position the virtual aircraft to another airport, follow these procedures:
- After turning on the VF-G1000 Desktop Trainer, click on the Menu key in the PFD.
- Click the Menu key again in the PFD.
- Scroll using the FMS knob until the Waypoint option.
- Introduce the desired initial position.
- Press enter.
System Status Dialog Activation/Deactivation
To activate/deactivate the System Status Dialog, press the ALT & FMS buttons at the same time.
Sound System Alerts Activation
The sound system alerts are disabled by default. To enable them:
- Activate the displays with the POWER (Vol SQ) button.
- Deactivate the displays with the same button.
- Activate the displays again.
Remote Session Software
(Only in case you require technical support through a remote session) To activate/deactivate Anydesk, press the NAV2 & COM buttons at the same time.
HARDWARE SETUP
Before using the VF-G1000 Desktop Trainer, make sure the Joystick (sent in another package) is connected via one of the back USB connectors as displayed in (1) below.
The VF-G1000 Desktop Trainer must also be connected to a power socket, as displayed in (2) below.
GETTING STARTED
STARTING THE PC
Press the start button (3) of the mini PC and wait for it to boot completely. This process takes 1.5 minutes approximately. 
ACTIVATING THE PANELS
Push the POWER (“Vol SQ”) button in PFD and MFD panels indicated below to activate the screens of the VF-G1000 Desktop Trainer.
START THE FLIGHT PROCEDURES
The joystick is used to control the flight of the virtual plane. (You will see the flight parameters on PDF and MFD). The axes of the Joystick are already configured: pitch, roll, rudder, and throttle.
OTHER CONFIGURATIONS
REPOSITIONING AIRCRAFT
If you wish to position the virtual aircraft at another airport, follow these procedures:
- After the VF-G1000 Desktop Trainer is ON, click on the “Menu” key in the PFD.
- Click thhe “Menu” key again in the PFD.
- “Scroll” using the FMS knob until the “Waypoint” option.
- Introduce the desired initial position.
- Press enter.
- REMOTE SESSION SOFTWARE
(Only in case you require technical support through a remote session) To activate/deactivate Anydesk, you must press at the same time “NAV2 & “COM” buttons.
SYSTEM STATUS DIALOG ACTIVATION/DEACTIVATION
To activate/deactivate Sistem Status Dialog, you must press at the same time the “ALT” & “FMS” buttons.
SOUND SYSTEM ALERTS ACTIVATION
Sound system alerts are disabled by default. To enable sound system alerts, you have to activate the displays with the POWER (“Vol SQ”) button, then deactivate them with the same button, and activate them again. In the second time you activate the displays, sound system alerts are enabled. 
- © 2022 Virtual Fly, SL
- All trademarks and brand names are trademarks or registered trademarks of their respective owners. All rights reserved.
- C. Maria Aurèlia Capmany, 21
- P.I. La Fàbrica – 08297 Castellgalí (Spain) Phone: (+34) 938 333 301
- https://www.virtual-fly.com.
- For support, contact us at [email protected].

















