FUJIOH FH-GS5520 SVSS Steel Cooker Hob

Dear customer,
Thank you for selecting this Fujioh product.
The safety precautions and recommendations provided in the manual are for your own safety. Please keep this booklet for future reference relating to the operation and maintenance of the gas hobs. This gas hob shall be used for domestic cooking only. Any other usage is strictly prohibited. The manufacturer declines all responsibilities in the event of damages caused by improper, wrong or irrational usage of the gas hob. Read and understand the instructions before installation and operation of the gas hob.
Important safety precautions and recommendations
- Unpack the gas hob from the carton box and inspect for physical damage. In case of doubt, do not install/ operate the gas hob and contact your supplier for professional advice.
- Never attempt to modify the gas hob.
- This gas hob shall be installed in a well-ventilated room and in compliance with the local regulations.
- After cooking, ensure that the gas control knobs are turned back in the off position.
- This gas hob can be used by children aged from 14 years old and above if they understand the operation of the gas hobs and aware of the hazards due to improper usage.
- Do not touch the parts of the gas hob which is heated by the flame during operation of the gas hob. Note that these parts remain hot for a period after the gas hob is turned off.
- N ever leave the gas hob unattended during cooking.
- N ever try to extinguish a cooker fire with water.
- lf the gas hob is used for a prolonged period, it may be necessary to provide more ventilation by opening more windows.
- In the event of the burner flame being accidentally extinguished, turn off the burner control knob and do not attempt to re-ignite the burner for at least one minute.
Warning symbols for toughened glass gashob
Do not place anything e.g. flame tamer asbestos mat between pan and pan support as serious damage to the appliance may result.
Do not remove the pan support and enclose the burner with a wok stand as this will concentrate and deflect the heat onto the hotplate.
Do not use large pots or heavy weights which can bend the pan support or deflect the flame onto the hotplate.
Locate pan centrally over the burner so that it is stable and does not overhang the appliance.
Use only a wok support supplied or recommended by the manufacturer of the appliance.
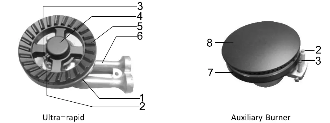
Models and parts of the gas Hob

Gas burners
- Ultra-rapid
- Auxiliary
- Burner control knob
- Heat deflector
- LPG: 5.0 kW / Town gas 4.0 kW
- LPG: 1.6 kW / Town gas 1.2 kW
Nozzle (Injector) and burner characteristics for Town gas/ Gll0 gas at 8 mbar
Nozzle (Injector) and burner characteristics for LPG / G30 gas at 30 mbar 
How to use the gas hob
Gas burners
The gas flow to the burner can be regulated by turning the corresponding control knob to one of the following positions.
- OFF (close valve)
- High (maximum aperture or flow)
- Low (minimum aperture or flow)
The size of flame depends on the position of the related burner control knob
The burner should be set at large flame during the initial phase of the cooking to allow quick boiling of the cooking contents. After boiling then turn the control knob to small flame for slow warming of food or maintaining boiling conditions. Other flame adjustment can be achieved by positioning the indicator between the large flame and small flame. Never adjust the flame size between the large flame and Off position.
Igniting the burners
The appliance is equipped with automatic ignition system and flame failure safety device. To ignite the burner, carried out the following steps:
- Press and turn the corresponding control knob anti-clockwise to the large flame position. The gas burner will be ignited.
- At this position, hold down the control knob for 5 seconds to allow the flame to heat up the thermocouple.
- By this time, release the knob and the flame shall be remained lighted up.
- Turn the control knob to achieve the flame as desired.
- If the flame can’t be lighted, turn the control knob clockwise to the off position. Then repeat step a to step c.
- After finished cooking, turn the control knob clockwise to the off position.
Battery Ignition
The automatic ignition system is powered by a 1.5 V battery. If the automatic ignition does not work, check the battery compartment under the gas hob to ensure that the battery is positioned correctly. Replace the battery if necessary.
In the event, the automatic ignition fail to operate, ignite the burner with a match or gas lighter.
Selection of burners and diameters of pan
On the control panel, near every knob, there is a diagram indicate which burner is controlled by that knob. Select the burner in according to the diameter of the pan used and the heat input. The recommended burners for the flat bottom pan diameters are as follow:
| Types of burners | Pan diameter (cm) |
| Auxiliary | 8 to 14 |
| Ultra-rapid | 20 to 26 |
It is important that the diameter of the pan be suitable to the heat input of the burner. During usage, adjustment of the control knob would be required to ensure that the flame do not extend out from beneath the pan.
Correct use of Ultra-rapid burner
To use the wok, you need to position the wok directly onto center of the pan support. Recommended wok top open diameter shall not exceed 36 cm.
For gas hobs models without Auxiliary and auxiliary burners, when using the flat bottom pan with diameter less than 12 cm, you need to position the mini trivet provided onto the pan support. After lighting the burner, adjust the control knob so that the flame length do not extend out from the beneath of the pan so as to prevent overheating the pan handle .
Flame failure safety device
This gas hob is equipped with flame failure safety device. In the event, the flame is accidently extinguished, the supply of gas to that burner will be shut off. Before re-lighting the burner, turn off the burner control knob and do not attempt to re-ignite the burner for at least one minute.
Burner Head 
- Large burner cup
- Ignition electrode
- Thermocouple
- Inner cap
- Outer ring cap
- Venturi
- Auxiliary burner cup
- Auxiliary burner ring
- The coating of the appliance burner cups and cups might decolorize or peeled off after the appliance is used. However this will not affect the performance of the appliance.
Cleaning and maintenance
Cleaning and maintenance should be carried out after the appliance has turned cold especially when cleaning burner and the cast iron support. Avoid leaving alkaline or acid substances C lemon juice, vinegar etc.) on the surfaces. Avoid using acid or chlorine-based cleaning products.
Caution
Special care should be taken around the underneath of the appliance as this area is not designed or intended to be touched and may contain sharp or rough edges, that may cause injury. For safety, always wear a pair of rubber gloves while cleaning.
To extend the life of the cooktop, it is absolutely indispensable that the appliance be cleaned carefully and thoroughly on a frequent basis, keeping in mind the following:
CAST IRON PARTS All of the cast iron parts must be washed only with a sponge and soapy water or with non-abrasive products.
STAINLESS STEEL SURFACES Stainless steel can be stained if it remains in contact with highly calcareous water or aggressive detergent (containing phosphorous) for an extended period of time. Stainless steel parts must be rinsed with water and dried with a soft and clean cloth, it is also recommended to clean up any spills as soon as possible .
- PAINTED PARTS AND SILKSCREEN PRINTED SURFACES Clean using an appropriate product. Always dry thoroughly. These parts must be cleaned very carefully to avoid scratching and abrasion .
- BURNERS AND PAN SUPPORT These parts can be removed and cleaned with appropriate products.
Cleaning the Wok Burner
The burner crown must always be kept clean. When cleaning the burners, remove the burner caps and use a cotton bud, toothbrush or some other item to clean out any incrustations or dirt from area marked as “H” .
This procedure is necessary to ensure the burner functions correctly. Clean the burner caps using needle or toothbrush to remove the dirt and carbon blocking the burner holes.
After cleaning the burners and the caps must be well dried and put back correctly. It is very important to check that the burner flame distributor F, burner cap A and cap B has been correctly positioned (Fig.6)-failure to do so can cause serious problem. The burner cap A must be entered in their lodgment as shown by the arrow .
The burner correctly positioned must rotate.
Check that the ignition electrode “s” (Fig. 7) is always clean to ensure trouble-free sparking. Check that the probe or thermocouple “T”
is always clean to ensure correct operation of the safety valves. Both the ignition electrode and the thermocouple must be very carefully cleaned.
Note: regular use could cause discoloring around the burners due to high flame temperature.
GENERAL ADVICE
- When the appliance is not being used, it is advisable to keep the gas regulator or TG supply level closed.
- The gas hob required regular maintenance by qualified technician for its reliable operation. We recommend the gas hob maintenance to be carried out at least once every 18 months.
Installing the battery
Insert a DCl.SV battery into the battery compartment (see below fig.8 ) in the cover. This battery is the power supply for the electronic ignition of gas burners.
Notes for battery installation or replacement:
- Only use a DCl.SVolt battery (size “D”)
- Check for correct polarity ( label to the side of the battery compartment).
- Do not use Alkaline battery.
Important notes:
- Remove the battery if the cooker is not going to be used for a long time.
- If the battery weak or leaks, replace it immediately.
- Avoid touching the leaked liquid and make sure it does not come into contact with clothes or other items.
- Clean the battery compartment carefully before installing the new one.
Note: The battery is a potential source of danger for children. Keep them away.
- Dispose the flat batteries properly.
Installations instructions
IMPORTANT
- The appliance should be installed, regulated and adapted to function with other types of gas by a QUALIFIED INSTALLATION TECHNICIAN. Failure to comply with
this condition will render the guarantee invalid. - The appliance must be installed in compliance with regulations in force in your country and in observation of the manufacturer’s instructions.
- Some appliances are supplied with a protective film on steel and aluminum parts.
This film must be removed before using the cooker. - The appliances must be housed in heat resistant units.
- The walls of the units must not be higher than work top and must be capable of resisting temperatures of 75 C above temperature.
- Do not install the appliance near inflammable materials (eg.curtain).
- Incorrect installation, for which the manufacturer or distributor accepts no responsibility, may cause personal injury or damage.
TECHNICAL INFORMATION
The appliance is designed to be embedded into kitchen fixtures measuring 600 mm in depth.
In order to install appliance into the kitchen fixture, a hole with the dimensions shown at the cutting size board

1)has to be made, keeping in consideration the followings:
- Within the unit, between the bottom of the cooktop and the upper surface of any other appliance or internal shelf, there must be a clearance of at least
10- 15 cm.
- The cooker top must be kept no less than 200 mm away from any side wall.
- The hob must be installed at least 70mm away from the rear wall(Fig.10).
- There must be a distance of st least 750 mm between the hob and any wall cupboard or extractor hood positioned immediately above.

- It is essential to install a heat baffle between the bottom of the hob and the underlying unit.
No conversion to different gases of another family is recommended, this appliance shall use the gas of the family that it is designed for and adjusted at factory.
CUT-OUT DIMENSION & REPLACEMENT SIZE
Please be ensure to use the correct dimensions as shown below for installation.
| Model | Cut Out Dimension(mm) | Replacement size(mm) | Height(mm) | |
| FH-GS5520 SVGL | W650xD350 | FASSxRASS | W(650-740)xD(350-430) x R60 | 100 |
| FH-GS5520 SVSS | FA24xRA84 | |||
| FH-GS5530 SVGL | W705xD405 | FAS6xRA58 | W(705-840)xD(405-480) x R60 | 100 |
| FH-GS5530 SVSS | FA20xRA85 | |||
INSTALLATION OF GAS HOB IN KITCHEN CABINET WITH DOOR
The cabinet has to be made in accordance to specific requirements to ensure proper operation of the gas burners when the flame is turned down to minimum, pressure change while opening and closing the cabinet doors. The cabinet should have openings to facilitate ventilation.
INSTALLATION OF BUILT-IN OVEN UNDER THE GAS HOB
If there is a built-in oven set to be installed under gas hobs, it is required that a horizontal partition with high temperature resistant material is built in between the gas hob and built-in oven. The distance between the surface of this partition to the under surface of the gas hob must be at least 10-15cm to allow air circulation and protect the rubber gas tubing from the heat of the built-in oven.
VENTILATION REQUIREMENT
The appliance must be installed in compliance with applicable local regulations concerning ventilation and the evacuation of exhaust gases.
Intensive and prolonged use may need additional ventilation, for example, opening of a window or to have a more efficient ventilation.
CHOOSING SUITABLE SURROUNDINGS
The room where the gas appliance is to be installed must have a natural flow of air so that the gas can burn. The flow of air must come directly from one or more openings made in the out-side walls with a free area of at least 100cm’.
The openings should be near the floor and preferably on the side opposite the exhaust for combustion products and must be so made that they cannot be blocked from either the outside or the inside.
When these openings cannot be made, the necessary air can come from an adjacent room which is ventilated as required, as long as it is not a bedroom or a dangerous area. In this case the kitchen door must allow the passage of the air.
Inlet gas connection
IMPORTANT:
The appliance should be installed, regulated and adapted to function with other types of gas by a QUALIFIED INSTALLATION TECHNICIAN.
The appliance is fitted with specified gas type as shown in the specification nameplate and cannot be used or converted to any other type of gas.
INSTALLATION
The appliance is predisposed and adjusted to operate with the gas indicated on the specifications nameplate located at the bottom of the appliance.
Please ensure that the intended gas type used corresponds with that specified on the nameplate.
GAS CONNECTION FOR GAS HOB
The appliance should be connected to the gas-supply by licensed installer. During installation of this appliance, it is essential to fit an approved gas tap to isolate the supply from the appliance for the convenience of any subsequent removal or servicing. Connection of the appliance to the gas mains or liquid gas must be carried out according to the prescribed regulation in force, and only after it is ascertained that it is adaptable to the type of gas to be used.In the case of connection to liquid gas, by tank,use pressure regulators that conform to the regulation in force. Connection to the gas course must be done in such a way that not to create any stress points any part of the appliance.
IMPORTANT: For safety, for the correct regulation of gas use and long life of the appliance, ensure that the gas pressure conforms to the indications given in table 1 “Nozzle and burner characteristics”.
TESTING OPERATION
After the gas pipe connection has been completed, the gas leak test MUST BE performed before the installation is considered completed.
After connecting to the mains, check that all the couplings are correctly sealed, using soap solution.
NEVER use a naked flame. If bubbles appear, please close the gas valve immediately and re-adjust the gas connection before re-test the appliance. Turn on the gas and ignite each burner. Check if the flame is blue without any yellow tipping. If there is abnormal flame, turn on the flame and check that the burner cap is properly positioned and the correct gas type is used.
Gas hob not functioning
In the event of any abnormal situations or malfunctions of the gas hobs, do not attempt to rectify the situations or repair the gas hobs. Contact the customer service center as spelt out in the warranty card for assistance. When contacting customer service center, please provide the model number.
www.fujioh.com
FUJIOH INTERNATIONAL TRADING PTE.LTD.
Southeast Asia Regional Headquarters
130 Joo Seng Road #05-05 Singapore 368357
Tel: (65) 6286 3286
Fax: (65) 6285 3285
E-mail : [email protected]





















