
HAUSHALTS- ELEKTROHERD-SET EHBC 7932 IX
HOUSEHOLD- ELECTRIC OVEN SET

![]()
Instruction Manual
Introduction
Thank you for choosing our product. We hope you will enjoy using the appliance.
Symbols in these Instructions for Use
Important information for your safety is specially marked. It is essential to comply with these instructions to avoid accidents and prevent damage:
WARNING:
This warns you of dangers to your health and indicates possible injury risks.
CAUTION:
This refers to possible hazards to the machine or other objects.
NOTE: This highlights tips and information.
General Notes
Read the operating instructions very carefully before putting the appliance into operation and keep the instructions including the warranty and the receipt. If you give this appliance to other people, also pass on the operating instructions.
NOTE:
- Due to constant product modifications, your appliance may differ slightly from these operating instructions; Functions and methods of use remain unchanged.
- The illustrations in these operating instructions may differ from the original appliance.
- The appliance is designed exclusively for private use and for the envisaged purpose. This appliance is not fit for commercial use.
- The appliance is only to be used as described in the user manual. Do not use the appliance for any other purpose. Any other use is not intended and can result in damages or personal injuries.
- Operate the appliance only properly installed.
- Do not use it outdoors. Keep it away from sources of heat, direct sunlight and humidity.
- Do not operate the appliance without supervision.
- When not in use, for cleaning, user maintenance works or with disruption, switch off the appliance and disconnect the plug (pull the plug itself, not the lead) or turn off the fuse.
- The appliance and if possible the mains lead have to be checked regularly for signs of damage. If damage is found the appliance must not be used.
- For safety reasons, alterations or modifications of the appliance are prohibited.
- To ensure your children’s safety, please keep all packaging (plastic bags, boxes, polystyrene etc.) out of their reach.
WARNING:
Do not allow small children to play with the foil. There is a danger of suffocation!
Special safety information for this Unit
WARNING: Danger from electrical current! Contact with live leads or components can be fatal!
- The connection of the appliance must satisfy the relevant standards and regulations and may only be performed by an authorized specialist.
- The hob may not be used if the glass surface has cracks or is broken.
- Make sure that the appliance is turned off from the power supply (fuse) before changing the bulb in the oven.
- The use of high-pressure cleaners or steam cleaners is prohibited. Ingress of liquids can lead to electric shock. Put the appliance never under water.
WARNING: Hot surface! Risk of Burning!
- During operation the appliance and its accessible parts become hot. Special care must be taken to avoid touching heating elements. Children younger than 8 years must be kept away from the appliance.
- Grasp the oven only on the door handle and switches. Use potholders if you want to remove or insert the accessories.
- Let the appliance cool down before cleaning or maintenance.
WARNING: Risk of Fire!
- Do not leave the oven unattended; unattended cooking with fat or oil can be dangerous and cause fires. NEVER try to extinguish a fire with water. In the event of fire, switch off the appliance and disconnect it from the power supply. Use a suitable fire extinguisher or a fire blanket to extinguish the fire.
WARNING: Risk of Fire!
- CAUTION: The cooking process must be observed. A short cooking operation is to be observed continuously.
- Never store objects on the cooking surface.
- Only use hob guards designed by the manufacturer of the cooking appliance or those specified by the manufacturer in the appliance instructions as suitable or included in the appliance. The use of unsuitable guards may cause accidents.
- The appliance is not intended for operation with an external timer or a separate remote-control system.
- Make sure that with installing adequate air circulations ensured and the ventilation slots are not blocked.
- To avoid overheating, do not install the appliance behind decorative doors.
- Only grill with the appliance door closed.
- Never pour liquids into a hot oven! Scalding by rising water vapor as well as possible damage to enamel.
- Do not place any objects on the open appliance door.
- Do not store any cleaning agents or flammable materials in the appliance or in the immediate vicinity.
- This appliance can be used by children aged from 8 years and above and persons with reduced physical, sensory or mental capabilities or lack of experience and knowledge if they have been given supervision or instruction concerning use of the appliance in a safe way and understand the hazards involved.
- Children shall not play with the appliance.
- Cleaning and user maintenance shall not be made by children, unless they are older than 8 years and are supervised.
- Do not use harsh abrasive cleaners or sharp metal objects for cleaning the glass surface. The glass can be scratched or destroved.
- Do not try to repair the appliance on your own. Always contact an authorized technician. If the supply cord is damaged, it must be replaced by the manufacturer, its service agent or similarly qualified persons avoid a hazard.
Transport and Packaging
Transport the appliance
If possible, transport the appliance in a vertical position. Secure the appliance sufficiently and protect it against weather during transport.
Unpacking the appliance
- Remove the appliance from its packaging.
- Remove all packaging material, such as foils, filler and cardboard packaging.
The packaging materials are environmentally friendly and recyclable. Dispose of packaging materials that are no longer required in accordance with the locally applicable regulations. - To prevent hazards, check the appliance for any transport damage.
- In case of damage, do not put the appliance into operation. Contact your distributor.
NOTE:
Production residue or dust may have collected on the appliance. We recommend cleaning the appliance according to chapter “Cleaning and Maintenance”.
Appliance Equipment
Appliance overview
Oven

1 Control panel
2 Door handle
3 Side racks
4 Standard oven tray
5 Grill grid
6 Unit glass door
Hob
NOTE:
The listed power settings can vary depending on the material and/or size of the cookware.

1 Residual heat indicator
2 Ø155 mm / 1200W
3 Ø185 mm / 1700W
4 Ø155 mm / 1200W
5 Ø185 mm / 1700W
Delivery scope


1x standard oven tray 1x grill grid

1x set of side rack 2x mounting screws
Installation
The built-in oven is designed for installation in standard kitchen units.
WARNING:
The installation and the connection to the main power may only be performed by an authorized specialist.
CAUTION:
- The worktop, the cabinet, veneers, plastic coatings, used adhesives etc. must be sufficient heatresistant (min. 100°C).
- To ensure a sufficient cooling air supply, no heat protection strips may be installed.
- If there is a drawer below the furnace or it is attached, an intermediate shelf is required.
NOTE: Recommendation!
- When installing, ask another person to assist.
- Wear protective gloves to avoid injuries at possible sharp edges.
- When inserting, use the hollows on the side of the housing to lift the unit. Caution! Do not carry or hold the appliance by the door handle.
- Do not install the appliance directly next to refrigerators or freezers. The heat dissipation will unnecessarily increase its energy consumption!
- Before installation, check that the appliance and furniture dimensions match.
- Hob and oven must be from the same manufacturer and marked with the same type designation.
- The oven and hob must be positioned centrally to each other.
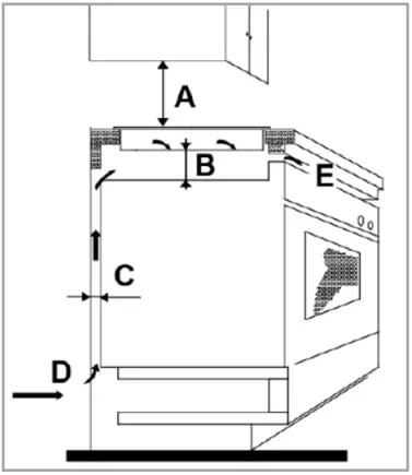
Safety distances
CAUTION:
Make sure that adequate air circulations ensured, and the ventilation slots are not blocked. Follow appropriate safety distances!
- The appliance must be installed so that heat can be dissipated. The ventilation openings must not be blocked (see illustration).
- Maintain sufficient distance behind the appliance at the installation site so that the appliance can work efficiently and well.
- The distance between the hob and the cooker hood must be at least as large as specified in the installation instructions for the hood!

A min. 650 mm B 50 mm C 35 cm D Air intake 30 mm E Air outlet 5 mm
Oven cabinet opening and appliance dimensions
Prepare the cabinet opening according to the dimensional drawings.
Dimensions in mm

Installation under a worktop

Preparing the worktop for installation of the hob
CAUTION:
Before sawing, tape the outer edge of the cut-out with wide tape to avoid marks from the jigsaw on the worktop.
- The worktop must be horizontal and sealed on the wall side against overflowing liquids or moisture.
- The hob must be framed all around by at least 60 mm of worktop.
- The cut surfaces (cut-out edges) must be sealed with special lacquer, silicone rubber or casting resin to prevent swelling due to moisture.
- Clean and dry the worktop in the cutout area thoroughly.
Worktop cutout
Prepare the cutout of the worktop according to the dimensional drawing.
Dimensions in mm

Installing the hob
NOTE:
To avoid damage, place the hob with the top of the cooking surface on a padded base.
- Before installing the hob, the supplied gasket (a) must be mounted on the underside of the hob frame. For this place the hob with the hob top on a padded surface to prevent it from damage.
- Place the hob according to the hob drawing under “Appliance overview” and with the connecting cable first centrally into the prepared cutout of the worktop. Make sure that the distances to the cutting are equal on all four sides and that the seal is resting on the worktop.
- Secure the hob from below with the supplied clamps and screws on the worktop.






![]()
Installing the oven
- Put the appliance with the connecting cable first into the prepared cabinet a bit.
- Do the connection to the hob as well as to the mains, see “Electrical connection”.
- Insert the oven into the cabinet opening completely. Make sure that the cables do not restricted (bent, squeezed or twisted).
- Attach and secure the oven by using the supplied screws on the side walls of the cabinet.

2x mounting holes are located left and right in the door frame.
Electrical connection
Information for the authorized expert
WARNING:
- The installation to the mains supply must conform to the local standards and regulations.
- Improper connection may cause to an electric shock!
- Before connecting, ensure that the power supply corresponds with the information on the rating label (door frame) and the wiring diagram.
- The connection must be made to a 3-phase alternating current with neutral and protective conductor.
- Select a suitable cord as mains cable, considering the connection type and rated power of the oven.
- Fix the mains cable in the tension relief.
- Make sure to connect the protective ground to the terminal of the marked terminal block.
- The electrical installation of the oven should be equipped with an emergency switch, which switches off the whole appliance from the mains supply in an emergency. The distance between the contacts of the emergency switch must be at least 3 mm.
- Arrange the mains cable in such a way that it does not get in contact with any hot components of the appliance. Do not lead it over sharp edges or corners.
Connecting the hob to the oven
Insert the plugs at the end of the hob circuit group in the appropriate socket of the oven terminal block.
Connection wiring diagram
Permissible connection methods
CAUTION:
In any case, the protective conductor must be connected to terminal
.
NOTE:
L1, L2, L3 = Phase | N = Neutral
= Protective ground

3N AC 380/400/415 V
For this connection, a mains cable of type H05VV-F must be used.
Startup / Operation
Before initial use
- Clean the oven interior with all therein located accessories. Follow the instructions that we give you in the chapter “Cleaning and Maintenance”.
- To burn off possible production residues, heat the closed oven for approx. 30 minutes at maximum temperature (240°C_top/bottom heat).
NOTE:
The occurring odor and possibly a slight smoke development cannot be avoided. So, ensure that the room is well ventilated during the heating process.
Operation overview
The detailed description of the individual controls can be found in the following sections.
Control panel

1 Cooking zone level controls
2 Cooking zone operating control lamp
3 Oven function selector control
4 Oven temperature selector control
5 Oven temperature control lamp
Cooking zone level controls
CAUTION:
Only turn the level controls counterclockwise and back again. Otherwise, the controls will be damaged.
The temperature of the cooking zones is set separately for each cooking zone via the assigned control.
Position of cooking zone
0 Off-position
1 Lowest setting (keep food warm)
6 highest setting (quick heating and cooking, roasting)
Operating control lamp
The operation control lamp shows the operation of the cooking zones. It lights up as soon as a cooking zone is put into operation and goes out when all the level controls point to the off position.
Function selector control
The function selector control is used to set the heating mode. To set a function, turn the control to the symbol with the desired heating mode.
Temperature selector control
CAUTION:
Only turn the temperature selector control clockwise and back again. The control will otherwise be damaged.
The temperature selector control is used to set the oven temperature. The thermostat allows temperature setting in the range from 40°C to 240°C.
Temperature control lamp
The control lamp indicates heating operation. If the light goes out, the set oven temperature has been reached.
During operation, the oven must be reheated again and again to maintain the set temperature. During reheating, the control lamp lights up (thermostat function).
NOTE:
If the recipe recommends placing the food in the preheated oven, this should not be done before the control light first goes out.
Oven functions
| Symbol | Description |
![]() | Top/bottom heat*: The heating is done in a conventional way. The heat is evenly brought to the food from above and below. Suitable for baking and roasting on one level. |
![]() | Bottom heat: The heat is only brought to the food from below. To be used when baking from below e.g. Pizza. |
![]() | Half grill: In operation is the inner surface of the grill heating element. Suitable for a smaller amount of grilled food, bacon, toast, meat, etc. |
![]() | Full grill: The entire surface of the grill heating element is in operation. Ideal for grilling flat food such as steaks, fish, sausages, etc. or for gratinating toast and casseroles. |
*This type of heating is used to determine the energy consumption in conventional mode.
Oven lighting
The oven lighting switches on automatically during operation.
Using the accessory
CAUTION:
Always insert the accessory right way and completely into the oven; the glass door can be scratched.

There are side racks with several levels (E) in the cooking chamber for inserting the accessories (1+2) in different heights.
The accessories are safely used between these levels.




ATTENTION!
Slide the grill grid in the right way with the curvature facing upwards and to the rear into the oven.
Telescopic runner (delivery scope model dependent)
It is possible to retrofit the appliance with one or more telescopic runners. Order telescopic runner set from your dealer or in our online accessories shop www.bomann-germany.de. Use the reference number found under “Technical Data”.
Switching on and off
…of the oven
Set the required operating conditions.
- Turn the function selector control to the appropriate position.
- Turn the temperature selector control to the desired temperature.
- To switch off the oven, turn both controls back to the off position.
The cooling fan will continue running for some time after heating is complete. Do not interrupt the power supply to the appliance during this process.
…of the cooking zones
- Place suitable cookware on the cooking zone to be used.
- Turn the corresponding level control to the desired power level.
- Turn the level controls back to the off position when cooking is finished.
Residual heat indicator
WARNING: Risk of burns!
Do not touch the cooking zones while the residual heat indicator lights up.
After switching off the cooking zones the residual heat indicator of the corresponding cooking zone lights up. This warns against touching the zone.
Selecting appropriate cookware
CAUTION:
The cooking surface and the base of the cookware must always be clean and dry.
Wrong!
Cookware is too small.
Heat loss!
Cookware ground uneven.
Poor heat transfer!
Lid does not close properly.
Heat loss!
Correct! To save time and energy!
Diameter of the cookware corresponds with the diameter of the hob.
The cookware base is fully resting, and the lid closes properly.
The right ovenware
- Pots with heat-resistant handles, recognisable by the marking “temperature-resistant up to 280°C”.
- Fireproof moulds made of glass, porcelain, ceramic, clay or cast iron.
- In particular, ovens with top and bottom heat need moulds and trays with good heat transfer, preferably made of black lacquered metals. Cakes brown particularly well in these.
- Aluminium trays, with or without coating, give good results.
- Unsuitable is cookware of bright, shiny aluminum, unglazed clay and tableware made of plastic or with plastic handles.
General notes for baking, cooking and grilling in the oven
NOTE:
- Use the included accessory.
- Temperature and duration depend on quantity and recipe. Always follow the instructions for the duration of the completion in your recipes and preparation instructions on the product packaging.
Baking
- For good baking results, preheating is recommended up to the desired temperature.
- After finishing the baking process, we recommend resting the food for about 5 minutes in the oven.
- Before removing the cake, check if it is done by using a wooden stick. When the cake is done, no dough residue will stick to the wooden stick.
Cooking and roasting meat & fish
- Only cook meat of maximum 1 kg in the oven. We recommend roasting or cooking smaller portions on the cooking hob.
- When using the grill grid for roasting, we recommend placing a baking sheet with some water on the lower level.
- At least once after half of the cooking time, the roast should be reversed; sprinkle the roast during cooking now and then with the resulted roast liquid or with hot, salty water, thereby not using cold water.
Grilling
CAUTION:
- Grill exclusively with the oven door closed!
- Supervise the grilling process, the grilling food can burn rapidly due to the intense heat!
- Preheat the oven for approx. 5 minutes.
- Brushes the grill grid with a little oil, so that the grilling food does not stick on it.
- Slide an empty baking tray for dripping grease to directly lower level, below the grill grid. Pour some water into the baking tray for later easily cleaning.
Energy saving tips
Information to reduce the environmental effect of cooking (acc. VO (EU) No. 66/2014 appendix I, No. 2)
- We recommend the use of dark baking molds and plates because they conduct the heat better.
- Any unnecessary accessories should be removed from the baking chamber before using the appliance.
- During cooking, the oven door should remain closed to avoid unnecessary heat loss.
- Only preheat the oven if required by the recipe.
- If a selection of cooking time is specified, always use the lowest recommended temperature.
- Use the residual heat by switching back to minimum temperature shortly before the end of the cooking time.
- Save electricity! If you do not need the oven, switch off functions such as interior lighting, program, temperature
- Clean the oven after each application, to keep the cleaning effort as low as possible. We recommend the use of biological cleaners.
Cleaning and Maintenance
WARNING:
- Always switch off the appliance completely before cleaning and maintenance work and disconnect it from the power supply if necessary.
- Allow the unit to cool down before cleaning.
- Do not use steam cleaners for cleaning the appliance; moisture could enter electrical components. Risk of electric shock! Hot steam could damage the plastic parts.
- Never use flammable substances, such as thinner, kerosene, gasoline or acids for cleaning.
- The unit must be dry before restarting operation.
CAUTION:
- Do not use a wire brush or other sharp, abrasive items.
- Do not use harsh abrasive cleaners or sharp metal objects for cleaning the glass surface. The surfaces can be scratched or destroyed.
- Always consider the application and safety notes of the detergent.
Cleaning the hob
- Remove food residues while the hob is still warm with a damp cloth or paper towel.
- Wash the hob with a soft sponge and a little water and dry thoroughly with a soft cloth.
Cleaning agent for glass ceramic surfaces:
For burnt-on residues, help yourself to products from the specialist departments of stores.
| Staining | Cleaning method | Cleaning tools |
| Dirt has accumulated | Use warm water and a sponge to rub dry. | Special cleaning sponge for glass ceramic |
| Pools and lime deposits | Apply warm vinegar and wipe off with a dry cloth or use special cleaning agent. | Special cleaning agent for glass ceramic |
| Sugar, melted aluminum, or plastic | Remove by using a glass ceramic scraper. | Special cleaning agent and scraper for glass ceramic |
Removing the oven door
You may remove the oven door to facilitate cleaning and to get better access to the oven interior.


- Open the appliance door completely.
- Fold the opposite hinge brackets upwards.
- Slightly close the door and lift it up to remove it.
- When reinstalling the door, make sure the notch of the hinge is properly aligned with the protrusion of the hinge holder.
- Then fold the brackets down again, otherwise the hinges can be damaged while closing the appliance door.
Cleaning the oven
NOTE:
By cleaning after each use, you prevent cooking residues and soiling from burning in during next operation. Cleaning is then only possible with a lot of effort.
- Clean the appliance and accessories depending on the soiling degree and depending on the surface only with a soft, damp cloth and commercially, food safe cleaners.
- Soak heavily soiled areas with some warm soapy water or a vinegar cleaner.
- Wipe off grease residues from the sealing framed the cooking chamber.
- After cleaning, use a soft, absorbent cloth for drying.
Cleaning the side racks
Always remove the side racks when you want to clean the oven walls thoroughly. You can soak heavily soiled side racks when they are removed to make cleaning easier.
- Remove the rack by slightly bending the lowest metal rod to loosen it from the lower mounting holes and pulling it towards the oven center.
- Lift the rack upwards out of the upper mounting holes.
- Replace the racks after cleaning and drying them thoroughly.
Cleaning the glass panel
If necessary, clean the inside of the glass panes.



- Open the oven door.
- Press in the opposite plastic fasteners of the retaining stripe and remove the stripe forwards at the same time.
- Carefully remove the glass pane.
- Replace the glass properly after cleaning and drying it thoroughly.
- Press the retaining stripe firmly back into place.
Reversing the bulb
WARNING:
- Make sure that the appliance is turned off from the power supply (fuse).
- Allow the lamp to cool down before replacing the bulb. There is risk of burns!
NOTE:
Use the correct bulb, heat resistant up to 300°C:
Type G9 – 220-240 V~ – 15 W

- Unscrew the lamp cover, clean it with a dry cloth.
- Change the bulb.
- Reattach the lamp cover, check the functionality.
Troubleshooting
| Problem | Possible cause / Action |
| Unit does not work | Check the power supply. |
| Oven lamp does not work | Bulb is defective, was inserted incorrectly, is not securely seated in the socket, see “Reverse the bulb” |
| Strong smoke development | Grease residues in the oven chamber, switch off the oven, allow to cool before cleaning. |
NOTE:
If a problem persists after following the steps above, contact your distributor or an authorized technician.
Technical Data
Electrical connection……………………………………
Connection voltage: ……………380-415 V 3N~ 50 Hz
Rated power: ……………………………………..8000 W
Rated current: …………………………………..3 x 16 A
Protection class: …………………………………I / IP20
Dimension H x W x D / Weight……………………..
Worktop cutout: …………………………56.0 x 49.0 cm
Hob net weight: ………………………………….10.8 kg
Cabinet cutout: ……………..60.0 x 56.0 x min. 55.0 cm
Oven net weight: ………………………………..30.0 kg
Available accessories……………………………………
Telescopic runner set: …………….. Art. no. 8 979 060
………………………………………………… (not supplied)
The right to make technical and design modifications during continuous product development remains reserved.
This appliance has been tested according to all relevant current CE guidelines, such as electromagnetic compatibility and low voltage directives, and has been constructed in accordance with the latest safety regulations.

Disposal
Meaning of the “Dustbin” Symbol
Protect our environment; do not dispose of electrical equipment in the domestic waste. Please return any electrical equipment that you will no longer use to the collection points provided for their disposal.
This helps avoid the potential effects of incorrect disposal on the environment and human health.
This will contribute to the recycling and other forms of reutilization of electrical and electronic equipment.
Information concerning where the equipment can be disposed of can be obtained from your local authority. Your dealer and contractual partner is also obliged to take back the old appliance free of charge.
WARNING:
Remove or disable any existing snap and bolt locks if you take the unit out of operation or dispose it.
Information to professional users for disassembly (acc. VO (EU) No. 66/2014 appendix I, No. 2)
Information for non-destructive disassembly for maintenance purposes
- Remove the lamp as described in the manual.
- For maintenance purposes, the oven door can be unhinged out and reinstalled, for the procedure please refer to the manual.
- A further disassembly for maintenance purposes is not provided.
- If you would like to exchange defective components, please contact our customer service.
- Motors must be expertly replaced by customer service in accordance with the repair instructions and disposed accordingly.
- Accumulators are not included.
Information for disassembly in terms of recycling, recovery and disposal at the end of the life of the appliance
- The disassembly of appliances with a gas connection should only be carried out by a licensed gas and water installer.
- The disassembly of appliances with electrical connections should be carried out by a licensed electrician.
- For the recycling and recovery of resources give the appliance to:
– a communal collection point waste disposal authority,
– a dedicated disposal company, offering a return system,
– a resident electric trader, who voluntary withdraws electrical appliances.
EU Product data sheet
Product information for domestic electric hobs according EU 66/2014
| Position | Symbol | Value | Unit | |
| Brand | BOMANN | |||
| Model identification | EHBC 7932 IX | |||
| Type of hob | Hob of a built-in oven | |||
| Number of cooking zones and/or areas | 4 | |||
| Heating technology (induction cooking zones and cooking areas, radiant cooking zones, solid plates) | Radiant cooking zones | |||
| For circular cooking zones or area: diameter of useful surface area per electric heated cooking zone, rounded to the nearest 5 mm | Rear left | Ø | 18.5 | cm |
| Rear right | 15.5 | |||
| Front right | 18.5 | |||
| Front left | 15.5 | |||
| For non-circular cooking zones or areas: length and width of useful surface area per electric heated cooking zone or area, rounded to the nearest 5 mm | L W | – | cm | |
| Energy consumption per cooking zone or area calculated per kg | Rear left | ECelectric cooking | 192.0 | Wh/kg |
| Rear right | 191.2 | |||
| Front right | 192.0 | |||
| Front left | 191.2 | |||
| Energy consumption for the hob per kg | ECelectric hob | 191.6 | Wh/kg |
Product information for domestic ovens according EU 65-66/2014
| Symbol | Value | Unit | |
| Brand | BOMANN | ||
| Model identification | EHBC 7932 IX | ||
| Type of oven | Built-in | ||
| Mass of the appliance | M | 29 | kg |
| Number of cavities | 1 | ||
| Heat source per cavity (electricity or gas) | Electricity | ||
| Volume per cavity | V | 66 | l |
| Energy consumption (electricity) required to heat a standardised load in a cavity of an electric heated oven during a cycle in conventional mode per cavity (electric final energy) | ECelectric cavity | 0.74 | kWh/cycle |
| Energy consumption required to heat a standardised load in a cavity of an electric heated oven during a cycle in fan-forced mode per cavity (electric final energy) | ECelectric cavity | – | kWh/cycle |
| Energy consumption required to heat a standardised load in a gas-fired cavity of an oven during a cycle in conventional mode per cavity (gas final energy) | ECgas cavity | – | MJ/cycle kWh/cycle (1) |
| Energy consumption required to heat a standardised load in a gas-fired cavity of an oven during a cycle in fan-forced mode per cavity (gas final energy) | ECgas cavity | – | MJ/cycle kWh/cycle |
| Energy Efficiency Index per cavity | EEIcavity | 89.2 | |
| Energy efficiency class (2) | A |
(1) 1 kWh/cycle = 3.6 MJ/cycle
(2) A+++ (highest efficiency) to D (lowest efficiency)
Tested acc. to: EN 60350-1:2016
EN 60350-2:2018
EN 50564:2011

C. Bomann GmbH
www.bomann-germany.de
Made in Turkey
Stand 03/2022























