
DU 771.1 G
HOUSEHOLD- COOKER HOOD
Instruction Manual

Introduction
Thank you for choosing our product. We hope you will enjoy using the appliance.
Symbols in these Instructions for Use
Important information for your safety is specially marked. It is essential to comply with these instructions to avoid accidents and prevent damage.
WARNING:
This warns you of dangers to your health and indicates possible injury risks.
CAUTION:
This refers to possible hazards to the machine or other objects.
NOTE: This highlights tips and information.
General Notes
Read the operating instructions very carefully before putting the appliance into operation and keep the instructions including the warranty and the receipt. If you give this appliance to other people, also pass on the operating instructions.
NOTE:
- Due to constant product modifications, your appliance may differ slightly from these operating instructions;
Functions and methods of use remain unchanged. - The illustrations in these operating instructions may differ from the original appliance.
- The appliance is designed exclusively for private use and for envisaged purposes. This appliance is not fit for commercial use.
- The appliance is only to be used as described in the user manual. Do not use the appliance for any other purpose. Any other use is not intended and can result in damages or personal injuries.
- Operate the appliance only properly installed.
- Do not use it outdoors. Keep it away from sources
of heat, direct sunlight, and humidity. - Do not operate the appliance without supervision.
- When not in use, for cleaning, user maintenance works or with disruption, switch off the appliance and disconnect the plug (pull the plug itself, not the lead) or turn off the fuse.
- The appliance and if possible the mains lead has to be checked regularly for signs of damage. If damage is found the appliance must not be used.
- For safety reasons, alterations or modifications of the appliance are prohibited.
- To ensure your children’s safety, please keep all packaging (plastic bags, boxes, polystyrene, etc.) out of their reach.
WARNING:
Do not allow small children to play with the foil.
There is a danger of suffocation!
Special safety Information for this Unit
WARNING:
Failure to install the screws or fix the device in accordance with these instructions may result in electrical hazards.
- Note to your cooking appliance the manufacturer’s instructions whether the operation of a cooker hood is allowed above it and possibly what safety distance must be maintained.
For the extraction mode: - Provision shall be made for adequate ventilation in the room when the cooker hood is operated simultaneously with appliances that burn gas or other fuels.
- If the cooker hood and other devices which are powered by other forms of energy as electricity are served together, the pressure in the room should not exceed 4 Pa (4×10-5 bar).
- The extracted air may not be vented into a flue which is used for the waste gas from appliances that are powered by gas or other fuels.
- The requirements of the competent local authorities must be observed.
- Observe and follow further installation instructions that we give you in the chapter “Installation”.
- ATTENTION: Accessible parts of the appliance may become hot when used with cooking utensils.
- Do not flambé under the cooker hood! You can fry under the hood due to fire hazards only under constant observation.
- Never allow a gas hotplate to burn without cookware. Excess heat can damage the cooker hood.
- Overheated fats and oils can ignite easily. Never walk away from fat and oil when heating them.
- Do not check the filter condition while operating.
- NEVER use the appliance without the fixed aluminum grease filter.
- This appliance can be used by children aged 8 years and above and persons with reduced physical, sensory or mental capabilities or lack of experience and knowledge if they have been given supervision or instruction concerning the use of the appliance in a safe way and understand the hazards involved.
- Children shall not play with the appliance.
- Cleaning and user maintenance shall not be made by children unless they are older 8 years and supervised.
- The appliance must be cleaned regularly. Follow the instructions that we give you in the chapter “Cleaning and Maintenance”. There is a risk of fire if cleaning is not carried out according to these instructions.
- Do not try to repair the appliance on your own. Always contact an authorized technician. To avoid the exposure to danger, always have faulty cable be replaced only by the manufacturer, by our customer service or by a qualified person and with a cable of the same type.
Unpacking the Appliance
- Remove the appliance from its packaging.
- Remove all packaging material, such as foils, filler, and cardboard packaging.
- To prevent hazards, check the appliance for any transport damage.
- In case of damage, do not put the appliance into operation. Contact your distributor.
NOTE:
Production residue or dust may have collected on the appliance. We recommend cleaning the appliance according to chapter “Cleaning and Maintenance”.
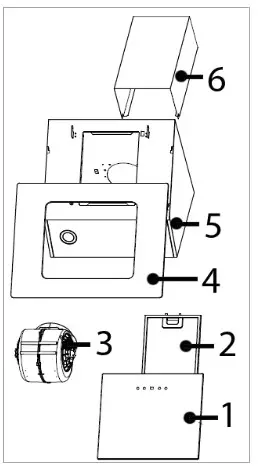
Appliance Equipment

- Glass cover (grease filter cover)
- Aluminum grease filter
- Motor unit
- Glass frame
- Housing
- Shaft unit
Delivery scope
1x aluminum grease filter, 1x 2-part chimney shaft,
1x exhaust hose, 2x non-return valve, incl. Install- tion material and drilling template
This product contains a light source of energy efficiency class G.
Installation
The cooker hood is only intended to be installed over a hob with no more than four hob elements.
There must be a safety distance between the hotplate of the cooking pot on the hob and the bottom part of the cooker hood:
The distance must be between 65 – 75 cm. For gas appliances, the distance must be at least 65 cm. If the installation instructions for the gas cooker specify a greater distance, this distance must be taken into consideration.
Selecting the fume outlet You can operate the cooker hood in two modes:
Extraction mode
WARNING:
- The extracted air may not be vented into a flue which is used for the waste gas from appliances that are powered by gas or other fuels.
- When venting the extracted air, comply with the regulations of the relevant local authorities.
The hood has an upper air outlet to vent cooking odors to the outside.
The extracted air is normally vented vertically. The extracted air can vented through the wall units and the loft floor to the roof ridge.
If there is a conduit under the wall units, the extraction duct can be routed so that the extracted air can be vented horizontally through the wall.
Recirculation mode
If you do not have a direct extraction vent to the outside; the hood can also work in recirculation mode (i.e. without an extraction vent to the outside; the filtered air is released back into the room). In this case, an activated carbon filter as described under “Installing the activated carbon filter for recirculation mode”, must be used. Activated carbon filters are not supplied. You can order the carbon filter from your dealer or in our online accessories shop, www.bomann-germany.de. To order, use the reference number found under “Technical Data”.
Assembly
WARNING:
- When assembling or inserting the extraction filter as well as the carbon filter, the appliance must not be connected to the mains.
WARNING:
- Failure to use the mounting fixtures may lead to a risk of electric shock.
CAUTION:
- Before mounting, check that the wall has enough loading capacity to bear the cooker hood.
- When drilling the holes in the wall always make sure that no existing electrical cables or other objects are damaged.
- Make sure that the ventilation slots are clear of obstacles and are not covered.
NOTE: Recommendations for preparation work
- When installing, ask another person to assist.
- Wear protective gloves to prevent injuries from any sharp edges.
Drilling dimensions
![]() | ![]() |
- Determine the position of the cooker hood centrally above the cooking area in accordance with the specified safety distances.
Totally 8x mounting holes with a diameter of approx. 8 mm are necessary for the wall mounting. Insert the supplied dowels (Fig. 1). - First, drill the holes for attaching the housing according to the enclosed drilling template. Check the markings with a spirit level!
– Turn in the upper screws 2x ST4*40mm for the suspension of the housing (C) so far that they project approx. 2~4 mm out of the wall. - Before attaching the housing, place the two non-return valves by lightly bending them from above into the connecting piece (extraction duct) (Fig. 2).
For the extraction mode: Hereupon a flexible exhaust hose (supplied) with an inner diameter of 150 mm must be attached. Secure the hose with the enclosed cable tie (Fig. 2a). - Hang up the housing. Check the secure hold and the horizontal position. To secure the housing (D), screw in the lower screws 2x ST4*30mm through the housing (Fig. 3).
- Fix the bracket (with angle) for the upper shaft closure (A) with the screws 2x ST4*40mm after determining the extension length of the shaft cover (Fig. 4).
For the extraction mode: Check the correct position of the exhaust hose and connect it with the outlet opening. - Fasten the outer (lower) shaft with the bracket (without angle) using the 2x ST4*8mm self-tapping screws (Fig. 5).
- Put on the telescoped shaft unit; fix the shaft unit laterally to the housing with self-tapping screws 2x ST4*8mm and fix the middle shaft bracket (B) with the screws 2x ST4*40mm (Fig. 6).
- Pull up the inner shaft and fix the shaft cover laterally to the shaft closure bracket using self-tapping screws 2x ST4*8mm (Fig. 7).
Installing the activated carbon filter for recirculation mode
- Remove the aluminum grease filter (see “Cleaning the aluminum grease filter”).
- Place the carbon filter onto the air intake of the extraction duct. Make sure that the mounting pins on the extraction duct engage the mounting slots of the carbon filter. Turn the filter clockwise until it clicks into place.
- Reinstall the aluminum grease filter.

Electrical connection
WARNING:
- The installation to the mains supply must conform to the local standards and regulations.
- Improper connection may cause to an electric shock!
- Do not modify the appliance plug. If the plug does not fit properly to the outlet, let install a proper outlet by an authorized specialist.
- The accessibility of the power plug must be ensured to disconnect the appliance from the power supply in case of an emergency.
- Ensure that your mains power corresponds with the specifications of the appliance. The specifications are printed on the rating label.
- Connect the mains cable to a properly installed and earthed wall outlet.
- If the plug after installation is not accessible, a corresponding disconnect device must be available to meet the relevant safety
regulations.
Startup/Operation
The cooker hood is to operate via touch control:
Operation
Operation on / off
Power level
1 low → 2 medium → 3 high with Booster function
The display shows the selection.
Lighting
Lighting on / off
Timer
Timer modus on / off
Settings
Power level 1: Suitable for cooking on a low flame and for dishes that produce no or little steam to circulate the air around the kitchen.
Power level 2: Suitable for normal cooking.
Power level 3 (Booster function): Suitable if large quantities of smoke and steam need to be extracted or filtered (e. g. when frying).
The booster function initially works with increased power, after about 7 minutes the unit automatically switches to the middle power level.
Timer modus
After-run with switch-off function after 9 minutes
In case of very strong vapor emission, the fan should continue running for a few minutes after cooking. Use the timer for the switch-off function. By pressing the button, the 9 minutes start and the display shows the remaining time in minutes at “9”, “8”, “7” … After 9 minutes the operation switches off automatically.
Energy-saving tips
Information to reduce the environmental effect of cooking (acc. VO (EU) No. 66/2014 Appendix I, No. 2)
- The diameter of the pot and pan floors should be according to the size of the cooking zone.
- Use pans and pots with flat floors, uneven floors increase the energy consumption.
- Ensure that there is enough supply air for the operation of the cooker hood.
- Adjust the fan step intensity of the damp evolution of the cooking process.
- To produce the optimal effect of the cooker hood, install it according to the installation instructions. Keep the distance between the upper edge of the cooker and the lower edge of the cooker hood.
- Clean the filter regularly.
- Control the active carbon filter regularly and renew it as required.
- Switch off the cooker hood after use.
- If your cooker hood has a switch-off delay, activate this function.
- Switch off the lighting after the cooking process.
- We recommend the use of biological cleaners.
Cleaning and Maintenance
WARNING:
- Always turn off the appliance and disconnect from the power supply before cleaning and user maintenance.
- Allow the appliance to cool down sufficiently!
- Do not use steam cleaners for cleaning the appliance; moisture could enter electrical components. Risk of electric shock! Hot steam could damage the plastic parts.
- The unit must be dry before restarting operation.
CAUTION:
- Do not use a wire brush or other sharp, abrasive items.
- Do not use any acidic or abrasive cleaners.
Maintenance of the hood
- To clean the surface of the housing, use a mild detergent and a soft cloth to prevent scratching.
- The appliance can be used again after everything has dried properly.
- If you use your cooker hood in recirculation mode, you must replace the activated carbon filter regularly (see “Replacing the activated carbon filter”).
Cleaning the aluminum grease filter
WARNUNG: Risk of fire!
Grease residue in the aluminum grease filter may ignite intense heat. Therefore, clean the grease filter regularly!
We recommend cleaning the grease filter monthly:

- Remove the aluminum grease filter by sliding back the lock in the handle recess, pushing the filter down gently, and pulling out towards the front.
- Rinse the grease filter in a solution of hot water and neutral detergent. Soak the filter in it.
- Then clean with a soft brush, rinse thoroughly with hot water and allow drying.
- Alternatively, the grease filter can also be cleaned in the dishwasher (up to 60°C). Slight discoloration may occur. This does not affect the function of the grease filter.
Replacing the activated carbon filter
The activated carbon filter prevents odors and must depend on the use but be changed at least every six months.
Order the carbon filter from your dealer or in our online accessories shop, www.bomann-germany.de. Use the reference number found under “Technical Data”.
- See “Installing the activated carbon filter for recirculation mode”.
- Remove and dispose of the old carbon filter.
Replacing the bulb
CAUTION:
Do NOT remove the LED lighting cover!
The bulb may only be replaced by an authorized specialist in case of a defect.
WARNING:
- LED light is very bright and can damage the eyes.
Never look directly into the LED light! - Disconnect the appliance from the power supply and allow the lamps to cool down before changing the lamp. There is a risk of burns!
NOTE:
Order the lamps from your dealer or in our online accessories shop www.bomann-germany.de.
Lamp data: LED max. 2 x 1.5W, DC 12V,
ILOCOS D Code after EN 61231: DSR-1.5/30-S-64
- Remove the grease filter. Carefully push the lamp out of the holder through the housing; pull out the lamp and release the plug connection.
- Replace defect LED module and pin the two ends of the plug-in device.
- Insert new lamp properly in the bulb holder. Replace the grease filter.
Troubleshooting
Before you contact an authorized specialist
| Problem | Possible Cause / Solution |
| Unit is not working or not properly | ∙ Check the power supply. ∙ Check the power level. |
| Unit is not working efficiently | ∙ Check the power level. ∙ Is the kitchen properly ventilated? ∙ Clean the grease filter. ∙ At recirculation mode, check the carbon filter. ∙ Check the air outlet. |
| Light is working | ∙ Check the bulb, see “Replacing the bulb”. |
| Oil is dripping | ∙ Clean the grease filter. |
NOTE:
If you are still having problems after following steps above, contact your trader or an authorized technician.
Technical Data
Electrical connection……………………………………..
Connection voltage: ………………220-240 V~ / 50 Hz
Connection power: ………………………………..233 W
Lighting, LED: ………………………..…….…2 x 1.5 W
Protection class: ……………………………..…………I
Weight / Dimension in mm……..………………………..
Net weight: ………………………….….approx. 14.0 kg

Available accessory…………………………..…………
Activated carbon filter for recirculation mode: ………..
KF 561 (Art.-No. 256 100) not supplied
The right to make technical and design modifications during continuous product development remains reserved.
This appliance has been tested according to all relevant current CE guidelines, such as electromagnetic compatibility and low voltage directives, and has been constructed in accordance with the latest safety regulations.
Meaning of the “Dustbin” Symbol
Protect our environment; do not dispose of electrical equipment in the domestic waste.
Please return any electrical equipment that you will no longer use to the collection points provided for their disposal. This helps avoid the potential effects of incorrect disposal on the environment and human health.
This will contribute to the recycling and other forms of reutilization of electrical and electronic equipment. Information concerning where these can be disposed of can be obtained from your local authority.
WARNING:
Remove or disable any existing snap and bolt locks if you take the unit out of operation or dispose of it. Information to professional users for disassembly (acc. VO (EU) No. 66/2014 Appendix I, No. 2)
Information for non-destructive disassembly for maintenance purposes
- Please remove the filter and lamps as described in the manual.
- Further steps of disassembly for maintenance are not provided
- If you would like to exchange defective components, please contact our customer service.
- Accumulators are not included. Information for disassembly in terms of recycling, recovery, and disposal at the end of the life of the appliance
- Check that the unit is disconnected from the power supply before removing all filters from the hood.
- First, remove the chimney.
- When disassembling the hood, be sure that you first loosen the lower and then the upper screws.
- For the recycling and recovery of resources give the appliance, the lamps and the various filter to:
– a communal collection point of public waste disposal authorities,
– a dedicated disposal company, offering a return system,
– a resident electric trader, who voluntarily withdraws electrical appliances.
EU Product Data Sheet
Product information for household cooker hoods according to regulation (EU) No. 65/2014
| Brand | BOMANN | |
| Model | DU 771.1 G | |
| Annual Energy Consumption (AEChood) | kWh/a | 42.4 |
| Energy Efficiency class | A | |
| Fluid Dynamic Efficiency (FDEhood) | % | 30.9 |
| Fluid Dynamic Efficiency class | A | |
| Lighting Efficiency (Laced) | IxNV | 28.8 |
| Lighting Efficiency class | A | |
| Grease Filtering Efficiency | % | 48.6 |
| Grease Filtering Efficiency class | F | |
| Airflow at minimum speed in normal use | m3/h | 199 |
| Airflow at maximum speed in normal use | m3/h | 336 |
| Airflow in use at intensive or boost setting | m3/h | 603 |
| A-weighted sound power emission in normal use: | ||
| A-weighted sound power emission in normal use at minimum speed | dB | 61 |
| A-weighted sound power emission in normal use at maximum speed | dB | 63 |
| A-weighted sound power emission in use at intensive or boost setting | dB | 72 |
| Power consumption in off-mode (Po) | W | 0.48 |
| Power consumption in standby mode (Ps) | W | – |
Product information for household cooker hoods according to regulation (EU) No. 66/2014
| Brand | OMANN | |
| Model | DU T71.1 G | |
| Annual Energy Consumption (AEChcod) | kWh/a | 42.4 |
| Time increase factor (f) | 0.9 | |
| Fluid Dynamic Efficiency (FDEhood) | % | 30.9 |
| Energy Efficiency Index (EE1h.d) | 51.0 | |
| Measured air flow rate at best efficiency point (QBEP) | m3/h | 286.6 |
| Measured air pressure at best efficiency point (PBEP) | Pa | 460 |
| Maximum airflow (Qm”) | m3/h | 603.1 |
| Measured electric power input at best efficiency point (WBEP) | W | 118.4 |
| Nominal power of the lighting system (WO | W | 4.8 |
| Average illumination of the lighting system on the cooking surface (Ermamo) | Lux | 138 |
| Measured power consumption in standby mode (Ps) | W | – |
| Measured power consumption off-mode (Po) | W | 0.48 |
| Sound power level (LwA) | dB | 63 |
Tested to EN 50564, EN 60704, EN 61591

C. Bomann GmbH
www.bomann-germany.de
Made in P.R.C.

















