m-e VS-11 Modern Electronics S Video

Product Information: VS-11 Door Phone Unit
The VS-11 is an outdoor door phone unit with a camera, loudspeaker, and microphone. It is designed for use in residential or commercial settings to provide communication and door access control between visitors and occupants. The unit can be connected to a smartphone app called Vistasmart2, which allows for remote access and control.
Scope of Delivery:
- 1x Outdoor unit incl. mounting material
- 1x Power supply unit (ST-1000)
- 1x LAN cable 1.5m
- 1x Instruction manual
Technical Specifications:
- Power supply: 8-15V AC or DC
- Contact load capacity: 15V/1A
- Maximum MicroSD card capacity: 32GB (FAT32 formatted)
- Supported smartphone operating systems: Android and iOS
- IP rating: IP44
Legend:


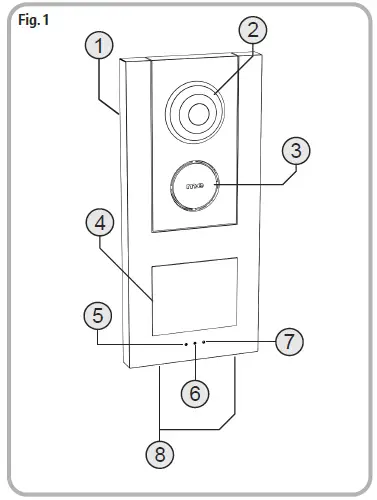
- 1 = Outdoor unit
- 2 = Camera
- 3 = Loudspeaker
- 4 = Nameplate
- 5 = Status LED 1
- 6 = Microphone
- 7 = Status LED 2
- 8 = Housing screws
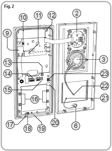
- 9 = Network connection (RJ45)
- 10 = Loudspeaker socket
- 11 = MicroSD card slot
- 12 = Camera socket
- 13 = Reset button
- 14 = Connection terminals
- 15 = Slot for VTX-Bell
- 16 = Bell button
- 17 = Brightness sensor
- 18 = Microphone socket
- 19 = Water drain
- 20 = Buzzer
- 21 = Microphone plug
- 22 = Loudspeaker plug
- 23 = DIP switch
Product Usage Instructions:
First Commissioning:
- Please refer to the instruction manual and Vistasmart2 app guide for initial setup and configuration.
- The door phone unit should be installed in a protected outdoor area, such as under a canopy, to avoid direct exposure to rain.
- If necessary, mount a small protective roof over the unit and ensure that the water drain is not blocked.
- Use the mounting material provided to securely fasten the unit to a flat surface.
- Adjust the nameplate as needed by removing it from its holder and repositioning it.
Operation:
- When a visitor presses the bell button, the outdoor unit will emit a door opening signal for a period of 2 seconds.
- The door opening signal can be switched on or off using the DIP switch located on the unit.
- The camera will capture an image of the visitor, which can be viewed in real-time on the Vistasmart2 app.
- The loudspeaker and microphone can be used to communicate with the visitor through the app.
- The MicroSD card slot can be used to store images and videos captured by the camera.
Notes:
- Always follow safety guidelines and precautions when installing and using the door phone unit.
- Protect the unit from exposure to extreme weather conditions, dust, and other environmental factors.
- Regularly check and maintain the unit to ensure proper functionality.
Model: VS-11
Thank you for purchasing this IP-based door phone, which allows you to see, talk to and even open the door for your visitors via your smartphone (if a door opener is connected).Please note that this function is only available with a working internet connection. An external chime (via radio module mod. VTX-Bell) can be connected via internal connections. This also signals if, for example, your smartphone is switched off or the Internet connection is interrupted. The external call station can be integrated into the home network via WLAN or via network cable (RJ45). We recommend using LAN cables to get the best possible audio and video quality. The outdoor unit has a twilight sensor. With this, the IR LEDs, which are arranged around the camera, are automatically switched on in the dark. This makes the visitor visible even in the dark. In addition, the nameplate illumination is activated at the same time.
GENERAL
You can find the app “Vistasmart2” for your smartphone in the respective store for your smartphone operating system. Android and iOS are currently supported. We have linked the apps for you on our website www.vistasmart.de (link to the respective store). The instructions for the app and for setting up the outdoor unit can also be found there.
FIRST COMMISSIONING OF THE PRODUCT
We recommend starting up the outdoor unit on a trial basis before installation. To open the outdoor station, read the section “Installation”. Connect the power supply for the outdoor unit to the terminals
, without having to pay attention to the polarity. Connect the net-work cable to a free port of your router and the LAN socket (9). Make sure that your router supports DHCP so that the outdoor unit automatically receives an IP address from your home network and can connect to the Internet. If you want to use WLAN, follow the app instructions for the WLAN setup.
NOTES ON THE INSTALLATION LOCATION
The door phone unit is protected against splash water according to IP 44 and must not be directly exposed to rain. It should therefore be installed in a protected outdoor area (e.g. under a canopy). If this is not possible for you, mount a small protective roof over the outdoor unit. Please make sure that the water drain (19) is not closed so that any water that penetrates (e.g. condensation water) can run off again.
PREPARATION
When opening the housing, pay attention to the cables of the speaker, microphone and camera, which are fixed in the front part of the housing. You can disconnect the ribbon cable of the camera by carefully pushing the two tabs on the socket towards the cable. The cable can then be pulled out of the socket. Make sure that the tabs are loosened when reinserting the cable and press them tight again after the cable has been inserted. See also
The external call station should be mounted at a height of approx. 1.5m-1.6m (centre of camera). Before finally mounting the door intercom, you should test whether the camera detects a visitor sufficiently. If necessary, adjust the mounting height and location to your conditions.
MOUNTING
Remove the two screws (8) to open the housing of the outdoor unit. The housing is also equipped with lugs and grooves that connect the upper and lower parts of the housing. Therefore, some force is required to separate the housing parts. Align the back of the outdoor unit at the intended mounting location (a spirit level is helpful here). Mark the 4 outer drill holes. Drill the holes for the mounting with a 6mm drill bit and insert a dowel into each hole. Feed the wires through the large hole of the outdoor unit and fix them with 4 screws. Connect the lines according to the wiring diagram.
ADJUSTING THE NAME PLATES
The name plate cover can simply be carefully prized off towards the front using a flat-blade screwdriver. Insert an appropriately labelled foil* or paper* and replace the name plate cover and press the name plate cover back in place to prevent it from falling out.
- Dimension: 71mm x 50mm
DOOR OPENER CONNECTION
The outdoor unit has two potential-free contacts (14.B and 14.C) that can be switched separately via the App. In the example connection diagram (Fig. 3), the power source of the outdoor unit is also used for the door opener. Make sure that the power source provides sufficient power (note the current consumption of the door opener). The power source should be able to supply at least 500mA more current than the door opener requires. Alternatively, different voltage sources can be used for the outdoor station and the door opener. The second door opener can be connected to the screw terminals (14.C) according to the same scheme.
DOOR OPENER SETTINGS
DIP switch 1 (23) can be used to set whether the contacts are closed for 2 seconds or for 5 seconds. Set the switch to the “ON” position for 2 seconds or to the “OFF” position for 5 seconds. A signal tone can be switched ON or OFF via DIP switch 2 (23). This signal tone indicates to the visitor that the door opener is activated and that the door can be opened.
- The settings of the DIP switches always affect both door opener contacts.
- Maximum contact load: 15V/1A
CONNECTION OF VTX-BELL RADIO MODULE
The separately available VTX-Bell radio module can be connected to the plug (15). It is simply plugged onto this connector with the short connection cable. Fix the radio module with adhesive tape. All receivers of the BELL and FG series from m-e can be used as radio chime receivers.
MICRO SD CARD
If a MicroSD card* is inserted in the slot (11), the VS-11 saves a video of approx. 30 seconds on it after the bell has been rung. You can retrieve the recorded videos via the app. For further information, please refer to the app instructions.
- max. 32GB, FAT32 formatted
OPERATION OF THE PRODUCT
Pressing the nameplate (4) activates the outdoor unit and your smart-phone with the configured App as well as any additional gongs connected will ring. Via the App, you can then speak to the visitor, activate the door opener (if connected) and view and record a picture or video. The speech volume cannot be adjusted at the outdoor unit. Download the app instructions from our homepage at www.vistasmart.de and follow the instructions to install and configure the app.
TECHNICAL DATA
- WLAN: 2.4GHz 802.11/b/g/n
- LAN: 100 MB/s
- Camera sensor: CMOS
- Field of view: Horizontal approx. 95°, vertical approx. 50
- Splash-proof according to IP44
- Power supply: AC or DC 8-15V/500mA
- Load capacity door opener connection: max. 15V1A
- Working temperature: -10°C – +50°C
- Maximum humidity: 85% RH
NOTES
Exposure to strong static, electric or high-frequency fields (discharges, mobile phones, radio equipment, mobile phones, microwaves) may cause the unit to malfunction.
Cleaning and care
Disconnect mains-powered units from the mains (pull out the plug) before cleaning. The surface of the housing can be cleaned with a soft cloth moistened with soapy water. Do not use abrasive cleaners or chemicals.
SAFETY INSTRUCTIONS
- Damage caused by failure to observe these operating instructions will invalidate the warranty. We accept no liability for consequential damage!
- We accept no liability for damage to property or personal injury caused by improper handling or non-observance of the safety instructions. In such cases, all warranty claims are invalidated!
- For safety and approval reasons (CE), unauthorized conversion and/or modification of the product is not permitted. Do not disassemble the product!
- There is a risk of life-threatening electric shock!
- The front-door station is operated with safety extra-low voltage, the power supply unit corresponds to protection class 1. Only a proper mains socket (230V/50Hz) of the public supply network may be used as voltage source for the plug-in power supply unit.
- Devices operated on mains voltage do not belong in the hands of children. Therefore, take special care in the presence of children.
- Do not leave the packaging material lying around carelessly; plastic film/bags, polystyrene parts etc. could become dangerous toys for children. Handle the product with care, it can be damaged by bumps, knocks or fall-ing from even a small height.
2 YEAR LIMITED WARRANTY
This product is warranted to be free from defects in materials and work-manship for a period of 2 years from the date of purchase. This applies only if the appliance is used in the usual manner and is regularly maintained. The obligations of this warranty will be limited to the repair or re-installation of any part of the unit and will only apply on condition that no unauthorized modifications or attempted repairs have been made. Your statutory rights as a customer are in no way affected by this warranty.
Please note!
There is no entitlement to warranty in the following cases, among others:
- operating errors
- flat batteries or defective rechargeable batteries
- incorrect coding/channel selection
- interference from other radio systems (e.g. mobile phone operation)
- External interference/impacts
- Mechanical damage
- Moisture damage
- No proof of warranty (proof of purchase)
In the event of damage caused by non-observance of these operating instructions, the warranty claim becomes invalid. We accept no liability for consequential damage! We accept no liability for damage to property or personal injury caused by improper handling or non-observance of the safety instructions. In such cases, all warranty claims are invalidated!
LIMITATION OF LIABILITY
The manufacturer is not liable for loss or damage of any kind, including incidental or consequential damages, resulting directly or indirectly from the malfunction of this product.
m-e GmbH modern-electronics,
An den Kolonaten 37,
26160 Bad Zwischenahn, Germany
These operating instructions correspond to the technical status at the time of going to press. We reserve the right to make changes in techno-logy and equipment.




















