
EMEET MEETING CAPSULE
ONE-STOP SOLUTION FOR HYBRID MEETING
User Manual
Model Name:E4101, E410101, E410102, E410103, E410104, E410105, E410106
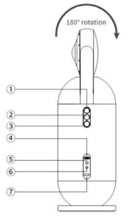
Product Description

Buttons
- Mode button
- Privacy button
- App startup
- Type-C output
- 3.5mm port
- DC power input
- LOCK port

Fast connection
- Connect the host to the power adapter. The host will automatically start after it is energized.

- Connect the USB cable to the computer and the host (USB-C OUT).

- When you use this product for the first time, you can select the microphone, speaker, and webcam named EMEET Meeting Capsule from the video conferencing software, without having to install any drivers.
camera EMEET Meeting Capsule XXX Camera XXXX Camera - After the meeting, the host can enter the privacy mode and standby state.

Indicators
| Startup | 5 indicators on from bottom to top, in green | |
| Full working status | 5 indicators on, steady green | |
| Privacy status | 5 indicators on, steady red | |
| Video off | 2 upper indicators on, steady red | |
| M IC off | 2 lower indicators on, steady red | |
| Volume change | flashing blue | |
| Sleep | 5 indicators off |
Functions of remote control
- Remote control pairing
The remote control has been paired with the host before delivery. When you long press both the remote-control power button and the microphone mute button, the indicator flashes red and blue, which indicates that it is in the pairing mode.

Introduction

| 1. Indicators 2. Power button 3. Up, down, left, right 4. Mode button 5. App startup | 6. Zoom button 7. Privacy button 8. Webcam on/off button 9. MIC mute button 10. Auto view |
Note:
- During remote control pairing, turn off the non-target device if there are multiple hosts.
- After being paired with the host, the remote-control indicator will be off and the host will generate a prompt sound.
- You can use the power button to control the host to wake up or sleep.
- The remote control will be disconnected when the host enters sleep mode.
- The remote control requires two AM batteries.
- If the remote control does not work properly, replace both batteries with new ones, Don’t use a new battery together with an original one.
Screen adjustment
- Screen adjustment takes effect only alter zooming in wide-angle mode. The zoom options include 2x zoom-up and 5x zoom-up in loop mode based on the default screen.

- In presenter mode, you can press the left and right buttons to adjust the display position.

Precautions
- Please read these instructions before using and operating the device. Please pay attention to all warnings.
- Do not use this device in a dusty, wet or dirty place. Otherwise, a circuit failure may be caused.
- Do not use this device near heat sources such as radiators, electric heaters, and furnaces.
- Do not disassemble the device or modify accessories without permission. All repair works should be carried out by qualified personnel. When the device is damaged in any form, professional repair is required.
- This product is not a toy, and you are solely responsible for compliance with all local laws, regulations and restrictions.
- Do not use EMEET Meeting Capsule for unauthorized surveillance, surreptitious filming, or in any manner that violates personal privacy regulations. Under general circumstances, it is strictly forbidden to use the webcam for these purposes. The operator could bear heavy responsibilities and face criminal prosecution.
Security Statement
Warning: For safety reasons, EMEET Meeting Capsule should only be used with genuine EMEET accessories that are included or purchased separately. The use of any other parts, accessories or adapters not recommended by EMEET may result in fire, electric shock, personal injury, or death. Damages caused by the use of unauthorized accessories are not covered by the warranty.
events One (1) Year Limited Warranty Limited one 11) Year Warranty with eMeet proof of purchase. The warranty does not cover normal wear and tear or damage caused by accidents or misuse. To protect your rights, please keep the proof of pun-chase.
For service, please contact us : + 1 888 959 6320 rEsr eneern.s000rni supportrgemeetai Qt www.emeetal
Safety Guide
Caution: To avoid electrical shock do not open the housing of this product. In addition, users do not need to use the product’s internal pans. To repair the product please contact qualified maintenance personnel or mail the product to our after-sales department.
- Please read the guide carefully.
- Please keep this guide
- Please observe all warnings
- Please follow all instructions
- When cleaning this product use a dry doth only
- Chokng hazard – This product contains small parts. It is not suitable for children under the age of 3
- Do not put this product near a heat source, such as a heating radiator or hot air regulator. Steve, or’ loudspeakers (including amplifiers) that produce heat.
- Do not use this product if you must remain also of your surroundings. for example. while dame a car or riding a bike.
- Do not submerge this product inwale, or expose it to a damp environment fora beg period of time Do not use this product when engaging in water wan such as swarm-9 Or surfing
- Please protect the power cable and audio cane. Do not step on or apply pressure on them. Do not pull on the product’s plug socket or cable outlet.
- it is recommended that users use the accessories that have been specified by the vendor.
- Do not expose the battery to environments with OxcOSSNO heat such as direct sunlight or sources of fire
- Connect a POwer supply within the specified voltage range. The power cable that is connected to the product is not currently being used 10 Charge the product please connect the power cable from the port and shut off the power supply
- To repair the product please contact cur professionathe l maintenance personnel if the product is damaged, the produce stow be repaired. For example it the power cable or plug is damaged. ‘gad has flowed into the product an obieci has fallen into the product, the product has come rep contact with ran or moisture, the product Cannot operate properly. or it the [anion? has fallen
Regulatory Compliance Information
EU/UK Compliance (Wireless equipment only) Hereby, SHENZHEN EMEET TECHNOLOGY CO., LTD. Corporation declares that the radio equipment Is In compliance with <Directive 2014/53/EU / RER 2017 (SI 2017/1206)). A copy of the EU/UK Declaration of Conformity is available at http://www.emeetaVCerlifi-cate.html Excessive sound pressure from earphones and headphones can cause hearing loss.

Frequency 2.4GHz (8luetooth°). Maximum Power <100mW. Due to the used enclosure material, the product shall only be connected to a USG Interface of version 2.0 or higher.
EU/UK Compliance (Corded equipment only) Hereby, SHENZHEN EMEET TECHNOLOGY CO., LTD. Corporation declares that this device Is in compliance with the essential requirements and other relevant provisions of Directive 2014/30/EU and Electromagnetic Compatibility Regulations 2016. A copy of the EU/UK Declaration of Conformity is available at available at http://www.emeet.ai/Certifi-cate.html
CE
The suitable temperature for the product and accessories is 0-40 C.
Manufacture Name: SHENZHEN EMEET TECHNOLOGY CO. LTD.
Manufacture Address: Unit 2C, Building A6, Guangming Science Park Guanguang Road 3009, Guangming District, Shenzhen, China
FCC Compliance (Wireless equipment only) Federal Communication Commission (FCC) Radiation Exposure Statement. The device has been evaluated to meet general RE exposure requirements, The device can be used in portable exposure conditions without restriction.
FCC Compliance
This device complies with pan 15 of the FCC Rules. Operation is subject to the following two conditions: (1) this device may not cause harmful interference. and (2) this device must accept any interference received, including interference that may cause undesired operation.
NOTE The manufacturer is not responsible for any radio or TV interference caused by unauthorized
modifications or changes to this equipment. Such modifications or changes could void the user’s authority to operate the equipment.
NOTE This equipment has been tested and found to comply with the limits for a Class B digital device, pursuant to part 15 of the FCC Rules. These limits are designed to provide reasonable protection against harmful interference in a residential installation. This equipment generates uses and can radiate radio frequency energy and, if not installed and used In accordance with the instructions. may cause harmful interference to radio communications. However, there is no guarantee that interference will not occur in a particular installation. If this equipment does cause harmful interference to radio or television reception, which can be determined by turning the equipment off and on, the user is encouraged to try to correct the interference by one or more of the following measures:
- Increase the separation between the equipment and receiver.
- Connect the equipment Into an outlet on a circuit different from that to which the receiver is connected.
- Consult the dealer or an experienced radio/TV technician for help.
ISED Compliance (Wireless equipment only)
Radiation Exposure Statement: The product complies with the Canada portable RF exposure Omit set forth for an uncontrolled environment and are safe for intended operation as described in this manuaL The further RF exposure reduction can be achieved if the product can be kept as far as possible from the user body or set the device to lower output power if such function is available.
www.emeet.com
Email:[email protected]
Address: Unit 2C, Building A6, Guangming Science Park, Guanguang Road 3009,
Guangming District, Shenzhen, China ![]()























