EMEET E410101 Meeting Capsule Video Conference Camera

What In The Box

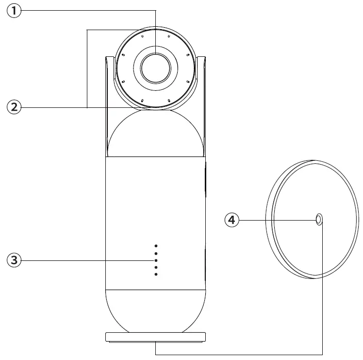
Product Description
- HD lens
- 8 Mies array
- 5 x LED indicators
- 1/4 Tapped hole

- Mode button
- ln Private button
- Mic mute button
- USB Out
- 3.5mm Link port
- 12V DC power input
- LOCK port

- Mode button Short press: Switch between 4 video modes
- In the Private button Short press: Enter/exit In Private mode immediately
- Short press: Microphone Mute/Unmute

Fast connection
- Connect the host to the power adapter. The host will automatically start after it is energized.

- Connect the USB cable to the computer and the host (USB Out).

- When you use this product for the first time, you can select the microphone, speaker and webcam named EMEET Meeting Capsule from the video conferencing software, without having to install any drivers.

- After the meeting, the host can enter the In Private mode and standby state.

Indicators

Functions of remote control
Introduction
- Indicators
- MIC mute button
- Up, down, left, right
- Mode button
- Sensitivity adjusting button
- In Private button
- The camera on/off button
- Zoom button
- Close the Panorama frame button

Remote control pairing
Remote Control has completed the Bluetooth pairing before shipment, no need to pair again. Repairing process: Long press the Zoom and Microphone Mute buttons of Remote Control at the same time, and LED indicators on the top of Remote Control turn to flash red and blue alternately, meaning it is ready for automatical bluetooth pairing. And the pairing is succeeded once the LED indicator stops flashing.
Note:
- During remote control pairing, turn off the non-target device if there are multiple hosts.
- After being paired with the host, the remote-control indicator will be off and the host will generate a prompt sound.
- The remote control will be disconnected when the host enters sleep mode.
- The remote control requires two AAA batteries.
- If the remote control does not work properly, replace both batteries with new ones. Don’t use a new battery together with an original one.
Screen adjustment
- Screen adjustment takes effect only after zooming in Classic mode.

After zooming, the direction buttons can adjust the display position
- In Speech mode, you can press the left and right buttons to adjust the display position.


Precautions
- Please read these instructions before using and operating the device. Please pay attention to all warnings.
- Do not use this device in a dusty, wet or dirty place. Otherwise, a circuit failure may be caused.
- Do not use this device near heat sources such as radiators, electric heaters, and furnaces.
- Do not disassemble the device or modify accessories without permission. All repair works should be carried out by qualified personnel. When the device is damaged in any form, professional repair is required.
- This product is not a toy, and you are solely responsible for compliance with all local laws, regulations and restrictions.
- Do not use EMEET Meeting Capsule for unauthorized surveillance, surreptitious filming, or in any manner that violates personal privacy regulations. Under general circumstances, it is strictly forbidden to use the webcam for these purposes. The operator could bear heavy responsibilities and face criminal prosecution.
Security Statement
Warning:
For safety reasons, EMEET Meeting Capsule should only be used with genuine EMEET accessories that are included or purchased separately. The use of any other parts, accessories or adapters not recommended by EMEET may result in fire, electric shock, personal injury, or death. Damages caused by the use of unauthorized accessories are not covered by the warranty.
For more detailed instructions, please visit the following URL:
https://emeet.com/pages/meeting-capsule-faq.
E4101 www.emeet.com. Email: [email protected] Address: Unit 2C, BuildingA6, Guangming Science Park, Guanguang Road 3009, Guangming District, Shenzhen, China.































