vtech 80-2632-01 Video Monitor

Basic operation
After powering up your video monitor, the parent unit streams live video in direct mode. We recommend you follow the instructions on screen to set up home Wi-Fi network with your monitor for functionality enhancements and mobile access. See Auto software and firmware update and Download app for mobile access in this quick start guide.
Use the menu
Press MENU on the parent unit to enter the main menu, choose a menu item, or save a setting. You can use the parent unit menu for advanced settings or operations, such as to play or stop the baby unit lullaby, or adjust the baby unit sound sensitivity.
While in the menu:
- Press to scroll among the menu options.
- Press SELECT to select an item.
- Press TALK to return to the live video.
- Press to go to the Help & info page.
Adjust speaker volume
Press VOL – VOL+ to adjust the parent unit speaker volume level received from the baby unit.
Zoom
Press to zoom in or out in a fixed zoom sequence. indicates that the image is magnified 3 times.
Talk to your baby via the baby unit
- Press and hold the TALK key.
- When the icon displays on screen, speak to your parent unit. Your voice is transmitted to the baby unit.
- When finished talking, release the TALK key to hear your baby again.
Turn on/off baby unit’s status LED
Turn on or turn off the baby unit status LED indicator. Go to:
Status LED.
Turn on/off the parent unit screen
You can turn on or turn off the parent unit screen without powering off the unit. You will still hear sounds from the baby unit.
- Press | LCD ON/OFF on the parent unit to turn off the screen.
- Press any key on the parent unit to turn the screen on again.
Tip
You can reset the parent unit by pressing the RESET key at the back of the unit. Insert a pin into the RESET hole on the back of the parent unit, and then press the key inside.
Night Light
You can control the night light remotely on the parent unit or directly on the baby unit.
On the parent unit:
- Press MENU.
- Press or to scroll to Night Light menu, then press MENU or to enter.
- Press or to choose below options:
- Turn on/off night light
- Change night light color
- Adjust night light brightness
- Set night light timer
On the baby unit:
Night Light Control Key
Single Tap: Turn on/off
Tap and hold: Adjust night light brightness
Monitoring Modes
When more than one baby unit is paired to the parent unit, you can choose to view different baby units in three monitoring modes. Learn more about each below:
Single Mode![]() ![]() | The screen displays images only from the selected baby unit in full screen. |
Split Mode![]() | The screen displays images from all paired baby units at the same time in split view. |
Patrol Mode![]() | The screen displays a single cam view that transitions to a different baby unit every 10 seconds. |
Change the monitoring mode:
- Press MENU when the parent unit is idle.
- Press MENU or to enter Monitoring Mode menu.
- Press or to choose between Single , Split , and Patrol monitoring mode options. Press SELECT to confirm.
Test the sound level and position the baby monitor
Testing the sound level of the baby monitor
NOTE
- This baby monitor is intended as an aid. It is not a substitute for proper adult supervision, and should not be used as such.
CAUTION
- For hearing protection, make sure the parent unit is more than 3 feet away from the baby unit. If you hear any high-pitched noise from the parent unit, move the parent unit further until the noise stops. You can also press on the parent unit to lower or mute the noise.
TIP
- Increase the parent unit speaker volume if you cannot hear the sounds transmitted from the baby unit.

Positioning the baby monitor
CAUTION
- Keep the baby unit out of the reach of your baby. Never place or mount the baby unit inside the baby’s crib or playpen.
- Place the baby unit more than 3 feet away from your baby
- Adjust the angle of the baby unit to aim at your baby
- To avoid causing high-pitched screeching noise from your baby monitor:
- Make sure your baby unit and parent unit are more than 3 feet apart; OR
- Turn down the volume of your parent unit.

Test the location for the baby unit
If you plan to install your baby unit in a designated location, and use your home Wi-Fi network to connect your video monitor, you need to test which of your selected monitoring areas within the house have good Wi-Fi signal strength. After you have powered on your parent unit, you can use your parent unit’s Wi-Fi signal strength indicator to assist in checking. Once you have identified the suitable location, you can install your baby unit. Adjust the distance between your baby unit and the Wi-Fi router if needed.
TIP
- Depending on surroundings and obstructing factors, such as the effect distance and internal walls have on signal strength, you may experience reduced Wi-Fi signal. To improve the Wi-Fi signal strength, adjust the distance or direction of your parent unit. Check with your parent unit again.
Auto software and firmware update
To ensure that your baby monitor is always at its best performance, the parent unit will prompt you
to update its software and the baby unit firmware when there are new versions available.
- Follow the instructions on the parent unit screen to update your baby monitor. If you skip the updates, the parent unit and baby unit will be updated automatically when the parent unit is powered off, and then powered on again.
- To check if your device is running on the latest software or to update your device software, go to:
- > Software Update
Connect your baby monitor to Wi-Fi - You must connect your video monitor to your secured home Wi-Fi network in order to receive
the latest software and firmware updates. To set it up, go to: - Configure Wi-Fi
Need help?
For instructions and guides to make the best use of your baby monitor, and for the latest information and support, check out our online help topics and FAQs. The online help page will also be updated periodically to reflect product system updates.
Use your smartphone or mobile device to access our online help.
- Go to https://help.vtechphones.com/RM7766HD or
https://help.vtechphones.com/RM7766-2HD; OR - Scan the QR code on the right. Launch the camera app or QR code scanner app on your smartphone or tablet. Hold the device’s camera up to the QR code and frame it.

RM7766HD online help
Tap the notification to be redirected to the online help page.
– If the QR code is not clearly displayed, adjust your camera’s focus by moving your device closer or further away until the image is clear.
If you would like to contact us, visit
https://help.vtechphones.com/cs.
RM7766-2HD online help
You can also call our Customer Support at
1-844-848-8324 (1-844-84-VTECH) [in US] or
1-888-211-2005 [in Canada] for help.
mount the baby unit
NOTES
- Check for reception strength and camera angle of the baby unit before drilling the holes.
- The types of screws and plugs you need depend on the composition of the wall. You may need to purchase the screwsand plugs separately to mount your
baby units.
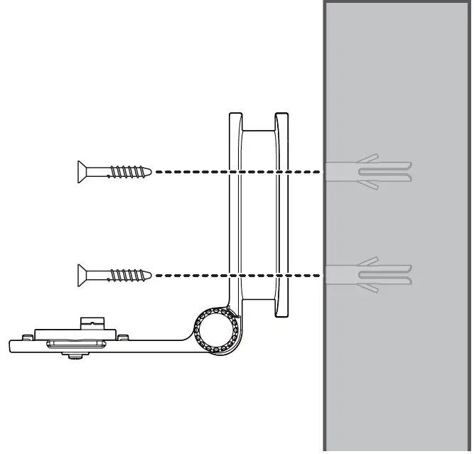
- Place the wall mount bracket on a wall and then use a pencil to mark two holes in parallel. Remove the wall mount bracket and drill two holes in the wall (7/32 inch drill bit).

- If you drill the holes into a stud, go to step 3.

- If you drill the holes into an object other than a stud, insert the wall plugs into the holes. Tap gently on the ends with a hammer until the wall plugs are flush with the wall.
- Align the wall mount bracket and screws with the holes in the wall as shown. Tighten the screw in the middle hole first, so that the wall mount bracket position is fixed. You can tighten the other screw in the top hole.
Insert the screws into the holes and tighten the screws until only 1/4 inch of the screws are exposed.
- Place the baby unit on the wall mount bracket, and then slide it forward until it locks into place. Connect the power adapter to the baby unit and a power supply not controlled by a wall switch.
Place the baby unit on the wall mount bracket, and then slide it forward until it locks into place. Align the holes on the wall mount bracket with the screws on the wall, and slide the wall mount bracket down until it locks into place.

- You can maximize your baby unit’s viewing angles by tilting the wall mount bracket. Hold the baby unit, and then rotate the knob in anticlockwise direction. This will loosen the joint of the wall mount bracket. Tilt your baby unit up or down to adjust to your preferred angle. Then, rotate the knob in clockwise direction to tighten the joint and secure the angle.

General product care
To keep this product working well and looking good, follow these guidelines:
- Avoid placing it near heating appliances and devices that generate electrical noise (for example, motors or fluorescent lamps).
- DO NOT expose it to direct sunlight or moisture.
- Avoid dropping the product or treating it roughly.
- Clean with a soft damp cloth.
- DO NOT immerse the parent unit and the baby unit in water and do not clean them under the tap.
- DO NOT use cleaning spray or liquid cleaners.
- Make sure the parent unit and the baby unit are dry before you connect them to the mains again.
- Clean the USB charging port of dust, dirt, and lint regularly.
Storage
When you are not going to use the video monitor for some time, store the parent unit, the baby unit and the adapters in a cool and dry place
Frequently asked questions
Below are the questions most frequently asked about the video monitor
| Can I turn the parent unit display screen off but keep hearing sounds from the baby unit? | Yes, press | LCD ON/OFF on the parent unit to turn off the screen. The parent unit display will also dim automatically after being inactive for some time. In both instances, you will still be able to hear all sounds from the baby unit. Press any key to turn the screen back on. |
| Why is the baby unit not responding normally? | Try the following (in the order listed) for a common cure:
|
| Why is my screen in black and white? | The baby unit has a light sensor that measures ambient light. When the ambient light is dim, such as during night time or in a dark room, the baby unit activates its infrared LEDs, and displays the camera images in black and white night vision. |
| Why does my baby unit show offline? Why is the connection lost every now and then? | The baby unit may have lost connection to the Wi-Fi router. Check your network and router settings. |
| Other electronic products may cause interference with your baby unit. Try installing your baby unit as far away from these electronic devices as possible. | |
| Why can’t I hear a sound/Why can’t I hear my baby crying? | The parent unit speaker volume may be too low. Press on the parent unit to increase the volume. |
| You may have set a low sound sensitivity level. Set the sound sensitivity to a higher level. For details, go to www.vtechphones.com for online help topics. |
The RBRC seal
The RBRC seal on the lithium-ion battery indicates that VTech Communications, Inc. is voluntarily participating in an industry program to collect and recycle these batteries at the end of their useful lives, when taken out of service within the United States and Canada. The program provides a convenient alternative to placing used lithium-ion batteries into the trash or municipal waste, which may be illegal in your area. VTech’s participation makes it easy for you to drop off the spent product at local retailers participating in the program or at authorized VTech product service centers. Please call 1 (800) 8 BATTERY® for information on Li-ion battery recycling and disposal bans/restrictions in your area. VTech’s involvement in this program is part of its commitment to protecting our environment and conserving natural resources. The RBRC Seal and 1 (800) 8 BATTERY® are registered trademarks of Call2recycle, Inc.
FCC and IC regulations
FCC Part 15
NOTE: This equipment has been tested and found to comply with the requirements for a Class B digital device under Part 15 of the Federal Communications Commission (FCC) rules. These requirements are intended to provide reasonable protection against harmful interference in a residential installation. This equipment generates, uses and can radiate radio frequency energy and, if not installed and used in accordance with the instructions, may cause harmful interference to radio communications. However, there is
no guarantee that interference will not occur in a particular installation. If this equipment does cause harmful interference to radio or television reception, which can be determined by turning the equipment off and on, the user is encouraged to try to correct the interference by one or more of the following measures:
- Reorient or relocate the receiving antenna.
- Increase the separation between the equipment and receiver.
- Connect the equipment into an outlet on a circuit different from that to which the receiver is connected.
- Consult the dealer or an experienced radio/TV technician for help.
WARNING:
Changes or modifications to this equipment not expressly approved by the party responsible for compliance could void the user’s authority to operate the equipment. This device complies with Part 15 of the FCC rules. Operation is subject to the following two conditions: (1) this device may not cause harmful interference, and (2) this device must accept any interference received, including interference that may cause undesired operation. To ensure safety of users, the FCC has established criteria for the amount of radio frequency energy that can be safely absorbed by a user or bystander according to the intended usage of the product. This product has been tested and found to comply with the FCC criteria. The baby unit shall be installed and used such that parts of all persons’ body are maintained at a distance of approximately 8 in (20 cm) or more. The transmitter and antenna of the parent unit shall be held at least 1 in (2.5 cm) from your face. This Class B digital apparatus complies with Canadian requirement: CAN ICES-3 (B)/NMB-3(B)
Industry Canada
This device contains licence-exempt transmitter(s)/receiver(s) that comply with Innovation, Science and Economic Development Canada’s licence-exempt RSS(s). Operation is subject to the following two conditions: (1) This device may not cause interference. (2) This device must accept any interference, including interference that may cause undesired operation of the device. The term ‘’IC:‘’ before the certification/registration number only signifies that the Industry Canada technical specifications were met.
This product meets the applicable Innovation, Science and Economic Development Canada technical specifications.
RF radiation exposure statement
The product complies with FCC RF radiation exposure limits set forth for an uncontrolled environment. The baby unit should be installed and operated with a minimum distance of 8 in (20 cm) between the baby unit and all persons’ body. Use of other accessories may not ensure compliance with FCC RF exposure guidelines. This equipment complies also with Industry Canada RSS-102 with respect to Canada’s Health Code 6 for Exposure of Humans to RF Fields.
California Energy Commission battery
charging testing mode
This video monitor meets the California Energy Commission (CEC) regulations for energy consumption. Your video monitor is set up to comply with the energy-conserving standards right out of the box. Follow the instructions to install and charge the battery. The CEC battery charging testing mode is activated while charging. Even if the parent unit is paired to camera units, the CEC battery charging testing mode is activated while it is powered off and charging.
Limited warranty
What does this limited warranty cover?
The manufacturer of this VTech Product warrants to the holder of a valid proof of purchase (“Consumer” or “you”) that the Product and all accessories provided in the sales package (“Product”) are free from defects in material and workmanship, pursuant to the following terms and conditions, when installed and used normally and in accordance with the Product operating instructions. This limited warranty extends only to the Consumer for Products purchased and used in the United States of America and Canada.
What will VTech do if the Product is not free from defects in materials and workmanship during the limited warranty period (“Materially Defective Product”)?
During the limited warranty period, VTech’s authorized service representative will replace at VTech’s option, without charge, a Materially Defective Product. If we choose to replace the Product, we may replace it with a new or refurbished Product of the same or similar design. We will retain defective parts, modules, or equipment. Replacement of the Product, at VTech’s option, is your exclusive remedy. VTech will return the replacement Products to you in working condition. You should expect the replacement to take approximately 30 days.
How long is the limited warranty period?
The limited warranty period for the Product extends for ONE (1) YEAR from the date of purchase (90 days on products purchased as Refurbished*). This limited warranty also applies to the replacement Product for a period of either (a) 90 days from the date the replacement Product is shipped to you or (b) the time remaining on the original one-year warranty (90-day limited warranty on products that are purchased as Refurbished*); whichever is longer.
- Refurbished products purchased from our online store carry a 90-day replacement warranty.
What is not covered by this limited warranty?
This limited warranty does not cover:
- Product that has been subjected to misuse, accident, shipping or other physical damage, improper installation, abnormal operation or handling, neglect, inundation, fire, water or other liquid intrusion; or
- Product that has been damaged due to repair, alteration or modification by anyone other than an authorized service representative of VTech; or
- Product to the extent that the problem experienced is caused by signal conditions, network reliability, or cable or antenna systems; or
- Product to the extent that the problem is caused by use with non-VTech accessories; or
- Product whose warranty/quality stickers, product serial number plates or electronic serial numbers have been removed, altered or rendered illegible; or
- Product purchased, used, serviced, or shipped for repair from outside the United States of America or Canada, or used for commercial or institutional purposes (including but not limited to Products used for rental purposes); or
- Product returned without a valid proof of purchase (see item 2 below); or
- Charges for installation or set up, adjustment of customer controls, and installation or repair of systems outside the unit.
How do you get warranty service?
To obtain warranty service in the USA, please visit our website at www.vtechphones.com or call 1 (800) 595-9511. In Canada, go to www.vtechcanada.com or call
1 (800) 267-7377.
NOTE:
Before calling for service, please review the user’s manual – a check of the Product’s controls and features may save you a service call. Except as provided by applicable law, you assume the risk of loss or damage during transit and transportation and are responsible for delivery or handling charges incurred in the transport of the Product(s) to the service location. VTech will return replaced Product under this limited warranty. Transportation, delivery or handling charges are prepaid. VTech assumes no risk for damage or loss of the Product in transit.
What must you return with the Product to get warranty service?
- Return the entire original package and contents including the Product to the VTech service location along with a description of the malfunction or difficulty; and
- Include a “valid proof of purchase” (sales receipt) identifying the Product purchased (Product model) and the date of purchase or receipt; and
- Provide your name, complete and correct mailing address, and telephone number.
Other limitations
This warranty is the complete and exclusive agreement between you and VTech. It supersedes all other written or oral communications related to this Product. VTech provides no other warranties for this Product. The warranty exclusively describes all of VTech’s responsibilities regarding the Product. There are no other express warranties. No one is authorized to make modifications to this limited warranty and you should not rely on any such modification. State/Provincial Law Rights: This warranty gives you specific legal rights, and you may also have other rights, which vary from state to state or province to province.
Limitations: Implied warranties, including those of fitness for a particular purpose and merchantability (an unwritten warranty that the Product is fit for ordinary use) are limited to one year from the date of purchase. Some states/provinces do not allow limitations on how long an implied warranty lasts, so the above limitation may not apply to you. In no event shall VTech be liable for any indirect, special, incidental, consequential, or similar damages (including, but not limited to lost profits or revenue, inability to use the Product or other associated equipment, the cost of substitute equipment, and claims by third parties) resulting from the use of this Product. Some states/provinces
do not allow the exclusion or limitation of incidental or consequential damages, so the above limitation or exclusion may not apply to you. Please retain your original sales receipt as proof of purchase.
References
VTech Canada Official Site | Best Home Office & Business Phones
VTech Cordless Phones Official Site | Best Home Office & Business Phones
VTech Cordless Phones Official Site | Best Home Office & Business Phones
VTech Cordless Phones Official Site | Best Home Office & Business Phones
VTech Cordless Phones Official Site | Best Home Office & Business Phones










Insert the screws into the holes and tighten the screws until only 1/4 inch of the screws are exposed.
Place the baby unit on the wall mount bracket, and then slide it forward until it locks into place. Align the holes on the wall mount bracket with the screws on the wall, and slide the wall mount bracket down until it locks into place.



















