NA-11UT Series Service manual
JAM CLEARANCE
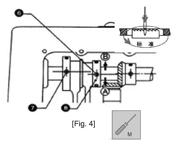
1-1 Needle Bar Jam

- Loosen the screw 1 for the face plate and disassemble the fact plate from the arm.

- Loosen the fixing screw 2 for the needle and disassemble the needle from the needle bar.

- Disassemble the needle bar thread guide 3 from the needle bar.

- Loosen the fixing screw 4 for the needle bar. Move the needle bar 6 up and down to check the jam.

- If the needle bar is stuck, remove the rubber cap 5 of the needle bar upper bushing.

- Disassemble the needle bar 6 in the direction of the upper bushing and replace it with a new SunStar needle bar.
- Make the assembly in the reverse order of the disassembly.
1-2 Thread Take-up Lever Clearance

- Loosen the screw 1 for the face plate and disassemble the face plate.

- Remove the rubber cap from the arm hole. Insert the driver to loosen the screw 4 for the thread take-up lever hinge pin by turning it full circle.
- Be cautious not to turn the cutting part of the screw for the thread take-up lever hinge pin.

- Slightly move the thread take-up 6 left and right to check the clearance.

- Manually turn the pulley 7 to check whether there is no jam and it operates smoothly.
- Make the assembly in the reverse order of the disassembly.

FEED TIME
2-1 Adjusting the Height of the Feed Dog

- Turn the dial 1 in the direction of the arrow and set it at the maximum stitch length.
- Max. stitch length:

- Lay down the machine and loosen the screw 2 for the feed lift shaft crank (ass’y)3.

- Set the height 4 of the feed at standard 1.2mm when the needle bar is at the highest point.

- Tightly tighten the screw for the feed lift shaft crank (ass,y)3.
2-2 The Up/Down Motion Adjusting Shaft Setting

- ‘Remove Rubber Plug I.

- ‘Turn the inner pressure foot into contact rith the needle plate.

- Adjust the CAM to 2-3m from the needle plate.

- LockingCan screw.

- The position of screw a shall be adjusted to the lowest position during installation.
2-3 The Presser Foot Setting

- Turn the presser foot lifter 1 in the direction of the arrow to lift the presser foot.

- Loosen the screw 2 for the main presser foot and disassemble the presser foot 3.

- Loosen the screw 4 for the presser bar holder. Set the height 5 of the auxiliary presser foot 6 at mm, and tightly tighten the screw for the presser bar holder.

- Insert the main presser foot 3 and tighten the screw 2 for presser foot.

- Turn the pulley to set the needle bar 8 at the highest point.

- Loosen the screw 9 for the auxiliary presser foot up/down motion crank.

- Adjust the height 14 of the auxiliary presser foot to be 3mm from the upside face of the needle plate.

- Adjust the height of the auxiliary presser foot at 3mm, and tighten the up/down crank screw 9.
2-4 The Feed Cam and Presser Foot Up/Down Motion Cam Setting

- Disassemble the top cover 1.
When the feeding distance dial is set at the maxima position, when the feeding tooth drops from the highest position, the center of the machine pinhole should be at the same level as the front 1-2 teeth of the feeding tooth on the surface of the needle plate
On the basis of the second fixed 4 of the upper shaft gear, the third fastening screw 5 center of the Tooth Lifting Cam will align the 4 center slightly downward. - Continue to turn the upper wheel counterclockwise, with the lifting Cam 8 second fastening screw 6 as the base, the cloth feed Cam’s third fastening screw 7 center, will align 6 center, slightly upward offset

2-5 Adjusting the Motion Range of the Feed Dog

- Lift the presser foot by turning the presser bar lifter 1.

- Turn the dial 2 in the direction of the arrow and set the stitch length at the maximum level ( 8mm).

- Loosen the screw 3 for the feed dog support base by turning it full circle.

- Manually turn the pulley. When the needle descends and the center of the thread hole of the needle meets the face of the needle plate, set the distance 4 between the back of the feed and the feed dog groove at 2mm.

- Tighten the screw 3 for the feed dog support crank.
2-6 Adjusting the Balance of the Feed Dog

- Loosen the fixing screw1 for the feed dog support shaft.

- When the feed dog is at the highest position, turn the feed dog turning shaft 2 to make the upside face of the feed dog horizontal with the needle plate.

- Adjust the upper face 3 of the needle plate and the upper face 4 of the feed dog to be horizontal.

- Tighten the fixing screw 5 for the feed dog support shaft.
THREAD TRIMMING TIME
3-1 The Thread Bar Highest/Lowest Stop Position Setting

- Press the switch 1 and check the highest/lowest stop position.
- Highest stop position: Press the switch once.
Lowest stop position: Press the switch twice in a row.
- Make sure the stop pin is enabled
- Whether or not the position of arrow 2 isdisplayed, shown as open.

- When it is moved in the direction of A, the stop timing is advanced.
When it is moved in the B direction, the stop timing is delayed.
- The highest stop position 3 of the needle bar should be 1mm below than the highest point 4 of the thread take-up lever.
3-2 Replacement of the Mes and the Setting

- Press the slide 1 in the direction of the arrow and disassemble it.
- Loosen the screw 2 and disassemble the needle plate.

- Loosen the screw 3 of the presser foot and disassemble the presser foot 4 .

- Press the thread trimming lever 5 in the direction of the arrow.

- Press the thread trimming lever. When the screw 6 for the moving mes is projected in the direction of the needle plate, loosen the screw 6 for the moving mes and replace it 7.

- When the thread take-up lever is at the lowest point, push the thread trimming solenoid con 8 into the direction of the housing 9. Slowly turn the pulley and check the overlapped portion of the moving mes and the fixed mes.

- The overlapped part 10 of the moving mes and the fixed mes should be 2mm wide when measured from the cutting part of the moving mes.

- When the moving mes 11 starts motion, and the blunt end of the moving mes is 0~0.3mm distant from the end of the fixed mes, the moving mes 11 should return to its original position.

- The overlapped part of the moving mes and the fixed mes can be adjusted by loosening the fixing screw 12 for the trimming lever and moving it either in the A or B direction and then tightly tighten the adjusting screw.
- A direction : The overlapped part gets bigger,
B direction : The overlapped park gets smaller.
- Loosen the hook holder screw 13 and disassemble the hook holder 14 .

- Loosen the screw 15 for the fixing mes 16 and replace it.

- Insert the hook holder 14 and tighten the hook holder screw 13.

- Loosen the nut 15 . Turn the tension adjusting screw 16 to adjust the tension and then tighten the nut.

- Use the two three-string nylon strands to conduct thread trimming test, and check whether the mes is properly returned to its original position.

3-3 The Thread Retainer Setting
Loosen the fixing screw 1 for the thread retainer.
- Move the thread retainer 2 up and down to make sure that the moving mes 3 and the hook 4 don t interfere with each other and then tightly tighten the fixing screw 1.

- The tread retainer 2 should not interfere with the hook 3. While the thread is trimmed, it should be located between the moving mes 4 and the hook without interrupting anything.
3-4 The Thread Trimming Cam Setting

- When the thread take-up lever is at the lowest point, push the thread trimming solenoid corn 1 in the housing 2 direction. Manually turn the pulley and check whether the moving messtarts moving when the thread take-up lever is 1mm above the lowest point.

- Before the thread take-up lever 4 reaches 1mm below the highest stop position 3, the moving mes should return to its original position.

- Loosen the screws 5 6 of the thread cam.

- When the distance7 between the thread trimming cam and the end of the roller hinge screw is 0.5~1mm and the thread take-up is at the lowest point, tighten the screw6 of the thread trimming cam at the center of the lower shaft.
- Make the setting according to 1).
When the thread trimming cam 8 is moved in the A direction, the motion timing of the moving mes is advanced. When it is moved in the Bdirection, the motion timing is delayed.
BAD SEWING
4-1 Hook Time

- Disassemble the slide plate 1 by pushing it in the direction of the arrow.
- Loosen the screw 2 for the needle plate and disassemble the needle plate.

- Loosen the screw 3 for the presser foot and disassemble the presser foot 4.

- Loosen the screw5 and disassemble the feed dog.

- Manually turn the pulley to locate the needle bar at the lowest point. Loosen the screw 6 of the needle bar.

- Move the needle bar® up and down, When the marking scale is moved to coincide with the lower edge of the shaft cover, DP x 17 is aligned with the first scale line, and DB x 1 is aligned with the third scale line to keep it consistent.

- Loosen the screw 11 (2EA) for the hook.

- Set the distance 14 between the needle and the hook point at 0.05~0.1mm.

- Tightly tighten the screw 10 (2EA) for the hook and auxiliary screw11.
4-2 Placing the Upper Thread.

- The upper thread is placed following the order below: Place the thread take-up lever at the highest point and the thread guide with three holes
Sub upper thread tension control device
Thread tension control device
Thread guide plate
Arm thread guide
Thread take up lever
Thread guide for the face plate
Upper thread oil felt case
Needle bar thread guide
Needle.
- Make the thread 1 left at 40mm after passing the needle and cut the thread longer than 40mm.
4-3 Adjusting the Tension of the Upper Thread

- When the adjusting nut 1 of the thread tension control device is turned clockwise, the upper thread tension gets stronger. When it is turned counter-clockwise, the upper thread tension gets weaker.

- Insert the driver into the groove 2of the thread tension control device shaft and turn it clockwise and then the tension of the thread take-up lever string 3 gets stronger. When it turned counter-clockwise, the tension gets weaker.

- When the tension adjusting nut4 of the sub upper thread tension control device is turned clockwise, the remaining thread gets shorter. When it is turned counter-clockwise, the remaining thread gets longer.
4-4 Adjusting the Tension of the Presser Foot

- Loosen the nut 1 and turn the screw 2for the presser foot to adjust the pressure of the presser foot.

- When the screw 2 is turned clockwise, the pressure of the main presser foot 3 gets stronger. When it is turned counter-clockwise, the pressure gets weaker.

- Loosen the nut 4 for the pressure adjusting screw and turn the pressure adjusting screw 5to adjust the pressure of the sub presser foot.

- When the pressure adjusting screw 5 is turned clockwise, the pressure of the sub presser foot 7 gets stronger. When it is turned counter-clockwise, the pressure gets weaker.
- Use the sub pressure adjusting screw 6 when delicately adjusting the pressure of the sub presser foot 7.
4-5 Adjusting the Tension of the Lower Thread

- Push the bobbin case removal lever 1 in the arrow direction and disassemble the bobbin case.

- When removing or placing back the bobbin case, make sure that it doesn’t negatively affect the lever 1.

- Turn the lower thread tension adjusting screw 2 clockwise, and the lower thread tension gets stronger. When it is turned counter- clockwise, the lower thread tension gets weaker.

- Normally, about 30~40mm long thread 3 is projected from the bobbin case when the bobbin case is inserted. Make sure the thread doesn’t enter into the hook.
NOISE
5-1 Upper Shaft Collar Clearance

- Hold the pulley 1 by hand and slightly shake it in the direction of the arrows to check where there is clearance in the upper shaft.

- If there is clearance in the upper shaft, disassemble the top cover 2.

- Loosen the screw 4 of the upper shaft collar 3by turning it full circle.

- Pull the pulley 1 in the direction of the arrow and put the upper shaft collar 3 closely to the bushing and then tighten the screw 4of the upper shaft collar.
- Tighten the first screw from the revolving direction of the upper shaft and then the second screw.

- Turn the pulley 1 and check whether there is clearance or jam.
5-2 Standing Shaft Clearance

- Disassemble the rear cover 1.

- Slightly move the upright shaft upper gear 2 up and down, and check the clearance of the upright shaft.

- If it is confirmed that there is clearance in the upright shaft, loosen the screw 3 of the upright shaft upper gear by turning it full circle.
- Make sure that the first screw which is fixed to the cutting part of the standing shaft is not turned.

- Lay down the bed and push up the upright shaft lower gear 4.

- Place the upright shaft upper gear 2 close to the bushing. Tighten he first screw from the revolving direction of the upright shaft cutting part and then the second screw.

- Manually turn the pulley 5 and check whether there is clearance or jam.
5-3 Lower Shaft Clearance

- Hold the lower shaft and slightly move it in the arrow direction to check the clearance.

- If there is clearance in the lower shaft, loosen the lower shaft collar screw 2 .

- Place the lower shaft gear 3 toward the lower shaft rear bushing 4

- Place the lower shaft collar 5 close to the rear bushing and then tighten the lower shaft collar screw 2.
- Check whether there is clearance or jam.
OIL SUPPLY
6-1 Oil Supply

- Loosen the screw 1 of the oil fan. Remove the polluted oil or foreign materials and tightly tighten the screw.

- Fill the original SunStar oil up to the HIGH mark3.
- If the oil volume is below the LOW mark 2, it can cause machine problems.

- If the sewing machine is left unused for long time, please disassemble the face plate.
- Supply two to three drops of oil to the thread take-up lever hinge plate connection part 4, the needle bar 5 and the presser bar 6.

- Make a test sewing at the speed of 2000spm for 10 minutes and check whether oil is sprayed to the oil window.
6-2 Adjusting the Oil Supply Volume for the Thread Take-up

- Disassemble the face plate.

- Add oil at 1
6-3 Adjusting the Oil Supply to the Hook

- Lay down the arm bed toward the hinge.
- Turn the oil supply adjusting screw 1 clockwise and the oil supply volume to the hook increases.

- Turn the oil supply adjusting screw 1 counter-clockwise and the oil supply volume to the hook decreases.

- Place a test paper 2 at 10mm away from the hook. Conduct a test sewing at the speed of 2000SPM for ten seconds and check the oil volume supplied to the hook.

- The standard oil supply volume is 10 oil drops on the test paper 2.
SOLENOID
7- 1 Thread Trimming Solenoid

- The motion range 1 of the thread trimming solenoid is 4~5mm.

- Loosen and turn the nut 2 . When the nut is moved in the A direction, the motion range gets bigger. When it is moved in the B direction, the motion range gets smaller.

- Set the thread trimming solenoid motion range 1 at 4~5mm and tighten the nut 2.

- Loosen the screw 3 for the thread trimming solenoid bracket.

- Manually move the thread trimming solenoid corn 4 back and forth and find the place where it can operate most smoothly.

- Loosen the screw 5 and push the solenoid corn 6in the direction of the arrow. Push the solenoid pin7 in the direction of the solenoid and then tighten the screw 5.
ADJUSTING THE FORWARD/BACKWARD STITCH LENGTH
8-1 Adjusting the Delicate Adjusting Shaft

- Loosen the screws and disassemble the bartacking solenoid cover.

- Loosen the screw A of feed adjusting shaft by turning it full circle.

- Adjusting eccentric adjustment pin B with a wrench up and down rotation.

- Place the test paper inside the presser foot and make the forward sewing A and backward sewing B to check whether the forward and backward sewing have identical stitch length.
























When the feeding distance dial is set at the maxima position, when the feeding tooth drops from the highest position, the center of the machine pinhole should be at the same level as the front 1-2 teeth of the feeding tooth on the surface of the needle plate
On the basis of the second fixed 4 of the upper shaft gear, the third fastening screw 5 center of the Tooth Lifting Cam will align the 4 center slightly downward.























Loosen the fixing screw 1 for the thread retainer.






























































