Sewing machine for professional use
TL-15
INSTRUCTION MANUAL
TL-2010Q Portable Sewing Machine
IMPORTANT:
Read all safety regulations carefully and understand them before using your sewing machine.
Retain this instruction manual for future reference.
“IMPORTANT SAFETY INSTRUCTIONS”
When using an electrical appliance, basic safety precautions should always be followed, including the following: Read all instructions before using this sewing machine.
“DANGER ___ To reduce the risk of electric shock:”
- The appliance should never be left unattended when plugged in.
- Always unplug this appliance from the electric outlet immediately after using and before cleaning.
“WARNING ___ To reduce the risk of burns, fire, electric shock, or injury to persons:”
- Do not use the appliance as a toy. Caution is advised when the appliance is used by children, or near children. This sewing machine can be used by children aged from 8 years and above and persons with reduced physical, sensory or mental capabilities or lack of experience and knowl- edge if they have been given supervision or instruction concerning use of the sewing machine in a safe way and understand the hazards involved. Children shall not play with the sewing machine. Cleaning and user maintenance shall not be made by children without supervision.
- Use this appliance only for its intended use as described in this manual. Use only attachments recommended by the manufacturer as contained in this manual.
- Never operate this appliance if it has a damaged cord or plug, if it is not working properly, if it has been dropped or damaged, or dropped into water. Return the appliance to the nearest au- thorized dealer or service center for examination, repair, electrical or mechanical adjustment.
- Never operate the appliance with any air openings blocked. Keep ventilation openings of the sewing machine and foot control free from the accumulation of lint, dust, and loose cloth.
- Keep fingers away from all moving parts. Special care is required around the sewing machine needle.
- Always use the proper stitch plate. The wrong plate can cause the needle to break.
- Do not use bent needles.
- Do not pull or push fabric while stitching. It may deflect the needle causing it to break.
- Do not carry out sewing with a marking pin stuck in the material since doing so can cause knife/ needle breakage. In addition, do not attempt to cut anything other than fabric and thread with the upper/lower knives.
- Switch the sewing machine off “O” when making any adjustments in the needle area, such as threading needle, changing needle, threading looper, or changing presser foot and the like.
- Always unplug the machine from the electrical outlet when removing covers, when covers are opened to thread the loopers, when lubricating or when making any other user servicing adjustments mentioned in the instruction manual.
- Never drop or insert any object into any opening.
- Do not use outdoors.
- Do not operate where aerosol (spray) products are being used or where oxygen is being administered.
- To disconnect, turn all controls to the off “O” position, then remove plug from outlet.
- Do not unplug by pulling on cord. To unplug, grasp the plug, not the cord.
- Basically, the machine should be disconnected from the electricity supply when not in use.
- If the supply cord is damaged, it must be replaced by the manufacturer, its service agent or similarly qualified persons in order to avoid a hazard.
- (Except USA/Canada) This machine is provided with double insulation.
Use only identical replacement parts. See instructions for servicing Double-Insulated machine.
“SERVICING DOUBLE-INSULATED PRODUCTS
(Except USA / Canada)”
In a double-insulated product, two systems of insulation are provided instead of grounding. No grounding means is provided on a double-insulated product nor should a means for grounding be added to the product. Servicing a double-insulated product requires extreme care and knowledge of the system and should only be done by qualified service personnel. Replacement parts for a double-insulated product must be identical to those parts in the product. A double-insulated product is marked with the words DOUBLE INSULATION or DOUBLE INSULATED.
The symbol
may also be marked on the product.
“SAVE THESE INSTRUCTIONS”
“This sewing machine is intended for household use only.”
Congratulations on your purchase of a JUKI sewing machine.
Please be sure to read safety precautions in “To use the sewing machine safely” in the Instruction Manual before use to fully understand the functions and operating procedures of the sewing machine so as to use the sewing machine for a long time.
After you have read the Instruction Manual, please be sure to keep it together with the warranty so that you can read it whenever necessary.
The warranty does not apply to any failures under conditions other than normal state use (failures that occur in the case the sewing machine is used without following the Instruction Manual or precautions given on the labels attached to the main body), and consumable parts (such as needles and knives). For warranty information, check the contents of the separate warranty.
To use the sewing machine safely
Marks and pictographs included in the Instruction Manual and shown on the sewing machine are used so as to ensure safe operation of the sewing machine and to prevent possible risk of injury to the user and other people.
Warning marks are used for different purposes as described below.
| Indicates that there is a possible risk of death or serious injury if this mark is ignored and the sewing machine is used in a wrong manner. | |
| Indicates the operation, etc. which can cause a possible risk of personal injury and/or physical damage if this mark is ignored and the sewing machine is used in a wrong manner. |
Pictographs mean the following:
| There is a risk of fire | hands, etc. | specified | |
|
WARNING
For the combination of the material and the thread and needle, in particular, refer to the explanation table in “Replacement of the needle”.
If the needle or thread does not match the material used such as in the case that an extra heavyweight material (e.g., denim) is sewn with a thin needle (#11 or higher), the needle can break resulting in an unexpected personal injury.
Other precautions
- Do not put the sewing machine under the direct sunlight or in a humid place.

- Do not wipe the sewing machine with solvent such as thinner.
When the sewing machine is soiled, put a small quantity of neutral detergent on a piece of soft cloth and carefully wipe off the sewing machine with it.
Be aware that the following state can take place since the sewing machine incorporates semi-conductor electronic parts and precise electronic circuits.
- Be sure to use the sewing machine in the temperature range from 5ºC to 40ºC.
If the temperature is excessively low, the machine can fail to operate normally.
- Safety device
In the case the sewing machine continuously performs sewing under the following conditions, the safety device will automatically kick in to stop the sewing machine to prevent the sewing machine from being abnormally hot.
・ If the sewing machine continuously performs sewing at a low speed for an extended period of time, or under a hot environment:
→ The safety device automatically returns to its normal state approximately 30 minutes after it has stopped the sewing machine. Then, you can normally use the sewing machine again.
・ If the sewing machine continuously performs sewing while the motor is abnormally overloaded such as in the case thread entanglement has occurred:
→ Remove thread and cloth chip entangling in the bobbin case, hook, etc.
* The operating temperature of the sewing machine is between 5ºC and 40ºC. Do not use the sewing machine under the direct sunlight, near the burning things such as a stove and candle, or in a humid place. By so doing, the temperature in the interior portion of the sewing machine can rise or the coating of the power cord can melt, causing fire or electrical shock.
Specifications
| Description | Specification |
| Sewing speed | Max. 1,500 sti/min |
| Stitch length | Max. 6 mm |
| Needle bar stroke | 32 mm |
| Lift of presser foot | 7 mm / 9 mm (12 mm by knee lifter) |
| Needle | HAx1 #11, #14 |
| Lubricating oil | New Defrix Oil No. 1 or equivalent |
| Dimensions of sewing machine | 45.2W x 35.0H x 21.9L (cm) |
| Size of bed | 43W x 17.8L (Auxiliary table: 59W x 27.7L) (cm) |
| Weight of sewing machine | 11.5 kg |
| Foot control model No. | JC-001 |
Accessories

| 1. Foot controller 2. Foot switch stopper 3. Auxiliary table 4. Exclusive screwdriver 5. Screwdriver (small) 6. Cleaning brush 7. Bobbins (4pcs.) 8. Oiler 9. Needles (HAx1) | 10. Spool cap 11. Sewing machine cover 12. Power cord 13. Knee lifter lever 14. Zipper attaching foot 15. Upper feed presser foot 16. Quilt guide for even feed foot 17. Quilting foot front open toe 18. 1/4” Quilting foot |
Principal Parts

| 1. Presser foot pressure regulator 2. Sub-tension knob 3. Indicator of the presser foot pressure regulator 4. Face plate cover 5. Manual thread cutter 6. Thread tension dial 7. Slide plate 8. Throat plate 9. Bobbin thread winding shaft 10. Bobbin presser 11. Stitch length adjusting dial 12. Automatic thread trimming switch 13. Speed control knob 14. Needle up/down switch | 15. Reverse feed stitch lever 16. Drop-feed knob 17. Hole for knee lifter lever setting 18. Anti vibration cone 19. Handwheel 20. Inlet of electric power cord 21. Power switch 22. Inlet of the controller 23. Support rod 24. Handle 25. Bobbin winder guide 26. Presser foot lifting lever 27. Spool pin |

- Needle bar thread hook
- Screw in the presser foot
- Presser foot
- Needle threader lever
- Needle clamp
- Needle
- Feed dog
- Sewing guide lines
Name and Function of each component
■ Installing the auxiliary table
- Open legs of auxiliary table until they stop securely at the stopping position.

- Assemble auxiliary table to sewing machine body.

- Adjust the height of legs so that the top surface of auxiliary table is the same height of sewing machine body.

- Open the cover of the auxiliary table when replacing the bobbin thread.

■ Installing the foot controller

- Insert the electric power cord plug into the corresponding inlet.
- Insert the foot controller plug into the corresponding inlet.
- Insert the power plug into the wall outlet.
CAUTION:
Be sure to turn OFF the power switch before plugging/unplugging the controller.
CAUTION:
Perform these following steps when you are not using your sewing machine.
- Be sure to turn OFF the power switch.
- Be sure to remove the power plug from the wall outlet.
- Do not place a thing on the foot controller.
WARNING (For U.S.A., Canada only)
This appliance has a polarized plug (one blade wider than the other). To reduce the risk of electric shock, this plug is intended to fit in a polarized outlet only one way. If the plug does not fit fully in the outlet, reverse the plug. If it still does not fit, contact a qualified electrician to install the proper outlet. Do not modify the plug in any way.
■ Attaching the knee lifter lever
The knee lifter lever allows the operator to lift/lower the presser foot without releasing his/her hand away from the material being sewn. (Lift of the presser foot: max. 12mm)
The knee lifter lever can be stored in the reverse side of the auxiliary table.

Name and Function of each component
■ Power switch
Turn ON when it is pressed on your side.
Turn OFF when it is pressed on the other side.

■ Speed control knob
Maximum sewing speed can be freely set by the speed controller.

■ Manual thread cutter
Lift the needle and the presser foot after the completion of sewing, draw out the material, and cut the thread with the manual thread cutter.

■ Automatic thread trimming switch/Thread trimming foot switch
When the sewing is completed, both the needle and the bobbin threads can be simultaneously trimmed. You can re-start sewing even if the bobbin thread does not appear on the throat plate.
Use either one of the two switches when trimming thread.

“Thread trimming foot switch”
When the heel side of the foot controller is pressed, the threads are trimmed.

■ Stitch length adjusting dial
Stitch length for normal stitching is 2 to 2.5 mm.
(Adjusting range: 0 to 6 mm)

■ Needle up/down switch
- Every time the switch is pressed, the needle goes up or comes down.
This switch can be used when using needle threader or dropping the needle on the material. - If the switch is continuously pressed, a needle will move slowly.
Please use when sewing end of fabrics.

■ Reverse feed stitch lever
The seam does not fray when the reverse feed stitching is performed at the start or the end of sewing.

■ Presser foot pressure regulator and its indicator
Turning the presser foot pressure regulator adjusts the pressure of the presser foot.
By turning the regulator pointer of the indicator goes up or comes down.

■ Drop-feed knob
Set the knob to “FEED” for normal stitching.
Set the knob to “NO FEED” for free embroidery stitching.

■ Needle threader lever (Automatic needle threader)
Lower the threading lever, pass the needle thread through the lever and pass the thread through the needle’s eye. (This lever can be used for the needle #11- #16.)
Winding the bobbin
CAUTION: Turn OFF the power switch when opening the slide plate.
Installing the thread guide

- Raise the support rod fully, turning slightly until the positioning latches engage.
- Set the large spool over the anti vibration cone, or
- Set the household-type thread onto the spool pin and then insert a spool cap in place.
- Pass the thread coming from the spool on the thread guide pin (rod) just above the spool.

- Take out the bobbin case.
Bring up the needle. Opening the slide plate, take out the bobbin case.
- Take out the bobbin from the bobbin case.
Snap in the latch to let the bobbin come out of the bobbin case.
- Thread the bobbin winder guide.
If the thread slips out of the bobbin winder guide, pass it through the hole located under the bobbin winder guide.
- Installing the bobbin.
❶ Pass the thread through the hole of the bobbin.
❷ Adjust the convex portion of the bobbin thread winding shaft to the concave portion of the bobbin to set the bobbin.
❸ Press the bobbin presser.
- Start winding the bobbin.

- Upon completion of winding the bobbin.
Return the bobbin presser on your side. Trim the excessive thread and take out the bobbin.
- Loading the bobbin into the bobbin case.
Snap in the bobbin case latch, and put the bobbin into the bobbin case so that the bobbin runs clock- wise.
Passing the thread through the slit of the bobbin case, continue passing it under the thread tension spring, and pull out the thread open end about 10cm from the bobbin case.
- Set the bobbin in the sewing machine.
Close the slide plate.
Insert the bobbin case fully into the hook, and close the bobbin case latch.
■ Adjusting the bobbin winder guide

Threading the machine
CAUTION: Turn OFF the power switch when threading or passing thread.

- Pass the thread through the thread guide ❶ .
When using a thread such as nylon thread which easily slips out of the thread path, thread the machine head as illustrated in the circled figure.
- Thread the machine head in numerical order, ❷ to ❽ .


- Pass the thread through the thread guides ❾ and .

■ Automatic needle threader
- Lower the presser foot and lower needle threader lever.
Bring the needle to the top position and lower the threading lever.
- Pass the needle thread through the hook.
Pass the needle thread from the opposite side to this side, and move the thread on the right-hand side until it comes in contact with the guide.
- Take your finger off the needle threader lever.
When the finger is taken off, thread is caught in the hook and passed through the needle’s eye.
- Draw out the needle thread.
Draw out the passed thread about 10 cm from the needle’s eye.
■ Drawing up the bobbin thread
- Hold the end of the needle thread with your left hand.

- Press the needle up/down switch.
Normally press two times, to make needle move down and then up.
- Bobbin thread is drawn out.

- Draw both the needle thread and bobbin thread for about 10cm.
Bring both the needle and the bobbin threads under the presser foot, and draw them uniformly from the far end of the presser foot.
Test sewing
CAUTION: Do not place anything on the foot controller which is set to the sewing machine.
If you start sewing while the thread take-up is engaged in its ascending motion, the needle thread may slip out of the needle’s eye.
- Place the material under the presser foot, and lower the presser foot.

- Lower the needle. Turn the handwheel toward you or press the needle up/down switch to drop the needle on the material.

- Start to run the sewing machine.
Do not pull the material by hand while it is being sewn.
- When the sewing is finished, stop the sewing machine and actuate the thread trimmer.
Press the automatic thread trimming switch or depress the thread trimming foot switch. When actuating the automatic thread trimmer, the needle will stop in its highest position after trimming. (If you use a thread as thick as count #20 or more or a special-kind of thread, manually cut the thread using a pair of scissors.)
* After the thread trimming, you can re-start sewing even if the bobbin thread does not appear on the throat plate.
- Raise the presser foot, and take out the finished material.

■ To turn OFF the thread trimming foot switch

■ Reverse feed stitch (lock stitch)
Push down the reverse feed stitch lever to sew reverse stitches over the forward stitches for about 1 cm.

■ When making a knot on the reverse side of the material
- When the sewing is finished, raise the needle and the presser foot. Then draw both the needle and the bobbin threads away from you by approximately 10 cm together with material, after lowering the presser foot. (The needle and the bobbin threads are simultaneously trimmed.)

- Draw the needle thread onto the reverse side of the material. Fasten the needle thread and the Material (reverse side) bobbin thread together. Then trim the both threads near the knot.

Adjusting the thread tension
CAUTION: Turn OFF the power switch when taking out the bobbin case.
The standard bobbin thread tension is such that the bobbin case goes down slowly when you hold the open end of the bobbin thread and shake it as shown at right. (The count of the thread is #50.)
* Adjust the needle thread tension in accordance with the bobbin thread tension.
* The bobbin case is an exclusive JUKI part. Please consult the JUKI dealers when you purchase it.

■ Proper thread tension
Improperly adjusted thread tension may cause puckering on materials, inferior stitches, or thread breakage.

The needle thread tension is too low

The needle thread tension is too high

■ Tabulated relationship between material, thread and needle
| Material | Thread | Needle (HAx1) | |
| Light-weight materials | Nylon Cupro Georgette | Synthetic thread #80-#90 | No.9-11 |
| Smooth Tricot | |||
| Medium-weight materials | Broadcloth Gingham | Cotton thread #60-#80 Synthetic thread #80-#90 | No.11-14 |
| Light-weight jersey Synthetic cloth | Synthetic thread #50-#60 | ||
| Flannel Wool | Synthetic thread #50-#60 Silk yarn #50 | ||
| Heavy-weight materials | Denim | Synthetic thread #20-#50 Cotton thread #20-#50 | No.14-18 |
| Canvas | Synthetic thread #30-#50 | ||
| Tweed | Synthetic thread #50 Silk yarn #50 | ||
| Artificial leather | Synthetic thread #20-#30 |
■ Topstitching
With this sewing machine, you can make beautiful topstitches with stitch length up to 6 mm.
You can use various threads ranging from the standard run stitching thread to #8 topstitching thread. Change the needle according to the thread used (see the table at right).
| Count of thread | Needle Size |
| #80-50 | No.11 |
| #60-50 | No.14(11) |
| #50-30 | No.16 |
| #20-8 | No.18 |
CAUTION: Turn OFF the power switch when replacing the needle.
■ Attaching the needle

- Turn off power.
- Lower the presser foot.
- Move the needle bar up to the highest position of its stroke.
- With the flat face of the new needle facing to the right, insert the new needle into the needle bar until it can go no further. Then tighten the needle clamp screw.
Figure as observed from the front

* The needle to be used is HAx1.
■ Checking the needle
Check the needle for its straightness occasionally. Any defective needle would cause needle breakage, stitch skipping, thread breakage or damage to materials.

Attaching a zipper
CAUTION: Turn OFF the power switch when replacing the presser foot.
- Install a zipper attaching foot.
Turn OFF power. Loosen the screw in the presser foot, and attach the zipper attaching foot from the far side of the presser foot.
- Turn the presser position selector screw to move the presser foot until the correct needle entry point is obtained.
When sewing the left-hand side of the zipper, move the presser to the left. When sewing the right-hand side of it, move the presser to the right.
■ Changing the sewing direction
- Keep the needle at its down position.
- Lift the presser foot, and turn the material in a desired direction

Upper feed presser foot
CAUTION: Turn OFF the power switch when replacing the presser foot.
Generally, this presser foot is used for hard-to-feed or for difficult-to-feed materials such as velvet, jersey, vinyl, cloth artificial leather, leather, etc. This smoothly feeds the material and prevents the material from slipping.
- Turn off power and remove the presser foot.

- Install the upper feed presser foot. Fit forked portion of the actuating lever to the needle clamp, insert the installing portion into the presser bar, and securely tighten the screw in the presser foot.
Once presser foot is installed, rotate handwheel by hand in sewing direction to confirm fork position correctly then turn power on.
* Turn the presser foot pressure regulator to set the presser foot pressure to “low”.
(Set the pressure to “lowest” when sewing the velvet material.)
Use the sewing machine at medium speed.
Quilt guide for even feed foot
CAUTION: Turn OFF the power switch when replacing the presser foot.
■ Quilting with the quilt guide for even feed foot
Stitches can be sewn at regular intervals using the walking foot.
* Use the sewing machine at medium speed.
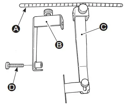
- Check the relevant parts.
A Stitch guide bar × 1
B Stitch guide base × 1
C Stitch guide × 1
D Screw × 1
- Assembling and installing the stitch ruler.
Remove walking foot setscrew which fixes the walking foot. Aligning the mounting sections of the stitch ruler and walking foot with each other, securely tighten the walking foot setscrew D.
(Example: In the case of guiding the material so that it is kept 1 cm away from the needle position)
| In the case of setting the guide on the right side of needle ① Aligning the leftmost scale mark on guide bar A with the left edge of guide base B, tighten setscrew ❸ . ② Aligning guide C with the first scale mark from the right edge of guide base B, tighten setscrew ❹ . The distance from the needle position to the guide is 1 cm | In the case of setting the guide on the left side of needle ① Aligning the rightmost scale mark on guide bar A with the right edge of guide base B, tighten setscrew ❸ . ② Aligning guide C with the second scale mark from the left edge of guide base B, tighten setscrew ❹ . The distance from the needle position to the guide is 1 cm. |
Remove setscrew ❶ . The stitch ruler can be used on both the right and left sides by changing the mounting position of guide section ❷ from right to left or left to right. | |
3. Adjusting the guide position.
Adjust the guide position referring to the needle position and positional relation between the bar scale and guide. Securely tighten the setscrew.
4. Carry our sewing using the guide as reference.
Stitches can be sewn while keeping the regular stitch intervals.

Quilting foot
CAUTION: Turn OFF the power switch when replacing the presser foot.
This quilting foot is convenient for free motion quilting, quilting along with the pattern, free-hand embroidery, etc.
* Do not run the sewing machine idle when the quilting foot is kept at its upper position.

- Turn off power. Install the quilting foot. Put the plate on the needle clamp screw, insert the installing portion into the presser bar, and securely tighten the screw in the presser foot.

- Position Feed Dog in lower position.

- Position stitch length adjusting dial ”0”. Rotate presser foot pressure regulator until blue bar in pressure indication window is at top.

- Lower the foot and start sewing.

Maintenance and lubrication
CAUTION:
Be sure turn OFF the power to the sewing machine and disconnect the plug from the wall outlet when cleaning or lubricating the sewing machine.
■ Cleaning the feed dog and the hook
- Turn off power. Remove the needle, the presser foot and the throat plate. Then clean up the feed dog and the hook components using a cleaning brush.

- The cover of the bottom plate is designed to open when cleaning the hook components or when a bobbin is dropped mistakenly.

■ Lubricating the machine
Lubricate the machine after removing the bobbin case.
- Apply a few drops of oil to each of the arrow points shown in the right.
- Use the machine oil supplied with the sewing machine, or New Defrix Oil No. 1 or equivalent.
- Lubricate the machine once a day if you use it every day.
- Apply a larger quantity of oil (approximately 5 to 7 drops) to the relevant points of sewing machine after unpacking or when using the sewing machine after an extended period of disuse (approximately two months). Do not apply an excessive quantity oil to the needle bar and the section around the hook with particular care since oil can drop on the material at the time of lubrication.
- Be sure to always carry out test sewing after lubricating the sewing machine.
Precautions to be taken when handling oil
* In the event the oil gets in the eye or adheres on skin, immediately wash it off in order to pre- vent irritation and rash.
* If swallowed accidentally, immediately seek for medical advice in order to prevent diarrhea and vomiting.
* Keep the oil away from children.
* Oil disposal is obliged by legislation. Dispose of the oil properly in compliance with the relevant legislation.
Introduction of optional parts
CAUTION: Turn OFF the power switch when replacing the presser foot.
■ Presser foot and throat plate for light-weight materials

■ Throat plate for heavy-weight materials
■ Quilting foot side open toe
This quilting foot is useful for free-motion quilting when the sewing machine is placed longitudinally relative to the operator.

■ Echo quilting foot
This quilting foot is useful for free-motion echo quilting.

■ 1/4” Quilting foot (for ruler)
This quilting foot is useful for free-motion quilting while guiding the material along with the ruler.

■ 1/5” Quilting foot
This type is suited for free-motion quilting in general.

* Please consult the JUKI dealer when you purchase the optional parts.
CAUTION: Turn OFF the power switch when replacing the presser foot.
■ Hemming foot
- Install the hemming foot.
Turn OFF power. Loosen the screw in the presser bar, and attach the hemming foot.
- Cut the corner of the material.
Trim the corner part of the material to help make the hemming foot hem the material edge.
- Fit the trimmed material edge into the vortex groove in the hemming foot.
Fit the material into the vortex groove in the hemming foot until the descended needle reaches the material, and lower the hemming holder.
- Hem the material edge while helping the material to go into the groove by hand.
Draw the needle and bobbin thread ends with your left hand, turn the handwheel by 3 or 4 rotations until you are sure that the material edge is rolled into the groove. Then hem the material edge while pinching the material edge with your right-hand thumb and index finger to make sure that the appropriate amount of material is fed into the hemming foot with consistency.
Introduction of optional parts
CAUTION: Turn OFF the power switch when replacing the presser foot.
■ Compensating presser foot
It is convenient to sew material end straight.
- Install the compensating presser foot.

- Fit material end to guide and sew.

CAUTION: Turn OFF the power switch when replacing the presser foot.
■ 1/4” (7 mm) presser foot
Guide for 1/4” (7mm) seam allowance for piecing is provided.
- Install the 1/4” (7mm) presser foot.
Loosely attach presser foot setscrew. Then, attach the 1/4”(7mm) presser foot and securely tighten the setscrew.
- Sew the material while aligning its edge with the guide.
Stitches can be sewn at the position which is 1/4” (7mm) away from the guide.
Troubles and Corrective Measures
If sewing difficulties occur, make sure the instructions are correctly followed. If a problem still exists, the reminders below help to solve it.
| Troubles | Case | Corrective measures | Page |
| Stitches are skipped. | 1. The needle is bent or the needle point is blunted. 2. The needle has not been attached to the needle bar properly. | • Replace the needle. • Attach the needle properly to the needle bar. | 22 22 |
| Needle thread breaks. | 1. The machine head has been threaded incorrectly. 2. The needle thread tension is too high or low. 3. The needle is bent or the needle point is blunted. 4. The needle is not suited to the thread used. | • Correct the threading. • Properly adjust the thread tension. • Replace the needle. • Replace the needle by the one suited to the thread used. | 15-17 20 22 21 |
| The bobbin thread breaks. | 1. The bobbin thread tension is too high. 2. The rubbing of the bobbin case spring has produced a slot. 3. Scratches on the needle hole in the throat plate. | • Decrease the tension. • Replace the bobbin case. • Replace the throat plate. | 20 – – |
| The needle breaks. | 1. The needle is bent or has been intalled improperly. 2. The needle hits the throat plate or the presser foot. | • Replace or correctly attach the needle. • Correctly position the needle, throat plate, or presser foot. | 22 – |
| Stitches are puckered. | 1. The presser foot applies too much pressure to the material. 2. The tension of the needle thread is not balanced with that of the bobbin thread. 3. When the combination of the needle and the thread is improper. 4. The needle is too thick for the material. | • Decrease the pressure of the presser foot. • Balance the tension. • Properly correct the combination of needle and the thread. • Replace the needle by the one suited to the material. | 11 20 21 21 |
| Stitch performance is bad. | 1. The tension of the needle thread is not balanced with that of the bobbin thread. | • Balance the tensions. | 20 |
| The rotation noise is too heavy or too high. | 1. Dust accumulates in the feed dog. 2. The oil in the machine has run out due to a long period of usage. 3. The oil other than the exclusive sewing machine oil is used. 4. Thread wastes accumulate in the hook. | • Carry out maintenance of your sewing machine. • Carry out maintenance of your sewing machine. • Apply the proper sewing machine oil. • Clean up the sewing machine. | 28 28 28 28 |
| The handwheel does not rotate smoothly or does not turn. | 1. The thread is entangled and caught in the hook. | • Lubricate the hook, strongly turn the handwheel clockwise and counterclockwise several times, then remove the thread caught in the hook. | – |
| The material cannot be fed. | 1. The stitch length is set “0”. 2. Drop-feed knob is set to “NOT FEED”. 3. The pressure of the presser foot is too low. | • Set the stitch length to an appropriate amount. • Set the drop-feed knob to “FEED”. • Turn the presser foot pressure regulator to in crease the pressure properly. | 10 11 11 |
| Needle threading cannot be performed. | 1. When the needle has not been raised. 2. When the needle has not been inserted until it can go no further at the time of attaching the needle. 3. When the sewing machine has been turned with the needle threader lever lowered (during threading) by mistake. | • Turn the handwheel or press the needle up/down switch to bring the needle to its highest position. • Attach the needle properly. • Slightly turn the handwheel by hand to the opposite side (opposite to the direction at the time of sewing). | 10 22 – |
JUKI CORPORATION
2-11-1, TSURUMAKI, TAMA-SHI,
TOKYO, 206-8551, JAPAN
PHONE : (81)42-357-2341
FAX : (81)42-357-2379
Copyright © 2022 JUKI CORPORATION
All rights reserved throughout the world.
40268199-1
000622
Danger warning which is not
There is a risk of fire














Passing the thread through the slit of the bobbin case, continue passing it under the thread tension spring, and pull out the thread open end about 10cm from the bobbin case.























Once presser foot is installed, rotate handwheel by hand in sewing direction to confirm fork position correctly then turn power on.


Remove setscrew ❶ . The stitch ruler can be used on both the right and left sides by changing the mounting position of guide section ❷ from right to left or left to right.




























