Dottie W38500 Wedge Anchors

Product Information: Wedge Anchors
Wedge Anchors are used to secure heavy equipment, machinery, and structural components to concrete surfaces. These anchors work by expanding within the concrete, creating a secure hold. The anchors are made of carbon or stainless steel and are available in different diameters and lengths to accommodate various applications.
Installation Instructions

- Use a rotary hammer drill in the percussion mode with the correct size carbide drill bit meeting the requirements of ANSI Standard B212-15 to drill the hole perpendicular to the concrete surface and to the required depth.

- Use a hand pump, compressed air, or vacuum to remove debris and dust from the drilling operation.

- If installation is through a fixture, position the fixture over the hole and install the anchor through the hole in the fixture. Using a hammer, drive the anchor into the hole insuring that it is installed to the minimum required embedment depth, hnom.

- Install the washer and nut on the projecting thread and tighten the nut to the required installation torque value, Tinst, using a torque wrench.
Installation Specifications
| Nominal Anchor Diameter (in.) | Anchor diameter (da) (in.) | Nominal drill bit diameter (dbit) (in.) | Minimum nominal embedment depth (hnom) (in.) | Minimum concrete thickness (hmin) (in.) | Installation torque (Tinst) (ft-lb) |
|---|---|---|---|---|---|
| 1/4 | 1/4 | 1/4 | 1-3/4 | 4 | 8 |
| 3/8 | 3/8 | 3/8 | 2-1/2 | 4 | 25 |
| 1/2 | 1/2 | 1/2 | 2-1/2 | 6 | 35 |
Note: The minimum hole depth (ho) varies based on the length of the anchor.
ID Marking on Threaded Stud Head
The length of the anchor can be determined by the ID marking on the threaded stud head. See the table below for more information.
| ID Marking | Length (in.) |
|---|---|
| A | Up to but not including 1-1/2 in. |
| B | Up to but not including 2 in. |
| C | Up to but not including 2-1/2 in. |
| D | Up to but not including 3 in. |
| E | Up to but not including 3-1/2 in. |
| F | Up to but not including 4 in. |
| G | Up to but not including 4-1/2 in. |
| H | Up to but not including 5 in. |
| I | Up to but not including 5-1/2 in. |

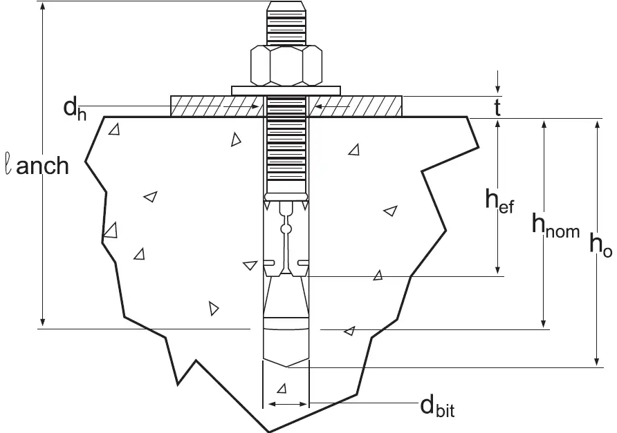
INSTALLATION SPECIFICATIONS | SYMBOL | UNITS | Nominal Anchor Diameter, in. | ||
| 1/4” | 3/8” | 1/2” | |||
| Anchor diameter | da (do) | in. | 1/4” | 3/8” | 1/2” |
| dh | in. | 5/16” | 7/16” | 9/16” | |
| Nominal drill bit diameter | dbit | in. | 1/4” | 3/8” | 1/2” |
| Minimum nominal embedment depth | hnom | in. | 1-3/4” | 2-1/2” | 2-1/2” |
| hef | in. | 1-1/2” | 2-1/4” | 2-1/4” | |
| Minimum hole depth | ho | in. | 2” | 2-3/4” | 2-3/4” |
| Installation torque | Tinst | ft-lb | 8 | 25 | 35 |
| Minimum concrete thickness | hmin | in. | 4” | 4” | 6” |
| Length Code Identification System | ||||||||||
| Length ID marking on threaded stud head | A | B | C | D | E | F | G | H | I | |
| Overall anchor length, lanch, (inches) | From | 1-1/2” | 2” | 2-1/2” | 3” | 3-1/2” | 4” | 4-1/2” | 5” | 5-1/2” |
| Up to but not including | 2” | 2-1/2” | 3” | 3-1/2” | 4” | 4-1/2” | 5” | 5-1/2” | 6” | |





















