
Desktop Monitor Stand DM3
Quick Start Guide
This quick start guide contains important information on the safe operation of the product. Read and follow the safety advice and instructions given. Retain the manual for future reference. If you pass the product on to others please include this manual.
Safety instructions
Intended use
This device is used to set up and align speaker boxes. Any other use or use under other operating conditions is considered to be improper and may result in personal injury or property damage. No liability will be assumed for damages resulting from improper use.
Danger for children
Ensures that plastic bags, packaging, etc. are disposed of properly and are not within reach of babies and young children. Choking hazard! Ensure that children do not detach any small parts from the product.
They could swallow the pieces and choke! Never let children unattended use electrical devices.
Where to use the product
Never use the product
- in conditions of extreme temperature or humidity
- in extremely dusty or dirty areas
- at locations where the unit can become wet
General handling
- To prevent damage, never use force when handling the product.
- Never immerse the product in water. Just wipe it with a clean dry cloth. Do not use liquid cleaners such as benzene, thinners or flammable cleaning agents.
Features
- The speaker box plate is height adjustable and allows adjusting the dispersion angle of the speaker
- Rubber feet for absorbing vibrations
- Suitable for speakers with 5″ speakers
Set-up
A) First make sure the scope of delivery is complete:
| 1) Rubber mat 2) Speaker plate 3) Support arm 4) Baseplate | 5) Hexagon bolt (4 ×) 6) Allen key 7) Cable clamp |
B) Position the base plate over the lower end of the support arm.
C) Fix the base plate with 2 × hexagon bolts at the lower end of the support arm. Tighten the screws with the Allen key.
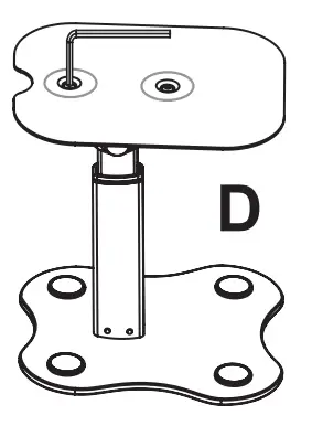
D) Position the speaker plate over the upper end of the support arm. Fix it with 2 × hexagon bolts at the upper end of the support arm. Tighten the screws with the Allen key.
E) Place the rubber mat on the speaker plate and clip the cable clamp to the support arm.
F) Place the speaker box on the speaker plate. Thread the speaker cable through the cable clamp and, if necessary, through the recess in the rear end of the speaker plate.
Adjustment and alignment
- Press the lock button and set the speaker plate to the desired height. The speaker box is in optimal position when the loudspeaker (s) are at the level of the user’s ears.

- If this can not be achieved, you can vary the angle of the speaker plate so that the speakers emit in the direction of the user’s ears.
- To do this, loosen the rotary knob of one of the stands and set the desired angle between ± 10 °. Tighten the knob again and proceed with the second stand accordingly. Both should have the same angle. In each case, orient yourself on the scale below the rotary knob.

- Place the stands with the speakers so that they form an equilateral triangle with the user and the speakers emit directly towards the user’s ears.

Technical specifications
| Height | 235 – 280 mm |
| Dimensions speaker plate (W × D) | 180 – 220 mm |
| Dimensions base plate (W × D) | 200 – 213 mm |
| Max. angle | ± 10 ° |
| Weight | 2.77 kg |
For the transport and protective packaging, environmentally friendly materials have been chosen that can be supplied to normal recycling. Ensure that plastic bags, packaging, etc. are properly disposed of. Do not just dispose of these materials with your normal household waste, but make sure that they are collected for recycling. Please follow the notes and markings on the packaging.
The plasticizer contained in the rubber feet of this product may possibly react with the coating of your parquet, linoleum, laminate, or PVC floor and after some time cause permanent dark stains. In case of doubt, do not put the rubber feet directly on the floor, but use felt-pad floor protectors or a carpet.
Thomann GmbH
· Hans-Thomann-Straße 1
· 96138 Burgebrach
· www.thomann.de
· [email protected]
DocID: 427138_10.11.2020


















