DMS-200 / MAINMAST SINGLE DISPLAY
DESKTOP MONITOR STAND
for 17 to 32 in. Screens
User Manual

Thank you for choosing Gabor.
Gabor’s sturdy Mainmast Single Display Desktop Monitor Stand is a space and clutter saver for desks and workstations at home and in the office. This freestanding desk accessory can hold a 17- to 32-inch monitor weighing up to 15.4 pounds, and it allows you to adjust the height, swivel, and tilt for the perfect viewing angle. Standard VESA 100 x100 and 75 x 75 patterns are compatible with most monitors, and the VESA plates rotate for both landscape or portrait orientation. 
Safety Warnings
- Please read and follow the instructions, and keep this manual in a safe place.
- To avoid damage to this product, be careful not to overtighten or improperly thread any of the threaded fittings.
- Clean this product with only a soft, dry cloth.
- Mounting surfaces should be sturdy and flat. Do not install this product on a weak, uneven surface.
- Do not install this product on an unsteady structure or one that is prone to vibration, has a chance of being impacted or is susceptible to other movements. Reinforce the structure as necessary before installing this product.
- Make sure everything is secure before proceeding to the next step. • Do not exceed the maximum load capacity. • Make sure that this product is intact and that there are no missing parts.
- If this product is missing hardware or there are defective parts, visit www.madebygabor.com or call Customer Service at 212-594-2353.
- If you have safety concerns about installing this product, contact a qualified professional or installation contractor.
- All images are for illustrative purposes only.
Product Specifications
Monitor display size
17 to 32 in. (43.2 to 81.3 cm)
Maximum monitor weight
15A lb. (7 kg)
VESA standards
75 75 mm 100 ^100 mm
Monitor rotation
±180°
Monitor tilt
±15°
Column rotation
±40°
Monitor height adjustment range
5.9 in. (15 cm)
Column height adjustment
10.4 to 16.3 in. (26.5 to 41.5 cm)
Weight (without monitor)
6.7 lb. (3 kg)
Package Weight
8.2 lb. (3.7 kg)
Package Dimensions
(W x L x H) 17.1 x 10.8 x 4.4 in. (43.5 x 27.5 x11.2 cm)

Overview

Parts Included

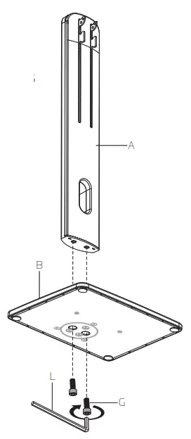
Assembling the Base
Fit the column (A) into the base (B).
Screw the hex bolts (G) into the holes in the bottom of the base using the 6 mm hex key (L).
Attaching the Lever
- Attach the lever back (0) to the height lock with the four M4x6 screws (H). Use the screwdriver end of the 5 mm hex key (K) to tighten the screws until secure.

- Slide the lever front (E) up onto the lever back (D) so it locks in place.
- Secure the lever front to the lever back with the M4x8 screw (I). Tighten it with the Phillips end of the 5 mm hex key (K).

Inserting the VESA Mount onto the Column
- Hang the mounting bracket on the hooks that extend from the front of the column.
- Attach the bracket support (F) under the mounting bracket. and secure it with the M6x20 screw DI Use the Phillips end of the 5 mm hex key (K) to tighten until secure.
![]() | ![]() | ![]() |
Mounting the Monitor
Before you attach the VESA plate, hand thread one of the M-A or M-B screws to determine which one fits your monitor. Make sure the screw is also not too long or too short. If the screw is too long, it may damage the display. If it’s too short, it may not hold it.
| 100 x 100 VESA Pattern 1. Slide M-C washers onto two screws, and thread the screws into your monitor’s top two VESA holes. Leave about 3 mm between the washers and the monitor. 2. Hang the monitor on the VESA plate’s two top notches with the two installed mounting screws. Important! The washer should be between the screwhead and the VESA plate. | 75 x 75 VESA Pattern 1. Thread two screws into your monitor’s top two VESA holes. Leave about 3 mm between the screws and the monitor. 2. Hang the monitor on the VESA plate’s two keyholes with the two installed mounting screws. Important! Do not use washers for the top screws on the 75×75 VESA pattern. |
3. Slide M-C washers onto two screws, and thread the screws into the bottom two VESA holes.
4. Use the 5 mm hex key (K) to tighten all four screws until snug. Do not overtighten. 
Cable Organization
After the monitor is installed, keep your cables neat and organized by running them through the cable channel in the column.
Adjusting the Monitor Height
Important! When adjusting monitor height, support the bottom of the monitor with one hand. The other hand will support the monitor from above and operate the lever. This will prevent the monitor from accidentally rising too quickly or tipping over.
- With the monitor attached, press the lever towards the monitor.
- Adjust the monitor to the desired height, and release the lever.

Monitor Tilt, Rotation, and Swivel
Tilt
To adjust the viewing angle. tilt the monitor up and down by 15°.
You may need to increase the tilt tension for larger and heavier monitors. Tighten the tilt tension screws by turning them clockwise with a hex key (K).
For smaller and lighter monitors, decrease the tilt tension by turning the tilt tension screws counterclockwise.
Rotation
To change the orientation of a monitor from landscape to portrait, turn the monitor while it’s attached to the VESA plate.

Swivel
For optimum monitor position, the column swivels 40° to the left and right. Hold the monitor on both sides to position it at the preferred angle.

Three-Year Limited Warranty
This Gabor product is warranted to the original purchaser to be free from defects in materials and workmanship under normal consumer use for a period of three (3) years from the original purchase date or thirty (30) days after replacement, whichever occurs later. The warranty provider’s responsibility with respect to this limited warranty shall be limited solely to repair or replacement, at the provider’s discretion, of any product that fails during normal use of this product in its intended manner and in its intended environment. The Inoperability of the product or part(s) shall be determined by the warranty provider. If the product has been discontinued, the warranty provider reserves the right to replace it with a model of equivalent quality and function.
This warranty does not cover damage or defect caused by misuse, neglect, accident, alteration, abuse, improper installation, or maintenance. EXCEPT AS PROVIDED HEREIN, THE WARRANTY PROVIDER MAKES NEITHER ANY EXPRESS WARRANTIES NOR ANY IMPLIED WARRANTIES, INCLUDING BUT NOT LIMITED TO ANY IMPLIED WARRANTY OF MERCHANTABILITY OR FITNESS FOR A PARTICULAR PURPOSE. This warranty provides you with specific legal rights, and you may also have additional rights that vary from state to state.
To obtain warranty coverage, contact the Gabor Customer Service Department to obtain a return merchandise authorization (“RMA’) number, and return the defective product to Gabor along with the RMA number and proof of purchase. Shipment of the defective product is at the purchaser’s own risk and expense.
For more information or to arrange service, visit www.madebygabor.com or call Customer Service at 212-594-2353.
Product warranty provided by the Gradus Group. www.gradusgroup.com
Gabor is a registered trademark of the Gradus Group. © 2021 Gradus Group LLC. All Rights Reserved. 





















