![]()
Item #1001 657 726
Model #39661-HBC
USE AND CARE GUIDE
3-LIGHT EXTERIOR POST LANTERN
Questions, problems, missing parts? Before returning to the store, call Gluckstein Elements Customer Service
8 a.m. – 7 p.m., EST, Monday-Friday, 9 a.m. – 6 p.m., EST, Saturday 1-833-695-2045
HOMEDEPOT.CA
HOMEDEPOT.COM
GLUCKSTEINELEMENTS.COM
THANK YOU
We appreciate the trust and confidence you have placed in Gluckstein Elements through the purchase of this lighting fixture. We strive to continually create quality products designed to enhance your home. Visit us online to see our full line of products available for your home improvement needs. Thank you for choosing Gluckstein Elements!
Safety Information
- Read all the instructions before assembling and installing.
- Consult a qualified electrician for installation of this fixture.
- If you have any non-electrical questions about this fixture, please contact our Customer Service Team at 1-833-695-2045 or visit
WWW.HOMEDEPOT.CA/HOMEDEPOT.COM/GLUCKSTEINELEMENTS.COM. - Please reference your item number 1001 657 726.
- Keep your receipt and these instructions for proof of purchase.
CAUTION: Before starting installation of this fixture or removal of a previous fixture, disconnect the power by turning off the circuit breaker or by removing the fuse at the fuse box.
IMPORTANT: Inspect the wire insulation for any cuts, abrasions, or exposed copper that may have occurred during shipping. If there is a defect in the wire, do not continue the assembly process. Please call our Customer Service Team at 1-833-695-2045.
Warranty
LIMITED WARRANTY
WHAT IS COVERED
The manufacturer warrants this lighting fixture to be free from defects in materials and workmanship for a period of five (5) years from date of purchase. This warranty applies only to the original consumer purchaser and only to products used in normal use and service. If this product is found to be defective, the manufacturer’s only obligation, and your exclusive remedy, is the repair or replacement of the product at the manufacturer’s discretion, provided that the product has not been damaged through misuse, abuse, accident, modification, alteration, neglect, or mishandling.
WHAT IS NOT COVERED
This warranty shall not apply to any product that is found to have been improperly installed, set up, or used in any way not in accordance with the instructions supplied with the product. This warranty shall not apply to a failure of the product as a result of an accident, misuse, abuse, negligence, alteration, faulty installation, or any other failure not relating to faulty material or workmanship. This warranty shall not apply to the finish on any portion of the product, such as surface and/or weathering, as this is considered normal wear and tear. The manufacturer does not warrant and specially disclaims any warranty, whether express or implied, of fitness for a particular purpose, other than the warranty contained herein. The manufacturer specifically disclaims any liability and shall not be liable for any consequential or incidental loss or damage, including but not limited to any labor/expense costs involved in the replacement or repair of said product.
Contact the Customer Service Team at 1-833-695-2045 or visit WWW.HOMEDEPOT.CA/HOMEDEPOT.COM/GLUCKSTEINELEMENTS.COM.
Pre-Installation
PLANNING INSTALLATION
Read all the instructions before assembly and installation. To avoid damaging this product, assemble it on a soft, non-abrasive surface, such as carpet or cardboard. Inspect each part for defects that may have occurred during shipping. Keep your receipt and these instructions for proof of purchase.
TOOLS REQUIRED
HARDWARE INCLUDED
NOTE: Hardware is not shown to actual size.
| Part | Description | Quantity |
| AA | Wire nut | 3 |
| BB | Decorative screw | 3 |
| CC | Set screw | 2 |
Pre-Installation (continued)
PACKAGE CONTENTS

| Part | Description | Quantity |
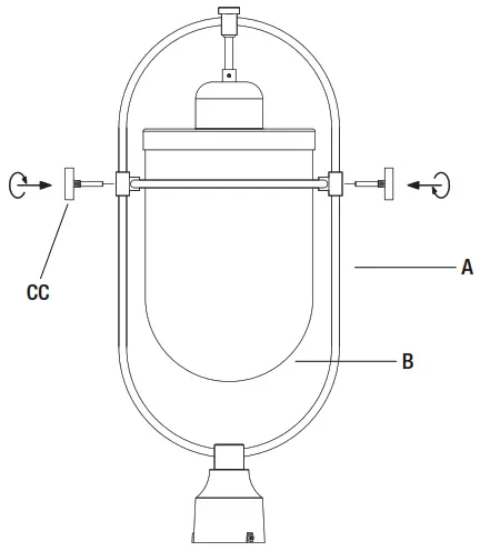
| A | Fixture body | 1 |
| B | Glass shade | 1 |
Installation
- Making the electrical connections
NOTE: With silicone caulking compound, caulk completely around where the fitter meets with the post surface to prevent water from seeping into the post.
- Pull out the wires and ground wire from the post.
- Connect the fixture wires as follows:

- Carefully put the wires back into the post.
- Put the fitter onto the post, then secure it with set screws.

2 Installing the bulb
- Install a 60W MAX B10 bulb (not included) in each socket of the fixture body (A).

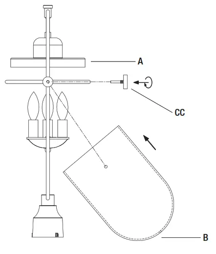
3 Installing the glass shade
- Take out the decorative screws (CC), put the glass shade (B) in, and attach the glass shade (B) with the decorative screws (CC).

4. Fixing the glass shade
- Lift the fixture body (A) and the glass shade (B) up to closely match the upper cover. and tighten the decorative screws (CC) for fixing.

Care and Cleaning
- Clean the light fixture carefully with a soft, dry cloth. Do not use any cleaners with chemicals, solvents, or harsh abrasives.
Troubleshooting
| Problem | Possible Cause | Solution |
| The product will not light. | The bulb is burned out. | _ Replace the light bulb. |
| The power is off. | _ Ensure that the power supply is turned on. | |
| The circuit breaker is off. | _ Ensure that the circuit breaker is set to the ON position. | |
| The fuse blows or the circuit breaker trips when the light is turned on. | There are too many items on one circuit. | ❑Unplug the other items on the circuit. ❑Contact a qualified electrician or call the Customer Service Team at 1-833-695-2045. |
HOMEDEPOT.CA/HOMEDEPOT.COM/GLUCKSTEINELEMENTS.COM
Please contact 1-833-695-2045 for further assistance.
Questions, problems, missing parts? Before returning to the store, call Gluckstein Elements Customer Service
8 a.m. – 7 p.m., EST, Monday-Friday, 9 a.m. – 6 p.m., EST, Saturday
1-833-695-2045
HOMEDEPOT.CA
HOMEDEPOT.COM
GLUCKSTEINELEMENTS.COM
Retain this manual for future use.



















