Cylinda 8264E Spisar

We thank you for your
trust and the purchase of our appliance.
This detailed instruction manual is supplied to make the use of this product easier. The instructions should allow you to learn about your new appliance as quickly as possible.
Make sure you have received an undamaged appliance. If you do find transport damage, please contact the seller from which you purchased the appliance, or the regional warehouse from which it was supplied.
Elektroskandia Sverige AB Norrvikenleden 97
191 83 Sollentuna Sverige
Important information Tip, note
IMPORTANT SAFETY INSTRUCTIONS
CAREFULLY READ THE INSTRUCTIONS AND SAVE THEM FOR FUTURE REFERENCE.
This appliance may only be used by children aged 8 years and above and persons with reduced physical, sensory or mental capabilities or lack of experience and knowledge if supervision or instructions are provided to them concerning use of the appliance in a safe way and if they understand the hazards involved. Do not let the children play with the appliance. Cleaning and user maintenance shall not be made by children without supervision.
WARNING: The appliance and some of its accessible parts may become very hot during use. Be careful not to touch the heating parts of the appliance. Children younger than 8 years of age shall be kept away unless continuously supervised.
- The accessible parts of the appliance may become hot during use. Young children should be kept away from the oven.
The appliance becomes very hot during use. Be careful not to touch the oven heaters. - Danger of fire: do not store items on the cooking surfaces.
- Unattended cooking on a hob with fat or oil can be dangerous and may result in fire. NEVER try to extinguish a fire with water, but switch off the appliance and then cover flame e.g. with a lid or a fire proof blanket.
Only use the temperature probe recommended for use in this oven.
CAUTION: The cooking process and a short term cooking process has to be supervised continuously.
WARNING: If the surface is cracked, switch off the appliance to avoid the possibility of electric shock.
CAUTION: possibility of tilting.
WARNING: In order to prevent tipping of the appliance, stabilising means must be installed. Refer to the instructions for installation.
- Before replacing the light bulb, make sure the appliance has been disconnected from the mains power, in order to prevent the hazard of an electric shock.
Appliance must not be installed behind a decorative door in order to avoid overheating.
Do not use harsh abrasive cleaners or sharp metal scrapers to clean the oven door glass/ the glass of hinged lids of the hob (as appropriate), since they can scratch the surface, which may result in shattering of the glass.
Do not use steam cleaners or high-pressure cleaners to clean the appliance, as this may result in an electric shock.
The appliance is not intended to be controlled by external timers or separate remote control system. - Use only hob guards designed by the manufacturer of the cooking appliance or indicated by the manufacturer of the appliance in the instructions for use as suitable or hob guards incorporated in the appliance. The use of inappropriate guards can cause accidents.
If the supply cord is damaged, it must be replaced by the manufacturer, its service agent or similarly qualified persons in order to avoid a hazard.
CAUTION: This appliance is for cooking purposes only. It must not be used for other purposes, for example room heating.
The appliance is intended to be placed directly on the floor, without any supports or plinths.
Do not install the appliance near powerful sources of heat, such as solid fuel stoves, because high temperature near them can damage the appliance.
The appliance may only be connected to the mains power by an authorized service technician or expert. Clamps (instead of connecting cable) should be protected by a clamp cover (see additional equipment). Tampering with the appliance or non-professional repair thereof may result in risk of severe injury or damage to the product.
If the power cords of other appliances located near this appliance are caught in the oven door, they may be damaged, which may in turn result in a short circuit. Therefore, keep the power cords of other appliances at a safe distance.
Do not line the oven walls with aluminium foil and do not place baking trays or other cookware on the oven bottom. Aluminium foil would prevent air circulation in the oven, hinder the cooking process, and ruin the enamel coating.
Oven door become very hot during operation. A third glass is installed for extra protection, reducing the temperature of the outside surface (only with some models).
Oven door hinges may be damaged when under excessive load. Do not place heavy pans on open oven door and do not lean against open oven door when cleaning the oven cavity. Never stand on the open oven door and do not let children sit on it.
Make sure the vents are never covered or obstructed in any other way.
NOTICE In case the appliance is equipped with a glass or glass ceramic cooking surface. In case of breakage:
- Switch off all electric heating elements and disconnect the appliance from the mains.
- Do not touch the surface of appliance.
- Do not use the appliance.
For appliance connection use a 4×1,5 mm2 cord with mark H05VV-F4G1,5 or better. Cord must be installed by service agent or similary quialified person.
Appliance must be connected to fixed wiring which is in accordance with the witing rules.
Appliance must be connected to fixed wiring which has incorporated means of disconnection. Fixed wiring must be made in accordance with the wiring rules.
BEFORE CONNECTING THE APPLIANCE
APPLIANCE DRAWER
Do not store combustible, explosive, volatile or temperature-sensitive items (such as paper, dish cloths, plastic bags, cleaners or detergents and spray cans) in the oven’s storage drawer, as they can ignite during over operation and cause a fire.
OVEN EQUIPMENT AND ACCESSORIES
(depending on the model)
WIRE GUIDES
The wire guides allow preparation of the food on four levels (please note that the levels/ guides are counted from the bottom up).
Guides 3 and 4 are intended for grilling.
Appliance operation is safe with and without tray guides.
TELESCOPIC PULL-OUT GUIDES
Telescopic pull-out guides may be fitted for the 2nd, 3rd, and 4th level. Pull-out guides can be partly or fully extendible.
OVEN DOOR SWITCH
The switch deactivates oven heating and the fan when the oven door is opened during the cooking process. When the door is closed, the switch turns the heaters back on.
COOLING FAN
The appliance is fitted with a cooling fan that cools the housing and the appliance control panel.
The cooling fan is in operation when the oven is in operation.
The appliance and some of the accessible parts tend to heat up during cooking. Use oven mitts.
GRID

There is a safety latch on the grid. Therefore, lift the grid slightly at the front when pulling it out from the oven.
The grid or the tray should always be inserted into the groove between the two wire profiles.

With telescopic extendible guides, first pull out the guides of one level and place the grid or the baking tray onto them. Then, push them in with your hand as far as they will go.
Close the oven door when the telescopic guides are retracted all the way into the oven.
As baking accessories heat up, their form may change. This does not affect their functionality and their original form will be restored when they cool down.
CONTROL UNIT
(depending on the model)

- Cooking zone knob front left
- Cooking zone knob rear left
- Cooking zone knob rear right
- Cooking zone knob front right
- Cooking system selector knob
- Oven temperature knob
- Operation control lamp (yellow light). It indicates that the oven or one of the hobs is in operation.
- Oven control lamp (The red light). The lamp is lit when the oven is heating up; when the selected temperature is reached, it goes off.
USING THE APPLIANCE
BEFORE USING THE APPLIANCE FOR THE FIRST TIME
Upon receiving the appliance, remove all parts, including any transport equipment, from the oven.
Clean all accessories and utensils with warm water and regular detergent. Do not use any abrasive cleaners.
If your hob has a glass ceramic surface, clean it with a damp cloth and some washing-up liquid. Do not use aggressive cleaners, such as abrasive cleaners that could cause scratches, abrasive dishwashing sponges, or stain removers.
If the cooker has cast iron plates, set the hotplate knobs to level 4 and leave them on for 30 minutes without using any dishes. As the cooking zones heat up, some smoke may appear on the cooking hob surface. Thus, the cooking zone finish reaches its maximum resistance.
When the oven heats up for the first time, the characteristic smell of a new appliance will be emitted. Ventilate the room thoroughly during the first operation.
CHILD LOCK ON THE TEMPERATURE CONTROL (Oven temperature knob)
A child lock is fitted on the temperature control for the oven . The cooking zones and the oven only work when the child lock has been disengaged. Using the child lock prevents children from accidentally turning on the cooking zones or the oven.
How to engage the child lock:

- Pull the temperature control outward.
- Turn approximately 15° to the left
- Release the control = Locked position.
How to disengage the child lock:

- Pull the temperature control outward.
- Turn approximately 15° clockwise.
- Release the control = Unlocked position.
COOKING HOB
ELECTRIC HOBS
- Make sure the cooking zone and the cookware bottom is clean and dry. This will allow better conduction of heat and prevent any damage to the heating surface.
- Overheated fat and oil on the cooking zones may ignite. Therefore, be careful when cooking with fat or oil and always control the cooking process.
- Do not place wet cookware or lids covered in steam on the cooking zones. Moisture may damage the cooking zones.
- Do not cool down the hot cookware by placing it on the cooking zones that were not in use, because the condensate that will appear under the cookware bottom may aid corrosion.

Rotate the knob to switch on the cooking zone. Cooking zone heating power can be set in steps from 1 to 6.
Switch off the cooking zone 3 – 5 minutes before the end of the cooking process to make use of the residual heat and save power.
Rapid cooking zones (only with some models) can operate with greater power than regular cooking zones, which means they can heat up more quickly. These cooking zones are indicated with a red dot in the middle. After repeated heating and cleaning, this dot may disappear.
In case of prolonged use of cast iron plates, the area of the plate and the edge of the cooking zone may discolour. Service in such case is not covered by the warranty.
GLASS-CERAMIC HOB
The power of the hob can be set in levels from 1 to 6. The hobs are connected in different time intervals, depending on the set level. Overheating of the surface under the glass ceramic panel is prevented by the temperature limiter.
CONTROL OF THE TWO-RING COOKING ZONE

The area of the two-ring cooking zone can adapt to the size and the form of your cookware.
To activate the larger heating zone, rotate the cooking zone knob as far as it will go (a click will be heard), then set the desired power level.
HI-LIGHT COOKING ZONES
Hi-Light cooking zones differ from the conventional zones by rapid heating; therefore, the cooking process begins very soon.
RESIDUAL HEAT INDICATOR
Each hob is equipped with a control light that stays on also after the hob is turned off, if the hob is still hot.
When the cooking zone cools down, the signal light goes out. The residual heat indicator is also lit up if a hot pot or pan is placed on a cool cooking zone.
GLASS-CERAMIC COOKING SURFACE
- The hob is resistant to temperature changes.
- The glass-ceramic plate is very solid but it is not unbreakable. The plate can break when an object falls with its edge on the plate. Such damage comes out immediately or after a while. Disconnect the damaged hotplate from the main immediately and do not use it.
- Using the glass ceramic hob as a storage area may result in scratches or other damage to it.
- Do not use aluminium or plastic cookware on hot cooking zones. Do not place any plastic objects or aluminium foil on the glass ceramic hob.
- Make sure the cooking zone and the cookware bottom is clean and dry. This will allow better conduction of heat and prevent any damage to the heating surface. Do not place empty cookware on the cooking zone.
TIPS REGARDING YOUR COOKWARE
- Use quality cookware with flat and stable bottom.
- Pan bottom and cooking zone diameters should be the same.
- Tempered glass cookware with special ground bottom may be used on the cooking zones if its diameter fits that of the cooking zones. Cookware with larger diameter may crack due to thermal tension.
- Make sure the pot or pan is in the middle of the cooking zone.

- When using a pressure cooker, keep an eye on it until the right pressure is reached. First, set the cooking zone to maximum power; then, following the pressure cooker manufacturer’s instructions, use the relevant sensor to decrease the cooking power at the right time.
- Make sure there is enough liquid in the pressure cooker, or any other pot or pan. Due to overheating, using an empty pot on the cooking zone may result in damage to both the pot and the cooking zone.
- When using special cookware, observe the manufacturer’s instructions.
OVEN
OPERATING THE OVEN
The oven can be operated with the knob for “oven mode selection” to select the function and “temperature setting” to set the temperature.
Rotate the knob (left and right) to select COOKING SYSTEM (see program table).
Settings can also be changed during the cooking process.

OVEN OPERATION
Operation temperature is set with the temperature selector, ranging from 50 – 300°C. Clockwise rotation of the selector sets higher temperature, and vice versa, anticlockwise turning reduces the temperature.
Forcible overturning of the zero position will lead to the thermostat damage!
SWITCHING OFF THE OVEN
Turn the COOKING SYSTEM SELECTOR KNOB to position “0”.
The functions depend on the model. See button symbols below.


It is used for determining the energy efficiency class pursuant to the EN 60350-1 standard.
DESCRIPTIONS OF SYSTEMS
Heating an empty oven consumes a lot of energy. Hence, baking several types of pastry or several pizzas successively will save a lot of energy as the oven will already have been preheated.
When using parchment paper, make sure it is resistant to high temperatures.
When preparing food, a lot of steam is formed inside the oven, which is drained through the chimney at the back of the appliance. The steam might condense on the door and lid of the appliance (depending on the model). This is a standard phenomenon which has no effect on the operation of the appliance. After the end of the cooking proces, wipe the overflowing condensed water with a cloth.
Switch off the oven approximately 10 minutes before the end of the cooking process to save energy by making use of the accumulated heat.
Do not cool the food in a closed oven to prevent condensation (dew).
Guides cooking levels

COOKING SYSTEMS
OVEN LIGHTING
With all modes of operation, the oven lighting is turned on automatically when the operation mode is selected.
RAPID PREHEATING
Use this function to heat the oven to the desired temperature as quickly as possible. This mode is not appropriate for cooking.
- Turn the ʺOven function knobʺ to the ʺquick preheatʺ position.
- Set the oven to the desired temperature using the ʺtemperature dial knobʺ.
UPPER AND BOTTOM HEATER
The heaters in the bottom and in the ceiling of the oven cavity will radiate heat evenly into the oven interior. Pastry and meat can be cooked on one shelf leve only.
Roasting meat
Use enamel coated, tempered glass, clay, or cast iron pan or tray. Stainless steel trays are not suitable as they strongly reflect the heat.
Baking pastry
Only use one level and dark baking sheets or trays. In light-colored baking sheets or trays, the browning of the pastry will be poorer, as such equipment will reflect the heat. Always place the baking trays on the grid. If you are using the supplied baking sheet, remove the grid. Cooking time will be shorter if the oven is preheated.
Do not insert the deep baking tray into the first guide.
LARGE GRILL, GRILL
When grilling food with the large grill, the upper heater and the grill heater fitted on the ceiling of the oven cavity will operate(LARGE GRILL).
Only grill heater, a part of the large grill set, will operate (GRILL).
Preheat the infrared (grill) heater for five minutes.
Maximum temperature when using Grill and Large grill is 230°C.
Supervise the cooking process at all times. The meat may burn quickly due to high temperature. Roasting with the grill heater is suitable for crispy and low-fat cooking of bratwurst, cuts of meat and fish (steaks, escalopes, salmon steaks or fillets etc.) or toasted bread.
When grilling directly on the grid, smear it with oil to prevent the meat from sticking onto it and insert it into the 4th guide. Insert the drip tray in to the 1st or 2nd guide.
When grilling in a baking tray, make sure there is enough liquid in the tray to prevent burning. Turn the meat during cooking.
After grilling, clean the oven, the accessories, and the utensils.
When baking trout, pat the fish dry with a paper towel. Season on the inside; coat with oil on the outside and place on the grid. Do not turn the fish when grilling.
Always keep the oven door closed when using the grill (infrared) heater.
Grill heater, grid, and other oven accessories get very hot during grilling. Therefore, use oven mitts and meat tongs.
Cooking with the rotisserie
(depending on the model)
Maximum temperature when using the rotisserie is 230°C.

Insert the skewer support into the 3rd guide from the bottom and place the shallow baking sheet into the bottom (1st) guide to serve as a drip tray.
Impale the meat on the skewer and tighten the screws.
Place the skewer handle on the front skewer support and insert the tip into the opening in the right hand side of the rear oven cavity wall (the opening is protected with a rotating cover).
Undo the skewer handle and close the oven door.
Switch on the oven and select the LARGE GRILL system.
The grill shall only be used when the oven door is closed.
Do not use the grill on position 4.
GRILL WITH FAN
In this operating mode, the grill heater and the fan operate simultaneously. Suitable for grilling meat, fish, and vegetables.
(See descriptions and tips for GRILL.)
HOT AIR AND BOTTOM HEATER
The bottom heater, the round heater, and the hot air fan will operate. Suitable for baking pizzas, apple pies, and fruitcakes.
HOT AIR
Round heater and the fan will operate. The fan installed in the back wall of the oven cavity makes sure the hot air constantly circulates around the roast or pastry.
Roasting meat
Use enamel coated, tempered glass, clay, or cast iron pan or tray. Stainless steel trays are not suitable as they strongly reflect the heat.
Provide enough liquid during the cooking process to prevent the meat from burning. Turn the meat during roasting. The roast will remain juicier if you cover it.
Baking pastry
Preheating is recommended.
Biscuits and cookies can be baked in shallow baking sheets on several levels simultaneously (2nd and 3rd).
Note that baking time can differ even with if the baking sheets used are the same. The biscuits in the upper baking sheet may be ready sooner than those in the lower one.
Always place the baking trays on the grid. If you are using the supplied baking sheet, remove the grid.
For even browning, make sure the biscuits are of the same thickness.
Do not insert the deep baking tray into the first guide.
BOTTOM HEATER AND FAN
This is used for baking leavened but low-rising pastry and for preserving fruit and vegetables. Use the second guide from the bottom and a rather shallow baking tray to allow the hot air to circulate across the upper side of the dish.
DEFROSTING
In this mode, the air will circulate without any heaters operating.
Food suitable for defrosting includes cakes with heavy cream or butter-based cream, cakes and pastry, bread and rolls, and deep-frozen fruit.
In most cases, it is recommended to remove the food from the packaging (do not forget to remove any metal clamps or clips).
Halfway through the defrost time, the pieces should be turned over, stirred and separated if they were frozen together.
GENTLEBAKE
This feature allows gentle, slow, and even baking that leaves the food soft and juicy. It is suitable for roasting meat, cooking fish, and baking pastry on a single rack.
OVEN CLEANING
The steam softens food residues and facilitates cleaning of the oven. Do as follows:
- Let the oven cool down.
- Pour around 0.5 litres of hot water into the roasting tin.
- Place the roasting tin on the top shelf.
- Set the oven to 70 °C and turn the function selector to position.
- Allow the oven to heat up for around 30 minutes.
- Open the oven door and remove the roasting tin.
- Clean the oven using hot water with a little added washing-up liquid.
MAINTENANCE & CLEANING
Be sure to unplug the appliance from the power supply and wait for the appliance to cool down.
Children should not clean the appliance or perform maintenance tasks without proper supervision.
Stainless steel sheet front side of the housing
(depending on the model)
Clean this surface only with a mild detergent (soapsuds) and a soft sponge that will not scratch the finish. Do not use abrasive cleaners or cleaners containing solvents as they may damage the housing finish.
Lacquer-coated surfaces and plastic parts
(depending on the model)
Do not clean the knobs and buttons, door handles, stickers, and rating/type plates with abrasive cleaners or abrasive cleaning materials, alcohol-based cleaners, or with alcohol. Immediately remove any stains with a soft non-abrasive cloth and some water, in order to avoid damaging the surface.
You may also use cleaners and cleaning materials intended for such surfaces as instructed by their respective manufacturers.
Enamel surfaces (oven, cooking hob)
Use a damp sponge with detergent for cleaning. Fatty stains can be removed with warm water and special detergent for enamel. Never clean enamelled surfaces with abrasive means producing irremovable damage to the appliance surface.
Glass surfaces
Do not use rough abrasive cleaning agents or sharp metal scrapes for cleaning of oven door glass, as they could crack the surface and causing the breaking of glass. Clean the glass surfaces with special means for glass, mirrors and windows.
CLEANING THE COOKING HOBS

Clean the area around th e cooking zones with hot water and some washing-up liquid.
For stubborn dirt, use a steel wool pad soaked with detergent; then, rinse the hob and wipe it dry. Liquids containing salt, boiled-over liquids and moisture have detrimental effect on the cooking zones. Always clean the cooking zones,Use regular cleaners and commercially available conditioners to maintain the cooking zones. If the cooking zone is slightly warm, the cleaner will penetrate the pores more readily.
Cooking zone rings are made of stainless steel. Because exposure to heat, they may take on a yellowish hue after a certain period of use. This is a normal physical phenomenon. The yellowish spots may be removed with regular metal cleaners. Aggressive dishwashing accessories are not suitable for cleaning of these rims, as they may cause scratches.
CLEANING THE GLASS CERAMIC SURFACE
After each use, wait for the glass ceramic surface to cool down and clean it. Otherwise, all remaining impurities will burn onto the hot surface the next time you use the hob.
For regular maintenance of the glass ceramic hob, use special care products that create a protective film on the surface to prevent the dirt from sticking onto it.

Before each use of the glass ceramic surface, wipe off the dust or any other impurities that could scratch the surface, from both the hob and the pan bottom.
Steel wool, coarse cleaning sponges, and abrasive powders may scratch the surface. The surface may also be damaged by aggressive spray cleaners and unsuitable liquid cleaners.

Signage may be worn when using aggressive or abrasive cleaners or cookware with coarse or damaged bottom.
Use a damp soft cloth to remove minor impurities. Then, wipe the surface dry.

Remove water stains with a mild solution of vinegar. However, do not use this solution to wipe the frame (only with some models) as it may lose its sheen. Do not use aggressive spray cleaners or descaling agents.
Use special glass ceramic cleaners for stubborn dirt. Observe the manufacturer’s instructions. Be sure to thoroughly remove any cleaner residues after the cleaning process as they may damage the glass ceramic surface when the cooking zones heat up.

Remove stubborn and burnt residues with a scraper. Be careful when handling the scraper to prevent injury.
Only use the scraper when dirt cannot be removed with a wet cloth or special cleaners for glass ceramic surfaces.
Hold the scraper at the correct angle (45° to 60°).
Gently press the scraper against the glass and slide it over the signage to remove the dirt. Make sure the plastic handle of the scraper (in some models) does not come into contact with a hot cooking zone.

Do not press the scraper perpendicularly against the glass and do not scratch the hob surface with its tip or blade.

Immediately remove any sugar or sugar-laden food from the glass-ceramic hob using a scraper, even if the hob is still hot, as sugar may permanently damage the glass-ceramic surface.
Discoloration of the glass-ceramic surface does not affect the operation or stability of the surface. Such discoloration is most commonly a result of food residues burnt onto the surface, or it may be caused by some cookware materials (such as aluminum or copper). Such discoloration is very difficult to remove entirely.
Note: Discolouration and similar flaws only affect the appearance of the hob and do not directly affect its function. Removing such flaws shall not be covered by the warranty.
OVEN
Clean the oven walls with a damp sponge and detergent. To clean stubborn stains burned into the oven wall use a special detergent for enamel. After cleaning carefully wipe the oven-dry. Clean the oven only when it is completely cold. Never use abrasive agents, because they will scratch enameled surface. Wash the oven utensils with a sponge and detergent. You can also use special detergents to remove rough stains or burns.
USING THE „OVEN CLEANING“ FUNCTION
Turn the COOKING SYSTEM SELECTOR KNOB to position OVEN CLEANING . Set the TEMPERATURE KNOB to 70°C.
Pour 0,5 l water into a baking tray and place it in the lower guide.
After 30 minutes, food residues on the oven enamel walls will have softened and they will be easy to clean with a damp cloth.
Use the “OVEN CLEANING“ system when the oven has fully cooled down.
REMOVING AND CLEANING WIRE AND TELESCOPIC EXTENDIBLE GUIDES
Only use conventional cleaners to clean the guides.
Hold the guides by the bottom side and pull them towards the center of the oven cavity.
Remove them from the openings at the top.
Do not clean the extendible guides in the dishwasher.
REPLACING THE BULB
The bulb is a consumable and therefore not covered by warranty. Before changing the bulb, remove the trays, the grid, and the guides.
Disconnect the appliance from the power mains!
Halogen lamp: G9, 230 V, 25 W. (Regular bulb E14, 230 V, 25 W – depending on the model.)

A Undo the bulb cover and pull out or undo the bulb.
Use protection to avoid burns.
B Use a flat screwdriver to release the bulb cover and remove it. Remove the bulb.
Be careful not to damage the enamel.
COMFORT DOOR CLOSING
(depending on the model)
Cookers are equipped with new secure door hinges COMFORT. These special hinges guarantee very quiet and gentle closing of the oven door.
If the force applied to close the door is too strong, the efficiency of the system can be reduced or the system’s safety can be affected.
DOOR LOCK
(depending on the model)
Open the door lock by gently pushing it to the right with your thumb while simultaneously pulling the door outwards.
When the oven door is closed, the door lock automatically returns to the initial position.
REMOVING AND REPLACING THE OVEN
DOOR (depending on the model)
- Open the oven door (up to end position).
- Rotate the flaps of door hinges (in case of conventional closing).
At COMFORT soft closing system, rotate the flaps by 90°.
- Slowly close the ove n door until the flaps fit together with the hinges in the side laths of the door. At the angle of 15° (regarding to the closed
door position), slightly close the door and pull it out from both hinges of the appliance.

Before replacing the door, always check that the hinge flaps are correctly placed in the side laths of the door. You prevent the sudden closing of the hinge so, which is connected to a strong spring. The releasing of flap causes the damaging of door and a risk of injury.
Removing and replacing the oven door
(depending on the model)
- Open the oven door (up to end position).
- Raise up and turn the flaps.

- Slowly close the oven door, lift it slightly and pull it out from the both hinges of the appliance.

Provide these steps in reverse order at returning the door back. If the door does not open or close properly, make sure, that the hinges are correctly located on their hooks.
REMOVING AND INSERTING THE OVEN
DOOR GLASS PANE (depending on the model) Oven door glass pane can be cleaned from the inside, but it has to be removed first. Remove the oven door (see chapter “Removing and replacing the oven door”.

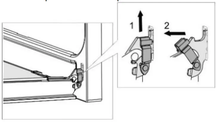
Slightly lift the supports on the left and right side of the door (marking 1 on the support) and pull them away from the glass pane (marking 2 on the support).

Hold the door glass pane by the lower edge; slightly lift it so that it is no longer attached to the support; and remove it.
To remove the third glass pane (only with some models), lift and remove it. Also remove the rubber seals on the glass pane.
To replace the glass pane, observe the reverse order. The markings (semicircle) on the door and the glass pane should overlap.
Removing and inserting the oven door glass pane (depending on the model)
Screw out the screws on the door left and right sides and pull out the upper lath. You can pull out the glass pane of door now.

Provide these steps in reverse order at returning the glass pane back.
TROUBLESHOOTING TABLE
| Problem/error | Solution |
| The main fuse in your home trips often. | Call a service technician. Make sure the power of all appliances switched on does not exceed the capacity of the power mains in your home. |
| The oven lighting does not work. | The process of changing the light bulb is described in the chapter “Cleaning and Maintenance”. |
| The food is underdone . . . | Did you choose the right temperature and heating system? Is the oven door closed? |
Repair or any warranty claim resulting from the incorrect connection or use of the appliance shall not be covered by the warranty. In this case, the user will cover the cost of repair.
INSTALLATION AND CONNECTION INSTRUCTIONS
APPLIANCE PLACEMENT (mm)

The walls or furniture adjacent to the appliance (floor, rear kitchen wall, side walls) have to be temperature-resistant to at least 90°C.
ADJUSTING THE HEIGHT OF THE
COOKER (depending on the model)
The height of the cooker is 900 mm. You can adjust the height of the appliance from 850 to 940 mm.
- Put the cooker on the floor with backside.
- Unscrew the screws, see arrows.

- Set the desired height.
- Screw the screws back together.

The cooker must be installed horizontally!
Follow these steps:
- Rotate the height adjustment screws (see figure 1) to adjust the height of the cooker to the correct position.
- Adjust the wheels (see figure 2) by screwing them with two screws at the front of the skirting board. Check the horizontal position of the stove using a spirit level.
- Place the blind plugs into the holes in the front of the skirting board (see Figure 3).

LEVELLING THE APPLIANCE AND ADDITIONAL SUPPORT
(depending on the model)
PREVENTION FROM TIPPING OVER (mm)


According to the plan attach the holder to the wall with the added screws and anchors. If the attached screws and anchors cannot be used, use others that will ensure a secure installation on the wall.
INSTALLATION OF THE LID
(depending on the model)

CONNECTING TO THE POWER MAINS
The electric range is a heat consumer, the installation and location of which must correspond with local standards in force.
![Cylinda 8264E Spisar-39]](https://static-data1.manualsee.com/1/img/294/2521511/2022/03/Cylinda-8264E-Spisar-39.png)
A device disconnecting the appliance from mains, whose off contacts of all poles are in a minimum distance of 3 mm, must be built in the stable electrical energy distribution before the appliance.
Solely an authorised, skilled person may install the range. The authorised person is obliged to set the range cooking plate in horizontal position, to connect it to the mains and to check up on its duty. Installation of the range must be confirmed in the certificate of warranty.
There is the recommended three-phase connection of the range with the aid of an H05VV-F4G-1,5 type connecting cord (circuit breaker 3×16 A).
It is necessary to brace the conductor ends with pressed terminals against fraying.
After bracing the conductor ends beneath the terminal board screw heads place a cord in the terminal board and secure it by a clip against tearing. Eventually close the terminal board cover.
CLAMP PROTECTION
The clamps should be protected by a clamp cover, see additional equipment. Electric shock danger.

IMPORTANT NOTICE
At any electric range disassembly or assembly besides its current use it is necessary to disconnect the appliance from mains and to keep it out of service.
In installation of the appliance, it is necessary to do in the light of its duty chiefly the following:
- Verification of the correctness of mains connection.
- A check on the duty of heaters, control and governing elements.
- Presentation to the client of all functions of the appliance and familiarisation with its service and maintenance.
NOTICE
The electric range is a Class I appliance according to the electric current injury prevention degree and must be interconnected with the mains protective conductor.
DISPOSAL
Packaging is made of environmentally friendly materials that can be recycled, disposed of, or destroyed without any hazard to the environment. To this end, packaging materials are labelled appropriately.
The symbol on the product or its packaging indicates that the product should not be treated as normal household waste. The product should be taken to an authorized collection center for waste electric and electronic equipment processing.
Correct disposal of the product will help prevent any negative effects on the environment and health of people which could occur in case of incorrect product removal. For detailed information on removal and processing of the product, please contact the relevant municipal body in charge of waste management, your waste disposal service, or the store where you bought the product.
COOKING TEST
Tested in compliance with the EN 60350-1 standard.
BAKING

We reserve the right to any changes and errors in the instructions for use.
CYLINDA S8264E, S8264K, S8264KV, S8264KVRF, S8364KV IFU ES6 400V TEL CYL6 EN






















