MOXA WDR-3124A Series Cellular Router Installation Guide
Overview
Moxa’s WDR-3124A industrial wireless device router combines both IEEE 802.11n and cellular technologies to enable flexible wireless communications.
The WDR-3124A is compliant with industrial standards and approvals, covering operating temperature, power input voltage, surge, ESD and vibration. The two DC power inputs offer power redundancy. The dual SIM support and the patented antenna and power isolation design allow the WDR-3124A to operate reliably in any harsh environment.
With support for DIN-rail mounting and wide operating temperature, and IP30 housing with LED indicators, the WDR-3124A is an ideal solution for any industrial wireless applications.
Package Checklist
Moxa’s WDR-3124A is shipped with the following items. If any of these items is missing or damaged, please contact your customer service representative for assistance.
- WDR-3124A
- 1 GPS connector terminator
- 2 dual-band omni-directional antennas, 2 dBi, RP-SMA (male)
- 1 2G/3G omni-directional antennas, 2 dBi, SMA (male)
- 5 plastic RJ45 protective caps for serial console and Ethernet ports
- Quick installation guide (printed)
- Warranty card
Installation and Configuration
Before installing the WDR-3124A, make sure that all items in the package checklist are in the box. In addition, you will need access to a notebook computer or PC equipped with an Ethernet port. The WDR-3124A has a default IP address that you must use when connecting to the device for the first time.
Step 1: Insert a SIM card and turn on the WDR-3124A
Insert one or two 2G/3G SIM cards into the SIM slots located on the bottom of the WDR-3124A. Then, turn on the WDR-3124A by connecting a power terminal block to a DC power source (12 to 48 VDC).
Step 2: Connect the WDR-3124A to a notebook or PC
Since the WDR-3124A supports MDI/MDI-X auto-sensing, you can use either a straight-through cable or crossover cable to connect the WDR-3124A to a computer. If the LED indicator on the WDR-3124A’s LAN port lights up, it means a connection has been established.
Step 3: Set up the computer’s IP address
Set an IP address on the same subnet as the WDR-3124A. Since the WDR-3124A’s default IP address is 192.168.127.254, and the subnet mask is 255.255.255.0, you should set the IP address of the computer to 192.168.127.xxx and subnet mask to 255.255.255.0.
Step 4: Use the web-based manager to configure the WDR-3124A
Open your computer’s web browser and type http://192.168.127.254 in the address field to access the homepage of the web-based management system. Before the homepage opens, you will need to enter the user name and password. For first-time configuration, enter the default user name and password and then click Login.
User name: admin
Password: root
ATTENTION
For security reasons, we strongly recommend changing the password. To do so, select Maintenance > Username/Password, and then follow the on-screen instructions.
NOTE: For the change to take effect, you must click Save Configuration to save the changes, and restart (clicking the Save and Restart buttons will save all changes).
Hardware Overview
Top Panel View
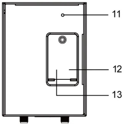
Front Panel View
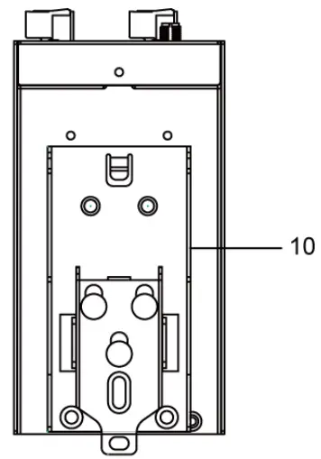
Rear Panel View
Bottom Panel View
- GPS antenna connector (female SMA)
- Cellular antenna connector (female SMA)
- Grounding screw (M5)
- Terminal block (two digital input and one digital relay)
- Terminal block (PWR1 and PWR2)
- WIFI antenna ports (female RP-SMA)
- RS-232 serial console (RJ45)
- LED display
- 10/100/1000 BaseT(X) Ethernet ports (RJ45)
- DIN-rail mounting kit
- Reset button
- Dual SIM – SIM2
- Dual SIM – SIM1
Device Dimensions

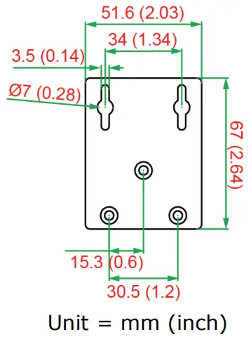
DIN-Rail Mounting
DIN-Rail Kit Dimensions:

Unit = mm (inch)
The DIN-rail kit is attached to the back panel of the WDR-3124A. Mount the WDR-3124A on corrosion-free mounting rails that meet the EN 60715 standard.
Installation
- STEP 1: Insert the upper lip of the DIN rail into the DIN-rail mounting kit.
- STEP 2: Press the WDR-3124A towards the DIN rail until it snaps into place.

Removal
- STEP 1: Pull down the latch on the mounting kit using a screwdriver.
- STEP 2: Slightly pull the WDR-3124A forward.
- STEP 3: Lift up to remove the WDR-3124A from the DIN rail.

Wall Mounting (optional)
For some applications, it may be more convenient to mount the WDR-3124A to a wall.
Wall-mount Kit Dimensions:
STEP 1:
Remove the aluminum DIN-rail attachment plate from the WDR-3124A, and then attach the wall mount plates with M3 screws, as shown in the adjacent diagram.
STEP 2:
Mounting the WDR-3124A to a wall requires 4 screws. Use the WDR-3124A device, with wall mount plates attached as a guide, to mark the correct locations of the 4 screws. The heads of the screws should be less than 6.0 mm in diameter, and the shafts should be less than 3.5 mm in diameter, as shown in the figure at the right.
NOTE Test the screw head and shank size by inserting the screw into one of the keyhole shaped apertures of the Wall Mounting Plates before it is screwed into the wall.
STEP 3:
Once the screws are fixed into the wall, insert the four screw heads through the large opening of the keyhole-shaped apertures, and then slide the WDR-3124A downwards, as indicated in the accompanying diagram. Tighten the four screws for added stability.
WARNING
- This equipment is intended to be used in a Restricted Access Location, such as a dedicated computer room. Access can only be gained by SERVICE PERSONS or by USERS who have been instructed about the fact that the metal chassis of the equipment is extremely hot and may cause burns.
- Service persons or users should pay special attention and take special precautions before handling the equipment.
- Access should be controlled with lock and key, or a security identity system controlled by the authority responsible for the location. Only authorized, well-trained professionals should be allowed to access the restricted access location.
- External metal parts are hot!! Pay special attention or use special protection before handling.
Wiring Requirements
WARNING
Safety First!
Be sure to disconnect the power cord before installing and/or wiring your WDR-3124A.
WARNING
Safety First!
Calculate the maximum possible current in each power wire and common wire. Observe all electrical codes dictating the maximum current allowed for each wire size. If the current goes above the maximum ratings, the wiring could overheat, causing serious damage to your equipment.
You should also pay attention to the following items:
- Use separate paths to route wiring for power and devices. If power wiring and device wiring paths must cross, make sure the wires are perpendicular at the intersection point.
NOTE: Do not run signal or communications wiring and power wiring in the same wire conduit. To avoid interference, wires with different signal characteristics should be routed separately. - You can use the type of signal transmitted through a wire to determine which wires should be kept separate. The rule of thumb is that wiring with similar electrical characteristics can be bundled together.
- Keep input wiring and output wiring separate.
- It is strongly advised that you label wiring to all devices in the system when necessary.
ATTENTION
This product is intended to be supplied by a Listed Power Unit marked “Class 2” or “LPS” and rated O/P: 9.6 W (12V/0.7A to 48V/0.2A).
ATTENTION
Make sure that the external power adapter (includes power cords and plug assemblies) provided with the unit is certified and suitable for use in your country.
Grounding the WDR-3124A
Grounding and wire routing help limit the effects of noise due to electromagnetic interference (EMI). Run the ground connection from the ground screw to the grounding surface prior to connecting devices.
ATTENTION
This product is intended to be mounted to a well-grounded mounting surface, such as a metal panel.
Wiring the Redundant Power Inputs
The top two pairs of contacts of the 10-contact terminal block connector on the WDR-3124A’s top panel are used for the WDR-3124A’s two DC inputs. Top and front views of the terminal block connector are shown here.
Top View
Front View
STEP 1: Insert the negative/positive DC wires into the V-/V+ terminals.
STEP 2: To keep the DC wires from pulling loose, use a small flat-blade screwdriver to tighten the wire-clamp screws on the front of the terminal block connector.
STEP 3: Insert the plastic terminal block connector prongs into the terminal block receptor, which is located on the WDR-3124A’s top panel.
ATTENTION
Before connecting the WDR-3124A to the DC power inputs, make sure that the DC power source voltage is stable.
Wiring the Relay Contact
The WDR-3124A has one relay output, which consists of the two contacts of the terminal block on the WDR-3124A’s top panel. Refer to the Specification section for detailed electrical requirement. The relay contacts are used to indicate user-configured events. The two wires attached to the relay contacts form an open circuit when a user-configured event is triggered. If a user-configured event does not occur, the relay circuit will be closed.
Wiring the Digital Inputs
The WDR-3124A has two sets of digital inputs—DI1 and DI2. Each DI comprises two contacts of the 6-pin terminal block connector on the WDR-3124A’s top panel. Refer to the Specification section for detailed information on isolated digital input definition.
Communication Connections
10/100BaseT(X) Ethernet Port Connection
The 10/100BaseT(X) ports located on the WDR-3124A’s front panel are used to connect to Ethernet-enabled devices. Below we show pinouts for both MDI (NIC-type) ports and MDI-X (HUB/Switch-type) ports.
MDI Port Pinouts | |
Pin | Signal |
| 1 | Tx+ |
2 | Tx- |
| 3 | Rx+ |
6 | Rx- |
MDI-X Port Pinouts | |
1 | Rx+ |
2 | Rx- |
| 3 | Tx+ |
| 6 | Tx- |
8-pin RJ45
1000BaseT Ethernet Port Connection
1000BaseT data is transmitted on differential TRD+/- signal pairs over copper wires.
MDI/MDI-X Port Pinouts
Pin | Signal |
| 1 | TRD(0)+ |
2 | TRD(0)- |
| 3 | TRD(1)+ |
4 | TRD(2)+ |
| 5 | TRD(2)- |
6 | TRD(1)- |
| 7 | TRD(3)+ |
8 | TRD(3)- |

RS-232 Connection
The WDR-3124A has one RS-232 (8-pin RJ45) console port located on the front panel. Use either an RJ45-to-DB9 or RJ45-to-DB25 cable to connect the WDR-3124A’s console port to your PC’s COM port. You may then use a console terminal program to access the WDR-3124A for console configuration.
Console Pinouts for 10-pin or 8-pin RJ45
10-Pin | Description | 8-Pin |
| 1 | – | – |
2 | DSR | 1 |
| 3 | RTS | 2 |
4 | GND | 3 |
| 5 | TxD | 4 |
6 | RxD | 5 |
| 7 | DCD | 6 |
8 | CTS | 7 |
| 9 | DTR | 8 |
10 | – | – |

NOTE The pin numbers for both 8-pin and 10-pin RJ45 connectors (and ports) are typically not labeled on the connector (or port). Refer to the Pinout diagram above to see how RJ45 pins are numbered.
LED Indicators
The front panel of the WDR-3124A contains several LED indicators. The function of each LED is described in the table below.
| LED | Color | State | Description |
Front Panel LED Indicators (System) | |||
| PWR1 | Green | On | Power is being supplied from power input 1 |
| Off | Power is not being supplied from power input 1. | ||
| PWR2 | Green | On | Power is being supplied from power input 2 |
| Off | Power is not being supplied from power input 2. | ||
| STATE | Green | On | System startup is complete and the system is operating |
| Blinking | Device has been located by the Wireless Search Utility | ||
| Off | Power is off, or the system is booting up | ||
| FAULT | Red | On | System configuration error or a relay event has occurred |
| Blinking (fast) | (Blinking interval: 0.5 sec) IP address conflict. | ||
| Blinking (slow) | (Blinking interval: 1 sec) Cannot get an IP address from a DHCP server. | ||
| Off | Power is off, or there is no error condition. | ||
| CELLULAR SIGNAL (3 LEDs) | Green | On | Number of LEDs to indicate cellular signal level when connected to a cellular network with an IP address. Signal LED 1: 0 < RSSI <= 12 Signal LED 2: 12 < RSSI <= 20 Signal LED 3: 20 < RSSI <= 31 |
| WIFI SIGNAL (3 LEDs) | Green | On/Off | WiFi signal level (Client-Router mode only) Signal LED 1: 0 < SNR <= 23 Signal LED 2: 23 < SNR <= 47 Signal LED 3: 47 < SNR |
| SIM1 | Amber | On/Off | SIM 1 is active or inactive |
| Blinking | SIM 1 is not inserted or PIN code is incorrect | ||
| SIM2 | Amber | On/Off | SIM 2 is active or inactive |
| Blinking | SIM 2 is not inserted or PIN code is incorrect | ||
| 2G | Amber | On | Registered to a base station with cellular connection in GPRS or EDGE mode |
| 3G | Amber | On | Registered to a base station with cellular connection in UMTS or HSPA mode |
| GPS | Green | On | GPS has been located |
| Blinking | Locating GPS or less than four satellites have been located. | ||
| Off | GPS has not been located | ||
LAN Port LED Indicators (Port Interface) | |||
| 1000M | Green | On | 1000Mbps link is active |
| Blinking | Data is being transmitted at 1000Mbps | ||
| Off | 1000Mbps link is inactive | ||
| 10/100M | Amber | On | 10/100Mbps link is active |
| Blinking | Data is being transmitted at 10/100Mbps | ||
| Off | 10/100Mbps link is inactive | ||
Specifications
| Cellular Interface | |
| Standards | GSM/GPRS/EDGE/UMTS/HSPA |
| Band Options | WDR-3124A-EU/US: Five band UMTS/HSPA 800/850/900/1900/2100 MHz WDR-3124A-EU/US: Quad-band GSM/GPRS/EDGE 850/900/1800/1900 MHz |
| HSPA Data Rate | Downlink: Up to 14.4 Mbps Uplink: Up to 5.76 Mbps (category 6, 7) |
| GPRS Data Rate | Downlink/Uplink: 236 kbps (class 12) |
| SMS | Point-to-point MT and MO PDU mode |
| Interface | |
| Cellular Antenna Connectors | 1 SMA (female) for WCDMA |
| Wireless Antenna Connectors | 2 RP-SMA (female) |
| GNSS (GPS+GLONASS) | 1 SMA (female), GPS: 1575.42 MHz GLONASS: 1602 MHz |
| SIM Slots | Dual SIM card support |
| Ethernet | 4, 10/100/1000Mbps auto negotiation speed, F/H duplex mode and auto MDI/MDI-X connection (RJ45-type) |
| Serial Console Port | 1, RS-232 (RJ45-type) |
| LED Indicators | PWR1, PWR2, STATE, FAULT, CELLULAR SIGNAL, WIFI SIGNAL, WLAN, SIM1, SIM2, 2G, 3G, GPS |
| Alarm Contact | 1 relay output with current carrying capacity of 1 A @n 24 VDC |
| Digital Inputs | 2 electrically isolated inputs +13 to +30 V for state “1” +3 to -30 V for state “0” |
| Ground Screw | M5 |
| Reset Button | Power Reset/Factory Default Reset |
| WLAN Interface | |
| Standards | IEEE 802.11a/b/g/n for Wireless LAN IEEE 802.11i for Wireless Security |
| Spread Spectrum and Modulation (typical) | DSSS with DBPSK, DQPSK, CCK OFDM with BPSK, QPSK, 16QAM, 64QAM 802.11b: CCK @ 11/5.5 Mbps DQPSK @ 2 Mbps DBPSK @ 1 Mbps 802.11a/g: 64QAM @ 54/48 Mbps 16QAM @ 36/24 Mbps QPSK @ 18/12 Mbps BPSK @ 9/6 Mbps 802.11n: 64QAM @ 300 Mbps to BPSK @ 6.5 Mbps (multiple rates supported) |
| Operating Channels (central frequency) | WDR-3124A-EU: 2.412 to 2.472 GHz (13 channels) 5.180 to 5.240 (4 channels) WDR-3124A-US: 2.412 to 2.462 GHz (11 channels) 5.180 to 5.240 (4 channels) 5.745 to 5.825 GHz (5 channels) |
| Security | SSID broadcast enable/disable 64-bit and 128-bit WEP encryption, WPA/WPA2-Personal and Enterprise (IEEE 802.1X/RADIUS and AES) |
| Transmission Rates | 802.11b: 1, 2, 5.5, 11 Mbps 802.11a/g: 6, 9, 12, 18, 24, 36, 48, 54 Mbps 802.11n: 6.5 to 300 Mbps (multiple rates supported) |
| TX Transmit Power | 2.4GHz 802.11b: Typ. 23±1.5 dBm @ 1 Mbps Typ. 20±1.5 dBm @ 5 Mbps Typ. 19±1.5 dBm @ 11 Mbps 802.11g: Typ. 20±1.5 dBm @ 6 to 24 Mbp Typ. 19±1.5 dBm @ 36 Mbps Typ. 18±1.5 dBm @ 48 Mbp Typ. 17±1.5 dBm @ 54 Mbps 802.11n: MCS0, 8@20 MHz: Typ. 20 dBm (± 1.5 dBm) MCS7, 15@20 MHz: Typ. 16 dBm (± 1.5 dBm) MCS0, 8@40 MHz: Typ. 20 dBm (± 1.5 dBm) MCS7, 15@40 MHz: Typ. 16 dBm (± 1.5 dBm) 5GHz 802.11a: Typ. 20±1.5 dBm @ 6 to 24 Mbps Typ. 19±1.5 dBm @ 36 Mbps Typ. 16±1.5 dBm @ 48 Mbps Typ. 15±1.5 dBm @ 54 Mbps 802.11n: MCS0, 8@20 MHz: Typ. 19 dBm (± 1.5 dBm) MCS7, 15@20 MHz: Typ. 14 dBm (± 1.5 dBm) MCS0, 8@40 MHz: Typ. 18 dBm (± 1.5 dBm) MCS7, 15@40 MHz: Typ. 14 dBm (± 1.5 dBm) |
| RX Sensitivity | 2.4GHz 802.11b: -92 dBm @ 1 Mbps -90 dBm @ 2 Mbps -88 dBm @ 5.5 Mbps -84 dBm @ 11 Mbps 802.11g: -87 dBm @ 6 Mbps -86 dBm @ 9 Mbps -85 dBm @ 12 Mbps -82 dBm @ 18 Mbps -80 dBm @ 24 Mbps -76 dBm @ 36 Mbps -74 dBm @ 48 Mbps -72 dBm @ 54 Mbps 802.11n: -69 dBm @ MCS15 20MHz -71 dBm @ MCS7 20MHz 5GHz 802.11a: -87 dBm @ 6 Mbps -86 dBm @ 9 Mbps -85 dBm @ 12 Mbps -82 dBm @ 18 Mbps -80 dBm @ 24 Mbps -76 dBm @ 36 Mbps -74 dBm @ 48 Mbps -72 dBm @ 54 Mbps 802.11n: -68 dBm @ MCS15 40MHz -69 dBm @ MCS15 20MHz -70 dBm @ MCS7 40MHz -71 dBm @ MCS7 20MHz |
| LAN Interface | |
| Standards | IEEE 802.3 for 10BaseT IEEE 802.3u for 100BaseTX IEEE 802.3ab for 1000BaseT |
| Speed | 10/100/1000Mbps auto negotiation speed |
| Software | |
| Network Protocol | ICMP, TCP/IP, UDP, DHCP, Telnet, DNS, SNMP, HTTP, HTTPS, SMTP, SNTP, ARP, Radius |
| Routing/Firewall | NAT, Port Forwarding, IP/MAC/Port Filtering |
| VPN | Max. Tunnel Number: 5 (Responder/Initiator) IP Sec (DES, 3DES, AES, MD5, SHA-1, DH2, DH5), PSK/X.509/RSA |
| Management Options | Remote SMS Control, SNMPv1/v2c/v3, Web/Telnet/Serial Console |
| GPS | NMEA |
| Others | DDNS |
| Software (Moxa Proprietary) | |
| Guaran Link | 3-tier heart-beat for reliable and persistent cellular connectivity |
| Wireless Central Management | Large scale centralized device management over private cellular IPs |
| Search Utility | Simple device configuration and management |
| Physical Characteristics | |
| Housing | Metal casing for high EMC-level, providing IP30 protection |
| Mounting | DIN-rail (default) or wall-mount (optional) |
| Weight | 1280 g |
| Dimension | 67 x 90.5 x 124 mm (2.6 x 3.52 x 4.83 inch) |
| Installation | DIN-rail mounting, wall mounting (with optional kit) |
| Environmental Limits | |
| Operating Temperature | Standard models: 0 to 55°C (32 to 131°F) Wide temperature models: -30 to 70°C (-22 to 158°F) |
| Storage Temperature | -40 to 85°C (-40 to 185°F) |
| Ambient Relative Humidity | 5 to 95% (30°C, non-condensing) |
| Power Requirements | |
| Input Voltage | 12 to 48 VDC, redundant dual DC power inputs |
| Connector | 4-pin removable terminal block |
| Power Consumption | 9.6 W (12 V/0.7 A to 48 V/0.2 A) |
| Reverse Polarity Protection | Present |
| Standards and Certifications | |
| Safety | UL 60950-1, EN 60950-1 |
| EMC | EN 301 489-1, EN 301 489-7 EN 301 489-17, EN 301 489-24 FCC Part 15 Subpart B EN 61000-6-2/-4 |
| Radio | EN 301 511, EN 301 908 EN 300 328, EN 301 893 |
| Reliability | |
| MTBF | 382,851 hours |
| Warranty | |
| Warranty Period | 5 years |
| Details | See www.moxa.com/support/warranty.aspx |
ATTENTION
The WDR-3124A is NOT a portable mobile device and should be located at least 20 cm away from the human body. The WDR-3124A is NOT designed for the general public. To deploy WDR-3124A units and establish a wireless network safely, a well-trained technician should do the installation.
ATTENTION
Use the antennas correctly: Wide-band (2G/3G) antennas are needed for the WDR-3124A to operate in a cellular network. The 2.4 GHz antennas are needed when the WDR-3124A operates in IEEE 802.11b/g/n. The 5 GHz antennas are needed for IEEE802.11a/n. Make sure that your antenna installation is within a safety area, which is covered by a lightning protection or surge arrest system.
ATTENTION
This device complies with part 15 of the FCC Rules. Operation is subject to the following two conditions:
- This device may not cause harmful interference, and
- This device must accept any interference received, including interference that may cause undesired operation.
ATTENTION
Do not locate the antenna near overhead power lines or other electric light or power circuits, or where it can come into contact with such circuits. When installing the antenna, take extreme care not to come into contact with such circuits, because they may cause serious injury or death. For proper installation and grounding of the antenna, refer to national and local codes (for example, U.S.:NFPA 70, National Electrical Code, Artical810, Canada: Canadian Electrical Code, Section 54).



















