
30″ Industrial Style Gas Range
800 Series - Stainless Steel HGS8055UC

HGS8055UC Stainless Steel
Also available in:
Black : HGS8045UC
Stainless
Steel
First 30″ Bosch Industrial Style Range with double ring burner.
Features & Benefits
- Powerful 18,000 BTU double ring burner speeds cooking time.
- Dishwasher-safe grates for easy cleaning.
- Dampened hinges softly and quietly guide the door shut.
- Heavy-duty metal knobs for a premium look and feel.
- Continuous grate design to easily move heavy pots and pans.
General Properties
| Cooking modes | Bake, Convection Bake, Broil |
| Cleaning type | Catalytic Clean |
| Type of grate | Cast iron |
| Knob material | Metal |
| Interior light | 1 |
| Kitchen timer | Yes |
| Drawer type | Not available |
| Sealed burners | Yes |
Oven Performance
| Bake / broil burner power BTU | 17,000 / 11,500 BTU |
Burner Performance
| Total cooktop burners | 5 |
| Total cooktop (NG / LP) BTU | 48,000 / 48,000 |
| Power of front left burner (NG / LP) BTU | 5,000 / 5,000 |
| Power of back left burner (NG / LP) BTU | 10,000 / 10,000 |
| Power of center burner (NG / LP) BTU | 18,000 / 18,000 |
| Power of back right burner (NG / LP) BTU | 5,000 / 5,000 |
| Power of front right burner (NG / LP) BTU | 10,000 / 10,000 |
Technical Details
| Circuit breaker (A) | 15 A |
| Volts (V) | 120 V |
| Frequency (Hz) | 60 Hz |
| Plug type | US 3-prong |
| Cord length (in.) | 59″ with plug |
| Energy source | Gas |
| Gas type | Natural gas 14.9 mbar (USA) [7″ WC] |
| Alternative gas type | LP 27.4 mbar (USA)[11″ WC] |
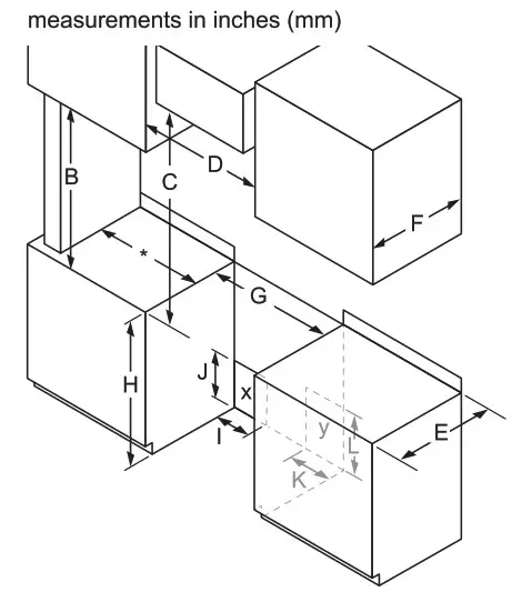
Installation Details

* Front of Bull Nose to Back Wall Spacer

X = Grounded Outlet
Y = Gas Supply Line
B minimum 18″ (457 mm)
C minimum 30″ (762 mm) clearance between the top of the cooking surface and the bottom of the unprotected wood or metal cabinet
D 30″: minimum 30″ (762 mm)
36″: minimum 36″ (914 mm)
E minimum 25″ (635 mm)
F maximum 13″ (330 mm)
G 30″: minimum 30″ (762 mm) 36″: minimum 36″ (914 mm) Zero clearance between adjacent combustible construction below the countertop surface and sides of the appliance.
H 35″6/16 – 36″10/16 (898 – 930 mm)
I 11″ (279 mm)
J 7″ (178 mm)
K 6″ (150 mm) L 11″ (279 mm)
* Minimum clearance of >= 12″ (305 mm) on one and >= 28″ (711 mm) on the other side from cutout to side walls.

Accessories: To purchase Bosch accessories, cleaners & parts please visit www.bosch-home.com/us/store or call 1-800-944-2904 (Mon to Fri 5 am to 6 pm PST, Sat 6 am to 3 pm PST).
Notes: All height, width, and depth dimensions are shown in inches. BSH reserves the absolute and unrestricted right to change product materials and specifications, at any time, without notice. Consult the product’s installation instructions for final dimensional data and other details prior to making cutout.
Warranties: Please see Use & Care manual or Bosch website for statement of limited warranty.
For more information on our entire line of products, go to www.bosch-home.com/us or call 1-800-944-2904
© BSH Home Appliances Corporation. All rights reserved. Bosch is a registered trademark of Robert Bosch GmbH.

















