JENNAIR JDS1750ML Slide In Gas Range

IMPORTANT: Dimensional specifications are provided for planning purposes only.
Do not make any cutouts based on this information. Refer to the Owner’s Manual before selecting cabinetry, verifying electrical/gas connections, making cutouts or beginning installation.
| APPLIANCE: | 30″ DUAL FUEL RANGES | ||
| Units | in | cm | |
| A | Depth Closed Excluding Handle | 2713⁄16 | 70.6 |
| B | Depth Closed Including Handle | 287⁄8 | 73.4 |
| C | Depth Excluding Doors | 2713⁄16 | 70.6 |
| D | Depth with Door Open 90o | 4813⁄16 | 124 |
| E | Maximum Height | 381⁄4 | 97.1 |
| E | Minimum Height | 371⁄4 | 94.6 |
| F | Width | 297⁄8 | 75.9 |
- ANGLED VIEW

- SIDE VIEW

Location Requirements
IMPORTANT: Observe all governing codes and ordinances. Do not obstruct flow of combustion and ventilation air.
- It is the installer’s responsibility to comply with installation clearances specified on the model/serial/rating plate. The model/serial/rating plate is located behind the oven door on the top right-hand side of the oven frame.
- The range should be located for convenient use in the kitchen.
- Recessed installations must provide complete enclosure of the sides and rear of the range.
- All openings in the wall or floor where range is to be installed must be sealed.
- Cabinet opening dimensions that are shown must be used. Given dimensions are minimum clearances.
- The anti-tip bracket must be installed. To install the anti-tip bracket shipped with the range, see “Install Anti-Tip Bracket” section in the Owner’s Manual.
- Grounded electrical supply is required. See the appropriate “Electrical Requirements” section in the Owner’s Manual.
- Proper gas supply connection must be available. See “Gas Supply Requirements” section in the Owner’s Manual.
- Contact a qualified floor covering installer to check that the floor covering can withstand at least 200°F (93°C).
- Use an insulated pad or 1/4″ (6.4 mm) plywood under range if installing range over carpeting.
IMPORTANT: To avoid damage to your cabinets, check with your builder or cabinet supplier to make sure that the materials used will not discolor, delaminate or sustain other damage. This oven has been designed in accordance with the requirements of UL and CSA International and complies with the maximum allowable wood cabinet temperatures of 194°F (90°C)
Mobile Home – Additional Installation Requirements
The installation of this range must conform to the Manufactured Home Construction and Safety Standard, Title 24 CFR, Part 3280 (formerly the Federal Standard for Mobile Home Construction and Safety, Title 24, HUD Part 280). When such standard is not applicable, use the Standard for Manufactured Home Installations, ANSI A225.1/NFPA 501A or with local codes.
In Canada, the installation of this range must conform with the current standards CAN/CSA Z240.1 – latest edition, or with local codes.
Mobile Home Installations Require:
- When this range is installed in a mobile home, it must be secured to the floor during transit. Any method of securing the range is adequate as long as it conforms to the standards listed above.
- Four-wire power supply cord or cable must be used in a mobile home installation. The appliance wiring will need to be revised. See “Electrical Connection – U.S.A. Only” section in the Owner’s Manual.
Cabinet Dimensions
Cabinet opening dimensions shown are for 25″ (64.0 cm) countertop depth, 24″ (61.0 cm) base cabinet depth and 36″ (91.4 cm) countertop height.
IMPORTANT: If installing a range hood or microwave hood combination above the cooking surface, follow the range hood or microwave hood combination installation instructions for dimensional clearances above the cooktop surface.
NOTE: When installed in a slide-in cutout, the front of oven door may protrude beyond the base cabinet.
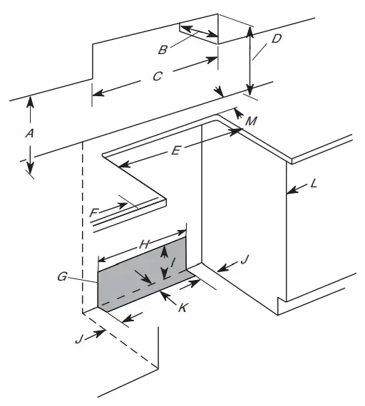
Slide-in Cutout
A. 18″ (45.7 cm) upper side cabinet to countertop
B. 13″ (33 cm) maximum upper cabinet depth
C. 30″ (76.2 cm) minimum opening width
D. For minimum clearance to top of cooktop, see NOTE*
E. 30″ (76.2 cm) minimum opening width
F. 5″ (12.7 cm) minimum clearance from both sides of range to side wall or other combustible material
G. The shaded area is recommended for installation of rigid gas pipe and grounded outlet
H. 131 /8″ (33.3 cm)
I. 711/16″ (19.5 cm)
J. 413/16″ (12.2 cm)
K. 311/16″ (9.4 cm) plus measurement of M
L. Cabinet door or hinges should not extend into the cutout.
M. Remaining counter depth should not exceed 21 /4″ (5.7 cm)

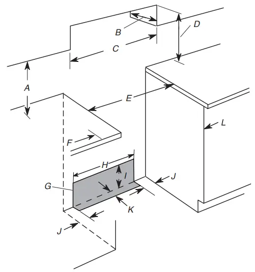
Freestanding Cutout
A. 18″ (45.7 cm) upper side cabinet to countertop
B. 13″ (33 cm) maximum upper cabinet depth
C. 30″ (76.2 cm) minimum opening width
D. For minimum clearance to top of cooktop, see NOTE*
E. 30″ (76.2 cm) minimum opening width
F. 5″ (12.7 cm) minimum clearance from both sides of range to side wall or other combustible material
G. The shaded area is recommended for installation of rigid gas pipe and grounded outlet
H. 131 /8″ (33.3 cm)
I. 711/16″ (19.5 cm)
J. 413/16″ (12.2 cm)
K. 311/16″ (9.4 cm)
L. Cabinet door or hinges should not extend into the cutout

NOTE: 24″ (61.0 cm) minimum when bottom of wood or metal cabinet is shielded by not less than 1/4″ (6.4 mm) flame retardant millboard covered with not less than No. 28 MSG sheet steel, 0.015″ (0.4 mm) stainless steel, 0.024″ (0.6 mm) aluminum or 0.020″
(0.5 mm) copper. 30″ (76.2 cm) minimum clearance between the top of the cooking platform and the bottom of an uncovered wood or metal cabinet.
Electrical Requirements – U.S.A. Only
![]() |
![]() |
| Electrical Shock Hazard Electrically ground range. Failure to do so can result in death, fire, or electrical shock |
If codes permit and a separate ground wire is used, it is recommended that a qualified electrical installer determine that the ground path and wire gauge are in accordance with local codes.
Do not use an extension cord.
Be sure that the electrical connection and wire size are adequate and in conformance with the National Electrical Code, ANSI/ NFPA 70-latest edition and all local codes and ordinances.
A copy of the above code standards can be obtained from:
National Fire Protection Association
1 Batterymarch Park
Quincy, MA 02169-7471
WARNING: Improper connection of the equipment-grounding conductor can result in a risk of electric shock. Check with a qualified electrician or service technician if you are in doubt as to whether the appliance is properly grounded. Do not modify the power supply cord plug. If it will not fit the outlet, have a proper outlet installed by a qualified electrician.
Electrical Connection
To properly install your range, you must determine the type of electrical connection you will be using and follow the instructions provided for it here.
- Range must be connected to the proper electrical voltage and frequency as specified on the model/serial/rating plate. The model/serial/rating plate is located behind the oven door on the top right-hand side of the oven frame.

A. Model/serial/rating plate (located behind the oven door on the top right-hand side of the oven frame)
| Range Rating* | Specified Rating of Power Supply Cord Kit and Circuit Protection | |
| 120/240 V | 120/208 V | Ampere |
| 8.8-16.5 kW | 7.8-12.5 kW | 40 or 50** |
| 16.6-22.5 kW | 12.6-18.5 kW | 50 |
*The NEC calculated load is less than the total connected load listed on the model/serial/rating plate.
**If connecting to a 50 A circuit, use a 50 A rated cord with kit. For 50 A rated cord kits, use kits that specify use with a nominal
13 ⁄8″(3.5 cm) diameter connection opening.
- A circuit breaker is recommended.
- The range can be connected directly to the circuit breaker box (or fused disconnect) through flexible or nonmetallic sheathed, copper or aluminum cable. See the “Electrical Connection – U.S.A. Only” section in the Owner’s Manual.
- Allow at least 6 ft (1.8 m) of slack in the line so that the range can be moved if servicing is ever necessary.
- A UL listed conduit connector must be provided at each end of the power supply cable (at the range and at the junction box).
- Wire sizes and connections must conform with the rating of the range.
- This range is equipped with a CSA International Certified Power Cord intended to be plugged into a standard 14-50R wall receptacle. Be sure the wall receptacle is within reach of range’s final location.

- Do not use an extension cord.
Electrical Requirements – Canada Only
![]() |
![]() |
| Electrical Shock Hazard Electrically ground range. Failure to do so can result in death, fire, or electrical shock. |
If codes permit and a separate ground wire is used, it is recommended that a qualified electrical installer determine that the ground path and wire gauge are in accordance with local codes.
Be sure that the electrical connection and wire size are adequate and in conformance with CSA Standard C22.1, Canadian Electrical Code, Part 1 – latest edition, and all local codes and ordinances.
A copy of the above code standards can be obtained from:
Canadian Standards Association
178 Rexdale Blvd.
Toronto, ON M9W 1R3 CANADA
- Check with a qualified electrical installer if you are not sure the range is properly grounded.
| Range Rating* | Specified Rating of Power Supply Cord Kit and Circuit Protection | |
| 120/240 V | 120/208 V | Ampere |
| 8.8-16.5 kW | 7.8-12.5 kW | 40 or 50** |
| 16.6-22.5 kW | 12.6-18.5 kW | 50 |
*The NEC calculated load is less than the total connected load listed on the model/serial/rating plate.
**If connecting to a 50 A circuit, use a 50 A rated cord with kit.
For 50 A rated cord kits, use kits that specify use with a nominal 13 ⁄8″ (3.5 cm) diameter connection opening.
- A circuit breaker is recommended.
- This range is equipped with a CSA International Certified Power Cord intended to be plugged into a standard 14-50R wall receptacle. Be sure the wall receptacle is within reach of range’s final location.

- Do not use an extension cord.
Gas Supply Requirements
![]() |
![]() |
| Use a new CSA International approved gas supply line. Install a shut-off valve. Securely tighten all gas connections. If connected to propane, have a qualified person make sure gas pressure does not exceed 14″ (36 cm) water column. Examples of a qualified person include: licensed heating personnel, authorized gas company personnel, and authorized service personnel. Failure to do so can result in death, explosion, or fire. |
Observe all governing codes and ordinances.
IMPORTANT: This installation must conform with all local codes and ordinances. In the absence of local codes, installation must conform with the National Fuel Gas Code ANSI Z223.1/NFPA 54 or, in Canada, the Natural Gas and Propane Installation Code, CSA B149.1 – latest edition.
IMPORTANT: Leak testing of the range must be conducted according to the manufacturer’s instructions. See the “Make Gas Connection” section in the Owner’s Manual for leak testing instructions.
Type of Gas
Natural Gas:
- This range is factory set for use with Natural gas. If converting to propane gas, see “Gas Conversions” section in the Owner’s Manual. The model/serial rating plate located behind the control panel has information on the types of gas that can be used. If the types of gas listed do not include the type of gas available, check with the local gas supplier.
Propane Gas Conversion:
Conversion must be done by a qualified service technician.
No attempt shall be made to convert the appliance from the gas specified on the model/serial rating plate for use with a different gas without consulting the serving gas supplier. See “Gas Conversions” section in the Owner’s Manual.
Gas Supply Line
- Provide a gas supply line of 3/4″ (1.9 cm) rigid pipe to the range location. A smaller size pipe on longer runs may result in insufficient gas supply. With propane gas, piping or tubing size can be 1/2″ (1.3 cm) minimum. Usually, Propane gas suppliers determine the size and materials used in the system.
NOTE: Pipe-joint compounds that resist the action used. Do not use TEFLON®† tape
Flexible Metal Appliance Connector:
- If local codes permit, a new CSA design-certified, 4 to 5 ft (122 to 152.4 cm) long, 1/2″ (1.3 cm) or 3/4″ (1.9 cm) I.D., flexible metal appliance connector may be used for connecting range to the gas supply line.

- A 1/2″ (1.3 cm) male pipe thread is needed for connection to the female pipe threads of the inlet to the appliance pressure regulator.
- Do not kink or damage the flexible metal tubing when moving the range.
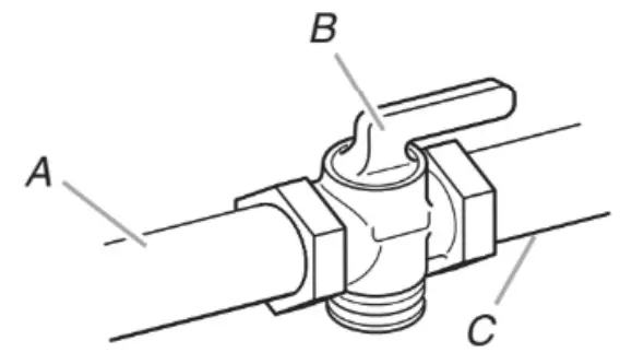
- Must include a shut-off valve:
Install a manual gas line shut-off valve in an easily accessible location. Do not block access to shut-off valve. The valve is for turning on or shutting off gas to the range.
A. Gas supply line
B. Shut-off valve “open” position
C. To range
Gas Pressure Regulator
The gas pressure regulator supplied with this range must be used. The inlet pressure to the regulator should be as follows for proper operation:
Natural Gas:
Minimum pressure: 5″ (12.7 cm) WCP
Maximum pressure: 14″ (35.6 cm) WCP
Propane Gas:
Minimum pressure: 11″ (27.9 cm) WCP
Maximum pressure: 14″ (35.6 cm) WCP
Contact local gas supplier if you are not sure about the inlet pressure.
Burner Input Requirements
Input ratings shown on the model/serial/rating plate are for elevations up to 2,000 ft (609.6 m).
For elevations above 2,000 ft (609.6 m), ratings are reduced at a rate of 4% for each 1,000 ft (304.8 m) above sea level (not applicable for Canada).
Gas Supply Pressure Testing
Gas supply pressure for testing regulator must be at least 1″ (2.5 cm) water column pressure above the manifold pressure shown on the model/serial rating plate
Line pressure testing above 1/2 psi (3.5 kPa) gauge [14″ (35.6 cm) WCP]
The range and its individual shutoff valve must be disconnected from the gas supply piping system during any pressure testing of that system at test pressures in excess of 1/2 psi (3.5 kPa)
Line pressure testing at 1/2 psi (3.5 kPa) gauge [14″ (35.6 cm) WCP] or lower
The range must be isolated from the gas supply piping system by closing its individual manual shutoff valve during any pressure testing of the gas supply piping system at test pressures equal to or less than 1/2 psi (3.5 kPa).
†TEFLON® is a registered trademark of Chemours.



























