MAYTAG MGS5770ADC Slide-In Gas Range Control

FEATURE GUIDE
WARNING: To reduce the risk of fire, electric shock, or injury to persons, read the IMPORTANT SAFETY INSTRUCTIONS, located in your appliance’s Owner’s Manual, before operating this appliance.
This manual covers several models. Your model may have some or all of the items listed. Refer to this manual or the Product Help section of our website at www.maytag.com for more detailed instructions. In Canada, refer to the Product Help section at www.maytag.ca
WARNING
Food Poisoning Hazard Do not let food sit for more than one hour before or after cooking. Doing so can result in food poisoning or sickness.




AquaLift® Self-Cleaning Technology

AquaLift® Self-Cleaning Technology is a first-of-its-kind cleaning solution designed to minimize the time, temperature, and odors that ordinarily come with traditional self-cleaning methods. With AquaLift® Self-Cleaning Technology, an innovative coating on the interior of the oven is activated with heat and water to release baked-on soil. To use AquaLift® Self-Cleaning Technology, simply wipe out loose debris, pour water into the oven bottom, and run the AquaLift® Self-Cleaning cycle. When the cycle finishes in under 1 hour at a lower temperature than in traditional self-cleaning methods, just wipe out the remaining water and loose debris. See the “Clean Cycle” section in the Owner’s Manual for more detailed instructions. For additional information, frequently asked questions and videos on using AquaLift® Self-Cleaning Technology, visit our website at http://whirlpoolcorp.com/aqualift
Surface Temperatures
When the range is in use, all range surfaces may become hot, such as the knobs and oven door.
Baking, Warming or Storage Drawer
When the oven is in use, the drawer may become hot. Do not store plastics, cloth, or other items that could melt or burn in the drawer.
Oven Vent
The oven vent releases hot air and moisture from the oven, and should not be blocked or covered. Do not set plastics, paper, or other items that could melt or burn near the oven vent.
Electronic Oven Controls
Control Display
The display will flash when powered up or after a power loss. Press CANCEL or CANCEL UPPER to clear. When the oven is not in use, the time of day is displayed. If the range is in Energy Save mode, the display will be blank when not in use.
Tones
Tones are audible signals, indicating the following:
One Tone
- Valid keypad press
- Oven is preheated (long tone)
- Function has been entered.
- Reminder, repeating each minute after the end-of-cycle tone
Three Tones
- Invalid keypad press
Four Tones
- End of cycle Use the Settings/Clock or Clock/Tools keypad to change the tone settings. Depending on your model.
Energy Save
The Energy Save mode puts the range into Sleep mode and reduces energy consumption.
To Activate the Energy Save Mode:
- Press SETTINGS/CLOCK or CLOCK/TOOLS until “ENERGY SAVE” is displayed.
- The current setting will be displayed.
- Press the “1” keypad to adjust the setting.
- Press CANCEL to exit and display the time of day.
- The setting will be activated after 5 minutes.
To Deactivate the Energy Save Mode:
- Press SETTINGS/CLOCK or CLOCK/TOOLS until “ENERGY SAVE” is displayed.
- The current setting will be displayed.
- Press the “1” keypad to adjust the setting.
- Press CANCEL to exit and display the time of day.
- The clock will reappear in the display and the range can be operated as usual.
Settings
Many features of the oven control can be adjusted to meet your personal needs. These changes are made using the Settings/Clock or Clock/Tools keypad.
Use the Settings/Clock or Clock/Tools keypad to scroll through the features that can be changed. Each press of the Settings/Clock or Clock/Tools keypad will advance the display to the next setting. After selecting the feature to be changed, the control will prompt you for the required input. Then press STARTor CANCEL/CANCEL UPPER to exit and display the time of day. Details of all of the feature changes are explained in the following sections.
Press CANCEL/CANCEL UPPER to exit Settings.
Clock
The Clock can use a 12- or 24-hour cycle.
- Press SETTINGS/CLOCK or CLOCK/TOOLS until “CLOCK” is displayed.
- Use the number keypads to set the time of day.
- Press START to change the time.
- Press “3” for AM or “6” for PM.
Fahrenheit and Celsius
The temperature is preset to Fahrenheit but can be changed to Celsius.
- Press SETTINGS/CLOCK or CLOCK/TOOLS until “TEMP UNIT” is displayed.
- The current setting will be displayed.
- Press the “1” keypad to adjust the setting.
- Press STARTor CANCEL/CANCEL UPPER to exit and display the time of day.
Audible Tones Disable
Turns off all tones, including the end-of-cycle tone and keypress tones. Reminder tones are still active when all tones are disabled.
- Press SETTINGS/CLOCK or CLOCK/TOOLS until “SOUND” is displayed.
- The current setting will be displayed.
- Press the “1” keypad to adjust the setting.
- Press STARTor CANCEL/CANCEL UPPER to exit and display the time of day.
Sound Volume
Sets the volume of the tone to either high or low.
- Press SETTINGS/CLOCK or CLOCK/TOOLS until “SOUND VOLUME” is displayed.
- The current setting will be displayed.
- Press the “1” keypad to adjust the setting.
- Press STARTor CANCEL/CANCEL UPPER to exit and display the time of day.
End-of-Cycle Tone
Activates or turns off the tones that sound at the end of a cycle.
- Press SETTINGS/CLOCK or CLOCK/TOOLS until “END TONE” is displayed.
- The current setting will be displayed.
- Press the “1” keypad to adjust the setting.
- Press STARTor CANCEL/CANCEL UPPER to exit and display the time of day.
Keypress Tones
Activates or turns off the tones when a keypad is pressed.
- Press SETTINGS/CLOCK or CLOCK/TOOLS until “KEYPRESS TONE” is displayed.
- The current setting will be displayed.
- Press the “1” keypad to adjust the setting.
- Press STARTor CANCEL/CANCEL UPPER to exit and display the time of day.
Reminder Tones Disable
Turns off the short repeating tone that sounds every 1 minute after the end-of-cycle tones.
- Press SETTINGS/CLOCK or CLOCK/TOOLS until “REMINDER TONE” is displayed.
- The current setting will be displayed.
- Press the “1” keypad to adjust the setting.
- Press STARTor CANCEL/CANCEL UPPER to exit and display the time of day
Demo Mode
IMPORTANT: This feature is intended for use on the sales floor with 120 V power connection and permits the control features to be demonstrated without the oven turning on. If this feature is activated, the oven will not work.
- Press SETTINGS/CLOCK or CLOCK/TOOLS until “DEMO MODE” is displayed.
- The current setting will be displayed.
- Press the “1” keypad to adjust the setting.
- Press STARTor CANCEL/CANCEL UPPER to exit and display the time of day.
12/24 Hour Clock
- Press SETTINGS/CLOCK or CLOCK/TOOLS until “12/24 HOUR” is displayed.
- The current setting will be displayed.
- Press the “1” keypad to adjust the setting.
- Press STARTor CANCEL/CANCEL UPPER to exit and display the time of day.
Sabbath Mode
The Sabbath mode sets the oven to remain ON in a bake setting until turned off.
When the Sabbath mode is set, only the Bake cycle will operate. All other cooking and cleaning cycles are disabled. No tones will sound, and the displays will not indicate temperature changes.
When the oven door is opened or closed, the oven light will not turn on or off and the heating elements will not turn on
or off immediately.
To Enable Sabbath Mode Capability (One Time Only):
- Press SETTINGS/CLOCK or CLOCK/TOOLS until “SABBATH” is displayed.
- The current setting will be displayed.
- Press the “1” keypad to adjust the setting.
- Press STARTor CANCEL/CANCEL UPPER to exit and display the time of day.
12-Hour Shutoff
The oven control is set to automatically shut off the oven 12 hours after the oven initiates a cook or clean function. This will not interfere with any timed or delay cook functions.
- Press SETTINGS/CLOCK or CLOCK/TOOLS until “12Hr AUTO_OFF” is displayed.
- The current setting will be displayed.
- Press the “1” keypad to adjust the setting.
- Press STARTor CANCEL/CANCEL UPPER to exit and display the time of day.
Languages: Scrolling Display Text
Language options are English, Spanish, and French.
- Press SETTINGS/CLOCK or CLOCK/TOOLS until “LANGUAGE” is displayed.
- The current setting will be displayed.
- Press the “1” or “2” keypad to select the desired language.
- Press STARTor CANCEL/CANCEL UPPER to exit and display the time of day.
Oven Temperature Offset Control
IMPORTANT: Do not use a thermometer to measure oven temperature. Elements will cycle on and off as needed to provide consistent temperature but may run slightly hot or cool at any point in time due to this cycling. Most thermometers are slow to react to temperature change and will not provide an accurate reading due to this cycling The oven provides accurate temperatures; however, it may cook faster or slower than your previous oven, so the temperature can be adjusted to personalize it for your cooking needs. It can be changed to Fahrenheit or Celsius.
To Adjust Oven Temperature:
- Press SETTINGS/CLOCK or CLOCK/TOOLS until “TEMP CALIB” is displayed.
- On some models, press “1” to adjust the drawer temperature calibration. Press START, wait 10 seconds for the display to change, and then continue with Step 3. OR
Press START to adjust the oven temperature calibration. Wait 10 seconds for the display to change, and then continue with Step 3. - Press the “3” keypad to increase the temperature in 5°F (3°C) increments, or press the “6” keypad to decrease the temperature in 5°F (3°C) increments. The offset range is from – 30°F to +30°F (-18°C to +18°C).
- Press STARTor CANCEL/CANCEL UPPER to exit and display the time of day.
Surface Burners
IMPORTANT: Do not obstruct the flow of combustion and ventilation air around the burner grate edges.
Burner cap: Always keep the burner cap in place when using a surface burner. A clean burner cap will help avoid poor ignition and uneven flames. Always clean the burner cap after a spillover and routinely remove and clean the caps according to the “General Cleaning” section in the Owner’s Manual.
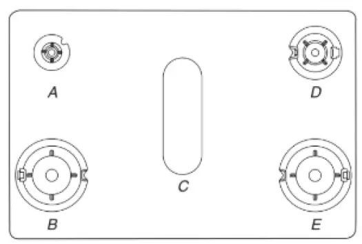
NOTE: Each round burner base is marked with a letter indicating the burner size.
Alignment: Be sure to align the gas tube opening in the burner base with the orifice holder on the cooktop and the igniter electrode with the notch in the burner base.

- Burner cap
- Gas tube opening
- Burner base
- Igniter electrode
- Orifice holder
Gas tube opening: Gas must flow freely throughout the gas tube opening for the burner to light properly. Keep this area free of soil and do not allow spills, food, cleaning agents, or any other material to enter the gas tube opening. Keep spillovers out of the gas tube opening by always using a burner cap.

- 1-1 1/2″ (2.5-3.8 cm)
- Burner ports
Burner Ports: Check burner flames occasionally for proper size and shape as shown in the previous illustration. A good flame is blue in color, not yellow. Keep this area free of soil and do not allow spills, food, cleaning agents or any other material to enter the burner ports.
To Clean:
IMPORTANT: Before cleaning, make sure all controls are OFF and the cooktop is cool. Do not use oven cleaners, bleach, or rust removers. Do not wash in the dishwasher.
- Remove the burner cap and the burner base and clean according to the “General Cleaning” section in the Owner’s Manual.
- Clean the gas tube opening with a damp cloth.
- Clean clogged burner ports with a straight pin as shown. Do not enlarge or distort the port. Do not use a wooden toothpick. If the burner needs to be adjusted, contact a trained repair specialist.

- Replace the burner base. Each round burner base is marked with a letter indicating the burner size. See the following illustration for burner positions.

Small (Auxiliary)
Large (Ultra Rapid)
Oval (OV)
Medium (Semi Rapid)
Large (Ultra Rapid) - Each round burner cap is marked with a letter indicating the burner size. Replace the burner cap, making sure it is properly aligned with the burner base. The burner cap should not rock or wobble when properly aligned.
Incorrect
Correct
IMPORTANT: The bottom of the small and medium caps are different. Do not put the wrong size burner cap on the burner base.
- Turn on the burner. If the burner does not light, check cap alignment. If the burner still does not light, turn off the burner. Do not service the burner yourself. Contact a trained repair specialist.
Surface Grates
The grates must be properly positioned before cooking. In the proper position, the grates should be flush and level. Improper installation of the grates may result in chipping or scratching of the cooktop. To ensure proper positioning, align bumpers on grate bottom with the indentations in the cooktop. The surface grates interlock using the hook on one end of the grate and the indent on the other. To remove the grates, lift the rear of the left grate off the hook, and then lift the front of the right grate off the hook and pull apart. To replace the grates, replace the left grate first. Place the front indent of the right grate over the hook of the left grate, and then lift the rear of the left grate and place the indent over the hook on the right grate.

- Hook
- Indent
Although the burner grates are durable, they will gradually lose their shine and/or discolor due to the high temperatures of the gas flame.
Cookware
IMPORTANT: Do not leave empty cookware on a hot surface cooking area, element or surface burner.
Ideal cookware should have a flat bottom, straight sides and a well-fitting lid, and the material should be of medium-to-heavy thickness. Rough finishes may scratch the cooktop or coils. Aluminum and copper may be used as a core or base in cookware. However, when used as a base they can leave permanent marks on the surfaces. Cookware material is a factor in how quickly and evenly heat is transferred, which affects cooking results. A nonstick finish has the same characteristics as its base material. For example, aluminum cookware with a nonstick finish will take on the properties of aluminum. Cookware with nonstick surfaces should not be used under the broiler. Check for flatness by placing the straight edge of a ruler across the bott m of the cookware. While you rotate the ruler, no space or light should be visible between it and the cookware.

Use the following chart as a guide for cookware material characteristics.

Use flat-bottomed cookware for best cooking results and energy efficiency. The cookware should be about the same size as the cooking area outlined on the cooktop. Cookware should not extend more than 1/2″ (1.3 cm) outside the area.

Home Canning
When canning for long periods, alternate the use of surface burners between batches. This allows time for the most recently used areas to cool.
- Center the canner on the grate above the burner.
- Do not place canner on 2 surface burners at the same time.
- For more information, contact your local agricultural extension office or refer to published home canning guides. Companies that manufacture home canning products can also offer assistance.
OVEN USE
Odors and smoke are normal when the oven is used the first few times or when it is heavily soiled.
IMPORTANT: The health of some birds is extremely sensitive to the fumes given off. Exposure to the fumes may result in death to certain birds. Always move birds to another closed and well ventilated room.
Positioning Racks and Bakeware
Use the following illustrations and chart as a guide.

The oven has seven positions for a flat rack, as shown in the previous illustration and the following table.

IMPORTANT: If your model has a Max Capacity Oven Rack, the recessed ends must be placed in the rack position above the desired position of the food. See the following illustration.

- Ends of rack in position 3
- Food in position 2
IMPORTANT: These rack positions are for flat racks. If a Max Capacity Oven Rack is used, the rack position must be adjusted as shown in the previous figure.
Bakeware
To cook food evenly, hot air must be able to circulate. Allow 2″ (5 cm) of space around bakeware and oven walls. Make sure that no bakeware piece is directly over another.
Multiple Rack Cooking
- Two-rack (non-convection): Use rack positions 2 and 5 or 3 and 6.
- Two-rack (convection): Use rack positions 2 and 5 or 3 and 6.
- Three-rack (convection): Use rack positions 2 and 7 and a Max Capacity Oven Rack in rack position 5.
Sabbath Mode
The Sabbath mode sets the oven to remain on in a bake setting until turned off. When the Sabbath mode is set, only the Bake cycle will operate. All other cooking and cleaning cycles are disabled. No tones will sound, and the display will not indicate temperature changes. When the oven door is opened or closed, the oven light will not turn on or off and the heating elements will not turn on or off immediately.
To Enable Sabbath Mode Capability (One Time Only):
- Press SETTINGS/CLOCK until “SABBATH” is displayed. “OFF. Press (1) for On” will scroll in the display.
- Press the “1” keypad. “ON. Press (1) for Off” will scroll in the display. Sabbath mode can be activated for baking.
- Press STARTor CANCEL to exit and display the time of day. NOTE: To disable the Sabbath mode, repeat steps 1 through 3 to change the status from “SABBATH ON”
to “SABBATH OFF.”
To Activate Sabbath Mode:
- Press BAKE.
- Press the number keypads to set a temperature other than 350°F (177°C).
- Press START. For timed cooking in Sabbath Mode, press COOK TIME and then the number keypads to set the desired cook time. Press START.
- Press SETTINGS/CLOCK. Three tones will sound. Then press “7.” “SAb” will appear in the display.
To Adjust Temperature (When Sabbath Mode is Running):
- Press the number keypad as instructed by the scrolling text to select the new temperature. NOTE: The temperature adjustment will not appear on the display, and no tones will sound. The scrolling text will be shown on the display as it was before the keypad was pressed.
- Press START.
To Deactivate Sabbath Mode:
Press SETTINGS/CLOCK, and then press “7” to return to regular baking, or press CANCEL to turn off the range.
NOTE: No tones will sound while deactivating Sabbath mode.
Baking and Roasting
Preheating
When beginning a Bake, Convect Bake, or Convect Roast cycle, the oven will begin preheating after Start is pressed. The oven will take approximately 12 to 15 minutes to reach 350°F (177°C) with all of the oven racks provided with your oven inside the oven cavity. Higher temperatures will take longer to preheat. The preheat cycle rapidly increases the oven temperature. The actual oven temperature will go above your set temperature to offset the heat lost when your oven door is opened to insert food. This ensures that when you place your food in the oven, the oven will begin at the proper temperature. Insert your food when the preheat tone sounds. Do not open the door during preheat before the tone sounds.
Power Preheat
Power Preheat can be used to shorten the preheating time. Only one standard flat rack should be in the oven during Power Preheat. Extra racks should be removed prior to starting Power Preheat. Press POWER PREHEAT and follow the oven control prompts, or, if preheating has already started, simply press POWER PREHEAT. The preheating cycle should be completed before placing food in the oven and should be used only for one-rack baking. When the power preheat cycle is complete, the oven starts a normal Bake cycle.
IMPORTANT: Power Preheat should be used only for one-rack baking.
Oven Temperature
While in use, the oven elements will cycle on and off as needed to maintain a consistent temperature, but they may run slightly hot or cool at any point in time due to this cycling. Opening the oven door while in use will release the hot air and cool the oven which could impact the cooking time and performance. It is recommended to use the oven light to monitor cooking progress.
NOTE: On models with convection, the convection fan may run in the non-convection bake mode to improve oven performance.
Temperature Management System
The Temperature Management System electronically regulates the oven heat levels during preheat and bake to maintain a precise temperature range for optimal cooking results. The bake and broil elements or burners cycle on and off in intervals. On convection range models, the fan will run while preheating and may be cycled on and off for short intervals during bake to provide the best results. This feature is automatically activated when the oven is in use. Before baking and roasting, position racks according to the “Positioning Racks and Bakeware” section. When roasting, it is not necessary to wait for the oven preheat cycle to end before putting food in unless it is recommended in the recipe.
Broiling
When broiling, preheat the oven for 5 minutes before putting food in, unless recommended otherwise in the recipe. Position food on grid in a broiler pan, and then place it in the center of the oven rack.
IMPORTANT: Close the door to ensure proper broiling temperature. Changing the temperature when broiling allows more precise control when cooking. The lower the broil setting, the slower the cooking. Thicker cuts and unevenly shaped pieces of meat, fish, and poultry may cook better at lower broil settings. Use racks 6 or 7 for broiling. Refer to the “Positioning Racks and Bakeware” section for more information.
- For best results, use a broiler pan and grid. It is designed to drain juices and help avoid spatter and smoke. If you would like to purchase a broiler pan, one may be ordered. See the Quick Start Guide for contact information.
NOTE: Odors and smoke are normal the first few times the oven is used or if the oven is heavily soiled.
Convection Cooking
In a convection oven, the fan-circulated hot air continually distributes heat more evenly than the natural movement of air in a standard thermal oven. This movement of hot air helps maintain a consistent temperature throughout the oven, cooking foods more evenly, crisping surfaces while sealing in moisture and yielding crustier breads.

During convection baking or roasting, the bake, broil, and convection elements cycle on and off in intervals while the fan circulates the hot air. During convection broiling, the broil and convection elements cycle on and off. If the oven door is opened during convection cooking, the fan will turn off immediately. It will come back on when the oven door is closed. With convection cooking, most foods can be cooked at a lower temperature and/or a shorter cooking time than in a standard thermal oven. Use the following chart as a guide.
Convection Mode Time/Temp. Guidelines
- Convection Bake: at 25°F (15°C) lower temperature, possible shortened cooking time
- Convection Roast: Cooking time shortened by up to 30%
- Convection Broil: Shortened cooking time
Convect Options
- Convect Bake – multiple-rack baking or cookies, biscuits, breads, casseroles, tarts, tortes, cakes
- Convect Roast – whole chicken or turkey, vegetables, pork roasts, beef roasts
- Convect Broil – thicker cuts or unevenly shaped pieces of meat, fish, or poultry
Cook Time
To Set a Timed Cook:
- Press BAKE or BROIL, or press CONVECT until the desired convection mode appears on the display.
- Press the number keypads to enter a temperature other than the one displayed.
- Press COOK TIME. The cook time oven indicator light will light up.
- Press the number keypads to enter the length of time to cook.
- Press START. The display will count down the time. When the time ends, the oven will shut off automatically.
- Press CANCEL to clear the display. To Set a Delayed Timed Cook:
To Set a Delayed Timed Cook:
- Press BAKE or BROIL, or press CONVECT until the desired convection mode appears on the display.
- Press the number keypads to enter a temperature other than the one displayed.
- Press COOK TIME. The cook time oven indicator light will light up.
- Press number keypads to enter the length of time to cook.
- Press DELAY START.
- Press number keypads to enter the number of hours and/or minutes you want to delay the start time.
- Press START. When the start time is reached, the oven will automatically turn on. The temperature and/or time settings can be changed anytime after the oven turns on by repeating steps 2 through 4. When the set cook time ends, the oven will shut off automatically.
- Press CANCEL to clear the display.
Warming Drawer
The Warming Drawer is ideal for keeping hot cooked foods at serving temperature. It may also be used for warming breads and pastries. Different types of food may be placed in the warming drawer at the same time. For best results, do not hold foods longer than 1 hour. For smaller quantities, pizza or heat-sensitive foods, such as eggs, do not hold longer than 30 minutes. Food must be at serving temperature before being placed in the warming drawer. Bread, pastries and fruit pies may be heated from room temperature. Remove food from plastic bags, and place in the oven-safe container. Cover foods with a lid or aluminum foil. Do not cover with plastic wrap. Empty serving dishes and ovenproof dishes can be heated while the warming drawer is preheating. Check the dish manufacturer’s recommendations before warming the cookware. Before using the warming drawer, wash the bottom of the drawer with soap and water. See the “General Cleaning” section in the Owner’s Manual.
To Use:
- Press WARMING DRAWER ON to select the Warming Drawer function at the Low setting.
- To select a higher temperature setting, press WARMING DRAWER ON a second time for the Medium setting or a third time for the High setting.
- Press START to begin preheating the warming drawer.
- Allow the warming drawer to preheat for 15 minutes.
- Place the cooked food(s) in the warming drawer.
- Press WARMING DRAWER OFF to turn off the heating element.
The Warming Drawer operates at temperatures of approximately 140°F (60°C) (Low), 160°F (71°C) (Medium), 180°F (82°C) (High).
MAYTAG MGS5770ADC Slide-In Gas Range Control

Incorrect



















