MAYTAG MGDP586KW Commercial-Grade Residential Gas Dryer Instruction Manual
DRYER SAFETY
Your safety and the safety of others are very important.
We have provided many important safety messages in this manual and on your appliance, Always read and obey al safety messages.
This is the safety alert symbol,
This symbol alerts you to potential hazards that can kil or hurt you and others.
All safety messages will follow the safety alert symbol and either the word
These words mean:
DANGER You can be killed or seriously injured if you don’t immediately
ADANGER follow instructions.
WARNING You can be killed or seriously injured if you don’t follow
Instructions.
All safety messages will tell you what the potential hazard is, tll you how to reduce the chance of injury, and tell you what can happen if the instructions are not followed.
WARNING
Risk of Fire
- Clothes dryer installation must be performed by a qualified installer.
Install the clothes dryer according to the manufacturer’s instructions and local codes. - Do not install a clothes dryer with flexible plastic venting materials or flexible metal{foil type) duct. If flexible metal duct is installed, it must be of a specific type identified by the appliance manufacturer as suitable for use with clothes dryers. Flexible venting ‘materials are known to collapse, be easily crushed, and trap lint. These conditions will obstruct clothes dryer airflow and increase the risk of fire.
- To reduce the risk of severe injury or death, follow all installation instructions.
- Save these instructions.
- Clothes dryer installation must be performed by a qualified installer.
Warning
Fire Hazard
Failure to follow safety warnings exactly could result in serious injury, death, or property damage.
Do not install a booster fan in the exhaust duct.
Install all clothes dryers in accordance with the installation instructions of the manufacturer of the dryer.
IMPORTANT: The gas installation must conform with local codes, or in the absence of local codes, with the National Fuel Gas Code, ANSI Z223.1/NFPA 54, or the Natural Gas and Propane Installation Code, CSA B149.1.
The dryer must be electrically grounded in accordance with local codes, or in the absence of local codes, with the National Electrical Code, ANSI/NFPA 70, or the Canadian Electrical Code, CSA C22.1.
In the State of Massachusetts, the following installation instructions apply:
- Installations and repairs must be performed by a qualified or licensed contractor, plumber, or gas fitter qualified or licensed by the State of Massachusetts.
- Acceptable Shut-off Devices: Gas Cocks and Ball Valves installed for use shall be listed.
- A flexible gas connector, when used, must not exceed 4 feet (121.9 cm).
WARNING
FIRE OR EXPLOSION HAZARD
Failure to follow safety warnings exactly could result in serious injury, death or property damage.
- Do not store or use gasoline or other flammable vapors and liquids in the vicinity of this or any other appliance.
- WHAT TO DO IF YOU SMELL GAS:
- Do not try to light any appliance.
- Do not touch any electrical switch; do not use any phone in your building.
- Clear the room, building, or area of all occupants.
- Immediately call your gas supplier from a neighbor’s phone. Follow the gas supplier’s instructions.
- If you cannot reach your gas supplier, call the fire department.
- Installation and service must be performed by a qualified installer, service agency, or the gas supplier.
WARNING: Gas leaks cannot always be detected by smell. Gas suppliers recommend that you use a gas detector approved by UL or CSA. For more information, contact your gas supplier.
Ita gas leak is detected, follow the “What to do if you smell gas” instructions.
IMPORTANT SAFETY INSTRUCTIONS,
When discarding or storing your ald clothes dryer, remove the door.
‘SAVE THESE INSTRUCTIONS
Important Safety Instruction
Warning: to reduce the risk of fire, electric shock , injury to persons when using the dryer, follow Basic precaution, including the following
- Read all instruction before using the dryer.
- Do not place items exposed to cooking oils in your dryer. Items contaminated with cooking oils may contribute to a chemical reaction that could cause a load to catch fire.
- To reduce the risk of fire due to contaminated loads, the final part of a tumble dryer cycle occurs without heat (cool down period). Avoid stopping a tumble dryer before the end of the drying cycle unless all items are quickly removed and spread out so that the heat is dissipated.
- ‘Do not dry articles that have been previously cleaned in, ‘washed in, soaked in, or spotted with gasoline, dry- cleaning solvents, or other flammable or explosive substances as they give off vapors that could ignite of explode,
- Do not allow children to play on or inthe dryer. Close supervision of children is necessary when the dryer is. Used near children.
- Before the dryer is removed from service or discarded, remove the door to the drying compartment.
- Do not reach into the dryer if the drum is moving.
- Do not install or store the dryer where it will be exposed to the weather,
- Do not tamper with controls,
- Do not repair or replace any part of the dryer or attempt ‘any servicing unless specifically recommended in this
- Use and Care Guide or in published user-repair instructions that you understand and have the skills to carry out.
- Do not use fabric softeners or products to eliminate static Unless recommended by the manufacturer ofthe fabric, softener or product.
- Do not use heat to dry articles containing foam rubber or similarly textured rubber-like materials.
- Clean lint screen before or after each load.
- Keep area around the exhaust opening and adjacent surrounding areas free from the accumulation of int, dust, and dirt
- The interior of the dryer and exhaust vent should be Cleaned periodically by qualified service personnel ‘See “Electrical Requirements” located in the installation Instructions for grounding instructions.
- WARNING: Risk of Fire. Do not install a booster fan. the exhaust duct.
NOTE: The booster fan warning does not apply to clothes dryers intended to be installed in a mutiple clothes dryer system, with an engineered exhaust duct system that is, installed per the clothes dryer manufacturer’s guidelines. - The back of the dryer shall be installed against a wall. Refer to the minimum installation dimensions/clearances in the diagrams.
INSTALLATION REQUIREMENTS
Tools and Parts
Gather the required tools and parts before starting installation.
Tools needed for all installations:
- Flat-blade screwdriver

- #2 Phillips screwdriver

- 1/4″ (6 mm) nut driver or socket wrench (recommended)

- Tin snips (new vent installations)

- Tape measure

- Vent clamps

- Level

- Pliers

- Adjustable wrench that opens to 1″ (25 mm) or hex-head socket wrench

- Caulking gun and compound (for installing new exhaust vent)

- Utility knife

- Putty knife

- Flat-blade screwdriver
Tools needed for gas installations:
- 8″ (203 mm) or 10″ (254 mm) pipe wrench

- 8″ (203 mm) or 10″ (254 mm) adjustable wrench (for gas connections)

- Pipe-joint compound resistant to propane gas

- 8″ (203 mm) or 10″ (254 mm) pipe wrench
Parts needed:
Check local codes. Check existing electrical supply and venting. See “Electrical Requirements” and “Venting Requirements” before purchasing parts.
Check code requirements. Some codes limit, or do not permit, installing dryer in garages, closets, mobile homes, or sleeping quarters. Contact your local building inspector.
Optional Equipment (Not supplied with dryer):
Refer to your Use and Care Guide for information about accessories available for your dryer. Use and Care Guide is available online at www.maytag.com.
LOCATION REQUIREMENTS
Warning
Explosion Hazard
Keep flammable materials and vapors, such as gasoline, away from dryer.
Place dryer at least 18″ (460 mm) above the floor for a garage installation,
Failure to do so can result in death, explosion, or fire.
You will need:
- A location allowing for proper exhaust installation. See “Venting Requirements.”
- A separate 30 A circuit for electric dryers.
- A separate 15 A or 20 A circuit for gas dryers.
- If you are using power supply cord, a grounded electrical outlet located within 2 ft (610 mm) of either side of dryer. See “Electrical Requirements.”
- A sturdy floor to support dryer and a total weight (dryer and load) of 200 lbs (90.7 kg). The combined weight of a companion appliance should also be considered.
- Level floor with maximum slope of 1″ (25 mm) under entire dryer. If not level, clothes may not tumble properly and automatic sensor cycles may not operate correctly.
Do not operate your dryer at temperatures below 45°F (7°C). At lower temperatures, the dryer might not shut off at the end of an automatic cycle. Drying times can be extended. The dryer must not be installed or stored in an area where it will be exposed to water and/or weather. Check code requirements. Some codes limit, or do not permit, installation of the dryer in garages, closets, mobile homes, or sleeping quarters. Contact your local building inspector.
NOTE: No other fuel-burning appliance can be installed in the same closet as a dryer.
Installation clearances:
The location must be large enough to allow the dryer door to open fully.
Most installations require a minimum 5½” (140 mm) clearance behind the dryer for the exhaust vent with elbow. See “Venting Requirements.”
Dryer Dimensions
Back View
Side View
Most installations require a minimum 5½” (140 mm) clearance behind the dryer for the exhaust vent with elbow. See “Venting Requirements.”
Minimum spacing for recessed area or closet installation
The dimensions shown following are for the minimum spacing allowed.
- Additional spacing should be considered for ease of installation and servicing.
- Additional clearances might be required for wall, door, and floor moldings.
- Additional spacing of 1″ (25 mm) on all sides of the dryer is recommended to reduce noise transfer.
- For closet installation, with a door, minimum ventilation openings in the top and bottom of the door are required. Louvered doors with equivalent ventilation openings are acceptable.
- Companion appliance spacing should also be considered.
Minimum Required Spacing
Recessed Area Installation
Additional spacing recommended Closet Installation
Additional spacing recommended
Mobile home – Additional installation requirements
This dryer is suitable for mobile home installations. The installation must conform to the Manufactured Home Construction and Safety Standard, Title 24 CFR, Part 3280 (formerly the Federal Standard for Mobile Home Construction and Safety, Title 24, HUD Part 280) or the Canadian Manufactured Home Standard CAN/CSA-Z240 MH.
- Metal exhaust system hardware, which is available for purchase. For further information, please reference the “Assistance or Service” section of the Use and Care Guide. Use and Care Guide is available online at www.maytag.com.
- Special provisions must be made in mobile homes to introduce outside air into the dryer. The opening (such as a nearby window) should be at least twice as large as the dryer exhaust opening.
ELECTRIC DRYER POWER HOOKUP – CANADA ONLY
Electrical Requirements
Warning
Electrical Shock Hazard
Plug into a grounded 4 prong outlet.
Failure to do so can result in death or electrical shock.
It is your responsibility:
- To contact a qualified electrical installer.
- To be sure that the electrical connection is adequate and in conformance with the Canadian Electrical Code, C22.1 – latest edition and all local codes. A copy of the above codes standard may be obtained from: Canadian Standards Association, 178 Rexdale Blvd., Toronto, ON M9W 1R3 CANADA.
- To supply the required 4-wire, single phase, 120 V/240 V, 60 Hz AC only electrical supply on a separate 30 A circuit, fused on both sides of the line. A time-delay fuse or circuit breaker is recommended. Connect to an individual branch circuit.
- This dryer is equipped with a UL Listed and/or CSA International Certified Power Cord intended to be plugged into a standard 14-30R wall receptacle. The cord is 5 ft (1.52 m) in length. Be sure wall receptacle is within reach of dryer’s final location.

4-wire receptacle (14-30R) - Do not use an extension cord.
If using a replacement power supply cord, it is recommended that you use Power Supply Cord Replacement Part Number 8579325. For further information, please reference the “Assistance or Service” section of the Use and Care Guide. Use and Care Guide is available online at www.maytag.com
GROUNDING INSTRUCTIONS
- For a grounded, cord-connected dryer: This dryer must be grounded. In the event of malfunction or breakdown, grounding will reduce the risk of electric shock by providing a path of least resistance for electric current. This dryer is equipped with a cord having an equipment grounding conductor and a grounding plug. The plug must be plugged into an appropriate outlet that is properly installed and grounded in accordance with all local codes and ordinances.
WARNING: Improper connection of the equipment grounding conductor can result in a risk of electric shock. Check with a qualified electrician or service representative or personnel if you are in doubt as to whether the dryer is properly grounded. Do not modify the plug provided with the dryer: if it will not fit the outlet, have a proper outlet installed by a qualified electrician.
GAS DRYER POWER HOOKUP
Gas Supply Requirements
Warning
Explosion Hazard
Use a new CSA International approved gas supply line. Install a shut-off valve. Securely tighten all gas connections.
If connected to propane, have a qualified person make sure gas pressure does not exceed 13″ (330 mm) water column.
Examples of a qualified person include: licensed heating personnel, authorized gas company personnel, and authorized service personnel.
Failure to do so can result in death, explosion, or fire.
GAS TYPE
Natural gas:
This dryer is equipped for use with natural gas. It is certified by UL for use with propane gas with appropriate conversion.
- Your dryer must have the correct burner for the type of gas in your home. Burner information is located on the rating plate in the door well of your dryer. If this information does not agree with the type of gas available, please reference the “Assistance or Service” section of the Use and Care Guide. Use and Care Guide is available online at www.maytag.com.
Propane gas conversion:
IMPORTANT: Conversion must be made by a qualified technician.
No attempt shall be made to convert the dryer from the gas specified on the model/serial rating plate for use with a different gas without consulting the serving gas supplier.
IMPORTANT: The gas installation must conform with local codes, or in the absence of local codes, with the National Fuel Gas Code, ANSI Z223.1/NFPA 54 or the Canadian Natural Gas and Propane Installation Code, CSA B149.1.
GAS SUPPLY LINE
- 1/2″ NPT pipe is recommended.
- 3/8″ approved tubing is acceptable for lengths under 20 ft (6.1 m) if local codes and gas supplier permit.
- Must include 1/8″ NPT minimum plugged tapping accessible for test gauge connection, immediately upstream of the gas connection to the dryer (see illustration).
- Must include a shut-off valve. In the U.S.A.: An individual manual shut-off valve must be installed within six (6) ft (1.8 m) of the dryer in accordance with the National Fuel Gas Code, ANSI Z223.1.
In Canada:
An individual manual shut-off valve must be installed in accordance with the B149.1, Natural Gas and Propane Installation Code. It is recommended that an individual manual shut-off valve be installed within six (6) ft (1.8 m) of the dryer.
The shut-off valve location should be easy to reach for opening and closing.
A. 3/8″ flexible gas connector
B. 3/8″ pipe to flare adapter fitting
C.1/8″ NPT minimum plugged tapping
D. 1/2″ NPT gas supply line
E. Gas shut-off valve
GAS SUPPLY CONNECTION REQUIREMENTS
There are many methods by which your gas dryer can be connected to the gas supply. Listed here are some guidelines for two different methods of connection.
This dryer must be connected to the gas supply line with a listed flexible gas connector that complies with the standard for connectors for gas appliances, ANSI Z21.24 or CSA 6.10.
Option 1 (Recommended Method)
Flexible stainless steel gas connector:
- If local codes permit, use a new flexible stainless steel gas connector (Design Certified by the American Gas Association or CSA International) to connect your dryer to the rigid gas supply line. Use an elbow and a 3/8″ flare x 3/8″ NPT adapter fitting between the stainless steel gas connector and the dryer gas pipe, as needed to prevent kinking.
Option 2 (Alternate Method)
Approved aluminum or copper tubing:
- Lengths over 20 ft (6.1 m) can use 3/8″ approved tubing (if codes and gas supplier permit).
- If you are using natural gas, do not use copper tubing.
- 3/8″ flare x 3/8″ NPT adapter fitting between dryer pipe and 3/8″ approved tubing.
- Lengths over 20 ft (6.1 m) should use larger tubing and a different size adapter fitting.
- If your dryer has been converted to use propane gas, 3/8″ propane compatible copper tubing can be used. If the total length of the supply line is more than 20 ft (6.1 m), use larger pipe.
NOTE: Pipe joint compounds that resist the action of propane gas must be used. Do not use TEFLON®† tape.
DRYER GAS PIPE
- The gas pipe that comes out through the rear of your dryer has a 3/8″ male pipe thread.

- The gas pipe that comes out through the rear of your dryer has a 3/8″ male pipe thread.
BURNER INPUT REQUIREMENTS
Elevations up to 10,000 ft (3,048 m):
- The design of this dryer is certified by CSA International for use at altitudes up to 10,000 ft (3,048 m) above sea level at the B.T.U. rating indicated on the model/serial number plate. Burner input adjustments are not required when the dryer is operated up to this elevation.
Elevations above 10,000 ft (3,048 m):
- When installed above 10,000 ft (3,048 m), a 4% reduction of the burner B.T.U. rating shown on the model/serial number plate is required for each 1,000 ft (305 m) increase in elevation.
Gas supply pressure testing
- The dryer must be disconnected from the gas supply piping system during pressure testing at pressures greater than 1/2 psi.
Electrical Requirements
Warning
Electrical Shock Hazard
Plug into a grounded 3 prong outlet,
Do not remove ground prong.
Do not use an adapter.
Do not use an extension cord,
Failure to follow these instructions can result in death, , or electrical shock.
- 120 V, 60 Hz AC only, 15 A or 20 A fused electrical supply is required. A time-delay fuse or circuit breaker is recommended. It is also recommended that a separate circuit serving only this dryer be provided.
GROUNDING INSTRUCTIONS
- For a grounded, cord-connected dryer: This dryer must be grounded. In the event of malfunction or breakdown, grounding will reduce the risk of electric shock by providing a path of least resistance for electric current. This dryer is equipped with a cord having an equipment grounding conductor and a grounding plug. The plug must be plugged into an appropriate outlet that is properly installed and grounded in accordance with all local codes and ordinances.
WARNING: Improper connection of the equipment grounding conductor can result in a risk of electric shock. Check with a qualified electrician or service representative or personnel if you are in doubt as to whether the dryer is properly grounded. Do not modify the plug provided with the dryer: if it will not fit the outlet, have a proper outlet installed by a qualified electrician.
VENTING
Venting Requirements
Warning Icon
Fire Hazard
Use a heavy metal vent.
Do not use a plastic vet.
Do not use a metal foil vent.
Failure to follow these instructions can result in death or fire.
WARNING: To reduce the risk of fire, this dryer MUST BE EXHAUSTED OUTDOORS.
IMPORTANT: Observe all governing codes and ordinances. Dryer exhaust must not be connected into any gas vent, chimney, wall, ceiling, attic, crawlspace, or a concealed space of a building. Only rigid or flexible metal vent shall be used for exhausting.
- Only a 4″ (102 mm) heavy metal exhaust vent and clamps may be used.
- Do not use plastic or metal foil vent
Rigid metal vent:
- Recommended for best drying performance and to avoid crushing and kinking.
Flexible metal vent: (Acceptable only if accessible to clean) - Must be fully extended and supported in final dryer location.
- Remove excess to avoid sagging and kinking that may result in reduced airflow and poor performance.
- Do not install in enclosed walls, ceilings, or floors.
- The total length should not exceed 73 /4 ft (2.4 m).
NOTE: If using an existing vent system, clean lint from entire length of the system and make sure exhaust hood is not plugged with lint. Replace plastic or metal foil vents with rigid metal or flexible metal vents. Review “Vent System Chart” and, if necessary, modify existing vent system to achieve best drying performance.
Exhaust hoods:
- Must be at least 12″ (305 mm) from ground or any object that may obstruct exhaust (such as flowers, rocks, bushes, or snow).
Recommended Styles:
- Louvered hood

- Box hood

- Angled hood

Elbows:
- 45° elbows provide better airflow than 90° elbows.

Clamps:
- Use clamps to seal all joints.
- Exhaust vent must not be connected or secured with screws or other fastening devices that extend into interior of duct and catch lint. Do not use duct tape.

Improper venting can cause moisture and lint to collect indoors, which may result in:
- Moisture damage to woodwork, furniture, paint, wallpaper, carpets, etc.
- Housecleaning problems and health problems.
See “Venting Kits” for more information.
Plan Vent System
Recommended exhaust installations
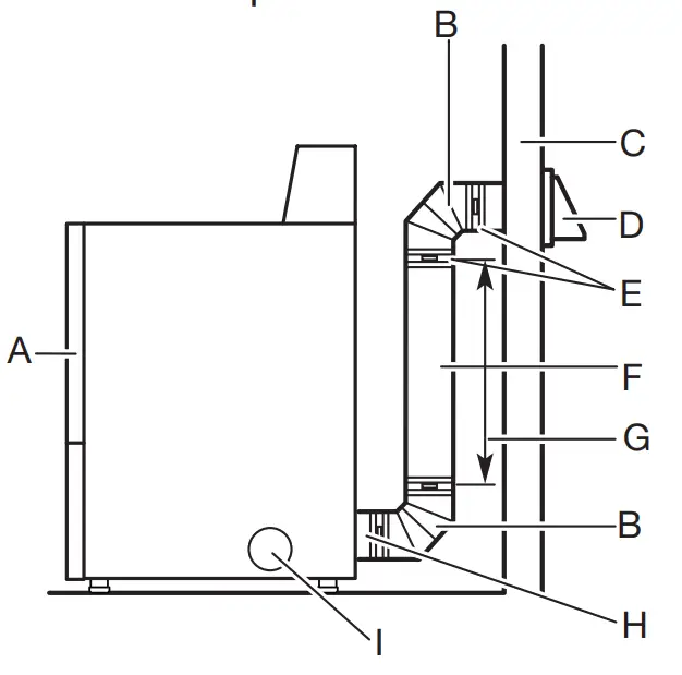
Typical installations vent the dryer from the rear of the dryer. Other installations are possible.
A. Dryer
B. Elbow
C .Wall
D .Exhaust hood
E. Clamps
F. Rigid metal or flexible metal vent
G. Vent length necessary to connect elbows
H .Exhaust outlet
I. Optional side exhaust outlet
Optional exhaust installations:
Exhaust can be converted out the right side, left side, or through the bottom (4-way vent kit). Each kit includes step-by-step instructions. For ordering information, see “Venting Kits.”
Warning

Fire Hazard
Cover unused exhaust holes with a manufacturer’s
exhaust cover kit.
Contact your local dealer.
Failure to follow these instructions can result in death,
fire, electrical shock, or serious injury.
A. Standard rear offset exhaust installation
B. Left or right side exhaust installation
C. Bottom exhaust installation
Alternate installations for close clearances
Venting systems come in many varieties. Select the best type for your installation. Two close-clearance installations are shown. Refer to the manufacturer’s instructions.
Over-The-Top installation (also available with one offset elbow)
Periscope installation
NOTE: The following kits for close clearance alternate installations are available for purchase.
Venting Kits
For more information, call 1-800-344-1274 in the U.S. (1-800-807-6777 in Canada) or visit us at www.maytagreplacementparts.com.
| Part Number | Descriptions |
| 8171587RP | 0″-5″ Metal vent periscope |
| 4396037RP | 0″-18″ Metal vent periscope |
| 4396011 RP | 18″-29″ Metal vent periscope |
| 4396014 | 29″-50″ Metal vent periscope |
| 4392892 | In-wall metal DuraVentTM periscope |
| W10186596 | 4-way vent kit – universal grey |
| 4396028 | Sure ConnectTM venting kit (over-the-top installation) |
| 4396009RP | 5′ Universal connect vent, flexible dryer venting |
| 439601 ORP | 6′ SecureConnectTM vent, flexible dryer venting |
| 4396013RB | Dryer vent installer’s kit |
| 4396033RP | 5′ flexible dryer venting with clamps |
| 4396727RP | 8′ flexible dryer venting with clamps |
| 4396004 | Dryer offset elbow |
| 4396005 | Wall offset elbow |
| 4396006RW | DuraSafeTM close elbow |
| 4396007RW | Through-the-wall vent cap |
| 4396008RP | 4″ steel dryer venting clamps – 2 pack |
| 8212662 | Flush mounting louvered vent hood, 4″ |
Special provisions for mobile home installations:
The exhaust vent must be securely fastened to a noncombustible portion of the mobile home structure and must not terminate beneath the mobile home. Terminate the exhaust vent outside.
Determine vent path:
- Select route that will provide straightest and most direct path outdoors.
- Plan installation to use fewest number of elbows and turns.
- When using elbows or making turns, allow as much room as possible.
- Bend vent gradually to avoid kinking.
- Use as few 90° turns as possible.
Determine vent length and elbows needed for best drying performance:
- Use following Vent System Chart to determine type of vent material and hood combinations acceptable to use.
NOTE: Do not use vent runs longer than those specified in Vent System Chart. Exhaust systems longer than those specified will: - Shorten life of dryer.
- Reduce performance, resulting in longer drying times and increased energy usage.
The Vent System Chart provides venting requirements that will help achieve best drying performance.
| Vent System Chart | |||
| Number of 90° turns or elbows | Type of vent | Box/louvered hoods | Angled hoods |
| 0 | Rigid metal | 64 ft (20 m) | 58 ft (17.7 m) |
| 1 | Rigid metal | 54 ft (16.5 m) | 48 ft (14.6 m) |
| 2 | Rigid metal | 44 ft (13.4 m) | 38 ft (11.6 m) |
| 3 | Rigid metal | 35 ft (10.7 m) | 29 ft (8.8 m) |
| 4 | Rigid metal | 27 ft (8.2 m) | 21 ft (6.4 m) |
NOTE: Side and bottom exhaust installations have a 90º turn inside the dryer. To determine maximum exhaust length, add one 90º turn to the chart.
Install Vent System
Install exhaust hood
Install exhaust hood and use caulking compound to seal exterior wall opening around exhaust hood.
Connect vent to exhaust hood
Vent must fit over the exhaust hood. Secure vent to exhaust hood with 4″ (102 mm) clamp. Run vent to dryer location using straightest path possible. Avoid 90° turns. Use clamps to seal all joints. Do not use duct tape, screws, or other fastening devices that extend into interior of vent to secure vent, because they can catch lint.
Make Gas Connection
Warning
Explosion Hazard
Use a new CSA International approved gas supply line.
Install a shut-off valve. Securely tighten all gas connections.
If connected to propane, have a qualified person make sure gas pressure does not exceed 13″ (330 mm) water column.
Examples of a qualified person include: licensed heating personnel, authorized gas company personnel, and authorized service personnel.
Failure to do so can result in death, explosion, or fire.
Connect gas supply to dryer
Remove red cap from gas pipe. Using a wrench to tighten, connect gas supply to dryer. Use pipe-joint compound on threads of all non-flared male fittings. If flexible metal tubing is used, be sure there are no kinks.
NOTE: For propane gas connections, you must use pipe-joint compound resistant to action of propane gas. Do not use TEFLON® tape.
Plan pipe fitting connection
A combination of pipe fittings must be used to connect dryer to existing gas line. A recommended connection is shown. Your connection may be different, according to supply line type, size, and location.
Open shut-off valve
Open shut-off valve in supply line; valve is open when handle is parallel to gas pipe. Then, test all connections by brushing on an approved noncorrosive leak-detection solution. Bubbles will show a leak. Correct any leaks found.
Connect Vent
Connect vent to exhaust outlet
Using a 4″ (102 mm) clamp, connect vent to exhaust outlet in dryer. If connecting to existing vent, make sure vent is clean. Dryer vent must fit over dryer exhaust outlet and inside exhaust hood. Check that vent is secured to exhaust hood with a 4″ (102 mm) clamp.
Move dryer to final location
Move dryer to final location. Avoid crushing or kinking vent. After dryer is in place, remove corner posts and cardboard from under the dryer.
LEVEL DRYER
Level dryer
Check levelness of dryer from side to side. Repeat from front to back.
NOTE: The dryer must be level for the moisture sensing system to operate correctly.
Not Level
LEVEL
Not Level
Tighten and adjust leveling feet
Use a 9/16″ or 14 mm open-end or adjustable wrench to turn jam nuts clockwise on feet until they are about 1/2″ (13 mm) from the cabinet. Then turn the leveling foot clockwise to lower the dryer or counterclockwise to raise the dryer. Recheck levelness of dryer and repeat as needed.
HELPFUL TIP: You may want to prop up front of dryer about 4″ (102 mm) with a wood block or similar object that will support weight of dryer.
Adjust leveling feet
When dryer is level, use a 9/16″ or 14 mm open-end or adjustable wrench to turn jam nuts counterclockwise on leveling feet tightly against dryer cabinet.
For mobile home use
Gas dryers must be securely fastened to the floor.
Mobile home installations require a Mobile Home Installation Hold-down Kit. For ordering information, please reference the Use and Care Guide.
COMPLETE INSTALLATION CHECKLIST
- Check that all parts are now installed. If there is an extra part, go back through steps to see what was skipped.
- Check that you have all of your tools.
- Dispose of/recycle all packaging materials.
- Check dryer’s final location. Be sure vent is not crushed or kinked.
- Check that dryer is level. See “Level Dryer.”
- Remove film on console and any tape remaining on dryer.
- Wipe dryer drum interior thoroughly with a damp cloth to remove any dust.
- Read “Dryer Use” in your Use and Care Guide. The Use and Care Guide is available online at www.maytag.com.
- Set the dryer on a full heat cycle (not an air cycle) for 20 minutes and start the dryer.
If the dryer will not start, check the following:- Gas dryer is plugged into a grounded 3-prong outlet. Electric dryer is plugged into a grounded 4-prong outlet.
- Electrical supply is connected.
- Household fuse is intact and tight, or circuit breaker has not tripped.
- Dryer door is closed.
- When the dryer has been running for 5 minutes, open the
dryer door and feel for heat. If you feel heat, cancel cycle
and close the door.
If you do not feel heat, turn the dryer off and check the following:
Gas Dryers:
- If the gas supply line shut-off valve is closed, open it, then repeat the 5 minutes test as outlined above.
- If the gas supply line shut-off valve is open, contact a qualified technician.
Electric Dryers:
- There may be two household fuses or circuit breakers for the dryer. Check that both fuses are intact and tight, or that both circuit breakers have not tripped. If there is still no heat, contact a qualified technician.
NOTE: You may notice an odor when the dryer is first heated. This odor is common when the heating element is first used. The odor will go away.
REVERSE DOOR SWING (OPTIONAL)
NOTE: Magnetized screwdriver is helpful.
27″ Wide Model Side-Swing Door
Place towel on dryer
Place towel on top of dryer to avoid damaging the surface.
Remove bottom screws
Open dryer door. Remove bottom screws from dryer cabinet side of hinges. Loosen (do not remove) top screws from dryer cabinet side of hinges.
Lift door off top screws
Lift door until top screws in dryer cabinet are in large part of hinge slot. Pull door forward off screws. Set door (handle side up) on top of dryer. Remove top screws from dryer cabinet.
Remove screws from hinges
Remove screws attaching hinges to door.
Remove screws from door
Remove screws at top, bottom, and side of door (six screws). Keep door screws separate from hinge screws as they are different sizes. Holding door over towel on dryer, grasp sides of outer door and lift to separate it from inner door.
NOTE: Do not pry apart with putty knife or screwdriver. Do not pull on door seal or plastic door catches.
Rotate outer door
Rotate outer door 180º and set it back down on inner door. Be certain to keep cardboard spacer centered between doors. Reattach outer door panel to inner door panel so handle is on the side where hinges were just removed. Insert six door screws.
Flip door over
Flip door over so handle side is down.
Attach door hinges
Reattach door hinges to dryer door so that the larger hole is at the bottom of the hinge.
Remove and transfer plugs
Remove the four screws that attach two plugs on the left side. Transfer plugs to opposite side using the same four screws.
Insert screws in hinge holes on dryer cabinet
NOTE: Two people may be needed to reinstall door. Insert screws into the bottom holes on left side of dryer cabinet. Tighten screws halfway. Position door so large end of door hinge slot is over screws. Slide door up so screws are in bottom of slots. Tighten screws. Insert and tighten top screws in hinges.
Check door strike alignment
Close door and check that door strike aligns with door catch. If it is needed, slide door catch left or right within slot to adjust alignment.
DRYER CARE
Cleaning the dryer location
Keep dryer area clear and free from items that would block the airflow for proper dryer operation. This includes clearing piles of laundry in front of the dryer.
Warning
Explosion Hazard
Keep flammable materials and vapors, such as gasoline, away from dryer. Place dryer at least 18″ (460 mm) above the floor for a garage installation. Failure to do so can result in death, explosion, or fire.
Cleaning the dryer interior
To clean dryer drum
- Apply a liquid, nonflammable household cleaner to the stained area of the drum and rub with a soft cloth until stain is removed.
- Wipe drum thoroughly with a damp cloth.
- Tumble a load of clean cloths or towels to dry the drum.
NOTE: Garments that contain loose dyes, such as denim blue jeans or brightly colored cotton items, may discolor the dryer interior. These stains are not harmful to your dryer and will not stain future loads of clothes. Dry these items inside
out to avoid drum staining.
Removing accumulated lint
From inside the dryer cabinet
Lint should be removed every two years, or more often, depending on dryer usage. Cleaning should be done by a qualified service technician.
From the exhaust vent
Lint should be removed every two years, or more often, depending on dryer usage.
Cleaning the lint screen
Every load cleaning
The lint screen is located in the door opening of the dryer. A screen blocked by lint can increase drying time
To clean:
- Pull the lint screen straight up. Roll lint off the screen with your fingers. Do not rinse or wash screen to remove lint. Wet lint is hard to remove.

- Push the lint screen firmly back into place.
Cleaning the lint screen (cont.)
IMPORTANT
- Do not run the dryer with the lint screen loose, damaged, blocked, or missing. Doing so can cause overheating and damage to both the dryer and fabrics.
- If lint falls off the screen into the dryer during removal, check the exhaust hood and remove the lint. See the “Check Your Vent System for Good Airflow” section.
As-needed cleaning
Laundry detergent and fabric softener residue can build up on the lint screen. This buildup can cause longer drying times for your clothes or cause the dryer to stop before your load is completely dry. The screen is probably clogged if lint falls off while the screen is in the dryer.
Clean the lint screen with a nylon brush every six months, or more frequently, if it becomes clogged due to a residue buildup.
To wash:
- Roll lint off the screen with your fingers.
- Wet both sides of lint screen with hot water.
- Wet a nylon brush with hot water and liquid detergent. Scrub lint screen with the brush to remove residue buildup

- Rinse screen with hot water.
- Thoroughly dry lint screen with a clean towel. Reinstall screen in dryer
Vacation, storage, and moving care
Non-Use or Storage Care
Operate your dryer only when you are at home. If you will be on vacation or not using your dryer for an extended period of time, you should:
- Unplug dryer or disconnect power.
- Clean lint screen. See “Cleaning the Lint Screen” section.
Moving Care
For power supply cord-connected dryers:
- Unplug the power supply cord.
- Make sure leveling legs are secure in dryer base.
- Use tape to secure dryer door.
Warning
Electrical Shock Hazard
Disconnect power before servicing.
Replace all parts and panels before operating.
Failure to do so can result in death or electrical shock.
For direct-wired dryers:
- Disconnect power.
- Disconnect wiring.
- Make sure leveling legs are secure in dryer base.
- Use tape to secure dryer door.
Reinstalling the Dryer
Follow the Installation Instructions to locate, level, and connect the dryer.
Changing the drum light (on some models)
- Unplug dryer or disconnect power.
- Open the dryer door. Locate the light bulb cover on the back wall of the dryer. Using a Phillips-head screwdriver, remove the screw located in the lower right-hand corner of the cover. Remove the cover.

- Turn bulb counterclockwise. Replace the bulb with a 10 W appliance bulb only. Replace the cover and secure with the screw.
- Plug in dryer or reconnect power.
TROUBLESHOOTING
See the Use and Care Guide or visit our website and reference “Frequently Asked Questions” to possibly avoid the cost of a service call. The Use and Care Guide is available online at www.maytag.com.
Costumer Support
TM ©2022 Maytag. All rights reserved. Used under license in Canada.










































