Whirlpool CGM2745FQ Commercial Dryer Gas or Electric

DRYER SAFETY
Your safety and the safety of others are very important
We have provided many important safety messages in this manual and on your appliance. Always read and obey all safety messages.
- This is the safety alert symbol.
- This symbol alerts you to potential hazards that can kill or hurt you and others.
- All safety messages will follow the safety alert symbol and either the word “DANGER” or “WARNING.”
- These words mean:
DANGER
You can be killed or seriously injured if you don’t immediately follow instructions.
WARNING
You can be killed or seriously injured if you don’t follow instructions.
All safety messages will tell you what the potential hazard is, tell you how to reduce the chance of injury, and tell you what can happen if the instructions are not followed.
WARNING – “Risk of Fire”
- Clothes dryer installation must be performed by a qualified installer.
- Install the clothes dryer according to the manufacturer’s instructions and local codes.
- Do not install a clothes dryer with flexible plastic venting materials or flexible metal (foil type) duct. If a flexible metal duct is installed, it must be of a specific type identified by the appliance manufacturer as suitable for use with clothes dryers. Flexible venting materials are known to collapse, be easily crushed, and trap lint. These conditions will obstruct clothes dryer airflow and increase the risk of fire.
- To reduce the risk of severe injury or death, follow all installation instructions.
- Save these instructions.
- It is recommended that the owner post, in a prominent location, instructions for the customer’s use in the event the customer smells gas. This information should be obtained from your gas supplier.
- Post the following warning in a prominent location.
FOR YOUR SAFETY
Do not store or use gasoline or other flammable vapors and liquids in the vicinity of this or any other appliance.
WARNING
Fire Hazard
- Failure to follow safety warnings exactly could result in serious injury, death, or property damage.
- Do not install a booster fan in the exhaust duct.
- Install all clothes dryers in accordance with the installation instructions of the manufacturer of the dryer.
WARNING:
For your safety, the information in this manual must be followed to minimize the risk of fire or explosion, or to prevent property damage, personal injury, or death.
- Do not store or use gasoline or other flammable vapors and liquids in the vicinity of this or any other appliance.
- WHAT TO DO IF YOU SMELL GAS:
- Do not try to light any appliance.
- Do not touch any electrical switch; do not use any phone in your building.
- Clear the room, building, or area of all occupants.
- Immediately call your gas supplier from a neighbor’s phone. Follow the gas supplier’s instructions.
- If you cannot reach your gas supplier, call the fire department.
- Installation and service must be performed by a qualified installer, service agency, or the gas supplier.
WARNING: Gas leaks cannot always be detected by smell.
- Gas suppliers recommend that you use a gas detector approved by UL or CSA.
- For more information, contact your gas supplier.
- If a gas leak is detected, follow the “What to do if you smell gas” instructions.
In the State of Massachusetts, the following installation instructions apply:
- Installations and repairs must be performed by a qualified or licensed contractor, plumber, or gasfitter qualified or licensed by the State of Massachusetts.
- If using a ball valve, it shall be a T-handle type.
- A flexible gas connector, when used, must not exceed 3 feet.
IMPORTANT:
The gas installation must conform with local codes, or in the absence of local codes, with the National Fuel Gas Code, ANSI Z223.1/NFPA 54 or the Canadian Natural Gas and Propane Installation Code, CSA B149.1.
The dryer must be electrically grounded in accordance with local codes, or in the absence of local codes, with the National Electrical Code, ANSI/NFPA 70 or Canadian Electrical Code, CSA C22.1.
IMPORTANT: When discarding or storing your old clothes dryer, remove the door.
IMPORTANT SAFETY INSTRUCTIONS
WARNING:
To reduce the risk of fire, electric shock, or injury to persons when using the dryer, follow basic precautions, including the following:
- Read all instructions before using the dryer.
- This dryer is intended only for drying clothes and textiles that have been washed in water. Do not use for any other purpose.
- WARNING: If you smell gas, do not use the dryer or any electrical equipment nearby. Warn other people to clear the area. Contact the dryer owner immediately.
- Do not place items exposed to cooking oils in your dryer. Items contaminated with cooking oils may contribute to a chemical reaction that could cause a load to catch fire.
- Do not dry articles that have been previously cleaned in, washed in, soaked in, or spotted with gasoline, dry-cleaning solvents, other flammable, or explosive substances as they give off vapors that could ignite or explode.
- Do not dry unwashed items in the dryer.
- Do not allow children to play on or in the dryer. Close supervision of children is necessary when the dryer is used near children.
- Before the dryer is removed from service or discarded, remove the door to the dryer compartment.
- Do not reach into the dryer if the drum is moving.
- Do not open the door while the dryer is in operation. It will stop.
- Do not install or store the dryer where it will be exposed to water and/or the weather.
- Do not tamper with controls.
- Clean the dryer lint screens before or after each load.
- Do not use this dryer without the lint screen in place.
- Do not repair or replace any part of the dryer or attempt any servicing unless specifically recommended in this Installation Instructions or in published user-repair instructions that you understand and have the skills to carry out.
- Do not use fabric softeners or products to eliminate static unless recommended by the manufacturer of the fabric softener or product.
- Do not use heat to dry articles containing foam rubber or similarly textured rubber-like materials.
- The final part of a tumble dryer cycle occurs without heat (cool-down cycle) to ensure that the articles are left at a temperature that ensures that the items will not be damaged.
- WARNING: Never stop a tumble dryer before the end of the drying cycle unless all items are quickly removed and spread out so that the heat is dissipated. (Avoids risk of spontaneous combustion).
- Keep area around the exhaust opening and adjacent surrounding areas free from the accumulation of lint, dust, and dirt.
- The interior of the dryer and dryer exhaust vent should be cleaned periodically by qualified service personnel.
- See the “Electrical Requirements” section for grounding instructions.
TOOLS & PARTS
Tools Needed:

Parts Supplied:

DIMENSIONS/CLEARANCES
Dimensions
Side View

Back View

Clearances
Front View, Recessed Opening

Side View, Recessed In Closet

GAS DRYER INSTALLATION REQUIREMENTS
Location Requirements
WARNING
Explosion Hazard
- Keep flammable materials and vapors, such as gasoline, away from the dryer.
- Do not install in a garage.
- Failure to do so can result in death, explosion, or fire.
Your dryer can be installed in a basement, laundry room, or recessed area.
This dryer is not intended for installation in a mobile home.
Companion appliance location requirements should also be considered.
IMPORTANT:
Do not install or store the dryer where it will be exposed to water and/or the weather. Proper installation is your responsibility.
You will need:
- A grounded electrical outlet is located within 6 ft. (1.8 m) of where the power cord is attached to the back of the dryer. See “Electrical Requirements.”
- A level floor with a maximum slope of 1″ (25 mm) under the entire dryer. Installing the dryer on soft floor surfaces, such as carpets or surfaces with foam backing, is not recommended.
Gas dryer installation clearances
- The location must be large enough to allow the dryer door to be fully opened.
- Additional spacing should be considered for ease of installation and servicing. The door opens more than 180°.
- Additional clearances might be required for wall, door, and floor moldings.
- Additional spacing of 1″ (25 mm) on all sides of the dryer is recommended to reduce noise transfer.
When installing a gas dryer:
IMPORTANT: Observe all governing codes and ordinances.
- Check code requirements: Some codes limit or do not permit the installation of clothes dryers in garages, closets, or sleeping quarters. Contact your local building inspector.
- Make sure that the lower edges of the cabinet, plus the back and bottom sides of the dryer, are free of obstructions to permit adequate clearance of air openings for combustion air. See “Recessed Area and Closet Installation Instructions” below for minimum spacing requirements.
Recessed Area and Closet Installation Instructions
This dryer may be installed in a recessed area or closet. For recessed area and closet installations, minimum clearances can be found on the warning label on the rear of the dryer
or in “Dimensions/Clearances.” The installation spacing is in inches and is the minimum allowable. Additional spacing should be considered for ease of installation, servicing, and compliance with local codes and ordinances. If closet door is installed, the minimum unobstructed air opening in the top and bottom is required. The unobstructed opening needs to be 1 square inch per 1,000 Btu (252 kcal) of gas burner output. Output on North American gas dryers is typically 22,000 Btu; however, Canadian dryers may have lower output. Louvered doors with equivalent air openings are acceptable. The dryer must be exhausted outdoors. No other fuel-burning appliance may be installed in the same closet as the dryer.
Electrical Requirements
WARNING
- Electrical Shock Hazard
- Plug into a grounded 3-prong outlet.
- Do not remove the ground prong.
- Do not use an adapter.
- Do not use an extension cord.
- Failure to follow these instructions can result in death, fire, or electrical shock.
IMPORTANT:
The dryer must be electrically grounded in accordance with local codes and ordinances or, in the absence of local codes, with the National Electrical Code, ANSI/NFPA 70, latest edition, or Canadian Electrical Code, CSA C22.1. If codes permit and a separate ground wire is used, it is recommended that a qualified electrical installer determine that the ground path is adequate.
A copy of the above code standards can be obtained from:
National Fire Protection Association
One Batterymarch Park, Quincy, MA 02269
CSA International
8501 East Pleasant Valley Road
Cleveland, Ohio 44131-5575.
- Do not ground to a gas pipe.
- Do not have a fuse in the neutral or ground circuit.
- A 120-volt, 60 Hz, AC only, 15- or 20-amp, fused electrical circuit is required. A time-delay fuse or circuit breaker is also recommended. It is recommended that a separate circuit serving only this dryer be provided.
- This dryer is equipped with a power supply cord having a 3- prong grounding plug.
- To minimize the possibility of shock, the cord must be plugged into a mating, 3-prong, grounding-type outlet, grounded in accordance with local codes and ordinances. If a mating outlet is not available, it is the personal responsibility and obligation of the customer to have the properly grounded outlet installed by a qualified electrician.
- If codes permit and a separate ground wire is used, it is recommended that a qualified electrician determine that the ground path is adequate.
- Check with a qualified electrician if you are not sure the dryer is properly grounded.
Gas Dryer Grounding
GROUNDING INSTRUCTIONS
For a grounded, cord-connected dryer:
This dryer must be grounded. In the event of malfunction or breakdown, grounding will reduce the risk of electric shock by providing a path of least resistance for electric current. This dryer is equipped with a cord having an equipment- grounding conductor and a grounding plug. The plug must be plugged into an appropriate outlet that is properly installed and grounded in accordance with all local codes and ordinances.
WARNING:
Improper connection of the equipment- grounding conductor can result in a risk of electric shock. Check with a qualified electrician or service representative or personnel if you are in doubt as to whether the dryer is properly grounded. Do not modify the plug provided with the dryer: if it will not fit the outlet, have a proper outlet installed by a qualified electrician.
SAVE THESE INSTRUCTIONS
Gas Supply
WARNING
Explosion Hazard
- Use a new CSA International-approved gas supply line.
- Install a shut-off valve.
- Securely tighten all gas connections.
- If connected to LP, have a qualified person make sure gas pressure does not exceed the 13″ (330 mm) water column.
- Examples of qualified persons include licensed heating personnel, authorized gas company personnel, and authorized service personnel.
- Failure to do so can result in death, explosion, or fire.
IMPORTANT:
Observe all governing codes and ordinances.
This installation must conform with all local codes and ordinances. In the absence of local codes, installation must conform with American National Standard, National Fuel Gas Code ANSI Z223.1/NFPA 54 or CAN/CSA B149.
A copy of the above code standards can be obtained from:
National Fire Protection Association
One Batterymarch Park, Quincy, MA 02269
CSA International
8501 East Pleasant Valley Road
Cleveland, Ohio 44131-5575
The design of this dryer has been certified by CSA International for use at altitudes up to 10,000 feet (3048 m) above sea level at the B.T.U. rating indicated on the model/serial plate. Burner input adjustments are not required when the dryer is operated up to this elevation. When installed above 10,000 feet (3048 m), a four percent (4%) reduction of the burner B.T.U. the rating shown on the model/serial plate is required for each 1,000-foot (305 m) increase in elevation. For assistance when converting to other gas types and/or installing above 10,000 feet (3048 m) elevation, contact your local service company.
ELECTRIC DRYER INSTALLATION REQUIREMENTS
Location Requirements
WARNING
Explosion Hazard
- Keep flammable materials and vapors, such as gasoline, away from the dryer.
- Do not install in a garage.
- Failure to do so can result in death, explosion, or fire.
Your dryer can be installed in a basement, laundry room, or recessed area.
This dryer is not intended for installation in a mobile home.
Companion appliance location requirements should also be considered.
IMPORTANT:
Do not install or store the dryer where it will be exposed to water and/or the weather. Proper installation is your responsibility.
You will need:
- A grounded electrical outlet is located within 6 ft. (1.8 m) of where the power cord is attached to the back of the dryer. See “Electrical Requirements.”
- A level floor with a maximum slope of 1″ (25 mm) under the entire dryer. Installing the dryer on soft floor surfaces, such as carpets or surfaces with foam backing, is not recommended.
Electric dryer installation clearances
- The location must be large enough to allow the dryer door to be fully opened.
- Additional spacing should be considered for ease of installation and servicing. The door opens more than 180°.
- Additional clearances might be required for wall, door, and floor moldings.
- Additional spacing of 1″ (25 mm) on all sides of the dryer is recommended to reduce noise transfer.
Recessed Area and Closet Installation Instructions
This dryer may be installed in a recessed area or closet. For recessed area and closet installations, minimum clearances can be found on the warning label on the rear of the dryer
or in “Dimensions/Clearances.” The installation spacing is in inches and is the minimum allowable. Additional spacing should be considered for ease of installation, servicing, and compliance with local codes and ordinances. If closet door is installed, the minimum unobstructed air opening in the top and bottom is required. Louvered doors with equivalent air openings are acceptable.
The dryer must be exhausted outdoors.
Electrical Requirements – U.S.A. only
It is your responsibility:
- To contact a qualified electrical installer.
- To be sure that the electrical connection is adequate and in conformance with the National Electrical Code, ANSI/NFPA 70- latest edition and all local codes and ordinances.
- The National Electrical Code requires a 4-wire power supply connection for homes built after 1996, dryer circuits involved in remodeling after 1996, and all mobile home installations.
- A copy of the above code standards can be obtained from: National Fire Protection Association, One Batterymarch Park, Quincy, MA 02269.
- To supply the required 3 or 4 wire, single phase, 120/240 volt, 60 Hz., AC only electrical supply (or 3 or 4 wire, 120/208 volt electrical supply, if specified on the serial/rating plate) on a separate 30-amp circuit, fused on both sides of the line. A time delay fuse or circuit breaker is recommended. Connect to an individual branch circuit. Do not have a fuse in the neutral or grounding circuit.
- Do not use an extension cord.
- If codes permit and a separate ground wire is used, it is recommended that a qualified electrician determine that the ground path is adequate.
Electrical Connection
To properly install your dryer, you must determine the type of electrical connection you will be using and follow the instructions provided for it here.
- This dryer is manufactured ready to install with a 3-wire electrical supply connection. The neutral ground conductor is permanently connected to the neutral conductor (white wire) within the dryer. If the dryer is installed with a 4-wire electrical supply connection, the neutral ground conductor must be removed from the external ground connector (green screw), and secured under the neutral terminal (center or white wire) of the terminal block. When the neutral ground conductor is secured under the neutral terminal (center or white wire) of the terminal block, the dryer cabinet is isolated from the neutral conductor.
- If local codes do not permit the connection of a neutral ground wire to the neutral wire, see “Optional 3-wire connection” section.
- A 4-wire power supply connection must be used when the appliance is installed in a location where grounding through the neutral conductor is prohibited. Grounding through the neutral is prohibited for (1) new branch-circuit installations and (2) areas where local codes prohibit grounding through the neutral conductor.
Electric Dryer Grounding
GROUNDING INSTRUCTIONS
- For a grounded, cord-connected dryer:
This dryer must be grounded. In the event of malfunction or breakdown, grounding will reduce the risk of electric shock by providing a path of least resistance for electric current. This dryer uses a cord having an equipment-grounding conductor and a grounding plug. The plug must be plugged into an appropriate outlet that is properly installed and grounded in accordance with all local codes and ordinances. - For a permanently connected dryer:
This dryer must be connected to a grounded metal, permanent wiring system, or an equipment-grounding conductor must be run with the circuit conductors and connected to the equipment-grounding terminal or lead on the dryer.
WARNING:
Improper connection of the equipment-grounding conductor can result in a risk of electric shock. Check with a qualified electrician or service representative or personnel if you are in doubt as to whether the dryer is properly grounded. Do not modify the plug on the power supply cord: if it will not fit the outlet, have a proper outlet installed by a qualified electrician.
Electric Dryer Power Supply Cord
WARNING
Fire Hazard
- Use a new UL-listed 30 amp power supply cord.
- Use a UL-listed strain relief.
- Disconnect power before making electrical connections.
- Connect the neutral wire (white or center wire) to the center terminal.
- Ground wire (green or bare wire) must be connected to a green ground connector.
- Connect the remaining 2 supply wires to the remaining 2 terminals (gold).
- Securely tighten all electrical connections.
- Failure to do so can result in death, fire, or electrical shock.
If using a power supply cord:
Use a UL-listed power supply cord kit marked for use with clothes dryers. The kit should contain:
- A UL-listed 30-amp power supply cord, rated 120/240-volt minimum. The cord should be typed SRD or SRDT and be at least 4 ft. (1.22 m) long. The wires that connect to the dryer must end in ring terminals or “U” shaped spade terminals with upturned ends.
- A UL listed strain relief.
If your outlet looks like this:
Then choose a 4-wire power supply cord with ring or spade terminals and UL-listed strain relief. The 4-wire power supply cord, at least 4 ft. (1.22 m) long, must have four 10-gauge copper wires and match a 4-wire receptacle of NEMA Type 14-30R. The ground wire (ground conductor) may be either green or bare. The neutral conductor must be identified by a white cover.
If your outlet looks like this:
Then choose a 3-wire power supply cord with ring or spade terminals and UL-listed strain relief. The 3-wire power supply cord, at least 4 ft. (1.22 m) long, must have three 10-gauge copper wires and match a 3-wire receptacle of NEMA Type 10-30R.
Direct Wire
WARNING
Fire Hazard
- Use 10 gauge copper wire.
- Use a UL-listed strain relief.
- Disconnect power before making electrical connections.
- Connect the neutral wire (white or center wire) to the center terminal.
- Ground wire (green or bare wire) must be connected to a green ground connector.
- Connect the remaining 2 supply wires to the remaining 2 terminals (gold).
- Securely tighten all electrical connections.
- Failure to do so can result in death, fire, or electrical shock.
Electrical Requirements – Canada only
WARNING
Electrical Shock Hazard
- Plug into a grounded 4-prong outlet.
- Failure to do so can result in death or electrical shock.
It is your responsibility:
- To contact a qualified electrical installer.
- To be sure that the electrical connection is adequate and in conformance with the Canadian Electrical Code, C22.1 – latest edition, and all local codes. A copy of the standard of the above code may be obtained from Canadian Standards Association, 178 Rexdale Blvd., Toronto, ON M9W 1R3 CANADA.
- To supply the required 4 wire, single phase, 120/240 volt, 60 Hz., AC only electrical supply on a separate 30-amp circuit, fused on both sides of the line. A time-delay fuse or circuit breaker is recommended. Connect to an individual branch circuit.
- This dryer is equipped with a CSA International Certified Power Cord intended to be plugged into a standard 14-30R wall receptacle. The cord is 5 ft (1.52 m) in length. Be sure the wall receptacle is within reach of the dryer’s final location.

- Do not use an extension cord.
If you are using a replacement power supply cord, it is recommended that you use Power Supply Cord Replacement Part Number 9831317. For further information, please reference the service numbers located in the “Assistance or Service” section.
GROUNDING INSTRUCTIONS
For a grounded, cord-connected dryer:
This dryer must be grounded. In the event of malfunction or breakdown, grounding will reduce the risk of electric shock by providing a path of least resistance for electric current. This dryer is equipped with a cord having an equipment- grounding conductor and a grounding plug. The plug must be plugged into an appropriate outlet that is properly installed and grounded in accordance with all local codes and ordinances.
WARNING:
Improper connection of the equipment- grounding conductor can result in a risk of electric shock. Check with a qualified electrician or service representative or personnel if you are in doubt as to whether the dryer is properly grounded. Do not modify the plug provided with the dryer: if it will not fit the outlet, have a proper outlet installed by a qualified electrician.
SAVE THESE INSTRUCTIONS
DRYER VENTING REQUIREMENTS
WARNING
Fire Hazard
- Use a heavy metal vent.
- Do not use a plastic vent.
- Do not use a metal foil vent.
- Failure to follow these instructions can result in death or fire.
WARNING:
To reduce the risk of fire, this dryer MUST BE EXHAUSTED OUTDOORS.
IMPORTANT:
Observe all governing codes and ordinances.
Dryer exhaust must not be connected into any gas vent, chimney, wall, ceiling, attic, crawlspace, or a concealed space of a building. Only rigid or flexible metal vent shall be used for exhausting.
- Only a 4″ (102 mm) heavy, metal exhaust vent and clamps may be used.
- Do not use plastic or metal foil vent.
Rigid metal vent:
- Recommended for best drying performance and to avoid crushing and kinking.
Flexible metal vent:
(Acceptable only if access to clean)
- Must be fully extended and supported in the final dryer location.
- Remove excess to avoid sagging and kinking that may result in reduced airflow and poor performance.
- Do not install in enclosed walls, ceilings, or floors.
- The total length should not exceed 73⁄4 ft. (2.4 m).
NOTE:
If using an existing vent system, clean lint from the entire length of the system and make sure the exhaust hood is not plugged with lint. Replace plastic or metal foil vents with rigid metal or flexible metal vents. Review the “Vent System Chart” and, if necessary, modify the existing vent system to achieve the best drying performance.
Elbows:
- 45° elbows provide better airflow than 90° elbows.

Clamps:
- Use clamps to seal all joints.
- The exhaust vent must not be connected or secured with screws or other fastening devices that extend into the interior of the duct and catch lint. Do not use duct tape.

Improper venting can cause moisture and lint to collect indoors, which may result in:
- Moisture damage to woodwork, furniture, paint, wallpaper, carpets, etc.
- Housecleaning problems and health problems.
Vent Hoods
4″ (102 mm) Diameter Exhaust Hoods

The exhaust hood must be at least 12″ (305 mm) from the ground or any object that may be in the path of the exhaust (such as flowers, rocks, bushes, or snow).
Vent System Length
Maximum Vent Length/Vent Connection
The maximum length of the vent system depends upon the type of vent used, the number of elbows, and the type of exhaust hood.
Vent System Chart (Rigid Metal Vent)
No. of 90˚ Turns/Box and Louvered Hood/Angled Hood
- 0 64 ft. (19.5 m) 58 ft. (17.7 m)
- 1 54 ft. (16.5 m) 48 ft. (14.6 m)
- 2 44 ft. (13.4 m) 38 ft. (11.6 m)
- 3 35 ft. (10.7 m) 29 ft. (8.8 m)
- 4 27 ft. (8.2 m) 21 ft. (6.4 m)
For vent systems not covered by the vent specification chart, see your parts distributor. Provision must be made for enough air for combustion and ventilation. (Check governing codes and ordinances.) See “Recessed Area and Closet Installation Instructions” in the “Location Requirements” sections. A 4″ (102 mm) outlet hood is preferred. However, a 21⁄2″ (64 mm) outlet exhaust hood may be used. A 21⁄2″ (64 mm) outlet creates greater back pressure than other hood types. For permanent installation, a stationary vent system is required.
Connect Vent
- If connecting to the existing vent, make sure the vent is clean.
- Using a 4″ (102 mm) clamp, connect the vent to the exhaust outlet in the dryer.
NOTE: Do not remove the vent collar. - Tighten the hose clamp with a Phillips screwdriver.

- Make sure the vent is secured to the exhaust hood with a 4″ (102 mm) clamp.

- Move the dryer into the final position. Do not crush or kink the vent. Make sure the dryer is level.
NOTE: Testing for proper ventilation should be done with a Manometer. Minimum: 0.01″ (0.2 mm). Maximum: 0.6″ (16 mm).
If an Exhaust Hood Cannot be Used
The outside end of the main vent should have a sweep elbow directed downward.
If the main vent travels vertically through the roof, rather than through the wall, install a 180° sweep elbow on end of the vent at least 2 ft. (610 mm) above the surface of the roof. The opening in the wall or roof shall have a diameter 1⁄2″ (13 mm) larger than the vent diameter. The vent should be centered in the opening. Do not install screening over end of the vent for best performance.
Multiple Dryer Venting
The main vent can be used for venting a group of dryers. The main vent should be sized to remove 5663 l/min. (200 CFM) of air per dryer. Large-capacity lint screens of proper design may be used in the main vent if checked and cleaned frequently. The room where the dryers are located should have make-up air (air supply) equal to or greater than CFM of all the dryers in the room.
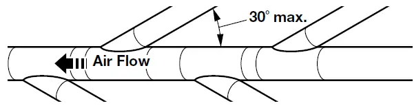
Back-draft dampers are available from your distributor and should be installed in the vent of each dryer to keep exhausted air from returning into dryers and to keep exhausted in balance within the main vent. Unobstructed return air openings are required. Although usually, each single-load dryer should have an unobstructed outdoor air opening of 24 in.2 (154 cm2) (based on 1 in.2 [6.5 cm2] per 1,000 Btu [252 kcal]), common make-up air openings are also acceptable. Set up common openings so the make-up air is distributed equally to all of the dryers. Keep in mind that the coverage area must be increased by 33% to account for the use of registers or louvers over the openings. Also, make-up air openings should not be installed near the location where exhaust vents exit the building. Each vent should enter the main vent at an angle pointing in the direction of the airflow. Vents entering from the opposite side should be staggered to reduce the exhausted air from interfering with the other vents.
The maximum angle of each vent entering the main vent should be no more than 30°. Keep air openings free of dry cleaning fluid fumes. Fumes create acids which, when drawn through the dryer heating units, can damage dryers and items being dried. A clean-out cover should be located on the main vent for periodic cleaning of the vent system.
NOTE: For more dryer venting information, please refer to Whirlpool document W10100920.
GAS SUPPLY CONNECTION
Make Gas Connection
WARNING
Excessive Weight Hazard
- Use two or more people to move and install the dryer.
- Failure to do so can result in back or another injury.
- Connect gas supply to the dryer. Use a pipe thread compound approved for the type of gas supplied. If flexible metal tubing is used, be certain there are no kinks.
If necessary for service, depending on the model:
Open the toe panel by removing the 21⁄4″ hex-head screws from the bottom of the panel. Then lift up on the panel while pulling the bottom of the panel away from the dryer.
OR
Open the toe panel. Use a putty knife to press on the toe panel lock located at the center top of the toe panel. Pull downward on the toe panel to open. Toe panel is hinged at the bottom. - Open the shut-off valve in the gas supply line and make sure the dryer has its own gas supply opened.
- Test all connections by brushing on an approved noncorrosive leak-detection solution. Bubbles will show a leak. Correct any leaks found.
Type of Gas
This dryer is equipped for use with natural gas. It is design-certified by CSA International for LP (propane and butane) gases with appropriate conversion. No attempt shall be made to convert dryer from gas specified on serial/rating plate for use with a different gas without consulting the serving gas supplier. The conversion must be done by a qualified service technician. Gas conversion kit part numbers are listed near gas valve burner base.
Gas Supply Line
Recommended Method
Provide a gas supply line of 1⁄2″ (13 mm) rigid (IPS) pipe to the dryer location. Pipe joint compounds that resist the action of LP gas must be used. Do not use TEFLON®† tape. With LP gas, piping or tubing size can be 1⁄2″ (13 mm) minimum. Usually, LP gas suppliers determine the size and materials used in the system.
Gas Supply Pressure Testing
A 1/8″ NPT minimum plugged tapping, accessible for gauge testing, must be installed immediately downstream of the installed shut-off valve to the dryer (as shown above). The dryer must be disconnected from the gas supply piping system during any pressure testing of the system at test pressures in excess of 1/2″ psig (352 kg/m2). The expected pressures for the gas supply are listed in inches of water in the table below:
Alternate Method
The gas supply may also be connected using 3⁄8″ (10 mm) approved copper or aluminum tubing. If the total length of the supply line is more than 20 ft. (6.1 m), larger tubing will be required. If using natural gas, do not use copper tubing. Pipe joint compounds that resist the action of the type of gas supplied must
be used.
Shut-off valve required
The supply line must be equipped with a manual shut-off valve installed within 6 ft. (1.8 m) of the dryer in accordance with National Fuel Gas Code, ANSI Z223.1. This valve should be located in the same room as the dryer. It should be in a location that allows ease of opening and closing. Do not block access to the shut-off valve. In Canada, an individual manual shut-off valve must be installed in accordance with the B149 installation codes CAN/CGA B149.1 and CAN/CGA B149.2.
Flexible Metal Appliance Connector
It is recommended that a new flexible stainless steel gas line, design-certified by CSA International, be used for connecting the dryer to the gas supply line. (The gas pipe which extends through the lower rear of the dryer is provided with 3⁄8″ male pipe thread.)
NOTE: Do not kink or damage the flexible stainless steel gas line when moving the dryer.
Rigid Pipe Connection
The rigid pipe connection requires a combination of pipe fittings to obtain an in-line connection to the dryer.
INSTALLING LEVELING LEGS, COIN SLIDE, AND COIN BOX
WARNING
Excessive Weight Hazard
- Use two or more people to move and install the dryer.
- Failure to do so can result in back or another injury.
- Prepare dryer for leveling legs
NOTE: Slide the dryer onto cardboard or hardboard before moving to avoid damaging floor covering.
Using two or more people, move the dryer to the desired installation location. Take the tape off the front corners of the dryer. Open the dryer and remove the literature and parts packages. Wipe the drum interior with a damp cloth to remove any dust. Take two cardboard corners from the dryer carton and place them on the floor in back of the dryer. Firmly grasp the body of the dryer and gently lay it on its back on the cardboard corners.
- Screw in leveling legs
Examine leveling legs and find diamond markings. Screw legs into leg holes by hand. Use an adjustable wrench or 1″ (25 mm) hex-head socket wrench to finish turning legs until the diamond marking is no longer visible. Then fit a covered foot boot over each leg foot.
To protect the floor, use a large piece of cardboard from the dryer carton. Stand dryer up on the cardboard. Slide the dryer until it is close to its final location. Leave enough room for electrical connection and to connect the exhaust vent A longer leveling foot is available if needed on extremely sloped floors, Part Number 279810.
On some models:
The meter case houses the factory-installed accumulator timer with actuating arm or service switch. The factory-installed timer is set to provide 45 minutes (4 pins) of drying time when activated by the coin slide. Timer cams for 30-minute (6 pins) and 60-minute (3 pins) drying times are included in the parts bag. The coin slide mechanism, service door lock and key, and coin box lock and key may not be included but are available from the usual industry sources.
- Install coin slide and coin box
Remove the service door of the meter case by lifting it up at the back. Install the money-accepting device. (Refer to manufacturer’s instructions for proper installation.)
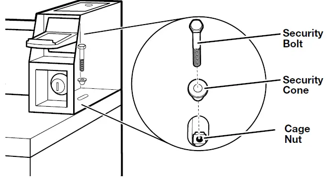
For dryers using coin slides, use the adapter kit supplied with the dryer. Install the meter case service door. Put the coin box with lock and key in the meter case opening. Remove cardboard or hardboard from under dryer. Adjust the legs of the dryer up or down until the dryer is level. - Install added security device
Check that power is not supplied to the dryer. Open and remove the service door. Insert the narrow part of the security cone into the oblong hole in the bottom rear of the meter case assembly. Pass the security bolt through this cone and thread it by hand into the cage nut below the oblong hole. Tighten the security bolt by hand a few turns before using a wrench to tighten until snug.
NOTE: Installing the security bolt provides added security but will add to the service time when the top needs to be removed or lifted for servicing the dryer.
ELECTRIC DRYER ELECTRICAL CONNECTIONS (FOR U.S.A. ONLY)
Connection Options
Power Cord
4-wire receptacle (NEMA Type 14-30R) Go to the “Power Supply Cord Connection” section.
3-wire receptacle (NEMA Type 10-30R) Go to the “Power Supply Cord Connection” section.
Direct Wire
4-wire direct Go to the “Direct Wire Connection” section.
3-wire direct
Go to the “Direct Wire Connection” section.
NOTE:
If local codes do not permit the connection of a cabinet-ground conductor to the neutral wire, go to the “Connecting 3-Wire Connection: Optional” section. This connection may be used with either a power supply cord or a direct wire connection.
Power Supply Cord Connection
WARNING
Fire Hazard
- Use a new UL-listed 30 amp power supply cord.
- Use a UL-listed strain relief.
- Disconnect power before making electrical connections.
- Connect the neutral wire (white or center wire) to the center terminal (silver).
- Ground wire (green or bare wire) must be connected to a green ground connector.
- Connect the remaining 2 supply wires to the remaining 2 terminals (gold).
- Securely tighten all electrical connections.
- Failure to do so can result in death, fire, or electrical shock.
Remove Terminal Block Cover

Remove the hold-down screw and terminal block cover.
Power Supply Cord Strain Relief
- Insert strain relief.

Remove the screws from a ¾” (19 mm) UL-listed strain relief (UL marking on strain relief). Put the tabs of the two clamp sections (C) into the hole below the terminal block opening (B) so that one tab is pointing up (A) and the other is pointing down (D), and hold in place. Tighten strain relief screws just enough to hold the two clamp sections (C) together. - Insert the power cord into a strain relief.

Put the power supply cord through the strain relief. Be sure that the wire insulation on the power supply cord is inside the strain relief. The strain relief should have a tight fit with the dryer cabinet and be in a horizontal position. Do not further tighten strain relief screws at this point.
Connecting 4-Wire Connection: Power Supply Cord
IMPORTANT:
A 4-wire connection is required for mobile homes and where local codes do not permit the use of 3-wire connections.
Standard Power Supply Cord Connectors
Connecting Neutral Ground and Neutral Wires
- Remove center terminal block screw (A) and the neutral ground wire (B) by removing the green external ground conductor screw (C).

- Connect neutral ground wire (B) and neutral wire (white or center wire) (D) of power supply cord under center terminal block screw (A). Tighten screw.

Connecting Power Cord Ground Wire - Connect ground wire (green or bare) (E) of power supply cord under green external ground conductor screw (C). Tighten screw.
Connecting Remaining Wires - Connect the remaining wires under the outer terminal block screws (F). Tighten screws. Finally, reinstall the terminal block cover to the dryer rear panel. Secure the cover with a hold-down screw. Now go to “Venting Requirements.”

Connecting 3-Wire Connection: Power Supply Cord
Standard Power Cord Connectors

Connecting Neutral Wire
- Loosen or remove center terminal block screw (A).

- Connect neutral wire (white or center wire) (D) of the power supply cord under the center terminal block screw (A). Tighten screw.

- Connect the remaining wires under the outer terminal block screws (F). Tighten screws. Finally, reinstall the terminal block cover to the dryer rear panel. Secure the cover with a hold-down screw. Now go to “Venting Requirements.”

Direct Wire Connection
Remove Terminal Block Cover

Remove the hold-down screw and terminal block cover.
Direct Wire Strain Relief
- Insert strain relief.

Unscrew the removable conduit connector (A) and any screws from a ¾” (19 mm) UL listed strain relief (UL marking on strain relief). Put the threaded section of the strain relief (C) through the hole below the terminal block opening (B). Reaching inside the terminal block opening, screw the removable conduit connector (A) onto the strain relief threads. - Insert conduit into strain relief and tighten clamp.

Put direct wire cable through the strain relief. The strain relief should have a tight fit with the dryer cabinet and be in a horizontal position. Tighten strain relief screw against the direct wire cable.
Connecting 4-Wire Connection: Direct Wire
IMPORTANT:
A 4-wire connection is required for mobile homes and where local codes do not permit the use of 3-wire connections. Direct wire cable must have 5 ft. (1.52 m) of extra length so dryer can be moved if needed. Strip 5″ (127 mm) of outer covering from end of cable, leaving bare ground wire at 5″ (127 mm). Cut 11⁄2″ (38 mm) from 3 remaining wires. Strip insulation back 1″ (25 mm). Shape ends of wires into a hook shape.
Connecting Neutral Ground and Neutral Wires
- Remove center terminal block screw (A) and the neutral ground wire (B) by removing the green external ground conductor screw (C).

- Connect neutral ground wire (B) and place hooked end (hook facing right) of neutral wire (white or center wire) (D) of direct wire cable under center terminal block screw (A). Squeeze hooked ends together and tighten screw.

Connecting Direct Wire Ground - Connect ground wire (green or bare wire) (E) of direct wire cable under green external ground conductor screw (C). Tighten screw.

Connecting Remaining Wires - Connect the remaining wires under the outer terminal block screws (F). Squeeze hooked ends together and tighten screws. Finally, reinstall the terminal block cover to the dryer rear panel. Secure the cover with a hold-down screw. Now go to “Venting Requirements.”

Connecting 3-Wire Connection: Direct Wire
Use where local codes permit connecting the cabinet-ground conductor to the neutral wire
Direct wire cable must have 5 ft. (1.52 m) of extra length so the dryer can be moved if needed. Strip 3½” (89 mm) of outer covering from end of the cable. Strip insulation back 1″ (25 mm). If using 3-wire cable with ground wire, cut bare wire even with outer covering. Shape ends of wires into a hook shape.
Connecting Neutral Wire
- Loosen or remove center terminal block screw (A).

- Place the hooked end of neutral wire (white or center wire) (D) of direct wire cable under center terminal block screw (A), hook facing right. Squeeze hooked end together and tighten the screw.

- Connect the remaining wires under the outer terminal block screws (F). Squeeze hooked ends together and tighten screws. Finally, reinstall the terminal block cover to the dryer rear panel. Secure the cover with a hold-down screw. Now go to “Venting Requirements.”

Connecting 3-Wire Connection: Optional
Use for direct wire or power supply cord where local codes do not permit connecting the cabinet-ground conductor to the neutral wire
- Remove the center terminal block screw (A). Also, remove the neutral ground wire (B) by removing the green external ground conductor screw (C).

- Connect neutral ground wire (B) and the neutral wire (white or center wire) (D) of the power supply cord/cable under the center terminal block screw (A). Tighten screw.

- Connect the remaining wires under the outer terminal block screws (F). Tighten screws.

- Connect a separate copper ground wire (G) under the green external ground conductor screw (C) to an adequate ground. Finally, reinstall the terminal block to the dryer rear panel. Secure the cover with a hold-down screw. Now go to “Venting Requirements.”

Leveling your dryer properly reduces excess noise and vibration.
WARNING
Excessive Weight Hazard
- Use two or more people to move and install the dryer.
- Failure to do so can result in back or another injury.
- Remove the cardboard from beneath the dryer. Place a level on top edges of the dryer, checking each side and front. If not level, tip the dryer and adjust the legs up or down as shown in Step 3, repeating as necessary.

- Grip dryer from top and rock back and forth, making sure all four legs are firmly on floor. Repeat, rocking dryer from side to side. If dryer rocks, go to Step 3 and adjust leveling legs.

- If the dryer is not level, use a 1″ or 25 mm open-end or adjustable wrench to turn the leveling leg counterclockwise to lower the dryer or clockwise to raise the dryer. Recheck the level of the dryer and that all four legs are firmly in contact with the floor. Repeat as needed.
HELPFUL TIP: You may want to prop the upfront of the dryer about 4″ (102 mm) with a wood block or similar object that will support the weight of the dryer.
COMPLETE INSTALLATION
- Check the electrical requirements. Be sure that you have the correct electrical supply and the recommended grounding method. See “Electrical Requirements.”
- Check that all parts are now installed. If there is an extra part, go back through the steps.
- Check that you have all of your tools.
- Dispose of/recycle all packaging materials.
WARNING
Electrical Shock Hazard- Plug into a grounded 3-prong outlet.
- Do not remove the ground prong.
- Do not use an adapter.
- Do not use an extension cord.
- Failure to follow these instructions can result in death, fire, or electrical shock.
- Plug into a grounded outlet, or connect the power.
- Check dryer operation (on some models, some accumulated time may be on the timer due to factory testing). Close the dryer door. Depending on the model, turn the timer-set knob to the right or insert coins and press slide in slowly. (Operating time will accumulate per number of coin slide depressions, depending on the model, and type of timing cam used.) Push the START button. Using a full heat cycle (not the air cycle), let the dryer run for at least five minutes. The dryer will stop when time is used up.
NOTE: The dryer door must be closed for the dryer to operate. When the door is open, the dryer stops, but the timer continues to run. To restart the dryer, close the door and push the START button. - Open the dryer door. Check that the inside of the dryer is warm. If the burner does not ignite and you can feel no heat inside the dryer, shut off dryer for five minutes. Check that all supply valve controls are in “ON” position and that the electrical cord is plugged in. Repeat the five-minute test.
- If drying time is too long, make sure that the lint screen is clean and that there are no obstructions to airflow in the dryer vent system.
- Restart the dryer and allow it to complete a full heat cycle (not air cycle) to make sure it is working properly.
REVERSING DRYER DOOR SWING (OPTIONAL)
You can change your door swing from a right-side opening to a left-side opening if desired.
Remove the Door Assembly
- Place a towel or soft cloth on top of the dryer or workspace to avoid scratching of the surface.
- Open the dryer door. Remove the bottom screws from the cabinet side of the hinges. Loosen (do not remove) the top screws from the cabinet side of the hinges.

- Lift door until top screws in cabinet are in large part of hinge slot. Pull forward off screws. Set door (handle side up) on top of dryer. Remove top screws from cabinet.
- Remove screws attaching hinges to door.
- Remove screws at top, bottom, and side of door (5 screws).

- Holding door over towel on dryer, grasp sides of outer door and gently lift to separate it from inner door. Do not use a putty knife to pry apart. Do not pull on door seal or plastic door catch.

- Be certain to keep cardboard spacer centered between doors. Reattach outer door panel to inner door panel so handle is on the side where hinges were just removed.

- Reattach screws at top, bottom, and side of door (5 screws).

- Attach door hinges to dryer door so that larger hole is at the bottom of the hinge and the hinge pin is toward the door front.

- Remove the 4 screws that attach 2 plugs on the left side. Attach plugs to right side using the same 4 screws.
- Insert screws into the bottom holes on the left side of the cabinet. Tighten screws halfway. Position the door so large end of the door hinge slot is over the screws. Slide door up so screws are in the bottom of the slots. Tighten screws. Insert and tighten the top screws in the hinges.

- Close the door and check that the door strike aligns with door catch. If needed, slide the door catch left or right within the slot to adjust alignment.
CHANGING TO A 30- OR 60-MINUTE TIMING CAM
(on some models)
WARNING
Electrical Shock Hazard
- Disconnect power before making cam changes.
- Failure to follow these instructions can result in death or electrical shock.
Coin-slide models: You can install the 30-minute or 60-minute timing cam (shipped with dryer) as follows:
- Unplug dryer or disconnect power.
- Unlock meter case.
- Turn the timing cam by hand until the V-shaped notch lines up below the ratchet tooth.

- Insert a narrow, flat-blade screwdriver under the timing cam near the clock shaft. Gently lift cam straight up and off shaft, making sure that the V-shaped notch clears the ratchet tooth.

- Place new cam (hub side down) overclock shaft. Line up the flat side of the shaft with flat side of the cam hole. Check that drive lug is in place.

- Turn the cam until the V-shaped notch lines up with the ratchet tooth.

- Press the cam down in place on the clock shaft. Make sure that the V-shaped notch clears the ratchet tooth.

- Close and lock the meter case.
- Plug in the dryer or reconnect the power.
MAINTENANCE INSTRUCTIONS
- Clean lint screen before and after each cycle.
- Removing accumulated lint:
From inside the dryer cabinet:
Lint should be removed every 2 years or more often, depending on dryer usage. Cleaning should be done by a qualified person.
From the exhaust vent:
Lint should be removed every 2 years, or more often, depending on dryer usage. - Keep the area around the dryer clear and free from combustible materials, gasoline, and other flammable vapors and liquids.
- Keep the dryer area clear and free from items that would obstruct the flow of combustion and ventilation air.
If dryer does not operate, check the following:
- The electrical supply is connected.
- A circuit breaker is not tripped or the house fuse is not blown.
- The door is closed.
- Controls are set in a running or “on” position.
- The START button has been pushed firmly.
- For gas dryers, check that gas supply shut-off valves are set in the open position.
IF YOU NEED ASSISTANCE
Contact your authorized Commercial Laundry distributor. To locate your authorized Commercial Laundry distributor, or for web inquiries, visit www.WhirlpoolCommercialLaundry.com. If you cannot locate your distributor, the Commercial Laundry Support Center will answer any questions about operating or maintaining your dryer not covered in the Installation Instructions. Just dial 1-800 NO BELTS (1-800-662-3587) — the call is toll-free. When you call, you will need the dryer model number and serial number. Both numbers can be found on the serial-rating plate located in the dryer door opening.
WHIRLPOOL® COMMERCIAL LAUNDRY LIMITED WARRANTY
IF YOU NEED SERVICE:
Contact your authorized Whirlpool® Commercial Laundry distributor. To locate your authorized Whirlpool® Commercial Laundry distributor, call: 1-800-662-3587, or for web inquiries, visit www.WhirlpoolCommercialLaundry.com.
For written correspondence:
Whirlpool® Commercial Laundry Service Department 2000 N M 63. Benton Harbor, Michigan 49022-2632 USA.
90-DAY LIMITED WARRANTY
WHAT IS COVERED
90-DAY LIMITED WARRANTY (PARTS AND LABOR)
For 90 days from the original date of purchase, when this commercial appliance is installed, maintained, and operated according to the instructions attached to
or furnished with the product, Whirlpool Corporation (hereafter “Whirlpool”) will pay for factory-specified replacement parts and repair labor to correct defects in materials or workmanship that existed when this commercial appliance was purchased.
TWO-YEAR LIMITED WARRANTY (PARTS ONLY)
For the first two years from the original date of purchase, when this commercial appliance is installed, maintained, and operated according to the instructions attached to or furnished with the product, Whirlpool will pay for factory-specified replacement parts to correct defects in materials or workmanship that existed when this commercial appliance was purchased.
YOUR SOLE AND EXCLUSIVE REMEDY UNDER THIS LIMITED WARRANTY SHALL BE PRODUCT REPAIR AS PROVIDED HEREIN. Whirlpool recommends that you use an “in-network” service provider to diagnose and repair your Commercial Laundry product. Whirlpool will not be responsible under this warranty to provide additional replacement parts as a result of incorrect diagnosis or repair by an “out of network” service company. This limited warranty is valid in the United States or Canada and applies only when the commercial appliance is used in the country in which it was purchased. This limited warranty is effective from the date of the original consumer purchase. Proof of the original purchase date is required to obtain service under this limited warranty.
WHAT IS NOT COVERED
- All other costs including labor, transportation, shipping, or customs duties for covered parts.
- Factory-specified replacement parts if this commercial appliance is used for other than normal, commercial use or when it is used in a manner that is inconsistent to published user or operator instructions and/or installation instructions.
- Service calls to correct the installation of your commercial appliance, to instruct you on how to use your commercial appliance, to replace or repair house fuses, or to correct external wiring or plumbing.
- Service calls to repair or replace appliance light bulbs, air filters, or water filters. Consumable parts are excluded from warranty coverage.
- Damage resulting from improper handling of product during delivery, theft, accident, alteration, misuse, abuse, fire, flood, acts of God, improper installation, installation not in accordance with local electrical or plumbing codes, or use of products not approved by Whirlpool.
- Pick up and delivery. This commercial appliance is designed to be repaired on location.
- Repairs to parts or systems resulting from unauthorized modifications made to the commercial appliance.
- The removal and reinstallation of your commercial appliance if it is installed in an inaccessible location or is not installed in accordance with published installation instructions.
- Damage resulting from exposure to chemicals.
- Changes to the building, room, or location are needed in order to make the commercial appliance operate correctly.
- Factory-specified replacement parts on commercial appliances with original model/serial numbers that have been removed, altered, or cannot be easily determined.
- Discoloration, rust, or oxidation of stainless steel surfaces.
- Factory-specified replacement parts as a result of incorrect diagnosis or repair by an “out of network” service company.
The cost of repair or replacement under these excluded circumstances shall be borne by the customer.
DISCLAIMER OF IMPLIED WARRANTIES
IMPLIED WARRANTIES, INCLUDING ANY IMPLIED WARRANTY OF MERCHANTABILITY OR IMPLIED WARRANTY OF FITNESS FOR A PARTICULAR PURPOSE, ARE LIMITED TO TWO YEARS OR THE SHORTEST PERIOD ALLOWED BY LAW. Some states and provinces do not allow limitations on the duration of implied warranties of merchantability or fitness, so this limitation may not apply to you. This warranty gives you specific legal rights, and you also may have other rights that vary from state to state or province to province.
DISCLAIMER OF REPRESENTATIONS OUTSIDE OF WARRANTY
Whirlpool makes no representations about the quality, durability, or need for service or repair of this major appliance other than the representations contained in this Warranty. If you want a longer or more comprehensive warranty than the limited warranty that comes with this major appliance, you should ask Whirlpool or your retailer about buying an extended warranty.
LIMITATION OF REMEDIES; EXCLUSION OF INCIDENTAL AND CONSEQUENTIAL DAMAGES
YOUR SOLE AND EXCLUSIVE REMEDY UNDER THIS LIMITED WARRANTY SHALL BE PRODUCT REPAIR AS PROVIDED HEREIN. WHIRLPOOL SHALL NOT BE LIABLE FOR INCIDENTAL OR CONSEQUENTIAL DAMAGES. Some states and provinces do not allow the exclusion or limitation of incidental or consequential damages, so these limitations and exclusions may not apply to you. This warranty gives you specific legal rights, and you also may have other rights that vary from state to state or province to province.
®/TM © 2016 Whirlpool. All rights reserved. Used under license in Canada.




















