Whirlpool Electric Dryer Owner's Manual


DRYER SAFETY
Your safety and the safety of others are very important.
We have provided many important safety messages in this manual and on your appliance. Always read and obey all safety messages.
This is the safety alert symbol.
This symbol alerts you to potential hazards that can kill or hurt you and others.
All safety messages will follow the safety alert symbol and either the word “DANGER” or “WARNING.” These words mean:
DANGER You can be killed or seriously injured if you don’t immediately follow instructions.
WARNING You can be killed or seriously injured if you don’t follow instructions.
All safety messages will tell you what the potential hazard is, tell you how to reduce the chance of injury, and tell you what can happen if the instructions are not followed.
WARNING — “Risk of Fire”
– Clothes dryer installation must be performed by a qualified installer.
– Install the clothes dryer according to the manufacturer’s instructions and local codes.
– Do not install a clothes dryer with flexible plastic venting materials or flexible metal (foil type) duct. If flexible metal duct is installed, it must be of a specific type identified by the appliance manufacturer as suitable for use with clothes dryers. Flexible venting materials are known to collapse, be easily crushed, and trap lint. These conditions will obstruct clothes dryer airflow and increase the risk of fire.
– To reduce the risk of severe injury or death, follow all installation instructions.
– Save these instructions.
IMPORTANT SAFETY INSTRUCTIONS
WARNING: To reduce the risk of fire, electric shock, or injury to persons when using your appliance, follow basic precautions, including the following:
- Read all instructions before using the appliance.
- Do not dry articles that have been previously cleaned in, washed in, soaked in, or spotted with gasoline, dry-cleaning solvents, or other flammable or explosive substances, as they give off vapors that could ignite or explode.
- Do not allow children to play on or in the appliance. Close supervision of children is necessary when the appliance is used near children.
- Before the appliance is removed from service or discarded, remove the door to the drying compartment.
- Do not reach into the appliance if the drum is moving.
- Do not install or store this appliance where it will be exposed to the weather.
- Do not tamper with controls.
- Do not repair or replace any part of the appliance or attempt any servicing unless specifically recommended in the usermaintenance instructions or in published user-repair instructions that you understand and have the skills to carry out.
- Do not use fabric softeners or products to eliminate static unless recommended by the manufacturer of the fabric softener or product.
- Do not use heat to dry articles containing foam rubber or similarly textured rubber-like materials.
- Clean lint screen before or after each load.
- Keep area around the exhaust opening and adjacent surrounding areas free from the accumulation of lint, dust, and dirt.
- The interior of the appliance and exhaust duct should be cleaned periodically by qualified service personnel.
- Do not place items exposed to cooking oils in your dryer. Items contaminated with cooking oils may contribute to a chemical reaction that could cause a load to catch fire. To reduce the risk of fire due to contaminated loads, the final part of a tumble dryer cycle occurs without heat (cool down period). Avoid stopping a tumble dryer before the end of the drying cycle unless all items are quickly removed and spread out so that the heat is dissipated.
- Do not use replacement parts that have not been recommended by the manufacturer (e.g. parts made at home using a 3D printer).
- See the Installation Instructions for grounding requirements and installation.
SAVE THESE INSTRUCTIONS
IMPORTANT SAFETY INSTRUCTIONS
WHEN DISCARDING OR STORING YOUR OLD CLOTHES DRYER, REMOVE THE DOOR.
SAVE THESE INSTRUCTIONS
Internet Connectivity Guide for Connected Appliances Only
IMPORTANT: Proper installation of your appliance prior to use is your responsibility. Be sure to read and follow the installation instructions that came with your appliance. Connectivity requires Wi-Fi and account creation. App features and functionality are subject to change. Data rates may apply. Once installed, launch the app. You will be guided through the steps to set up a user account and to connect your appliance.
You Will Need:
- A home wireless router supporting Wi-Fi, 2.4Ghz with WPA2 security. If you are unsure of your router’s capabilities, refer to the router manufacturer’s instructions.
- The router to be on and have a live internet connection. The 10character SAID code for your appliance.
- The SAID code is either printed on a label on the appliance or found on the LCD screen.
Federal Communications Commission (FCC) Compliance Notice
This device complies with Part 15 of the FCC Rules. Operation is subject to the following two conditions:
1. This device may not cause harmful interference, and
2. This device must accept any interference received, including interference that may cause undesired operation. Changes or modifications not expressly approved by the party responsible for compliance could void the user’s authority to operate the equipment.
Industry Canada (IC) Compliance Notice
This Device complies with Industry Canada License-exempt RSS standard(s). Operation is subject to the following two conditions:
1. This device may not cause interference.
2. This device must accept any interference, including interference that may cause undesired operation of the device. Under Industry Canada regulations, this radio transmitter may only operate using an antenna of a type and maximum (or lesser) gain approved for the transmitter by Industry Canada. To reduce potential radio interference to other users, the antenna type and its gain should be so chosen that the equivalent isotropically radiated power (e.i.r.p.) is not more than that necessary for successful communication.
To comply with FCC and Industry Canada RF radiation exposure limits for general population, antenna(s) used for this transmitter must be installed such that a minimum separation distance of 20 cm is maintained between the radiator (antenna) and all persons at all times and must not be co-located or operating in conjunction with any other antenna or transmitter. If this equipment does cause harmful interference to radio or television reception, which can be determined by turning the equipment off and on, the user is encouraged to try to correct the interference by one of the following measures:
- Reorient or relocate the receiving antenna.
- Increase the separation between the equipment and receiver.
- Connect the equipment into an outlet on a circuit different from that to which the receiver is connected.
- Consult the dealer or an experienced radio/TV technician for help.
DRYER MAINTENANCE AND CARE
Cleaning the Dryer Location
WARNING

Explosion Hazard
Keep flammable materials and vapors, such as gasoline, away from dryer.
Do not dry anything that has ever had anything flammable on it (even after washing).
Place dryer at least 18 inches (460 mm) above the floor for a garage installation.
Failure to do so can result in death, explosion, or fire.
Keep dryer area clear and free from items that would block the airflow for proper dryer operation. This includes clearing piles of laundry in front of the dryer.
Cleaning the Dryer Interior
To clean dryer drum:
- Use nonflammable cleaner or a mild hand dish detergent mixed at a low concentration with very warm water, and rub with a soft cloth.
■ Rinse well with a wet sponge or towel.
■ Tumble a load of clean clothes or towels to dry drum. OR - Use a microfiber cloth and hot water in a spray bottle to clean the drum and a second microfiber towel to dry.
NOTE: Garments that contain unstable dyes, such as denim blue jeans or brightly colored cotton items, may discolor the rear of the dryer interior. These stains are not harmful to your dryer and will not stain future loads of clothes. Dry unstable dye items inside out to avoid transfer of dye.
Removing Accumulated Lint
From inside the dryer cabinet: Lint should be removed every 2 years, or more often, depending on dryer usage. Cleaning should be done by a qualified appliance service or ventilation system cleaner.
From the exhaust vent: Lint should be removed every 2 years, or more often, depending on dryer usage.
Cleaning the Lint Screen
Every load cleaning: The lint screen may be located either in the door opening or the top of the dryer depending on model. A screen blocked by lint can increase drying time.
To clean:
- Remove the lint screen. If necessary, press the tab to release and open the lint screen. Roll lint off the screen with your fingers. Do not rinse or wash screen to remove lint. Wet lint is hard to remove.

- Push the lint screen firmly back into place.
IMPORTANT:
■ Do not run the dryer with the lint screen loose, damaged, blocked, or missing. Doing so can cause overheating and damage to both the dryer and fabrics.
■ If lint falls off the screen into the dryer during removal, check the exhaust hood and remove the lint. See “Venting Requirements” in the Installation Instructions.
■ Clean space where lint screen is located, as needed. Using a vacuum, gently remove any lint that has accumulated outside of the lint screen.
As-needed cleaning:
Laundry detergent and fabric softener residue can build up on the lint screen. This buildup can cause longer drying times for your clothes, or cause the dryer to stop before your load is completely dry. The screen is probably clogged if lint falls off while the screen is in the dryer. Clean the lint screen with a nylon brush every 6 months, or more frequently, if it becomes clogged due to a residue buildup.
To wash:
- Roll lint off the screen with your fingers.
- Wet both sides of lint screen with hot water.
- Wet a nylon brush with hot water and liquid detergent. Scrub lint screen with the brush to remove residue buildup.

- Rinse screen with hot water.
- Thoroughly dry lint screen with a clean towel. Reinstall screen in dryer.
Changing the Drum Light (on some models)
- Unplug dryer or disconnect power.
- Open the dryer door. Locate the light bulb cover on the back wall of the dryer. Using a Phillips-head screwdriver or 1/4″ (6.35 mm) nut driver or socket wrench, remove the screw located in the lower right-hand corner of the cover. Remove the cover.

- Turn bulb counterclockwise. Replace the bulb with a 10 W appliance bulb only. Replace the cover and secure with the screw.
- Plug in dryer or reconnect power. Accessories and replacement parts are available for your model. For ordering and contact information, please reference your Quick Start Guide.
Check Your Vent System for Good Airflow
WARNING

Fire Hazard
Use a heavy metal vent.
Do not use a plastic vent.
Do not use a metal foil vent.
Failure to follow these instructions can result in death or fire.
Good Airflow
Along with heat, dryers require good airflow to efficiently dry laundry. Proper venting will reduce your drying times and improve your energy savings. See Installation Instructions.
The venting system attached to the dryer plays a big role in good airflow. Blocked or crushed vents as well as improper venting installation will reduce air flow and dryer performance.
Service calls caused by improper venting are not covered by the warranty and will be paid by the customer, regardless of who installed the dryer. To clean or repair venting, contact a venting specialist.
Maintain Good Airflow
■ Cleaning your lint screen before each load.
■ Replace plastic or foil vent material with 4″ (102 mm) diameter heavy, rigid vent material.
■ Use the shortest length of vent possible.
■ Use no more than four 90° elbows in a vent system; each bend and curve reduces airflow.

■ Remove lint and debris from the exhaust hood.
■ Remove lint from the entire length of the vent system at least every 2 years. When cleaning is complete, be sure to follow the Installation Instructions for final product check.
■ Clear away items from the front of the dryer.
Nonuse, Storage, and Moving Care
Nonuse or Storage Care
If you will be on vacation or not using your dryer for an extended period of time, you should:
- Unplug dryer or disconnect power.
- Clean lint screen. See “Cleaning the Lint Screen.”
- Turn off the water supply to the dryer. This helps to avoid unintended flooding (due to a water pressure surge) while you are away.
Moving Care
For power supply cord-connected dryers:
- Unplug the power supply cord.
- Steam models only: Shut off water faucet. Disconnect the water inlet hose from faucet; then drain the hose. Transport hose separately.
- Make sure leveling legs are secure in dryer base.
- Use tape to secure dryer door.
For direct-wired dryers:
WARNING
Electrical Shock Hazard
Disconnect power before servicing.
Replace all parts and panels before operating.
Failure to do so can result in death or electrical shock.
- Turn off power at fuse or breaker box.
- Disconnect wiring.
- Steam models only: Shut off water faucet.
- Steam models only: Disconnect the water inlet hose from faucet; then drain the hose. Transport hose separately.
- Make sure leveling legs are secure in dryer base.
- Use tape to secure dryer door.
Special Instructions for Steam Models
Install and store your dryer where it will not freeze. Because some water may stay in the hose, freezing can damage your dryer. If storing or moving your dryer during freezing weather, winterize it.
Water inlet hose
Replace inlet hose and hose screen after 5 years of use to reduce the risk of hose failure. Periodically inspect and replace inlet hose if bulges, kinks, cuts, wear, or leaks are found.
When replacing your inlet hose, record the date of replacement.
To winterize the dryer:
- Unplug dryer or disconnect power.
- Shut off water faucet.
- Disconnect water inlet hose from faucet and drain.
To use the dryer again:
- Flush water pipes. Reconnect water inlet hose to faucet. Turn on water faucet.
- Plug in dryer or reconnect power as described in the Installation Instructions.
Reinstalling the Dryer
Follow the Installation Instructions to locate, level, and connect the dryer.
INSTALLATION INSTRUCTIONS REQUIREMENTS
Tools and Parts
NOTE: Install the clothes dryer according to the manufacturer’s instructions and local codes. Gather required tools and parts before starting installation. Read and follow the instructions provided with any tools listed here.
Tools Needed for All Installations:


Additional Tools Needed (on some models):
Parts Supplied (all models):

Leveling legs (4) (Length and appearance of legs may vary according to model) Parts package is located in dryer drum. Check that all parts are included. NOTE: Do not use leveling legs supplied with dryer if installing with a pedestal or stack kit.
Parts Needed (steam models):

Parts Needed (all models):
Additional parts may be required, depending on your installation. Check local codes. Check existing electrical supply and venting. Read “Electrical Requirements” and “Venting Requirements” before purchasing parts.
Mobile home installations require metal exhaust system hardware available for purchase from the dealer from whom you purchased your dryer. For further information, please refer to the Quick Start Guide for service contact information.
Available Accessories:
Refer to your Quick Start Guide for contact and ordering information.
Location Requirements
WARNING

Explosion Hazard
Keep flammable materials and vapors, such as gasoline, away from dryer.
Do not dry anything that has ever had anything flammable on it (even after washing).
Place dryer at least 18 inches (460 mm) above the floor for a garage installation.
Failure to do so can result in death, explosion, or fire.
Check code requirements. Some codes limit, or do not permit, installing dryer in garages, closets, mobile homes, or sleeping quarters. Contact your local building inspector.
You will need:
- For vented models: A location allowing for proper exhaust installation. See “Venting Requirements.”
- A separate 30 A circuit for electric dryers.
- If you are using power supply cord, a grounded electrical outlet located within 2 ft. (610 mm) of either side of dryer. See “Electrical Requirements.”
- A sturdy floor to support dryer weight of 200 lbs. (90.7 kg). Also, consider the combined weight of the companion appliance.
- For steam dryers: Cold water faucets located within 4 ft. (1.2 m) of the water fill valves, and water pressure of 20120 psi (138827 kPa). You may use the water supply for your washer using the necessary parts as noted (which you may need to purchase).
- Level floor with a maximum slope of 1″ (25 mm) under the entire dryer. If the slope is greater than 1″ (25 mm), install Extended Dryer Feet Kit. If not level, clothes may not tumble properly and automatic sensor cycles may not operate correctly.
- For garage installation, place dryer at least 18″ (460 mm) above the floor. If using a pedestal, you will need 18″ (460 mm) to bottom of the dryer.
- The dryer must not be installed or stored in an area where it will be exposed to water and/or weather.
IMPORTANT: Do not operate dryer at temperatures below 45°F (7°C). Lower temperatures may cause dryer not to shut off at end of automatic sensor cycles, resulting in longer drying times.
Installation clearances: For each arrangement, consider allowing more space for ease of installation and servicing, spacing for companion appliances, and clearances for walls, doors, and floor moldings. Space must be large enough to allow the dryer door to fully open. Add spacing on all sides of the dryer to reduce noise transfer. If a closet door or louvered door is installed, top and bottom air openings in the door are required.
Installation spacing for a recessed area or closet installation
All dimensions show recommended and minimum spacing allowed.
- Additional spacing should be considered for ease of installation and servicing.
- Additional clearances might be required for wall, door, floor, moldings, dryer venting, and drain system.
- Additional spacing should be considered on all sides of the dryer to reduce noise transfer.
- For closet installation with a door, minimum ventilation openings in the top and bottom of the door are required for vented models. Louvered doors with equivalent ventilation openings are acceptable. Companion appliance spacing should also be considered.
Recommended installation clearances (dryer only):

Minimum installation clearances (dryer only):

0″ (0 mm) rear spacing is allowed for straight-back venting only. For steam models only, inlet hose must not be kinked.
Mobile Home Additional installation requirements
This dryer is suitable for mobile home installations. The installation must conform to the Manufactured Home Construction and Safety Standard, Title 24 CFR, Part 3280 (formerly the Federal Standard for Mobile Home Construction and Safety, Title 24, HUD Part 280) or the Standard for Mobile Homes, CAN/CSAZ240 MH.
Mobile home installations require:
- Metal exhaust system hardware, which is available for purchase from your dealer.
- Special provisions must be made in mobile homes to introduce outside air into the dryer. The opening (such as a nearby window) should be at least twice as large as the dryer exhaust opening.
Electrical Requirements U.S.A.
It is your responsibility:
- To contact a qualified electrical installer.
- To be sure that the electrical connection is adequate and in conformance with the National Electrical Code, ANSI/ NFPA 70 latest edition and all local codes and ordinances. The National Electrical Code requires a 4-wire power supply connection for homes built after 1996, dryer circuits involved in remodeling after 1996, and all mobile home installations. A copy of the above code standards can be obtained from: National Fire Protection Association, One Batterymarch Park, Quincy, MA 021697471.
- To supply the required 3- or 4-wire, single-phase, 120/240 V, 60 Hz, AC-only electrical supply (or 3- or 4-wire, 120/208 V electrical supply, if specified on the serial/rating plate) on a separate 30 A circuit, fused on both sides of the line. Connect to an individual branch circuit. Do not have a fuse in the neutral or grounding circuit.
- Do not use an extension cord.
- If codes permit and a separate ground wire is used, it is recommended that a qualified electrician determine that the ground path is adequate.
Electrical Connection
To properly install your dryer, you must determine the type of electrical connection you will be using and follow the instructions provided for it here.
- This dryer is manufactured ready to install with a 3-wire electrical supply connection. The neutral ground conductor is permanently connected to the neutral conductor (white wire) within the dryer. If the dryer is installed with a 4-wire electrical supply connection, the neutral ground conductor must be removed from the external ground connector (green screw), and secured under the neutral terminal (center or white wire) of the terminal block. When the neutral ground conductor is secured under the neutral terminal (center or white wire) of the terminal block, the dryer cabinet is isolated from the neutral conductor. The green ground wire of the 4-wire power cord must be secured to the dryer cabinet with the green ground screw
- If local codes do not permit the connection of a neutral ground wire to the neutral wire, see “Optional 3-Wire Connection.”
- A 4-wire power supply connection must be used when the appliance is installed in a location where grounding through the neutral conductor is prohibited. Grounding through the neutral conductor is prohibited for (1) new branch-circuit installations after 1996, (2) mobile homes, (3) recreational vehicles, and (4) areas where local codes prohibit grounding through the neutral conductors.
If using a power supply cord:
Use a UL-listed power supply cord kit marked for use with clothes dryers. The kit should contain:
- A UL-listed 30 A power supply cord, rated 120/240 V minimum. The cord should be type SRD or SRDT and be at least 4 ft. (1.22 m) long. The wires that connect to the dryer must end in ring terminals or spade terminals with upturned ends.
- A UL-listed strain relief.
If your outlet looks like this:

Then choose a 4-wire power supply cord with ring or spade terminals and UL-listed strain relief. The 4-wire power supply cord, at least 4 ft. (1.22 m) long, must have four 10-gauge copper wires and match a 4-wire receptacle of NEMA Type 14-30 R. The ground wire (ground conductor) may be either green or bare. The neutral conductor must be identified by a white cover.
If your outlet looks like this:

Then choose a 3-wire power supply cord with ring or spade terminals and UL-listed strain relief. The 3-wire power supply cord, at least 4 ft. (1.22 m) long, must have three 10-gauge copper wires and match a 3-wire receptacle of NEMA Type 10-30R.
If connecting by direct wire:
Power supply cable must match power supply (4-wire or 3-wire) and be:
- Flexible armored cable or nonmetallic sheathed copper cable (with ground wire), covered with flexible metallic conduit. All current-carrying wires must be insulated.
- 10-gauge solid copper wire (do not use aluminum) at least 5 ft. (1.52 m) long.
GROUNDING INSTRUCTIONS
For a grounded, cord-connected appliance: This appliance must be grounded. In the event of a malfunction or breakdown, grounding will reduce the risk of electric shock by providing a path of least resistance for electric current. This appliance is equipped with a cord having an equipment-grounding conductor and a grounding plug. The plug must be plugged into an appropriate outlet that is properly installed and grounded in accordance with all local codes and ordinances.
WARNING: Improper connection of the equipmentgrounding conductor can result in a risk of electric shock. Check with a qualified electrician or service representative if you are in doubt as to whether the appliance is properly grounded. Do not modify the plug provided with the appliance: If it will not fit the outlet, have a proper outlet installed by a qualified electrician.
For a permanently connected appliance: This appliance must be connected to a grounded metal, permanent wiring system, or an equipment-grounding conductor must be run with the circuit conductors and connected to the equipment-grounding terminal or lead on the appliance.
SAVE THESE INSTRUCTIONS
Electric Requirements Canada
WARNING
![]()
Electrical Shock Hazard
Plug into a grounded 4 prong outlet.
Failure to do so can result in death or electrical shock.
It is your responsibility:
- To contact a qualified electrical installer.
- To be sure that the electrical connection is adequate and in conformance with Canadian Electrical Code, C22.1 latest edition and all local codes. A copy of above codes standard may be obtained from: Canadian Standards Association, 178 Rexdale Blvd., Toronto, ON M9W 1R3 CANADA.
- To supply the required 4-wire, single-phase, 120/240 V, 60 Hz, AC-only electrical supply on a separate 30 A circuit, fused on both sides of the line. A time-delay fuse or circuit breaker is recommended. Connect to an individual branch circuit.
- This dryer is equipped with a UL-listed and/or CSA International Certified Power Cord intended to be plugged into a standard 14-30R wall receptacle. The cord is 5 ft. (1.52 m) long. Be sure wall receptacle is within reach of dryer’s final location.

- If codes permit and a separate ground wire is used, it is recommended that a qualified electrician determine that the ground path is adequate.
- Do not use an extension cord. For further information, or to obtain a Power Supply Cord Replacement (Part Number W11095079), please reference the contact information listed on your Quick Start Guide.
GROUNDING INSTRUCTIONS
For a grounded, cord-connected appliance:
This appliance must be grounded. In the event of a malfunction or breakdown, grounding will reduce the risk of electric shock by providing a path of least resistance for electric current. This appliance is equipped with a cord having an equipment-grounding conductor and a grounding plug. The plug must be plugged into an appropriate outlet that is properly installed and grounded in accordance with all local codes and ordinances.
WARNING: Improper connection of the equipmentgrounding conductor can result in a risk of electric shock. Check with a qualified electrician or service representative if you are in doubt as to whether the appliance is properly grounded. Do not modify the plug provided with the appliance: if it will not fit the outlet, have a proper outlet installed by a qualified electrician.
SAVE THESE INSTRUCTIONS
INSTALLATION
Install Leveling Legs
WARNING
Excessive Weight Hazard
Use two or more people to move and install or uninstall appliance. Failure to do so can result in back or other injury.
- Prepare dryer for leveling legs

To avoid damaging floor, use a large flat piece of cardboard from dryer carton; place under entire back edge of dryer. Firmly grasp dryer body (not console panel) and gently lay dryer down on cardboard. NOTE: Residual water from factory testing may drain when dryer is laying on its side. - Screw in leveling legs

Using a wrench and tape measure, screw leveling legs into leg holes until bottom of foot is approximately 1/2″ (13 mm) to 1 1/2″ (38 mm) from bottom of the dryer.
For leveling legs with the diamond marking:
Screw legs into leg holes by hand. Use a wrench to finish turning legs until diamond marking is no longer visible.
Place a carton corner post from dryer packaging under each of the two dryer back corners. Stand the dryer up. Slide the dryer on the corner posts until it is close to its final location. Leave enough room to connect the exhaust vent.
Electrical Installation U.S.A.
WARNING
Fire Hazard
For power supply cord, use a new UL listed 30 A power supply cord. For direct wire, use 10 gauge copper wire.
Use a UL listed strain relief.
Disconnect power before making electrical connections.
Connect neutral wire (white or center wire) to center terminal (silver).
Connect ground wire (green or bare wire) to green ground connector.
Connect remaining 2 supply wires to remaining 2 terminals (gold). Securely tighten all electrical connections.
Failure to do so can result in death, fire, or electrical shock.
- Disconnect power
- Remove terminal block cover

Remove hold-down screw and terminal block cover.
3. Choose electrical connection type
Power supply cord 4-wire receptacle (NEMA Type 14-30R): Go to “4-Wire Power Supply Cord Connection.” Then, go to “Venting Requirements.”

Power supply cord 3-wire receptacle (NEMA Type 10-30R): Go to “3-Wire Power Supply Cord Connection.” Then, go to “Venting Requirements.”
![]()
4-wire direct connection: Go to “Direct Wire Strain Relief,” then “4-Wire Direct Wire Connection,” then, go to “Venting Requirements.”
![]()
3-wire direct connection: Go to “Direct Wire Strain Relief”, then “3-Wire Direct Wire Connection,” then, go to “Venting Requirements.”
NOTE: If local codes do not permit connection of a cabinetground conductor to neutral wire, go to “Optional 3-wire Connection.” This connection may be used with either a power supply cord or a direct wire connection.
Power Supply Cord Connection Power Supply Cord Strain Relief
1. Attach power supply cord strain relief

Remove the screws from a 3/4″ (19 mm) UL-listed strain relief (UL marking on strain relief). Put the tabs of the two clamp sections (C) into the hole below the terminal block opening (B) so that one tab is pointing up (A) and the other is pointing down (D), and hold in place. Tighten strain relief screws just enough to hold the two clamp sections (C) together.
2. Attach power supply cord to strain relief

Put power supply cord through the strain relief. Be sure that the wire insulation on the power supply cord is inside the strain relief. The strain relief should have a tight fit with the dryer cabinet and be in a horizontal position. Do not further tighten strain relief screws at this point.
3. Prepare to connect neutral ground wire and neutral wire

Remove center terminal block screw (B). Remove neutral ground wire (E) from green external ground conductor screw (A).
4-Wire Power Supply Cord Connection
IMPORTANT: A 4-wire connection is required for mobile homes and where local codes do not permit the use of 3-wire connections.

- A. 4-wire receptacle (NEMA type 14-30R)
- B. 4-prong plug
- C. Ground prong
- D. Neutral prong
- E. Spade terminals with upturned ends
- F. 3/4″ (19 mm) UL-listed strain relief G. Ring terminals
4. Connect neutral ground wire and neutral wire

Connect neutral ground wire (E) and neutral wire (white or center) (C) of power supply cord under center terminal block screw (B). Tighten screw.
5. Connect ground wire

Connect ground wire (F) (green or bare) of power supply cord under green external ground conductor screw (A). Tighten screw.
6. Connect remaining wires

Connect remaining wires under outer terminal block screws. Tighten screws. Insert tab of terminal block cover into slot of dryer rear panel. Secure cover with hold-down screw. Now, go to “Venting Requirements.”
3-Wire Power Supply Cord Connection
IMPORTANT: Use where local codes permit connecting cabinetground conductor to neutral wire.

- A. 3-wire receptacle (NEMA type 10-30R)
- B. 3-wire plug
- C. Neutral prong
- D. Spade terminals with upturned ends
- E. 3/4″ (19 mm) UL-listed strain relief
- F. Ring terminals
- G. Neutral (white or center wire)
3. Remove center screw

Remove center terminal block screw (B).
4. Connect neutral wire

Connect neutral wire (white or center) (C) of power supply cord under center terminal block screw (B). Tighten screw.
5. Connect remaining wires
Connect remaining wires under outer terminal block screws. Tighten screws. Insert tab of terminal block cover into slot of dryer rear panel. Secure cover with hold-down screw. Now, go to “Venting Requirements.”
Direct Wire Connection
Direct wire strain relief
1. Attach direct wire strain relief

Unscrew the removable conduit connector (A) and any screws from a 3/4″ (19 mm) UL-listed strain relief (UL marking on strain relief). Put the threaded section of the strain relief through the hole below the terminal block opening (B). Reaching inside the terminal block opening, screw the removable conduit connector (A) onto the strain relief threads (C) and tighten securely.
2. Attach direct wire cable to strain relief

Put direct wire cable through the strain relief. The strain relief should have a tight fit with the dryer cabinet and be in a horizontal position. Tighten strain relief screw against the direct wire cable.

4-Wire Direct Wire Connection
IMPORTANT: A 4-wire connection is required for mobile homes and where local codes do not permit 3-wire connections.
3. Prepare your 4-wire cable for direct connection

Direct wire cable must have 5 ft. (1.52 m) of extra length so dryer may be moved if needed.
Strip 5″ (127 mm) of outer covering from end of cable, leaving bare ground wire at 5″ (127 mm). Cut 1 1/2″ (38 mm) from remaining 3 wires. Strip insulation back 1″ (25 mm). Shape ends of wires into hooks.
4. Prepare to connect neutral ground wire and neutral wire

Remove center terminal block screw (B). Remove neutral ground wire (E) from green external ground conductor screw (A).
5. Connect neutral ground wire and neutral wire

Connect neutral ground wire (E) and place hooked end (hook facing right) of neutral wire (white or center wire) (C) of direct wire cable under center screw of terminal block (B). Squeeze hooked ends together and tighten screw.
6. Connect ground wire

Connect ground wire (green or bare) (F) of direct wire cable under green external ground conductor screw (A). Tighten screw.
7. Connect remaining wires

Place hooked ends of remaining direct wire cable wires under outer terminal block screws (hooks facing right). Squeeze hooked ends together and tighten screws. Insert tab of terminal block cover into slot of dryer rear panel. Secure cover with hold-down screw. Now, go to “Venting Requirements.”
3-Wire Direct Wire Connection
IMPORTANT: Use where local codes permit connecting cabinetground conductor to neutral wire.
3. Prepare your 3-wire cable for direct connection

Direct wire cable must have 5 ft. (1.52 m) of extra length so dryer may be moved if needed. Strip 3 1/2″ (89 mm) of outer covering from end of cable. Strip insulation back 1″ (25 mm). If using 3-wire cable with ground wire, cut bare wire even with outer covering. Shape wire ends into hooks.
4. Remove center screw

Remove center terminal block screw (B).
5. Connect neutral wire

Place hooked end of neutral wire (white or center) (C) of direct wire cable under center terminal block screw (B). Squeeze hooked end together. Tighten screw.
6. Connect remaining wires

Place hooked ends of remaining direct wire cable wires under outer terminal block screws (hooks facing right). Squeeze hooked ends together and tighten screws. Insert tab of terminal block cover into slot of dryer rear panel. Secure cover with hold-down screw. Now, go to “Venting Requirements.”
Optional 3-Wire Connection (Power Supply Cord Shown)
IMPORTANT: You must verify with a qualified electrician that this grounding method is acceptable before connecting.
1. Prepare to connect neutral ground wire and neutral wire

Install the correct strain relief for your electrical connection method. Remove center terminal block screw (B). Remove neutral ground wire (E) from green external ground conductor screw (A).
2. Connect neutral ground wire and neutral wire

3. Connect remaining wires

Place remaining wires under outer terminal block screws. Tighten screws.
4. Connect external ground wire

Connect neutral ground wire (E) and neutral wire (white or center wire) (C) of power supply cord or cable under center terminal block screw (B). Tighten screw.
Venting Requirements
WARNING
![]()
Fire Hazard
Use a heavy metal vent.
Do not use a plastic vent.
Do not use a metal foil vent.
Failure to follow these instructions can result in death or fire.
WARNING: To reduce the risk of fire, this dryer MUST BE EXHAUSTED OUTDOORS.
IMPORTANT: Observe all governing codes and ordinances. Dryer exhaust must not be connected into any gas vent, chimney, wall, ceiling, attic, crawlspace, or a concealed space of a building. Only rigid or flexible metal vent shall be used for exhausting.

- Only a 4″ (102 mm) heavy metal exhaust vent and clamps may be used.
- Do not use plastic or metal foil vent.
Rigid metal vent:
- Recommended for best drying performance and to avoid crushing and kinking.
Flexible metal vent (acceptable only if accessible to clean):
- Must be fully extended and supported in final dryer location.
- Remove excess to avoid sagging and kinking that may result in reduced airflow and poor performance.
- Do not install in enclosed walls, ceilings, or floors.
- The total length should not exceed 7 3/4 ft. (2.4 m).
- The length of flexible metal vent used must be included in the overall vent system design as shown in the “Vent System Chart.”
NOTE: If using an existing vent system, clean lint from entire length of the system and make sure exhaust hood is not plugged with lint. Replace plastic or metal foil vents with rigid metal or flexible metal vents. Review “Vent System Chart” and, if necessary, modify existing vent system to achieve best drying performance.
Exhaust hoods:
- An exhaust hood should cap the vent to keep rodents and insects from entering the home.
- Must be at least 12″ (305 mm) from ground or any object that may obstruct exhaust (such as flowers, rocks, bushes, or snow).
- Do not use an exhaust hood with a magnetic latch.

Elbows:
45° elbows provide better airflow than 90° elbows.

Clamps:
- Use clamps to seal all joints.
- Exhaust vent must not be connected or secured with screws or other fastening devices that extend into interior of duct and catch lint. Do not use duct tape.

Vent products can be purchased from your dealer. For contact and ordering information, refer to your Quick Start Guide.
Plan Vent System
Recommended exhaust installations:
Typical installations vent the dryer from the rear of the dryer. Other installations are possible.

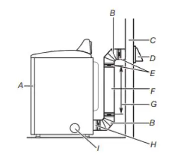
- A. Dryer
- B. Elbow
- C. Wall
- D. Exhaust hood
- E. Clamps
- F. Rigid metal or flexible metal vent
- G. Vent length necessary to connect elbows
- H. Exhaust outlet
- I. Optional side exhaust outlet
Optional exhaust installations:
WARNING
![]()
Fire Hazard
Cover unused exhaust holes with a manufacturer’s exhaust cover kit.
Contact your local dealer. Failure to follow these instructions can result in death, fire, electrical shock, or serious injury.
Some models can be converted to exhaust out the right side, left side, or through the bottom. If you prefer, you may contact your local dealer to have the dryer converted.

- A. Standard rear offset exhaust installation
- B. Left- or right-side exhaust installation (available only on select 27″-wide models).
- C. Bottom exhaust installation (available only on select 27″- wide models).
Alternate installations for close clearances
Venting systems come in many varieties. Select the type best for your installation. Two close-clearance installations are shown.
NOTE: The following kits for close-clearance alternate installations are available for purchase. Refer to Quick Start Guide for contact information.

Special provisions for mobile home installations:
Exhaust vent must be securely fastened to a noncombustible portion of the mobile home and must not terminate beneath the mobile home. Terminate exhaust vent outside.
Determine vent path:

- Select route that will provide straightest and most direct path outdoors.
- Plan installation to use fewest number of elbows and turns.
- When using elbows or making turns, allow as much room as possible.
- Bend vent gradually to avoid kinking.
- Use as few 90° turns as possible.
Determine vent length and elbows needed for best drying performance:
- Use following “Vent System Chart” to determine type of vent material and hood combinations acceptable to use.
NOTE: Do not use vent runs longer than those specified in “Vent System Chart.” Exhaust systems longer than those specified will: - Shorten life of dryer.
- Reduce performance, resulting in longer drying times and increased energy usage.
The “Vent System Chart” provides venting requirements that will help achieve best drying performance.

NOTE: Side and bottom exhaust installations have a 90º turn inside the dryer. To determine maximum exhaust length, add one 90º turn to the chart.

To determine if your model has a long vent system, refer to the type code located on the serial number plate in the inner door well. Example: A Long Vent Model would be BJAV-NATXXXXXXX-XXX or BWFB-NAT-XXXXXXX-XXX.
NOTE: For long vent systems, use of box/louvered hoods will improve venting regardless of length.
Additional Elbows
In cases in which the Installation Instructions do not address the vent length for the specific number of elbows required for a particular application, the following calculations may be used. (The total vent system length includes all straight and curved portions of the vent system):
- For 90° elbows, reduce the allowable vent system length by 10 Ft. (3.05 m).
- For 45° elbows, reduce the allowable vent system length by 6 Ft. (1.83 m).
For example, if the Installation Instructions state that a dryer is allowed 40 Ft. (12.2 m) of total vent length with two 90° bends, the total allowable vent length would be reduced by 10 Ft. (3.0 m) (from 40 Ft [12.2 m] to 30 Ft. [9.1m]).
Install Vent System
- Install exhaust hood

Install exhaust hood and use caulking compound to seal exterior wall opening around exhaust hood. - Connect vent to exhaust hood

Vent must fit over the exhaust hood. Secure vent to exhaust hood with 4″ (102 mm) clamp. Run vent to dryer location using straightest path possible. Avoid 90° turns. Use clamps to seal all joints. Do not use duct tape, screws, or other fastening devices that extend into interior of vent to secure vent, because they can catch lint.
Connect Inlet Hoses
For vented, non-steam models, skip to “Connect Vent.”
The dryer must be connected to the cold water faucet using the new inlet hoses. Do not use old hoses.
NOTE: Replace inlet hoses after 5 years of use to reduce the risk of hose failure. Record hose installation or replacement dates on the hoses for future reference.
Periodically inspect and replace hoses if bulges, kinks, cuts, wear, or leaks are found.
- 1. Turn cold water off, remove and replace rubber washer
Turn cold water faucet off and remove washer inlet hose. Remove old rubber washer from inlet hose and replace with new rubber washer. - Attach short hose and “Y” connector

Attach 2 ft. (0.6 m) inlet hose to cold water faucet. Screw on coupling by hand until it is seated on faucet. Then attach “Y” connector to male end of the 2 ft. (0.6 m) inlet hose. Screw on coupling by hand until it is seated on connector. - Tighten couplings

Using pliers, tighten the couplings with additional two-thirds turn.
NOTE: Do not overtighten. Damage to the coupling can result. - Attach long hose to “Y” connector and tighten couplings

Attach one of the 5 ft. (1.5 m) inlet hose ends to the “Y” connector. Attach washer cold inlet hose to other side of “Y” connector. Screw on coupling by hand until it is seated on connector. Using pliers, tighten the couplings an additional two-thirds turn.
NOTE: Do not overtighten. Damage to the coupling can result. - Attach long hose to dryer fill valve and tighten coupling

If applicable, remove protective cap from water inlet valve. Attach other end of long hose to fill valve on dryer back panel. Screw on coupling by hand until it is seated on fill valve connector. Using pliers, tighten the couplings an additional two-thirds turn.
NOTE: Do not overtighten. Damage to the coupling can result. - Turn on cold water faucet

Check that the water faucet is turned on. - Check for leaks

Connect Vent (Vented Models Only)
- 1. Connect vent to exhaust outlet
Using a 4″ (102 mm) clamp, connect vent to exhaust outlet in dryer. If connecting to existing vent, make sure vent is clean. Dryer vent must fit over dryer exhaust outlet and inside exhaust hood. Check that vent is secured to exhaust hood with a 4″ (102 mm) clamp.
- Move dryer to final location

Move dryer to final location. Avoid crushing or kinking the vent.
After dryer is in place, remove corner posts and cardboard from under dryer.
Level Dryer
1. Level Dryer

Check levelness of dryer from side to side. Repeat from front to back. NOTE: The dryer must be level for the moisture-sensing system to operate correctly.

2. Adjust leveling legs

If dryer is not level, prop up using a wood block. Use wrench to adjust legs up or down, and check again for levelness. Once dryer is level, make sure all four legs are snug against the floor and the dryer does not rock.
Complete Installation Checklist
- Check that all parts are now installed. If there is an extra part, go back through steps to see what was skipped.
- Check that you have all of your tools.
- Dispose of/recycle all packaging materials.
- Be sure the water faucets are on.
- Check for leaks around “Y” connector, faucet, and hoses.
- Check dryer’s final location. Be sure vent is not crushed or kinked.
- Check that dryer is level. See “Level Dryer.”
- Remove film on console and any tape remaining on dryer.
- Wipe dryer drum interior thoroughly with a damp cloth to remove any dust.
- For power supply cord installation, plug into a grounded outlet. For direct wire installation, turn on power.
- If you live in a hard water area, use of a water softener is recommended to control the buildup of scale through the water system in the dryer. Over time, the buildup of lime scale may clog different parts of the water system, which will reduce product performance. Excessive scale buildup may lead to the need for certain part replacement or repair.
- To change the door swing from a right-side opening to a leftside opening, see online “Dryer Door Reversal Instructions” for details.
- Set the heat cycle for 20 minutes, and start dryer. Do not select Air Only temperature setting.
If the dryer will not start, check the following:- Controls are set in a running or “On” position.
- Start button has been pushed firmly.
- Dryer is plugged into an outlet and/or electrical supply.
- Household fuse is intact and tight, or circuit breaker has not tripped.
- Dryer door is closed.
- When the dryer has been running for 5 minutes, open the dryer door and feel for heat. If you feel heat, cancel cycle and close the door.
If you do not feel heat, turn off dryer, and check the following:- There may be 2 household fuses or circuit breakers for the dryer. Check that both fuses are intact and tight, or that both circuit breakers have not tripped. If there is still no heat, contact a qualified technician.
NOTE: You may notice an odor when dryer is first heated. This odor is common when heating element is first used. The odor will go away.





Turn cold water faucet off and remove washer inlet hose. Remove old rubber washer from inlet hose and replace with new rubber washer.
























