W11555809B Electric Compact Dryer
Owner’s Manual
ELECTRIC COMPACT DRYER OWNER’S MANUAL
W11555809B Electric Compact Dryer
IMPORTANT: Save for local electrical inspector’s use.
W11555809B
DRYER SAFETY
Your safety and the safety of others are very important.
We have provided many important safety messages in this manual and on your appliance. Always read and obey all safety messages.
This is the safety alert symbol.
This symbol alerts you to potential hazards that can kill or hurt you and others.
All safety messages will follow the safety alert symbol and either the word “DANGER” or “WARNING.” These words mean:
DANGER
You can be killed or seriously injured if you don’t immediately follow instructions.
WARNING
You can be killed or seriously injured if you don’t follow instructions.
All safety messages will tell you what the potential hazard is, tell you how to reduce the chance of injury, and tell you what can happen if the instructions are not followed.
WARNING — “Risk of Fire”
− Clothes dryer installation must be performed by a qualified installer.
− Install the clothes dryer according to the manufacturer’s instructions and local codes.
− Do not install a clothes dryer with flexible plastic venting materials or flexible metal (foil type) duct. If flexible metal duct is installed, it must be of a specific type identified by the appliance manufacturer as suitable for use with clothes dryers. Flexible venting materials are known to collapse, be easily crushed, and trap lint. These conditions will obstruct clothes dryer airflow and increase the risk of fire.
− To reduce the risk of severe injury or death, follow all installation instructions.
− Save these instructions.
IMPORTANT SAFETY INSTRUCTIONS
WARNING: To reduce the risk of fire, electric shock, or injury to persons when using your appliance, follow basic precautions, including the following:
- Read all instructions before using the appliance.
- Do not dry articles that have been previously cleaned in, washed in, soaked in, or spotted with gasoline, dry-cleaning solvents, or other flammable or explosive substances, as they give off vapors that could ignite or explode.
- Do not allow children to play on or in the appliance. Close supervision of children is necessary when the appliance is used near children.
- Before the appliance is removed from service or discarded, remove the door to the drying compartment.
- Do not reach into the appliance if the drum is moving.
- Do not install or store this appliance where it will be exposed to the weather.
- Do not tamper with controls.
- Do not repair or replace any part of the appliance or attempt any servicing unless specifically recommended in the usermaintenance instructions or in published user-repair instructions that you understand and have the skills to carry out.
- Do not use fabric softeners or products to eliminate static unless recommended by the manufacturer of the fabric softener or product.
- Do not use heat to dry articles containing foam rubber or similarly textured rubber-like materials.
- Clean lint screen before or after each load.
- Keep area around the exhaust opening and adjacent surrounding areas free from the accumulation of lint, dust, and dirt.
- The interior of the appliance and exhaust duct should be cleaned periodically by qualified service personnel.
- Do not place items exposed to cooking oils in your dryer.
Items contaminated with cooking oils may contribute to a chemical reaction that could cause a load to catch fire. To reduce the risk of fire due to contaminated loads, the final part of a tumble dryer cycle occurs without heat (cool down period). Avoid stopping a tumble dryer before the end of the drying cycle unless all items are quickly removed and spread out so that the heat is dissipated. - Do not use replacement parts that have not been recommended by the manufacturer (e.g. parts made at home using a 3D printer).
- See the Installation Instructions for grounding requirements and installation.
- Do not install a booster fan in the exhaust duct.
NOTE: The booster fan warning does not apply to clothes dryers intended to be installed in a multiple clothes dryer system, with an engineered exhaust duct system that is installed per the clothes dryer manufacturer’s guidelines.
SAVE THESE INSTRUCTIONS
IMPORTANT SAFETY INSTRUCTIONS
WHEN DISCARDING OR STORING YOUR OLD CLOTHES DRYER, REMOVE THE DOOR.
SAVE THESE INSTRUCTIONS
DRYER MAINTENANCE AND CARE
Cleaning the Dryer Location
WARNING
Explosion Hazard
Keep flammable materials and vapors, such as gasoline, away from dryer.
Do not dry anything that has ever had anything flammable on it (even after washing).
Place dryer at least 18 inches (460 mm) above the floor for a garage installation.
Failure to do so can result in death, explosion, or fire.
Keep dryer area clear and free from items that would block the airflow for proper dryer operation. This includes clearing piles of laundry in front of the dryer.
Cleaning the Dryer Interior
To clean dryer drum:
- Use nonflammable cleaner or a mild hand dish detergent mixed at a low concentration with very warm water, and rub with a soft cloth.
Rinse well with a wet sponge or towel.
Tumble a load of clean clothes or towels to dry drum.
OR - Use a microfiber cloth and hot water in a spray bottle to clean the drum and a second microfiber towel to dry.
NOTE: Garments that contain unstable dyes, such as denim blue jeans or brightly colored cotton items, may discolor the rear of the dryer interior. These stains are not harmful to your dryer and will not stain future loads of clothes. Dry unstable dye items inside out to avoid transfer of dye.
Removing Accumulated Lint
From inside the dryer cabinet:
Lint should be removed every 2 years, or more often, depending on dryer usage. Cleaning should be done by a qualified appliance service or ventilation system cleaner.
From the exhaust vent:
Lint should be removed every 2 years, or more often, depending on dryer usage.
Cleaning the Lint Screen
Every load cleaning:
The lint screen is located inside the dryer drum on the back wall. A screen blocked by lint can increase drying time.
To clean:
- Open the door and pull the lint screen straight out.

- Squeeze body of lint screen lightly while pulling off the cover.
- Roll lint off the screen with your fingers. Do not rinse or wash screen to remove lint. Wet lint is hard to remove.
- Replace cover on lint screen body. Push the lint screen firmly back into place and close the door.
IMPORTANT:
- Do not run the dryer with the lint screen loose, damaged, blocked, or missing. Doing so can cause overheating and damage to both the dryer and fabrics.
- Some towels made of synthetic fibers and nature fibers (polyester and cotton blends) may shed more lint than other towels, causing your dryer’s lint screen to fill up faster. Be sure to remove lint from the lint screen before and after drying new towels.
- If lint falls off the screen into the dryer during removal, check the exhaust hood and remove the lint. See “Venting Requirements” in the Installation Instructions.
- Clean space where lint screen is located, as needed. Using a vacuum, gently remove any lint that has accumulated outside of the lint screen.
As-needed cleaning:
Laundry detergent and fabric softener residue can build up on the lint screen. This buildup can cause longer drying times for your clothes, or cause the dryer to stop before your load is completely dry. The screen is probably clogged if lint falls off while the screen is in the dryer. Clean the lint screen with a nylon brush every 6 months, or more frequently, if it becomes clogged due to a residue buildup.
To wash:
- Roll lint off the screen with your fingers.
- Wet the lint screen cover and body with hot water.
- Wet a nylon brush with hot water and liquid detergent. Scrub lint screen cover and body with the brush to remove residue buildup.

- Rinse with hot water.
- Thoroughly dry lint screen body and cover with a clean towel. Reinstall lint screen in dryer.
Check Your Vent System for Good Airflow
WARNING
Fire Hazard
Use a heavy metal vent.
Do not use a plastic vent.
Do not use a metal foil vent.
Failure to follow these instructions can result in death or fire.
Good Airflow
Along with heat, dryers require good airflow to efficiently dry laundry. Proper venting will reduce your drying times and improve your energy savings. See Installation Instructions.
The venting system attached to the dryer plays a big role in good airflow. Blocked or crushed vents as well as improper venting installation will reduce air flow and dryer performance. Service calls caused by improper venting are not covered by the warranty and will be paid by the customer, regardless of who installed the dryer. To clean or repair venting, contact a venting specialist.
Maintain Good Airflow
- Cleaning your lint screen before each load.
- Replace plastic or foil vent material with 4″ (102 mm) diameter heavy, rigid vent material.
- Use the shortest length of vent possible.
- Use no more than four 90° elbows in a vent system; each bend and curve reduces airflow.
Remove lint and debris from the exhaust hood.- Remove lint from the entire length of the vent system at least every 2 years. When cleaning is complete, be sure to follow the Installation Instructions for final product check.
- Clear away items from the front of the dryer.
Nonuse, Storage, and Moving Care
Nonuse or Storage Care
If you will be on vacation or not using your dryer for an extended period of time, you should:
- Unplug dryer or disconnect power.
- Clean lint screen. See “Cleaning the Lint Screen.”
Moving Care
For power supply cord-connected dryers:
- Unplug the power supply cord.
- Make sure leveling legs are secure in dryer base.
- Use tape to secure dryer door.
Reinstalling the Dryer
Follow the Installation Instructions to locate, level, and connect the dryer.
INSTALLATION INSTRUCTIONS REQUIREMENTS
Tools and Parts
NOTE: Install the clothes dryer according to the manufacturer’s instructions and local codes.
Gather required tools and parts before starting installation. Read and follow the instructions provided with any tools listed here.
Tools Needed for All Installations:
Parts Supplied:
Parts package is located in dryer drum. Check that all parts are included.
NOTE: Do not use leveling legs supplied with dryer if installing with a pedestal or stack kit.
Alternate Parts (not supplied with dryer):
Your installation may require additional parts. To order, please refer to the “Quick Start Guide.” You may also contact the dealer from whom you purchased your dryer.
- Mobile home installations require metal exhaust system hardware.
- For portable installations you will need an optional portable assembly kit including 4 casters, power cord brackets and screws.
Location Requirements
WARNING
Explosion Hazard
Keep flammable materials and vapors, such as gasoline, away from dryer.
Do not dry anything that has ever had anything flammable on it (even after washing).
Place dryer at least 18 inches (460 mm) above the floor for a garage installation.
Failure to do so can result in death, explosion, or fire.
Check code requirements. Some codes limit, or do not permit, installing dryer in garages, closets, mobile homes, or sleeping quarters. Contact your local building inspector.
You will need:
- A location allowing for proper exhaust installation. See “Venting Requirements.”
- A 120 V, 60 Hz AC only, 15 A or 20 A circuit.
- A grounded electrical outlet located within 2 ft (610 mm) of either side of dryer. See “Electrical Requirements.”
- A sturdy floor to support the dryer weight (dryer and load) of 115 lbs (52 kg). The combined weight of a companion appliance should also be considered.
- Level floor with a maximum slope of 1″ (25 mm) under the entire dryer. If not level, clothes may not tumble properly and automatic sensor cycles may not operate correctly.
- For garage installation, place dryer at least 18″ (460 mm) above the floor. If using a pedestal, you will need 18″ (460 mm) to bottom of the dryer.
- The dryer must not be installed or stored in an area where it will be exposed to water and/or weather. “
IMPORTANT: Do not operate dryer at temperatures below 45°F (7°C). Lower temperatures may cause dryer not to shut off at end of automatic cycles, resulting in longer drying times.
Installation clearances:
For each arrangement, consider allowing more space for ease of installation and servicing, spacing for companion appliances, and clearances for walls, doors, and floor moldings. Space must be large enough to allow the dryer door to fully open. Add spacing on all sides of the dryer to reduce noise transfer. If a closet door or louvered door is installed, top and bottom air openings in the door are required.
Installation spacing for a recessed area or closet installation All dimensions show recommended and minimum spacing allowed.
- Additional spacing should be considered for ease of installation and servicing.
- Additional clearances might be required for wall, door, floor, moldings and dryer venting.
- Additional spacing of 1″ (25 mm) on all sides of the dryer is recommended to reduce noise transfer.
- For closet installation with a door, minimum ventilation openings in the top and bottom of the door are required for vented models. Louvered doors with equivalent ventilation openings are acceptable.
- Companion appliance spacing should also be considered. Recommended installation clearances (dryer only):
Recessed or closet installation — Dryer only
Recessed or closet installation — Stacked
*Additional spacing recommended. Most installations require a minimum 51 /2″ (140 mm) clearance behind the dryer for the exhaust vent with elbows. See “Venting Requirements.”
Minimum installation clearances (dryer only):
| Front | Sides | Rear | Top | |
| Recessed | NA | 0″ (0 mm) | 0″ (0 mm) | 0″ (0 mm) |
| Closet | NA | 0″ (0 mm) | 0″ (0 mm) | 0″ (0 mm) |
| Under Counter | NA | 1″ (25 mm) | 0″ (0 mm) | 0″ (0 mm) |
0″ (0 mm) rear spacing is allowed for straight-back venting only.
Mobile Home – Additional installation requirements
This dryer is suitable for mobile home installations. The installation must conform to the Manufactured Home Construction and Safety Standard, Title 24 CFR, Part 3280 (formerly the Federal Standard for Mobile Home Construction and Safety, Title 24, HUD Part 280) or the Standard for Mobile Homes, CAN/CSA-Z240 MH.
Mobile home installations require:
- Metal exhaust system hardware, which is available for purchase from your dealer.
- Special provisions must be made in mobile homes to introduce outside air into the dryer. The opening (such as a nearby window) should be at least twice as large as the dryer exhaust opening.
Electrical Requirements
WARNING
Electrical Shock Hazard
Plug into a grounded 3 prong outlet.
Do not remove ground prong.
Do not use an adapter.
Do not use an extension cord.
Failure to follow these instructions can result in death, fire, or electrical shock.
- 120 V, 60 Hz AC only, 15 A or 20 A fused electrical supply is required.
- A time-delay fuse or circuit breaker is recommended. Check that the fuse or circuit breaker matches the rating of your line.
- It is also recommended that a separate circuit serving only this dryer is provided.
- Do not use an extension cord.
GROUNDING INSTRUCTIONS
For a grounded, cord-connected appliance:
This appliance must be grounded. In the event of a malfunction or breakdown, grounding will reduce the risk of electric shock by providing a path of least resistance for electric current. This appliance is equipped with a cord having an equipment-grounding conductor and a grounding plug. The plug must be plugged into an appropriate outlet that is properly installed and grounded in accordance with all local codes and ordinances.
WARNING: Improper connection of the equipmentgrounding conductor can result in a risk of electric shock. Check with a qualified electrician or serviceman if you are in
doubt as to whether the appliance is properly grounded. Do not modify the plug provided with the appliance: if it will not fit the outlet, have a proper outlet installed by a qualified electrician.
SAVE THESE INSTRUCTIONS
INSTALLATION
Install Leveling Legs
WARNING
Excessive Weight Hazard
Use two or more people to move and install or uninstall appliance.
Failure to do so can result in back or other injury.
1. Prepare dryer for leveling legs
To avoid damaging floor, use a large flat piece of cardboard from dryer carton; place under entire back edge of dryer. Firmly grasp dryer body (not console panel) and gently lay dryer down on cardboard.
2. Screw in leveling legs
Using a wrench and tape measure, screw leveling legs into leg holes until bottom of foot is approximately 1″ (25 mm) to 1/2″ (38 mm) from bottom of the dryer. Place a carton corner post from dryer packaging under each of the two dryer back corners. Stand the dryer up. Slide the dryer on the corner posts until it is close to its final location. Leave enough room to connect the exhaust vent.
Venting Requirements
WARNING
Fire Hazard
Use a heavy metal vent.
Do not use a plastic vent.
Do not use a metal foil vent.
Failure to follow these instructions can result in death or fire.
WARNING: To reduce the risk of fire, this dryer MUST BE EXHAUSTED OUTDOORS.
IMPORTANT: Observe all governing codes and ordinances. Dryer exhaust must not be connected into any gas vent, chimney, wall, ceiling, attic, crawlspace, or a concealed space of a building. Only rigid or flexible metal vent shall be used for exhausting.
- Only a 4″ (102 mm) heavy metal exhaust vent and clamps may be used.
- Do not use plastic or metal foil vent.
Rigid metal vent:
- Recommended for best drying performance and to avoid crushing and kinking.
Flexible metal vent (acceptable only if accessible to clean):
- Must be fully extended and supported in final dryer location.
- Remove excess to avoid sagging and kinking that may result in reduced airflow and poor performance.
- Do not install in enclosed walls, ceilings, or floors.
- The total length should not exceed 73/4 ft (2.4 m).
- The length of flexible metal vent used must be included in the overall vent system design as shown in the “Vent System Chart.”
Home Venting System:
- If using an existing home vent system, clean lint from the entire length of the system before installing the dryer.
- Make sure external exhaust hoods outside of the home is not plugged with lint or other outside debris.
- Replace plastic of metal foil vents with rigid metal or flexible metal vents. Review “Vent System Chart” and, if necessary, modify existing home vent system to achieve best drying performance.
Exhaust hoods:
- An exhaust hood should cap the vent to keep rodents and insects from entering the home.
- Must be at least 12″ (305 mm) from ground or any object that may obstruct exhaust (such as flowers, rocks, bushes, or snow).
- Do not use an exhaust hood with a magnetic latch.

Elbows:
- 45° elbows provide better airflow than 90° elbows.
Clamps:
- Use clamps to seal all joints.
- Exhaust vent must not be connected or secured with screws or other fastening devices that extend into interior of duct and catch lint. Do not use duct tape.
Vent products can be purchased from your dealer. For contact and ordering information, refer to your “Quick Start Guide.”
Plan Vent System
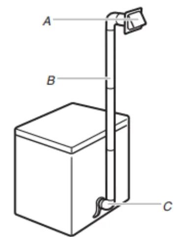
Recommended exhaust installations:
Typical installations vent the dryer from the rear of the dryer. Other installations are possible.
A. Exhaust hood
B. Flexible metal or rigid metal vent
C. Elbow
Alternate installations for close clearances
Venting systems come in many varieties. Select the type best for your installation. Two close-clearance installations are shown.
NOTE: The following kits for close-clearance alternate installations are available for purchase. Refer to “Quick Start Guide” for contact information.
A. Over-the-top installation (also available with one offset elbow)
B. Periscope installation
Special provisions for mobile home installations:
Exhaust vent must be securely fastened to a noncombustible portion of the mobile home and must not terminate beneath the mobile home. Terminate exhaust vent outside.
Determine vent path:
- Select route that will provide straightest and most direct path outdoors.
- Plan installation to use fewest number of elbows and turns.
- When using elbows or making turns, allow as much room as possible.
- Bend vent gradually to avoid kinking.
- Use as few 90° turns as possible.
Determine vent length and elbows needed for best drying performance:
- Use following “Vent System Chart” to determine type of vent material and hood combinations acceptable to use.
NOTE: Do not use vent runs longer than those specified in “Vent System Chart.” Exhaust systems longer than those specified will: - Shorten life of dryer.
- Reduce performance, resulting in longer drying times and increased energy usage.
The “Vent System Chart” provides venting requirements that will help achieve best drying performance.
Vent System Chart
| Number of 90° turns or elbows | Type of vent | Box/louvered hoods | Angled hoods |
| 0 | Rigid metal | 36 ft (11 m) | 26 ft (7.9 m) |
| 1 | Rigid metal | 26 ft (7.9 m) | 16 ft (4.9 m) |
| 2 | Rigid metal | 16 ft (4.9 m) | 6 ft (1.8 m) |
Install Vent System
- Remove the wire exhaust guard
Before installing the vent system, be sure to remove the wire exhaust guard that is located at the exhaust outlet. - Install exhaust hood
Install exhaust hood and use caulking compound to seal exterior wall opening around exhaust hood. - Connect vent to exhaust hood
Vent must fit over the exhaust hood. Secure vent to exhaust hood with 4″ (102 mm) clamp. Run vent to dryer location using straightest path possible. Avoid 90° turns. Use clamps to seal all joints. Do not use duct tape, screws, or other fastening devices that extend into interior of vent to secure vent, because they can catch lint.
Connect Vent (Vented Models Only)
- Connect vent to exhaust outlet
Using a 4″ (102 mm) clamp, connect vent to exhaust outlet in dryer. If connecting to existing vent, make sure vent is clean. Dryer vent must fit over dryer exhaust outlet and inside exhaust hood. Check that vent is secured to exhaust hood with a 4″ (102 mm) clamp. - Move dryer to final location
Move dryer to final location. Avoid crushing or kinking the vent.
Once the exhaust vent connection is made, remove corner posts and cardboard from under dryer.
Level Dryer
- Check levelness of dryer
Check levelness of dryer from side to side then from front to back.
- Adjust leveling legs

If dryer is not level, prop up using a wood block. Use wrench to adjust legs up or down, and check again for levelness. Once dryer is level, make sure all four legs are snug against the floor and the dryer does not rock.
Complete Installation Checklist
- Check that all parts are now installed. If there is an extra part, go back through steps to see what was skipped.
- Check that you have all of your tools.
- Dispose of/recycle all packaging materials.
- Check dryer’s final location. Be sure vent is not crushed or kinked.
- Check that dryer is on a level surface. See “Level Dryer.”
- Remove film on console and any tape remaining on dryer. Remove tape from lint screen (located on inside back wall of dryer).
- Wipe dryer drum interior thoroughly with a damp cloth to remove any dust.
- To change the door swing from a right-side opening to a leftside opening, see online “Dryer Door Reversal Instructions” for details.
WARNING
Electrical Shock Hazard
Plug into a grounded 3 prong outlet.
Do not remove ground prong.
Do not use an adapter.
Do not use an extension cord.
Failure to follow these instructions can result in death, fire, or electrical shock.
- Plug into a grounded 3 prong outlet.
- To test the dryer, set the dryer on a full heat cycle (not an air cycle) for 20 minutes and start the dryer.
If the dryer will not start, check the following:
- Controls are set in a running or “On” position.
- Start button has been pushed firmly.
- Dryer is plugged into an outlet and/or electrical supply.
- Household fuse is intact and tight, or circuit breaker has not tripped.
- Dryer door is closed.
- When the dryer has been running for 5 minutes, open the dryer door and feel for heat. If you feel heat, cancel cycle and close the door.
If you do not feel heat, turn off dryer, and check the following:
- Controls are set on a heated cycle, not an air cycle. If there is still no heat, contact a qualified technician.
NOTE: You may notice an odor when dryer is first heated. This odor is common when heating element is first used. The odor will go away.
©2021 All rights reserved.
Used under license in Canada.



Before installing the vent system, be sure to remove the wire exhaust guard that is located at the exhaust outlet.
Install exhaust hood and use caulking compound to seal exterior wall opening around exhaust hood.
Vent must fit over the exhaust hood. Secure vent to exhaust hood with 4″ (102 mm) clamp. Run vent to dryer location using straightest path possible. Avoid 90° turns. Use clamps to seal all joints. Do not use duct tape, screws, or other fastening devices that extend into interior of vent to secure vent, because they can catch lint.
Using a 4″ (102 mm) clamp, connect vent to exhaust outlet in dryer. If connecting to existing vent, make sure vent is clean. Dryer vent must fit over dryer exhaust outlet and inside exhaust hood. Check that vent is secured to exhaust hood with a 4″ (102 mm) clamp.
Move dryer to final location. Avoid crushing or kinking the vent.
Check levelness of dryer from side to side then from front to back.




















