GAS DRYER OWNER’S MANUAL
W11361424B
W11361425B-SP
DRYER SAFETY
Your safety and the safety of others are very important.
We have provided many important safety messages in this manual and on your appliance. Always read and obey all safety messages.
This is the safety alert symbol.
This symbol alerts you to potential hazards that can kill or hurt you and others.
All safety messages will follow the safety alert symbol and either the word “DANGER” or “WARNING.” These words mean:
DANGER
You can be killed or seriously injured if you don’t immediately follow instructions.
WARNING
You can be killed or seriously injured if you don’t follow instructions.
All safety messages will tell you what the potential hazard is, tell you how to reduce the chance of injury, and tell you what can happen if the instructions are not followed.
IMPORTANT SAFETY INSTRUCTIONS
WARNING: To reduce the risk of fire, electric shock, or injury to persons when using your appliance, follow basic precautions, including the following:
- Read all instructions before using the appliance.
- Do not dry articles that have been previously cleaned in, washed in, soaked in, or spotted with gasoline, dry-cleaning solvents, or other flammable or explosive substances, as they give off vapors that could ignite or explode.
- Do not allow children to play on or in the appliance. Close supervision of children is necessary when the appliance is used near children.
- Before the appliance is removed from service or discarded, remove the door to the drying compartment.
- Do not reach into the appliance if the drum is moving.
- Do not install or store this appliance where it will be exposed to the weather.
- Do not tamper with controls.
- Do not repair or replace any part of the appliance or attempt any servicing unless specifically recommended in the user maintenance instructions or in published user-repair instructions that you understand and have the skills to carry out.
- Do not use fabric softeners or products to eliminate static unless recommended by the manufacturer of the fabric softener or product.
- Do not use heat to dry articles containing foam rubber or similarly textured rubber-like materials.
- Clean lint screen before or after each load.
- Keep the area around the exhaust opening and adjacent surrounding areas free from the accumulation of lint, dust, and dirt.
- The interior of the appliance and exhaust duct should be cleaned periodically by qualified service personnel.
- Do not place items exposed to cooking oils in your dryer. Items contaminated with cooking oils may contribute to a chemical reaction that could cause a load to catch fire. To reduce the risk of fire due to contaminated loads, the final part of a tumble dryer cycle occurs without heat (cool-down period). Avoid stopping a tumble dryer before the end of the drying cycle unless all items are quickly removed and spread out so that the heat is dissipated.
- Do not use replacement parts that have not been recommended by the manufacturer (e.g. parts made at home using a 3D printer).
- See the Installation Instructions for grounding requirements and installation.
WARNING — “Risk of Fire”
− Clothes dryer installation must be performed by a qualified installer.
− Install the clothes dryer according to the manufacturer’s instructions and local codes.
− Do not install a clothes dryer with flexible plastic venting materials or flexible metal type) duct. If a flexible metal duct is installed, it must be of a specific type identified by the appliance manufacturer as suitable for use with clothes dryers. Flexible venting materials are known to collapse, be easily crushed, and trap lint. These conditions will obstruct clothes dryer airflow and increase the risk of fire.
− To reduce the risk of severe injury or death, follow all installation instructions.
− Save these instructions.
WARNING
FIRE HAZARD
Failure to follow safety warnings exactly could result in serious injury, death, or property damage.
Do not install a booster fan in the exhaust duct.
Install all clothes dryers in accordance with the installation instructions of the manufacturer of the dryer.
WARNING:
FIRE OR EXPLOSION HAZARD
Failure to follow safety warnings exactly could result in serious injury, death, or property damage.
− Do not store or use gasoline or other flammable vapors and liquids in the vicinity of this or any other appliance.
− WHAT TO DO IF YOU SMELL GAS:
- Do not try to light any appliance.
- Do not touch any electrical switch; do not use any phone in your building.
- Clear the room, building, or area of all occupants.
- Immediately call your gas supplier from a neighbor’s phone. Follow the gas supplier’s instructions.
- If you cannot reach your gas supplier, call the fire department.
− Installation and service must be performed by a qualified installer, service agency, or gas supplier.
WARNING:
FIRE OR EXPLOSION HAZARD
Failure to follow safety warnings exactly could result in serious injury, death, or property damage.
− Do not store or use gasoline or other flammable vapors and liquids in the vicinity of this or any other appliance.
− WHAT TO DO IF YOU SMELL GAS:
- Do not try to light any appliance.
- Do not touch any electrical switch; do not use any phone in your building.
- Clear the room, building, or area of all occupants.
- Immediately call your gas supplier from a neighbor’s phone. Follow the gas supplier’s instructions.
- If you cannot reach your gas supplier, call the fire department.
− Installation and service must be performed by a qualified installer, service agency, or gas supplier.
WARNING: Gas leaks cannot always be detected by smell.
Gas suppliers recommend that you use a gas detector approved by UL or CSA.
For more information, contact your gas supplier.
If a gas leak is detected, follow the “What to do if you smell gas” instructions.
IMPORTANT: The gas installation must conform with local codes, or in the absence of local codes, with the National Fuel Gas Code, ANSI Z223.1/NFPA 54, or the National Gas and Propane Installation Code, CSA B149.1.
The dryer must be electrically grounded in accordance with local codes, or in the absence of local codes, with the National Electrical Code, ANSI/NFPA 70, or the Canadian Electrical Code, Part 1, CSA C22.1.
In the State of Massachusetts, the following installation instructions apply:
- Installation and repairs must be performed by a qualified or licensed contractor, plumber, or gas fitter qualified or licensed by the State of Massachusetts.
- Acceptable Shut-off Devices: Gas Cocks and Ball Valves installed for use shall be listed.
- A flexible gas connector, when used, must not exceed 4 feet (121.9 cm).
IMPORTANT SAFETY INSTRUCTIONS
WHEN DISCARDING OR STORING YOUR OLD CLOTHES DRYER, REMOVE THE DOOR.
SAVE THESE INSTRUCTIONS
DRYER MAINTENANCE AND CARE
Cleaning the Dryer Location
WARNING
Explosion Hazard
Explosion Hazard
Keep flammable materials and vapors, such as gasoline, away from the dryer.
Do not dry anything that has ever had anything flammable on it (even after washing).
Place dryer at least 18 inches (460 mm) above the floor for a garage installation.
Failure to do so can result in death, explosion, or fire.
Keep the dryer area clear and free from items that would block the airflow for proper dryer operation. This includes clearing piles of laundry in front of the dryer.
Cleaning the Dryer Interior
To clean dryer drum:
- Use either a mild dish detergent mixed at low concentration or a nonflammable cleaner and very warm water. Rub with a soft cloth.
Rinse well with a wet sponge or towel.
Tumble a load of clean cloths or towels to dry the drum. - Use a microfiber cloth and very warm water in a spray bottle to clean the drum and a second microfiber towel to dry.
NOTE: Garments that contain unstable dyes, such as denim blue jeans or brightly colored cotton items, may discolor the rear of the dryer interior. These stains are not harmful to your dryer and will not stain future loads of clothes. Dry unstable dye items inside out to avoid transfer of dye.
Removing Accumulated Lint
From inside the dryer cabinet:
Lint should be removed every 2 years, or more often, depending on dryer usage. Cleaning should be done by a qualified ppliance
service or ventilation system cleaner.
From the exhaust vent:
Lint should be removed every 2 years, or more often, depending on dryer usage.
Cleaning the Lint Screen
Every load cleaning:
The lint screen may be located either in the door opening or the top of the dryer depending on the model. A screen blocked by lint can increase drying time.
To clean:
- Remove the lint screen. If necessary, press the tab to release and open the lint screen. Roll lint off the screen with your fingers. Do not rinse or wash the screen to remove lint. Wet lint is hard to remove.

- Push the lint screen firmly back into place.
IMPORTANT:
- Do not run the dryer with the lint screen lost, damaged, blocked, or missing. Doing so can cause overheating and damage to both the dryer and fabric.
- If lint falls off the screen into the dryer during removal, check the exhaust hood and remove the lint. See “Venting Requirements” in the Installation Instructions.
- Clean space where the lint screen is located, as needed. Using a vacuum, gently remove any lint that has accumulated outside
of the lint screen.
As-needed cleaning:
Laundry detergent and fabric softener residue can build up on the lint screen. This buildup can cause longer drying times for your clothes, or cause the dryer to stop before your load is completely dry. The screen is probably clogged if lint falls off while the screen is in the dryer. Clean the lint screen with a nylon brush every 6 months, or more frequently, if it becomes clogged due to a residue buildup.
To wash:
- Roll lint off the screen with your fingers.
- Wet both sides of the lint screen with hot water.
- Wet a nylon brush with hot water and liquid detergent. Scrub the lint screen with the brush to remove residue buildup.

- Rinse the screen with hot water.
- Thoroughly dry the lint screen with a clean towel. Reinstall screen in dryer.
Changing the Drum Light (on some models)
- Unplug the dryer or disconnect the power.
- Open the dryer door. Locate the light bulb cover on the back wall of the dryer. Using a 1/4″ (6.5 mm) nut driver or socket wrench, remove the screw located in the lower right-hand corner of the cover. Remove the cover.

- Turn the bulb counterclockwise. Replace the bulb with a 10 W appliance bulb only. Replace the cover and secure it with the screw.
- Plugin the dryer or reconnect power.
Check Your Vent System for Good Airflow
WARNING
Fire Hazard
Use a heavy metal vent.
Do not use a plastic vent.
Do not use a metal foil vent.
Failure to follow these instructions can result in death or fire.
Good Airflow
Along with the heat, dryers require good airflow to efficiently dry laundry. Proper venting will reduce your drying times and improve
your energy savings. See Installation Instructions.
The venting system attached to the dryer plays a big role in good airflow. Blocked or crushed vents, as well as improper venting the installation, will reduce airflow and dryer performance.
Service calls caused by improper venting are not covered by the warranty and will be paid by the customer, regardless of who installed the dryer. To clean or repair venting, contact a venting specialist.
Maintain Good Airflow
- Cleaning your lint screen before each load.
- ‘Replace plastic or foil vent material with 4″ (102 mm) diameter heavy, rigid vent material.
- ‘Use the shortest length of vent possible.
- Use no more than four 90° elbows in a vent system; each bend and curve reduces airflow.

- Remove lint and debris from the exhaust hood.
- Remove lint from the entire length of the vent system at least every 2 years. When cleaning is complete, be sure to follow the Installation Instructions for the final product check.
- Clear away items from the front of the dryer.
Nonuse, Storage, and Moving Care
Nonuse or Storage Care
If you will be on vacation or not using your dryer for an extended period of time, you should:
- Unplug the dryer or disconnect the power.
- Clean lint screen. See “Cleaning the Lint Screen.”
- Close shutoff valve in gas supply line.
- Steam Models Only: Turn off the water supply to the dryer.
This helps to avoid flooding (due to a water pressure surge) while you are away.
Moving Care — Gas Models
- Unplug the power supply cord.
- Close shutoff valve in gas supply line.
- Disconnect gas supply line pipe and remove fittings attached to dryer pipe.
- Cap the open gas supply line.
- Steam models only: Shut off the water faucet. Disconnect the water inlet hose from the faucet; then drain the hose. Transport hose separately.
- Make sure leveling legs are secure in the dryer base.
- Use tape to secure the dryer door.
- On models with the base trim, remove base trim before moving the dryer. See “Install and remove base trim (on some models)” for details.
To use the dryer again:
WARNING
Electrical Shock Hazard
Plug into a grounded 3 prong outlet.
Do not remove the ground prong.
Do not use an adapter.
Do not use an extension cord.
Failure to follow these instructions can result in death, fire, or electrical shock.
- Flush water pipes. Reconnect water inlet hose to the faucet. Turn on the water faucet.
- Plugin dryer or reconnect power as described in the Installation Instructions.
Reinstalling the Dryer
Follow the Installation Instructions to locate, level, and connect the dryer.
Special Instructions for Steam Models
Install and store your dryer where it will not freeze. Because some water may stay in the hose, freezing can damage your dryer. If
storing or moving your dryer during freezing weather, winterize it.
Water Inlet Hose
Replace inlet hose and hose screen after 5 years of use to reduce the risk of hose failure. Periodically inspect and replace inlet hose if bulges, kinks, cuts, wear, or leaks are found.
When replacing your inlet hose, record the date of replacement.
To winterize the dryer:
- Unplug the dryer or disconnect the power.
- Shut off the water faucet.
- Disconnect water inlet hose from faucet and drain.
INSTALLATION REQUIREMENTS
Tools and Parts
NOTE: Install the clothes dryer according to the manufacturer’s instructions and local codes.
Gather required tools and parts before starting installation. Read and follow the instructions provided with any tools listed here.
Tools Needed for All Installations:


Additional Tools Needed (on some models):

Parts Supplied (all models):

Leveling legs (4) (Length and appearance of legs may vary according to model)
The parts package is located in the dryer drum. Check that all parts are included.
NOTE: Do not use leveling legs supplied with a dryer if installed with a pedestal or a stacking kit.
Parts Needed (steam models):

Parts Needed (not supplied with dryer):
Additional parts may be required, depending on your installation.
Check local codes. Check existing electrical supply and venting.
See “Electrical Requirements” and “Venting Requirements” before purchasing parts.
Mobile home installations require metal exhaust system hardware available for purchase from the dealer from whom you purchased your dryer. For further information, please refer to the Quick Start Guide for service contact information.
Available Accessories:
Accessories and replacement parts are available for your model.
For ordering and contact information, please reference your Quick Start Guide.
Location Requirements
WARNING
Explosion Hazard
Keep flammable materials and vapors, such as gasoline, away from the dryer.
Do not dry anything that has ever had anything flammable on it (even after washing).
Place dryer at least 18 inches (460 mm) above the floor for a garage installation.
Failure to do so can result in death, explosion, or fire.
Check code requirements. Some codes limit or do not permit, installation of the dryer in garages, closets, mobile homes, or sleeping quarters. Contact your local building inspector.
You will need:
- A location allowing for proper exhaust installation. See “Venting Requirements.”
- A separate 15 A or 20 A circuit for gas dryers.
- A grounded electrical outlet is located within 2 ft (610 mm) of either side of the dryer. See “Electrical Requirements” in the “Gas Dryer Power Hookup” section.
- A sturdy floor to support dryer and total weight (dryer and load) of 200 lbs (90.7 kg). The combined weight of a companion appliance should also be considered.
- Level floor with a maximum slope of 1″ (25 mm) under the entire dryer. If the slope is greater than 1″ (25 mm), install Extended Dryer Feet Kit. If not level, clothes may not tumble properly and automatic sensor cycles may not operate correctly. Installing on the carpet is not recommended.
- For garage installation, place the dryer at least 18″ (460 mm) above the floor. If using a pedestal, you will need 18″ (460 mm) to the bottom of the dryer.
- Steam models only: Coldwater faucets located within 4 ft (1.2 m) of the water fill valves, and water pressure of 20–100 psi (137.9–689.6 kPa). You may use your washer’s water supply by utilizing the necessary parts noted in “Parts needed.”
- The dryer must not be installed or stored in an area where it will be exposed to water and/or weather.
IMPORTANT: Do not operate your dryer at temperatures below 45°F (7°C). Lower temperatures may cause the dryer not to shut off at end of automatic sensor cycles, resulting in longer drying times.
Installation clearances:
For each arrangement, consider allowing more space for ease of installation and servicing, spacing for companion appliances, and clearances for walls, doors, and floor moldings. Space must be large enough to allow the door to fully open. Add spacing on all sides of dryer to reduce noise transfer. If a closet door is used, top and bottom air openings are required. Louvered doors with equivalent ventilation openings can be used.
Spacing for recessed area or closet

*Recommended/Minimum spacing
NOTE: No other fuel-burning appliance can be installed in the same closet as a dryer.
All dimensions show recommended and minimum spacing allowed.
- Additional spacing should be considered for ease of installation and servicing.
- Additional clearances might be required for wall, door, and floor moldings.
- Additional spacing of 1″ (25 mm) on all sides of the dryer is recommended to reduce noise transfer.
- For closet installation with a door, minimum ventilation openings in the top and bottom of the door are required.
Louvered doors with equivalent ventilation openings are acceptable. - Companion appliance spacing should also be considered.
Custom under-counter installation:

Minimum installation clearances (dryer only):
| Front | Sides | Rear | Top | |
| Recessed | NA | 0″ (0 mm) | 0″ (0 mm) | 18″ (457 mm) to cabinet/ shelf |
| Closet | 1″ (25 mm) Minimum | 0.. (0 mm) | 0″ (0 mm) | 18″ l45c7blinmel to cabinet/ shelf |
| Under Counter | NA | 1″ (25 mm) | 0″ (0 mm) | 0″ (0 mm) |
0″ (0 mm) rear spacing is allowed for straight-back venting only.
For steam models only, inlet hose must not be kinked.
Mobile Home – Additional installation requirements
This dryer is suitable for mobile home installations. The installation must conform to the Manufactured Home Construction and Safety Standard, Title 24 CFR, Part 3280 (formerly the Federal Standard for Mobile Home Construction and Safety, Title 24, HUD Part 280) or the Standard for Mobile Homes, CAN/CSAZ240 MH.
Mobile home installations require:
- Metal exhaust system hardware, which is available for purchase from your dealer.
- Mobile Home Installation Hold-Down Kit.
- Special provisions must be made in mobile homes to introduce outside air into the dryer. The opening (such as a nearby window) should be at least twice as large as the dryer exhaust opening.
Gas Dryer Power Hookup – the U.S.A. and Canada
Electrical Requirements
WARNING
Electrical Shock Hazard
Plug into a grounded 3 prong outlet.
Do not remove the ground prong.
Do not use an adapter.
Do not use an extension cord.
Failure to follow these instructions can result in death, fire, or electrical shock.
120 V, 60 Hz, AC-only, 15 A or 20 A fused electrical supply is required. A time-delay fuse or circuit breaker is recommended. It is also recommended that a separate circuit serving only this dryer be provided. Do not use an extension cord.
GROUNDING INSTRUCTIONS
For a grounded, cord-connected appliance:
This appliance must be grounded. In the event of a malfunction or breakdown, grounding will reduce the risk of electric shock by providing a path of least resistance for electric current. This appliance is equipped with a cord having an equipment-grounding conductor and a grounding plug.
The plug must be plugged into an appropriate outlet that is properly installed and grounded in accordance with all local codes and ordinances.
WARNING: Improper connection of the equipment-grounding conductor can result in a risk of electric shock.
Check with a qualified electrician or serviceman if you are in doubt as to whether the appliance is properly grounded. Do not modify the plug provided with the appliance: if it will not fit the outlet, have a proper outlet installed by a qualified electrician.
SAVE THESE INSTRUCTIONS
Gas Supply Requirements
WARNING
Explosion Hazard
Use a new CSA International approved gas supply line.
Install a shut-off valve.
Securely tighten all gas connections.
If connected to propane, have a qualified person make sure gas pressure does not exceed 13″ (33 cm) water
column.
Examples of qualified person include licensed heating personnel, authorized gas company personnel, and authorized service personnel.
Failure to do so can result in death, explosion, or fire.
Gas Type
Natural Gas:
This dryer is equipped for use with natural gas. It is certified by UL for use with propane gas with appropriate conversion.
- Your dryer must have the correct burner for the type of gas in your home. Burner information is located on the rating plate in
the door well of your dryer. If this information does not agree with the type of gas available, contact your dealer or reference
the contact information listed on your Quick Start Guide.
Propane Gas Conversion:
IMPORTANT: Conversion must be made by a qualified technician.
No attempt shall be made to convert the appliance from the gas specified on the model/serial rating plate for use with a different
gas without consulting your gas company.
Gas Supply Line
Option 1 (Recommended Method)
Flexible stainless steel gas connector:
- If local codes permit, use a new flexible stainless steel gas connector (Design-Certified by the American Gas Association or CSA International) to connect your dryer to the rigid gas supply line. Use an elbow and a 3/8″ flare x 3/8″ NPT adapter fitting between the stainless steel gas connector and the dryer gas pipe, as needed, to prevent kinking.
Option 2 (Alternate Method)
Approved aluminum or copper tubing:
- Must include 1/8″ NPT minimum plugged tapping accessible for test gauge connection, immediately upstream of the gas
connection to the dryer. - 1/2″ IPS pipe is recommended.
- 3/8″ approved aluminum or copper tubing is acceptable for lengths under 20 ft (6.1 m) if local codes and gas suppliers permit.
- If you are using natural gas, do not use copper tubing.
- Lengths over 20 ft (6.1 m) should use larger tubing and a different size adapter fitting.
- If your dryer has been converted to use propane gas, 3/8″ propane-compatible copper tubing can be used. If the total length of the supply line is more than 20 ft (6.1 m), use the larger pipe.
NOTE: Pipe-joint compounds that resist the action of propane gas must be used. Do not use PTFE plumber’s tape. - Must include shutoff valve.
In the U.S.A.:
An individual manual shutoff valve must be installed within six (6) ft (1.8 m) of the dryer in accordance with the National Fuel Gas Code, ANSI Z223.1. The location should be easy to reach for opening and closing.
In Canada:
An individual manual shutoff valve must be installed in accordance with the B149.1, Natural Gas and Propane Installation
Code. It is recommended that an individual manual shutoff valve be installed within six (6) ft (1.8 m) of the dryer. The location should be easy to reach for opening and closing.

A. 3/8″ flexible gas connector
B. 3/8″ pipe-to-flare adapter fitting
C. 1/8″ NPT minimum plugged tapping
D. 1/2″ NPT gas supply line
E. Gas shutoff valve
Gas Supply Connection Requirements
- The gas pipe that comes out through the rear of your dryer has a 3/8″ male pipe thread.
- Use an elbow and a 3/8″ flare x 3/8″ NPT adapter fitting between the flexible gas connector and the dryer gas pipe, as needed to avoid kinking.
- Use only pipe-joint compound. Do not use PTFE plumber’s tape.
- This dryer must be connected to the gas supply line with a listed flexible gas connector that complies with the standard for connectors for gas appliances, ANSI Z21.24 or CSA 6.10.
Burner Input Requirements
Elevations above 2,000 ft (610 m)
- When installed above 2,000 ft (610 m), a 4% reduction of the burner BTU rating shown on the model/serial number plate is
required for every 1,000 ft (305 m) increase in elevation.
Gas supply pressure testing
- The dryer must be disconnected from the gas supply piping system during pressure testing at pressures greater than 1/2 psi (3.45 kPa).
INSTALLATION INSTRUCTIONS
Install Leveling Legs
WARNING
Excessive Weight Hazard
Use two or more people to move and install or uninstall the appliance.
Failure to do so can result in back or another injury.
- Prepare dryer for leveling legs
To avoid damaging the floor, use a large flat piece of cardboard from the dryer carton; place it under the entire back edge of the dryer.
Firmly grasp dryer body (not console panel) and gently lay dryer down on cardboard. - Screw-in leveling legs
Using a wrench and tape measure, screw leveling leg into leg holes until the bottom of the foot is approximately 1/2″ (13 mm) to /2″ (38 mm) from the bottom of the dryer.
For leveling legs with the diamond marking:
Screw legs into leg holes by hand. Use a wrench to finish turning legs until diamond marking is no longer visible.
Place a carton corner post from dryer packaging under each of the two dryer back corners. Stand the dryer up. Slide the dryer on the corner posts until it is close to its final location.
Leave enough room to connect the exhaust vent.
For mobile home use:
Gas dryers must be securely fastened to the floor.
Mobile home installations require a Mobile Home Installation Hold-Down Kit (PN 346764A). For ordering information, please reference the Quick Start Guide.

Make Gas Connection – U.S.A. and Canada
WARNING
Explosion Hazard
Use a new CSA International approved gas supply line.
Install a shut-off valve.
Securely tighten all gas connections.
If connected to propane, have a qualified person make sure gas pressure does not exceed 13″ (33 cm) water column.
Examples of a qualified person include licensed heating personnel, authorized gas company personnel, and authorized service personnel.
Failure to do so can result in death, explosion, or fire.
- Connect gas supply to dryer
Remove red cap from gas pipe. Using a wrench to tighten, connect gas supply to the dryer. Use pipe-joint compound on threads of all non-flared male fittings. If flexible metal tubing is used, be sure there are no kinks.NOTE: For propane gas connections, you must use a pipe-joint compound resistant to the action of propane gas. Do not use PTFE plumber’s tape. - Plan pipe fitting connection

A. 3/8″ (9.5 mm) flexible gas connector
B. 3/8″ (9.5 mm) dryer pipe
C. 3/8″ to 3/8″ pipe elbow
D. 3/8″ pipe-to-flare adapter fitting
Open shutoff valve
Open shutoff valve in supply line; the valve is open when the handle is parallel to a gas pipe. Then, test all connections by brushing on an approved noncorrosive leak-detection solution.
Bubbles will show a leak. Correct any leaks found.
Venting Requirements
WARNING
Fire Hazard
Use a heavy metal vent.
Do not use a plastic vent.
Do not use a metal foil vent.
Failure to follow these instructions can result in death or fire.
WARNING: To reduce the risk of fire, this dryer MUST BE
EXHAUSTED OUTDOORS.
IMPORTANT: Observe all governing codes and ordinances. Dryer exhaust must not be connected into any gas vent, chimney, wall, ceiling, attic, crawlspace, or concealed space of a building. Only rigid or flexible metal vents shall be used for exhausting.

- Only a 4″ (102 mm) heavy metal exhaust vent and clamps may be used.
- Do not use plastic or metal foil vents.
Rigid metal vent:
- Recommended for best drying performance and to avoid crushing and kinking. Flexible metal vent (acceptable only if access to clean):
- Must be fully extended and supported in the final dryer location.
- Remove excess to avoid sagging and kinking that may result in reduced airflow and poor performance.
- Do not install in enclosed walls, ceilings, or floors.
- The total length should not exceed 7 3 /4 ft (2.4 m).
- The length of the flexible metal vent used must be included in the overall vent system design as shown in the “Vent System Chart.”
Home Venting System:
- If using an existing home vent system, clean lint from the entire length of the system before installing the dryer.
- Make sure external exhaust hoods outside of the home is not plugged with lint or other outside debris.
- Replace plastic of metal foil vents with rigid metal or flexible metal vents. Review “Vent System Chart” and, if necessary, modify the existing home ventilation system to achieve the best drying performance.
Exhaust hoods:
- An exhaust hood should cap the vent to keep rodents and insects from entering the home.
- Must be at least 12″ (305 mm) from the ground or any object that may obstruct exhaust (such as flowers, rocks, bushes, or snow).
- Do not use an exhaust hood with a magnetic latch.
Recommended Styles:

Acceptable Style:
Elbows:
- 45° elbows provide better airflow than 90° elbows.

Clamps:
- Use clamps to seal all joints.
- The exhaust vent must not be connected or secured with screws or other fastening devices that extend into the interior of the duct and catch lint. Do not use duct tape.

Vent products can be purchased from your dealer. For contact and ordering information, refer to your Quick Start Guide.
Plan Vent System
Recommended exhaust installations:
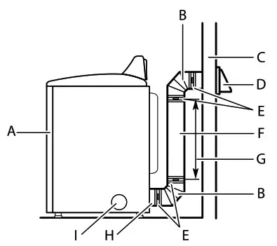
Typical installations vent the dryer from the rear of the dryer. Other installations are possible.

| A. Dryer B. Elbow C. Wall D. Exhaust hood E. Clamps | F. Rigid metal or flexible metal vent G. Vent length necessary to connect elbows H. Exhaust outlet I. Optional side exhaust outlet |
Optional exhaust installations:
WARNING
Fire Hazard
Cover unused exhaust holes with a manufacturer’s exhaust cover kit.
Contact your local dealer.
Failure to follow these instructions can result in death, ire, electrical shock, or serious injury.
Some models can be converted to exhaust out the right side, left side, or through the bottom. If you prefer, you may contact your
local dealer to have the dryer converted.

A. Standard rear offset exhaust installation
B. Left- or right-side exhaust installation (available only on select 27″-wide models).
C. Bottom exhaust installation (available only on select 27″wide models).
Alternate installations for close clearances
Venting systems come in many varieties. Select the type best for your installation. Two close-clearance installations are shown.
NOTE: The following kits for close-clearance alternate installations are available for purchase. Refer to Quick Start Guide for contact information.

Special provisions for mobile home installations:
Exhaust vent must be securely fastened to a non-combustible portion of the mobile home and must not terminate beneath the mobile home. Terminate exhaust vent outside.

Determine vent path:
- Select a route that will provide the straightest and most direct path outdoors.
- Plan installation to use the fewest number of elbows and turns.
- When using elbows or making turns, allow as much room as possible.
- Bend vent gradually to avoid kinking.
- Use as few 90° turns as possible.
Determine vent length and elbows needed for best drying performance:
- Use the following “Vent System Chart” to determine the type of vent material and hood combinations acceptable to use.
NOTE: Do not use a vent that runs longer than those specified in the “Vent System Chart.” Exhaust systems longer than those specified will: - Shorten life of the dryer.
- Reduce performance, resulting in longer drying times and increased energy usage.
The “Vent System Charts” provide venting requirements that will help achieve best drying performance.
| Vent System Chart | ||
| Number of 90° elbows | Type of vent | Box/louvered or Angled hoods |
| 0 | Rigid metal | 64 ft (20 m) |
| 1 | Rigid metal | 54 ft (16.5 m) |
| 2 | Rigid metal | 44 ft (13.4 m) |
| 3 | Rigid metal | 35 ft (10.7 m) |
| 4 | Rigid metal | 27 ft (8.2 m) |
NOTE: Side and bottom exhaust installations have a 90º turn inside the dryer. To determine maximum exhaust length, add one 90º turn to the chart.
| Vent System Chart (Long Vent Models) | ||
| Number of 90° elbows | Type of vent | Box/louvered or angled hoods |
| 0 | Rigid metal | 160 ft (48.8 m) |
| 1 | Rigid metal | 150 ft (45.7 m) |
| 2 | Rigid metal | 140 ft (42.7 m) |
| 3 | Rigid metal | 130 ft (39.6 m) |
| 4 | Rigid metal | 120 ft (36.6 m) |
| 5 | Rigid metal | 110 ft (33.5 m) |
To determine if your model has a long vent system, refer to the type code located on the serial number plate in the inner door well. Example: A Long Vent Model would be BJAV-NATXXXXXXX-XXX or BWFB-NAT-XXXXXXX-XXX.
NOTE: For long vent systems, use of box/louvered hoods will improve venting regardless of length.
Install Vent System
- Install exhaust hood

Install exhaust hood and use a caulking compound to seal exterior wall opening around exhaust hood. - Connect vent to exhaust hood

Vent must fit over the exhaust hood. Secure vent to exhaust hood with 4″ (102 mm) clamp. Run vent to dryer location using straightest path possible. Avoid 90° turns. Use clamps to seal all joints. Do not use duct tape, screws, or other fastening devices that extend into the interior of the vent to secure the vent, because they can catch lint.
Connect Inlet Hoses
For vented, non-steam models, skip to “Connect Vent.” The dryer must be connected to the cold water faucet using the new inlet hoses. Do not use old hoses.
NOTE: Replace inlet hoses after 5 years of use to reduce the risk of hose failure. Record hose installation or replacement dates on the hoses for future reference.
Periodically inspect and replace hoses if bulges, kinks, cuts, wear, or leaks are found.
- Turn cold water off, remove and replace the rubber washer

Turn the cold water faucet off and remove the washer inlet hose.
Remove old rubber washer from inlet hose and replace with new rubber washer. - Attach short hose and “Y” connector
Attach 2 ft (0.6 m) inlet hose to a cold water faucet. Screw on coupling by hand until it is seated on the faucet. Then attach the “Y” connector to the male end of the 2 ft (0.6 m) inlet hose. Screw on coupling by hand until it is seated on the connector. - Tighten couplings
Using pliers, tighten the couplings with additional two-thirds turn.
NOTE: Do not overtighten. Damage to the coupling can result. - Attach the long hose to “Y” connector and tighten couplings

Attach one of the 5 ft (1.5 m) inlet hosen ends to the “Y” connector. Attach washer cold inlet hose to another side of the “Y” connector. Screw on coupling by hand until it is seated on the connector. Using pliers, tighten the couplings an additional two-thirds turn.
NOTE: Do not overtighten. Damage to the coupling can result. - Attach the long hose to the dryer fill valve and tighten the coupling

If applicable, remove the protective cap from the water inlet valve.
Attach another end of the long hose to fill valve on the dryer back panel.
Screw on coupling by hand until it is seated on the fill valve connector. Using pliers, tighten the couplings an additional two-thirds turn.
NOTE: Do not overtighten. Damage to the coupling can result.
NOTE: The Steam Dryer water connection may be in a different location. - Turn on cold water faucet
Check that the water faucet is turned on. - Check for leaks

Check for leaks around “Y” connector, faucets, and hoses.
Connect Vent
- Connect vent to exhaust outlet

Using a 4″ (102 mm) clamp, connect the vent to the exhaust outlet in the dryer. If connecting to an existing vent, make sure the vent is clean. The dryer vent must fit over the dryer exhaust outlet and inside the exhaust hood. Check that vent is secured to the exhaust hood with a 4″ (102 mm) clamp. - Move dryer to a final location
Move the dryer to the final location. Avoid crushing or kinking vent.
After the dryer is in place, remove corner posts and cardboard from under the dryer.
Level Dryer
- Level Dryer

Check levelness of dryer from side to side. Repeat from front to back.
NOTE: The dryer must be level for the moisture-sensing system to operate correctly.
- Tighten and adjust leveling legs

If the dryer is not level, prop up using a woodblock. Use a wrench to adjust legs up or down, and check again for levelness.
Once the dryer is level, make sure all four legs are snug against the floor and the dryer does not rock. - Install and remove base trim (on some models)
To Install: Place the skirt to the bottom of the dryer and match the locating pins with the holes. Press the skirt firmly upwards until it snaps into place.
To Remove: On each corner, push down on top of the base trim.
Rotate away from the dryer and remove.
Complete Installation Checklist
- Check that all parts are now installed. If there is an extra part, go back through the steps to see what was skipped.
- Check that you have all of your tools.
- Dispose of/recycle all packaging materials.
- Check dryer’s final location. Be sure the vent is not crushed or kinked.
- Check that dryer is level. See “Level Dryer.”
- Remove the film on the console and any tape remaining on the dryer.
- Wipe dryer drum interior thoroughly with a damp cloth to remove any dust.
- Refer to the user instructions in your Quick Start Guide.
WARNING
Electrical Shock Hazard
Plug into a grounded 3 prong outlet.
Do not remove the ground prong.
Do not use an adapter.
Do not use an extension cord.
Failure to follow these instructions can result in death, fire, or electrical shock.
- Plug into a grounded 3 prong outlet.
- Check that gas supply is on.
- Check for leaks.
- Check that the flexible gas line is not crushed or kinked.
Steam Models Only:
- Be sure the water faucets are on.
- Check for leaks around the “Y” connector, faucet, and hoses.
- If you live in a hard water area, the use of a water softener is recommended to control the buildup of scale through the water
system in the dryer. Over time, the buildup of limescale may clog different parts of the water system, which will reduce product performance. Excessive scale buildup may lead to the need for certain part replacement or repair. - All Models:
- Set the heat cycle for 20 minutes and start the dryer. Do not select
Air Only temperature setting.
If the dryer will not start, check the following:
- Controls are set in a running or “ON” position.
- The start button has been pressed firmly.
- The dryer is plugged into an outlet and/or electrical supply is connected.
- The household fuse is intact and tight, or the circuit breaker has not tripped.
- The dryer door is closed.
- When the dryer has been running for 5 minutes, open the dryer door and feel for heat. If you feel the heat, cancel the cycle and close the door.
If you do not feel the heat, turn the dryer off and check to see whether gas supply shutoff valve is open. - If the gas supply shutoff valve is closed, open it and then repeat the 5-minute test as outlined above.
- If the gas supply line shutoff valve is open, contact a qualified technician.
- To change the door swing from a right-side opening to a left-side opening, see online “Dryer Door Reversal Instructions” for details.
If your Airflow screen reads “Check Vent,” your dryer vent may be crushed or blocked.
NOTE: You may notice an odor when the dryer is first heated. This odor is common when the heating element is first used. The odor will go away.
©2021 All rights reserved. Used under license in Canada.




To avoid damaging the floor, use a large flat piece of cardboard from the dryer carton; place it under the entire back edge of the dryer.
Using a wrench and tape measure, screw leveling leg into leg holes until the bottom of the foot is approximately 1/2″ (13 mm) to /2″ (38 mm) from the bottom of the dryer.
Remove red cap from gas pipe. Using a wrench to tighten, connect gas supply to the dryer. Use pipe-joint compound on threads of all non-flared male fittings. If flexible metal tubing is used, be sure there are no kinks.NOTE: For propane gas connections, you must use a pipe-joint compound resistant to the action of propane gas. Do not use PTFE plumber’s tape.



Attach 2 ft (0.6 m) inlet hose to a cold water faucet. Screw on coupling by hand until it is seated on the faucet. Then attach the “Y” connector to the male end of the 2 ft (0.6 m) inlet hose. Screw on coupling by hand until it is seated on the connector.
Using pliers, tighten the couplings with additional two-thirds turn.

Check that the water faucet is turned on.
Move the dryer to the final location. Avoid crushing or kinking vent.


To Install: Place the skirt to the bottom of the dryer and match the locating pins with the holes. Press the skirt firmly upwards until it snaps into place.
















