MAYTAG MGDP576KW DRYER 27 Inch Wide

DRYER SAFETY
Your safety and the safety of others are very important.
We have provided many important safety messages in this manual and on your appliance. Always read and obey all safety messages.
- This is the safety alert symbol.
- This symbol alerts you to potential hazards that can kill or hurt you and others.
- All safety messages will follow the safety alert symbol and either the word “DANGER” or “WARNING.”
These words mean:
- DANGER
You can be killed or seriously injured if you don’t immediately follow instructions. - WARNING
You can be killed or seriously injured if you don’t follow instructions.
All safety messages will tell you what the potential hazard is, tell you how to reduce the chance of injury, and tell you what can happen if the instructions are not followed.
WARNING – “Risk of Fire”
- Clothes dryer installation must be performed by a qualified installer.
- Install the clothes dryer according to the manufacturer’s instructions and local codes.
- Do not install a clothes dryer with flexible plastic venting materials or flexible metal (foil type) duct. If flexible metal duct is installed, it must be of a specific type identified by the appliance manufacturer as suitable for use with clothes dryers. Flexible venting materials are known to collapse, be easily crushed, and trap lint. These conditions will obstruct clothes dryer airflow and increase the risk of fire.
- To reduce the risk of severe injury or death, follow all installation instructions.
- Save these instructions.
WARNING
Fire Hazard
- Failure to follow safety warnings exactly could result in serious injury, death, or property damage.
- Do not install a booster fan in the exhaust duct.
- Install all clothes dryers in accordance with the installation instructions of the manufacturer of the dryer.
In the State of Massachusetts, the following installation instructions apply:
- Installations and repairs must be performed by a qualified or licensed contractor, plumber, or gas fitter qualified or licensed by the State of Massachusetts.
- Acceptable Shut-off Devices: Gas Cocks and Ball Valves installed for use shall be listed.
- A flexible gas connector, when used, must not exceed 4 feet (121.9 cm).
WARNING:
FIRE OR EXPLOSION HAZARD
Failure to follow safety warnings exactly could result in serious injury, death or property damage.
- Do not store or use gasoline or other flammable vapors and liquids in the vicinity of this or any other appliance.
- WHAT TO DO IF YOU SMELL GAS:
- Do not try to light any appliance.
- Do not touch any electrical switch; do not use any phone in your building.
- Clear the room, building, or area of all occupants.
- Immediately call your gas supplier from a neighbor’s phone. Follow the gas supplier’s instructions.
- If you cannot reach your gas supplier, call the fire department.
- Installation and service must be performed by a qualified installer, service agency, or gas supplier.
WARNING:
Gas leaks cannot always be detected by smell. Gas suppliers recommend that you use a gas detector approved by UL or CSA. For more information, contact your gas supplier If a gas leak is detected, follow the “What to do if you smell gas” instructions.
IMPORTANT SAFETY INSTRUCTIONS
WARNING:
To reduce the risk of fire, electric shock, or injury to persons when using the dryer, follow basic precautions, including the following:
- Read all instructions before using the dryer.
- Do not place items exposed to cooking oils in your dryer. Items contaminated with cooking oils may contribute to a chemical reaction that could cause a load to catch fire.
- To reduce the risk of fire due to contaminated loads, the final part of a tumble dryer cycle occurs without heat (cool-down period). Avoid stopping a tumble dryer before the end of the drying cycle unless all items are quickly removed and spread out so that the heat is dissipated.
- Do not dry articles that have been previously cleaned in, washed in, soaked in, or spotted with gasoline, dry-cleaning solvents, or other flammable or explosive substances as they give off vapors that could ignite or explode.
- Do not allow children to play on or in the dryer. Close supervision of children is necessary when the dryer is used near children.
- Before the dryer is removed from service or discarded, remove the door to the drying compartment.
- Do not reach into the dryer if the drum is moving.
- Do not install or store the dryer where it will be exposed to the weather.
- Do not tamper with controls.
- Do not repair or replace any part of the dryer or attempt any servicing unless specifically recommended in this
- Use and Care Guide or in published user-repair instructions that you understand and have the skills to carry out.
- Do not use fabric softeners or products to eliminate static unless recommended by the manufacturer of the fabric softener or product.
- Do not use heat to dry articles containing foam rubber or similarly textured rubber-like materials.
- Clean lint screen before or after each load.
- Keep area around the exhaust opening and adjacent surrounding areas free from the accumulation of lint, dust, and dirt.
- The interior of the dryer and exhaust vent should be cleaned periodically by qualified service personnel.
- See “Electrical Requirements” located in the installation Instructions for grounding instructions.
- WARNING: Risk of Fire. Do not install a booster fan in the exhaust duct.
- NOTE: The booster fan warning does not apply to clothes dryers intended to be installed in a multiple clothes dryer system, with an engineered exhaust duct system that is installed per the clothes dryer manufacturer’s guidelines.
INSTALLATION REQUIREMENTS
Tools and Parts
Gather the required tools and parts before starting installation.
Tools needed for all installations:


Tools needed for gas installations:


LOCATION REQUIREMENTS
Explosion Hazard
Keep flammable materials and vapors, such as gasoline, away from dryer. Place dryer at least 18 inches (460 mm) above the floor for a garage installation. Failure to do so can result in death, explosion, or fire.
You will need:
- A location allowing for proper exhaust installation. See “Venting Requirements.”
- A separate 30 A circuit for electric dryers.
- A separate 15 A or 20 A circuit for gas dryers.
- If you are using a power supply cord, a grounded electrical outlet is located within 2 ft (610 mm) of either side of the dryer. See “Electrical Requirements.”
- A sturdy floor to support the dryer and a total weight (dryer and load) of 200 lbs (90.7 kg). The combined weight of a companion appliance should also be considered.
- Level floor with a maximum slope of 1″ (25 mm) under the entire dryer. If the slope is greater than 1″ (25 mm), install the Extended Dryer Feet Kit, Part Number 279810. If not level, clothes may not tumble properly and automatic sensor cycles may not operate correctly.
Do not operate your dryer at temperatures below 45°F (7°C). At lower temperatures, the dryer might not shut off at the end of an automatic cycle. Drying times can be extended. The dryer must not be installed or stored in an area where it will be exposed to water and/or weather. Check code requirements. Some codes limit or do not permit, the installation of the dryer in garages, closets, mobile homes, or sleeping quarters. Contact your local building inspector.
NOTE: No other fuel-burning appliance can be installed in the same closet as a dryer.
The parts package is located in the dryer drum. Check that all parts are included.
Parts needed:
Check local codes. Check existing electrical supply and venting. See “Electrical Requirements” and “Venting Requirements” before purchasing parts. Check code requirements. Some codes limit, or do not permit, installing dryer in garages, closets, mobile homes, or sleeping quarters. Contact your local building inspector.
Optional Equipment (Not supplied with dryer):
Refer to your Use and Care Guide for information about accessories available for your dryer.
Installation clearances:
The location must be large enough to allow the dryer door to open fully. Most installations require a minimum 5½” (140 mm) clearance behind the dryer for the exhaust vent with elbow. See “Venting Requirements.”
- The back of the dryer shall be installed against a wall. Refer to the minimum installation dimensions/clearances in the diagrams.
Dryer Dimensions
Back View

Side View

Minimum spacing for a recessed area or closet installation
The dimensions shown following are for the minimum spacing allowed.
- Additional spacing should be considered for ease of installation and servicing.
- Additional clearances might be required for wall, door, and floor moldings.
- Additional spacing of 1″ (25 mm) on all sides of the dryer is recommended to reduce noise transfer.
- For closet installation, with a door, minimum ventilation openings in the top and bottom of the door are required. Louvered doors with equivalent ventilation openings
are acceptable. - Companion appliance spacing should also be considered.
Minimum Required Spacing
Recessed Area Installation

Closet Installation

Additional spacing recommended
Mobile home – Additional installation requirements
This dryer is suitable for mobile home installations. The installation must conform to the Manufactured Home Construction and Safety Standard, Title 24 CFR, Part 3280 (formerly the Federal Standard for Mobile Home Construction and Safety, Title 24, HUD Part 280) or the Canadian Manufactured Home Standard CAN/CSA-Z240 MH.
- Metal exhaust system hardware, which is available for purchase. For further information, please reference the “Assistance or Service” section of the Use and Care Guide.
- Special provisions must be made in mobile homes to introduce outside air into the dryer. The opening (such as a nearby window) should be at least twice as large as the dryer exhaust opening.
ELECTRIC DRYER POWER HOOKUP – CANADA ONLY
Electrical Requirements
It is your responsibility:
- To contact a qualified electrical installer.
- To be sure that the electrical connection is adequate and in conformance with the Canadian Electrical Code, C22.1 – latest edition, and all local codes. A copy of the standard of the above code may be obtained from: Canadian Standards Association, 178 Rexdale Blvd., Toronto, ON M9W 1R3 CANADA.
- To supply the required 4-wire, single phase, 120 V/240 V, 60 Hz AC only electrical supply on a separate 30 A circuit, fused on both sides of the line. A time-delay fuse
or circuit breaker is recommended. Connect to an individual branch circuit. - This dryer is equipped with a UL Listed and/or CSA International Certified Power Cord intended to be plugged into a standard 14-30R wall receptacle. The cord is 5 ft
(1.52 m) in length. Be sure wall receptacle is within reach of dryer’s final location.
4-wire receptacle (14-30R) - Do not use an extension cord.
If using a replacement power supply cord, it is recommended that you use Power Supply Cord Replacement Part Number 8579325. For further information, please reference the “Assistance or Service” section of the Use and Care Guide.
GROUNDING INSTRUCTIONS
For a grounded, cord-connected dryer:
This dryer must be grounded. In the event of malfunction or breakdown, grounding will reduce the risk of electric shock by providing a path of least resistance for electric current. This dryer is equipped with a cord having an equipment- grounding conductor and a grounding plug. The plug must be plugged into an appropriate outlet that is properly installed and grounded in accordance with all local codes and ordinances.
WARNING:
Improper connection of the equipment- grounding conductor can result in a risk of electric shock. Check with a qualified electrician or service representative or personnel if you are in doubt as to whether the dryer is properly grounded. Do not modify the plug provided with the dryer: if it will not fit the outlet, have a proper outlet installed by a qualified electrician.
SAVE THESE INSTRUCTIONS
GAS DRYER ELECTRICAL REQUIREMENTS
WARNING
Electrical Shock Hazard
- Plug into a grounded 3-prong outlet.
- Do not remove the ground prong.
- Do not use an adapter.
- Do not use an extension cord.
- Failure to follow these instructions can result in death, fire, or electrical shock.
120 V, 60 Hz AC only, 15 A or 20 A fused electrical supply is required. A time-delay fuse or circuit breaker is recommended. It is also recommended that a separate circuit serving only this dryer be provided.
GROUNDING INSTRUCTIONS
For a grounded, cord-connected dryer:
- This dryer must be grounded. In the event of malfunction or breakdown, grounding will reduce the risk of electric shock by providing a path of least resistance for electric current. This dryer is equipped with a cord having an equipment- grounding conductor and a grounding plug. The plug must be plugged into an appropriate outlet that is properly installed and grounded in accordance with all local codes and ordinances.
WARNING:
Improper connection of the equipment- grounding conductor can result in a risk of electric shock. Check with a qualified electrician or service representative or personnel if you are in doubt as to whether the dryer is properly grounded. Do not modify the plug provided with the dryer: if it will not fit the outlet, have a proper outlet installed by a qualified electrician.
SAVE THESE INSTRUCTIONS
INSTALL LEVELING LEGS
- Prepare dryer for leveling legs

To avoid damaging the floor, use a large flat piece of cardboard from a dryer carton; place it under the entire back edge of the dryer. Firmly grasp the dryer body (not the console panel) and gently lay the dryer down on cardboard. - Screw in leveling legs

Using a wrench and tape measure, screw legs into leg holes until the bottom of the foot is approximately 1½” (38 mm) from the bottom of the dryer. Now stand the dryer on its legs. Slide the dryer until it is close to its final location. Leave enough room for electrical connection and to connect the exhaust vent.
For mobile home use
Gas dryers must be securely fastened to the floor.
Mobile home installations require a Mobile Home Installation Hold-down Kit. For ordering information, please reference the Use and Care Guide.
GAS SUPPLY REQUIREMENTS
WARNING
Explosion Hazard
Use a new CSA International-approved gas supply line. Install a shut-off valve. Securely tighten all gas connections. If connected to propane, have a qualified person make sure the gas pressure does not exceed the 13″ (330 mm) water column.
Examples of qualified people include:
licensed heating personnel, authorized gas company personnel, and authorized service personnel. Failure to do so can result in death, explosion, or fire.
GAS TYPE
Natural gas:
This dryer is equipped for use with natural gas. It is certified by UL for use with propane gas with appropriate conversion.
- Your dryer must have the correct burner for the type of gas in your home. Burner information is located on the rating plate in the door well of your dryer. If this information does not agree with the type of gas available, please reference the “Assistance or Service” section of the Use and Care Guide.
Propane gas conversion:
IMPORTANT:
The conversion must be made by a qualified technician.
No attempt shall be made to convert the dryer from the gas specified on the model/serial rating plate for use with a different gas without consulting the serving gas supplier.
IMPORTANT:
The gas installation must conform with local codes, or in the absence of local codes, with the National Fuel Gas Code, ANSI Z223.1/NFPA 54 or the Canadian Natural Gas and Propane Installation Code, CSA B149.1.
GAS SUPPLY LINE
- A 1/2″ NPT pipe is recommended.
- 3/8″ approved tubing is acceptable for lengths under 20 ft (6.1 m) if local codes and gas supplier permits.
- Must include 1/8″ NPT minimum plugged tapping accessible for test gauge connection, immediately upstream of the gas connection to the dryer (see illustration).
- Must include a shut-off valve.
In the U.S.A.:
An individual manual shut-off valve must be installed within 6 ft (1.8 m) of the dryer in accordance with the National Fuel Gas Code, ANSI Z223.1.
In Canada:
An individual manual shut-off valve must be installed in accordance with the B149.1, Natural Gas and Propane Installation Code. It is recommended that an individual manual shut-off valve be installed within 6 ft (1.8 m) of the dryer.
The shut-off valve location should be easy to reach for opening and closing.
- A. 3/8″ flexible gas connector
- B. 3/8″ pipe to flare adapter fitting
- C. 1/8″ NPT minimum plugged tapping
- D. 1/2″ NPT gas supply line
- E. Gas shut-off valve
GAS SUPPLY CONNECTION REQUIREMENTS
There are many methods by which your gas dryer can be connected to the gas supply. Listed here are some guidelines for two different methods of connection. This dryer must be connected to the gas supply line with a listed flexible gas connector that complies with the standard for connectors for gas appliances, ANSI Z21.24 or CSA 6.10.
Option 1 (Recommended Method)
Flexible stainless steel gas connector:
- If local codes permit, use a new flexible stainless steel gas connector (Design Certified by the American Gas Association or CSA International) to connect your dryer to the rigid gas supply line. Use an elbow and a 3/8″ flare x 3/8″ NPT adapter fitting between the stainless steel gas connector and the dryer gas pipe, as needed to prevent kinking.
Option 2 (Alternate Method)
Approved aluminum or copper tubing:
- Lengths over 20 ft (6.1 m) can use 3/8″ approved tubing (if codes and gas supplier permit).
- If you are using natural gas, do not use copper tubing.
- 3/8″ flare x 3/8″ NPT adapter fitting between dryer pipe and 3/8″ approved tubing.
- Lengths over 20 ft (6.1 m) should use larger tubing and a different-size adapter fitting.
- If your dryer has been converted to use propane gas, 3/8″ propane-compatible copper tubing can be used. If the total length of the supply line is more than 20 ft
(6.1 m), use the larger pipe.
NOTE: Pipe joint compounds that resist the action of propane gas must be used. Do not use TEFLON®† tape.
DRYER GAS PIPE
- The gas pipe that comes out through the rear of your dryer has a 3/8″ male pipe thread.

BURNER INPUT REQUIREMENTS
Elevations up to 10,000 ft (3,048 m):
The design of this dryer is certified by CSA International for use at altitudes up to 10,000 ft (3,048 m) above sea level at the B.T.U. rating indicated on the model/serial number plate. Burner input adjustments are not required when the dryer is operated up to this elevation.
Elevations above 10,000 ft (3,048 m):
When installed above 10,000 ft (3,048 m), a 4% reduction of the burner B.T.U. rating shown on the model/serial number plate is required for each 1,000 ft (305 m) increase in elevation.
Gas supply pressure testing
The dryer must be disconnected from the gas supply piping system during pressure testing at pressures greater than 1/2 psi.
VENTING
Venting Requirements
WARNING:
To reduce the risk of fire, this dryer MUST BE EXHAUSTED OUTDOORS.
IMPORTANT:
Observe all governing codes and ordinances. Dryer exhaust must not be connected into any gas vent, chimney, wall, ceiling, attic, crawlspace, or a concealed space of a building. Only rigid or flexible metal vent shall be used for exhausting.
- Only a 4″ (102 mm) heavy metal exhaust vent and clamps may be used.
- Do not use plastic or metal foil vent.
Rigid metal vent:
- Recommended for best drying performance and to avoid crushing and kinking.
Flexible metal vent: (Acceptable only if access to clean)
- Must be fully extended and supported in final dryer location.
- Remove excess to avoid sagging and kinking that may result in reduced airflow and poor performance.
- Do not install in enclosed walls, ceilings, or floors.
- The total length should not exceed 73/4 ft (2.4 m).
NOTE:
If using an existing vent system, clean lint from the entire length of the system and make sure the exhaust hood is not plugged with lint. Replace plastic or metal foil vents with rigid metal or flexible metal vents. Review the “Vent System Chart” and, if necessary, modify the existing vent system to achieve the best drying performance.
Exhaust hoods:
Must be at least 12″ (305 mm) from ground or any object that may obstruct exhaust (such as flowers, rocks, bushes, or snow).
Recommended Styles:

Acceptable Style:

Elbows:
45° elbows provide better airflow than 90° elbows.
Clamps:
- Use clamps to seal all joints.
- The exhaust vent must not be connected or secured with screws or other fastening devices that extend into interior of duct and catch lint. Do not use duct tape.

See “Venting Kits” for more information.
Plan Vent System
Recommended exhaust installations
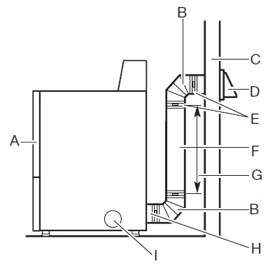
Typical installations vent the dryer from the rear of the dryer. Other installations are possible.
- A. Dryer
- B. Elbow
- C. Wall
- D. Exhaust hood
- E. Clamps
- F. Rigid metal or flexible metal vent
- G. Vent length necessary to connect elbows
- H. Exhaust outlet
- I. Optional side exhaust outlet
Optional exhaust installations:
Exhaust can be converted out the right side, left side, or through the bottom (4-way vent kit). Each kit includes step-by-step instructions. For ordering information, see “Venting Kits.”
- A. Standard rear offset exhaust installation
- B. Left or right side exhaust installation
- C. Bottom exhaust installation
Alternate installations for close clearances
Venting systems come in many varieties. Select the best type for your installation. Two close-clearance installations are shown. Refer to the manufacturer’s instructions.
Over-The-Top installation (also available with one offset elbow)
NOTE: The following kits for close clearance alternate installations are available for purchase.
Venting Kits
For more information, call 1-800-344-1274 in the U.S. (1-800-688-2002 in Canada) or visit us at www.maytagreplacementparts.com.
Part Number/Descriptions
- 8171587RP 0″–5″ Metal vent periscope
- 4396037RP 0″–18″ Metal vent periscope
- 4396011RP 18″–29″ Metal vent periscope
- 4396014 29″–50″ Metal vent periscope
- 4392892 In-wall metal DuraVent™ periscope
- W10186596 4-way vent kit – universal grey
- 4396028 Sure Connect™ venting kit (over-the-top installation)
- 4396009RP 5′ Universal connect vent, flexible dryer venting
- 4396010RP 6′ SecureConnect™ vent, flexible dryer venting
- 4396013RB Dryer vent installer’s kit
- 4396033RP 5′ flexible dryer venting with clamps
- 4396727RP 8′ flexible dryer venting with clamps
- 4396004 Dryer offset elbow
- 4396005 Wall offset elbow
- 4396006RW DuraSafe™ close elbow
- 4396007RW Through-the-wall vent cap
- 4396008RP 4″ steel dryer venting clamps – 2 pack
- 8212662 Flush mounting louvered vent hood, 4″
Special provisions for mobile home installations:
The exhaust vent must be securely fastened to a non-combustible portion of the mobile home structure and must not terminate beneath the mobile home. Terminate the exhaust vent outside.
Determine vent path:
- The select route that will provide the straightest and most direct path outdoors.
- Plan installation to use the fewest number of elbows and turns.
- When using elbows or making turns, allow as much room as possible.
- Bend the vent gradually to avoid kinking.
- Use as few 90° turns as possible.
Determine vent length and elbows needed for best drying performance:
- Use the following Vent System Chart to determine the type of vent material and hood combinations acceptable to use.
NOTE: Do not use vent runs longer than those specified in Vent System Chart. Exhaust systems longer than those specified will: - Shorten the life of the dryer.
- Reduce performance, resulting in longer drying times and increased energy usage.
The Vent System Chart provides venting requirements that will help achieve best drying performance.
Vent System Chart
| Vent System Chart | ||||
| Number of 90° turns or elbows | Type of vent | Box/louvered hoods | Angled hoods | |
| 0 | Rigid metal | 64 ft (20 m) | 58 ft (17.7 m) | |
| 1 | Rigid metal | 54 ft (16.5 m) | 48 ft (14.6 m) | |
| 2 | Rigid metal | 44 ft (13.4 m) | 38 ft (11.6 m) | |
| 3 | Rigid metal | 35 ft (10.7 m) | 29 ft (8.8 m) | |
| 4 | Rigid metal | 27 ft (8.2 m) | 21 ft (6.4 m) | |
NOTE: Side and bottom exhaust installations have a 90º turn inside the dryer. To determine maximum exhaust length, add one 90º turn to the chart.
Install Vent System
- Install exhaust hood
Install exhaust hood and use a caulking compound to seal the exterior wall opening around the exhaust hood. - Connect vent to exhaust hood

Vent must fit over the exhaust hood. Secure vent to exhaust hood with 4″ (102 mm) clamp. Run vent to dryer location using straightest path possible. Avoid 90° turns. Use clamps to seal all joints. Do not use duct tape, screws, or other fastening devices that extend into interior of vent to secure vent, because they can catch lint.
Make Gas Connection
WARNING
Explosion Hazard
Use a new CSA International-approved gas supply line. Install a shut-off valve. Securely tighten all gas connections. If connected to propane, have a qualified person make sure gas pressure does not exceed 13″ (330 mm) water column.
Examples of qualified people include:
licensed heating personnel, authorized gas company personnel, and authorized service personnel. Failure to do so can result in death, explosion, or fire.
- Connect gas supply to dryer

Remove the red cap from the gas pipe. Using a wrench to tighten, connect the gas supply to the dryer. Use pipe-joint compound on threads of all non-flared male fittings. If flexible metal tubing is used, be sure there are no kinks.
NOTE: For propane gas connections, you must use a pipe-joint compound resistant to the action of propane gas. Do not use TEFLON®† tape. - Plan pipe fitting connection

A combination of pipe fittings must be used to connect dryer to existing gas line. A recommended connection is shown. Your connection may be different, according to supply line type, size, and location. - Open shut-off valve

Open shut-off valve in supply line; valve is open when handle is parallel to gas pipe. Then, test all connections by brushing on an approved noncorrosive leak-detection solution. Bubbles will show a leak. Correct any leaks found.
Connect Vent
- Connect vent to exhaust outlet

Using a 4″ (102 mm) clamp, connect the vent to the exhaust outlet in the dryer. If connecting to the existing vent, make sure the vent is clean. The dryer vent must fit over the dryer exhaust outlet and inside the exhaust hood. Check that vent is secured to the exhaust hood with a 4″ (102 mm) clamp. - Move the dryer to the final location

Move dryer to final location. Avoid crushing or kinking vent. After dryer is in place, remove corner posts and cardboard from under the dryer.
LEVEL DRYER
- Level dryer

Check the levelness of the dryer from side to side. Repeat from front to back.
NOTE: The dryer must be level for the moisture-sensing system to operate correctly.
- Tighten and adjust leveling legs

If dryer is not level or the same height as the washer, prop up using a wood block. Use wrench to adjust legs up or down, and check again for levelness. Once dryer is level, make sure all four legs are snug against the floor before tightening them.
COMPLETE INSTALLATION CHECKLIST
- Check that all parts are now installed. If there is an extra part, go back through the steps to see what was skipped.
- Check that you have all of your tools.
- Dispose of/recycle all packaging materials.
- Check the dryer’s final location. Be sure the vent is not crushed or kinked.
- Check that dryer is level. See “Level Dryer.”
- Remove the film on the console and any tape remaining on the dryer.
- Wipe the dryer drum interior thoroughly with a damp cloth to remove any dust.
- Read “Dryer Use” in your Use and Care Guide.
- Set the dryer on a full heat cycle (not an air cycle) for 20 minutes and start the dryer.
If the dryer will not start, check the following: - The gas dryer is plugged into a grounded 3-prong outlet. The electric dryer is plugged into a grounded 4- prong outlet.
- The electrical supply is connected.
- The household fuse is intact and tight, or the circuit breaker has not tripped.
- The dryer door is closed.
- When the dryer has been running for 5 minutes, open the dryer door and feel for heat. If you feel heat, cancel cycle and close the door.
If you do not feel heat, turn the dryer off and check the following:
Gas Dryers:
- If the gas supply line shut-off valve is closed, open it, then repeat the 5 minutes test as outlined above.
- If the gas supply line shut-off valve is open, contact a qualified technician.
Electric Dryers:
- There may be two household fuses or circuit breakers for the dryer. Check that both fuses are intact and tight, or that both circuit breakers have not tripped. If there is still no heat, contact a qualified technician.
NOTE: You may notice an odor when the dryer is first heated. This odor is common when the heating element is first used. The odor will go away.
REVERSE DOOR SWING (OPTIONAL)
NOTE: Magnetized screwdriver is helpful.
27″ Wide Model Side-Swing Door
- Place towel on dryer

Place towel on top of dryer to avoid damaging the surface. - Remove bottom screws

Open the dryer door. Remove the bottom screws from the dryer cabinet side of the hinges. Loosen (do not remove) top screws from the dryer cabinet side of the hinges. - Lift door off top screws

Lift the door until the top screws in the dryer cabinet are in a large part of the hinge slot. Pull the door forward off the screws. Set the door (handle side up) on top of the dryer. Remove the top screws from the dryer cabinet. - Remove screws from hinges

Remove screws attaching hinges to door. - Remove screws from door

Remove screws at the top, bottom, and side of the door (five screws). Keep door screws separate from hinge screws as they are different sizes. Holding the door over a towel on the dryer, grasp the sides of the outer door and lift to separate it from the inner door.
NOTE: Do not pry apart with a putty knife or screwdriver. Do not pull on the door seal or plastic door catches. - Rotate outer door

Rotate outer door 180º and set it back down on inner door. Be certain to keep cardboard spacer centered between doors. Reattach outer door panel to inner door panel so handle is on the side where hinges were just removed. Insert five door screws. - Flip door over

Flip door over so handle side is down. - Attach door hinges

Reattach door hinges to dryer door so that the larger hole is at the bottom of the hinge. - Remove and transfer plugs

Remove the four screws that attach two plugs on the left side. Transfer plugs to the opposite side using the same four screws. - Insert screws in hinge holes on dryer cabinet

NOTE: Two people may be needed to reinstall the door.
Insert screws into the bottom holes on the left side of the dryer cabinet. Tighten screws halfway. Position the door so large end of the door hinge slot is over the screws. Slide door up so the screws are in the bottom of the slots. Tighten screws. Insert and tighten the top screws in the hinges. - Check door strike alignment
Close door and check that door strike aligns with door catch. If it is needed, slide door catch left or right within slot to adjust alignment.
TROUBLESHOOTING
See the Use and Care Guide or visit our website and reference “Frequently Asked Questions” to possibly avoid the cost of a service call.
®/TM ©2022 Maytag. All rights reserved. Used under license in Canada. Tous droits réservés. Utilisé sous licence au Canada.

4-wire receptacle (14-30R)




Install exhaust hood and use a caulking compound to seal the exterior wall opening around the exhaust hood.


















Close door and check that door strike aligns with door catch. If it is needed, slide door catch left or right within slot to adjust alignment.
















