JENNAIR JGS1450FCNF 30 Inch Slide-In Gas Range

JENNAIR® GAS RANGE PRODUCT
| APPLIANCE: | 30″ GAS RANGE | ||
| Units | in | cm | |
| A | Depth Closed Excluding Handle | 2713⁄16 | 70.6 |
| B | Depth Closed Including Handle | 287⁄8 | 73.4 |
| C | Depth Excluding Doors | 2713⁄16 | 70.6 |
| D | Depth with Door Open 90o | 4813⁄16 | 124 |
| E | Maximum Height | 387⁄16 | 97.7 |
| E | Minimum Height | 377⁄16 | 95.1 |
| F | Width | 297⁄8 | 75.9 |

IMPORTANT: Dimensional specifications are provided for planning purposes only. Do not make any cutouts based on this information. Refer to the Owner’s Manual before selecting cabinetry, verifying electrical/gas connections, making cutouts or beginning installation.
Location Requirements
IMPORTANT: Observe all governing codes and ordinances. Do not obstruct the flow of combustion and ventilation air.
- It is the installer’s responsibility to comply with installation clearances specified on the model/serial/rating plate. The model/serial/rating plate is located behind the oven door on the top right-hand side of the oven frame.
- The range should be located for convenient use in the kitchen.
- Recessed installations must provide complete enclosure of the sides and rear of the range.
- All openings in the wall or floor where the range is to be installed must be sealed.
- The Cabinet opening dimensions that are shown must be used. Given dimensions are minimum clearances.
- The anti-tip bracket must be installed. To install the anti-tip bracket shipped with the range, see the “Install Anti-Tip Bracket” section in the Owner’s Manual.
- A grounded electrical supply is required. See the “Electrical Requirements” section in the Owner’s Manual.
- A proper gas supply connection must be available. See the “Gas Supply Requirements” section in the Owner’s Manual.
- Contact a qualified floor covering installer to check that the floor covering can withstand at least 200°F (93°C).
- Use an insulated pad or 1/4″ (6.4 mm) plywood under range if installing range over carpeting.
IMPORTANT: To avoid damage to your cabinets, check with your builder or cabinet supplier to make sure that the materials used will not discolor, delaminate or sustain other damage. This oven has been designed in accordance with the requirements of UL and CSA International and complies with the maximum allowable wood cabinet temperatures of 194°F (90°C).
Mobile Home – Additional Installation Requirements
The installation of this range must conform to the Manufactured Home Construction and Safety Standard, Title 24 CFR, Part 3280 (formerly the Federal Standard for Mobile Home Construction and Safety, Title 24, HUD Part 280). When a such standard is not applicable, use the Standard for Manufactured Home Installations, ANSI A225.1/NFPA 501A or with local codes. In Canada, the installation of this range must conform with the current standards CAN/CSA Z240.1 – latest edition, or with local codes.
Mobile Home Installations Require:
- When this range is installed in a mobile home, it must be secured to the floor during transit. Any method of securing the range is adequate as long as it conforms to the standards listed above.
Cabinet Dimensions
Cabinet opening dimensions shown are for 25″ (64.0 cm) countertop depth, 24″ (61.0 cm) base cabinet depth and 36″ (91.4 cm) countertop height.
IMPORTANT: If installing a range hood or microwave hood combination above the cooking surface, follow the range hood or microwave hood combination installation instructions for dimensional clearances above the cooktop surface.
NOTE: When installed in a slide-in cutout, the front of oven door may protrude beyond the base cabinet.
Slide-in Cutout

- 18″ (45.7 cm) upper side cabinet to countertop
- 13″ (33 cm) maximum upper cabinet depth
- 30″ (76.2 cm) minimum opening width
- For minimum clearance to top of cooktop, see NOTE*
- 30″ (76.2 cm) minimum opening width
- 5″ (12.7 cm) minimum clearance from both sides of range to side wall or other combustible material
- The shaded area is recommended for installation of rigid gas pipe and grounded outlet
- 131/8″ (33.3 cm)
- 711/16″ (19.5 cm)
- 413/16″ (12.2 cm)
- 311/16″ (9.4 cm) plus measurement of N
- 12″ (30.5 cm)
- Cabinet door or hinges should not extend into the cutout.
- Remaining counter depth should not exceed 21/4″ (5.7 cm)
Freestanding Control Cutout

- 18″ (45.7 cm) upper side cabinet to countertop
- 13″ (33 cm) maximum upper cabinet depth
- 30″ (76.2 cm) minimum opening width
- For minimum clearance to top of cooktop, see NOTE*
- 30″ (76.2 cm) minimum opening width
- 5″ (12.7 cm) minimum clearance from both sides of range to side wall or other combustible material
- The shaded area is recommended for installation of rigid gas pipe and grounded outlet
- 131/8″ (33.3 cm)
- 711/16″ (19.5 cm)
- 413/16″ (12.2 cm)
- 311/16″ (9.4 cm)
- 12″ (30.5 cm)
- Cabinet door or hinges should not extend into the cutout
NOTE: 24″ (61.0 cm) minimum when bottom of wood or metal cabinet is shielded by not less than 1/4″ (6.4 mm) flame retardant millboard covered with not less than No. 28 MSG sheet steel, 0.015″ (0.4 mm) stainless steel, 0.024″ (0.6 mm) aluminum or 0.020″ (0.5 mm) copper. 30″ (76.2 cm) minimum clearance between the top of the cooking platform and the bottom of an uncovered wood or metal cabinet.
Electrical Requirements
WARNING
- Electrical Shock Hazard
- Plug into a grounded 3 prong outlet.
- Do not remove ground prong.
- Do not use an adapter.
- Do not use an extension cord.
- Failure to follow these instructions can result in death, fire, or electrical shock.
IMPORTANT: The range must be electrically grounded in accordance with local codes and ordinances, or in the absence of local codes, with the National Electrical Code, ANSI/NFPA 70 or Canadian Electrical Code, CSA C22.1. This range is equipped with an electronic ignition system that will not operate if plugged into an outlet that is not properly polarized. If codes permit and a separate ground wire is used, it is recommended that a qualified electrical installer determine that the ground path is adequate. A copy of the above code standards can be obtained from: National Fire Protection Association 1 Batterymarch Park Quincy, MA 02169-7471 CSA International 8501 East Pleasant Valley Road Cleveland, OH 44131-5575
- A 120 V, 60 Hz, AC only, 15 A fused, ground and polarized electrical circuit is required. A time-delay fuse or circuit breaker is also recommended. It is recommended that a separate circuit serving only this range be provided.
- Electronic ignition systems operate within wide voltage limits, but proper grounding and polarity are necessary. Check that the outlet provides 120 V power and is correctly grounded.
- This gas range is not required to be plugged into a GFCI
(Ground-Fault Circuit Interrupter) outlet. It is recommended that you not plug an electric spark ignition gas range or any other major appliance into a GFCI wall outlet as it may cause the GFCI to trip during normal cycling. - Performance of this range will not be affected if operated on a GFCI-protected circuit. However, occasional nuisance tripping of the GFCI breaker is possible due to the normal operating nature of electronic gas ranges.
NOTE: The metal chassis of the range must be grounded in order for the control panel to work. If the metal chassis of the range is not grounded, no keypads will operate. Check with a qualified electrician if you are in doubt as to whether the metal chassis of the range is grounded.
Gas Supply Requirements
WARNING
- Use a new CSA International approved gas supply line.
- Install a shut-off valve.
- Securely tighten all gas connections.
- If connected to propane, have a qualified person make sure gas pressure does not exceed 14″ (36 cm) water column.
- Examples of a qualified person include:
- licensed heating personnel,
- authorized gas company personnel, and
- authorized service personnel.
- Failure to do so can result in death, explosion, or fire.
Observe all governing codes and ordinances.
IMPORTANT: This installation must conform with all local codes and ordinances. In the absence of local codes, installation must conform with the National Fuel Gas Code ANSI Z223.1/NFPA 54 or, in Canada, the Natural Gas and Propane Installation Code, CSA B149.1 – latest edition.
IMPORTANT: Leak testing of the range must be conducted according to the manufacturer’s instructions. Refer to the “Complete Connection” in the “Make gas connection” from the Owner’s Manual section for the leak testing instructions.
Type of Gas
Natural Gas:
- This range is factory set for use with Natural gas. See “Gas Conversions” section in the Owner’s Manual. The model/serial rating plate located on the oven frame behind of the oven door has information on the types of gas that can be used. If the types of gas listed do not include the type of gas available, check with the local gas supplier.
Propane Gas Conversion:
Conversion must be done by a qualified service technician. No attempt shall be made to convert the appliance from the gas specified on the model/serial rating plate for use with a different gas without consulting the serving gas supplier. See “Gas Conversions” section in the Owner’s Manual.
Gas Supply Line
- Provide a gas supply line of 3/4″ (1.9 cm) rigid pipe to the range location. A smaller size pipe on longer runs may result in insufficient gas supply. With propane gas, piping or tubing size can be 1/2″ (1.3 cm) minimum. Usually, propane gas suppliers determine the size and materials used in the system.
NOTE: Pipe-joint compounds that resist the action of Propane gas must be used. Do not use TEFLON®† tape.
Flexible Metal Appliance Connector:
- If local codes permit, a new CSA design-certified, 4 to 5 ft (122 to 152.4 cm) long, 1/2″ (1.3 cm) or 3/4″ (1.9 cm) I.D., flexible metal appliance connector may be used for connecting range to the gas supply line.

- A 1/2″ (1.3 cm) male pipe thread is needed for connection to the female pipe threads of the inlet to the appliance pressure regulator.
- Do not kink or damage the flexible metal tubing when moving the range.
Rigid pipe connection:
The rigid pipe connection requires a combination of pipe fittings to obtain an in-line connection to the range. The rigid pipe must be level with the range connection. All strains must be removed from the supply and fuel lines so range will be level and in line.
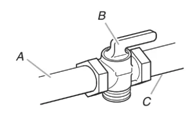
- Must include a shut-off valve: Install a manual gas line shut-off valve in an easily accessible location. Do not block access to the shut-off valve. The valve is for turning on or shutting off gas to the cooktop.

- Gas supply line
- Shut-off valve “open” position
- To range
Gas Pressure Regulator
The gas pressure regulator supplied with this range must be used. The inlet pressure to the regulator should be as follows for proper operation:
Natural Gas:
- Minimum pressure: 5″ (12.7 cm) WCP
- Maximum pressure: 14″ (35.5 cm) WCP
Propane Gas:
- Minimum pressure: 11″ (27.9 cm) WCP
- Maximum pressure: 14″ (35.5 cm) WCP
Contact local gas supplier if you are not sure about the inlet pressure.
Burner Input Requirements
Input ratings shown on the model/serial/rating plate are for elevations up to 2,000 ft (609.6 m). For elevations above 2,000 ft (609.6 m), ratings are reduced at a rate of 4% for each 1,000 ft (304.8 m) above sea level (not applicable for Canada).
Gas Supply Pressure Testing
Gas supply pressure for testing regulator must be at least 1″ (2.5 cm) water column pressure above the manifold pressure shown on the model/serial rating plate.
Line pressure testing above 1/2 psi (3.5 kPa) gauge [14″ (35.5 cm) WCP]
The range and its individual shutoff valve must be disconnected from the gas supply piping system during any pressure testing of that system at test pressures in excess of 1/2 psi (3.5 kPa).
Line pressure testing at 1/2 psi (3.5 kPa) gauge [14″ (35.5 cm) WCP or lower]
The range must be isolated from the gas supply piping system by closing its individual manual shutoff valve during any pressure testing of the gas supply piping system at test pressures equal to or less than 1/2 psi (3.5 kPa).





















