GE APPLIANCES JGSS61SPSS 30 Inch Slide-In Front Control Gas Range Instruction Manual
Questions? Call GE Appliances at 1.800.GE.CARES (1.800.432.2737) or visit www.GEAppliances.com. In Canada, call 1.800.561.3344 or visit www.GEAppliances.ca.
IN THE COMMONWEALTH OF MASSACHUSETTS
- This product must be installed by a licensed plumber or gas fitter.
- When using ball type gas shut-off valves, they shall be the T-handle type.
- A flexible gas connector, when used, must not exceed 5 feet.
WARNING
FIRE OR EXPLOSION HAZARD
If the information in this manual is not followed exactly, a fire or explosion may result causing property damage, personal injury or death. Installation must be performed by a qualified installer.
Read these instructions completely and carefully.
Installation of this range must conform with local codes, or in the absence of local codes, with the National Fuel Gas Code, ANSI Z223.1/NFPA.54, latest edition. In Canada, installation must conform with the current Natural Gas Installation Code, CAN/CGA-B149.1 or the current Propane Installation Code, CAN/CGA-B149.2, and with local codes where applicable. This range has been design-certified by CSA International according to ANSI Z21.1, latest edition and Canadian Gas Association according to CAN/CGA-1.1 latest edition.
When installing a gas appliance the use of old flexible connectors can cause gas leaks and personal injury. Always use a NEW flexible connector.
Leak testing of the appliance shall be conducted according to the manufacturer instructions.
The range must be electrically grounded in accordance with local codes or, in the absence of local codes, in accordance with the National Electrical Code (ANSI/NFPA 70, latest edition). In Canada, electrical grounding must be in accordance with the current CSA C22.1 Canadian Electrical Code Part 1 and/or local codes. See Electrical Connections in this section.
Do not install this product with an air curtain hood or other range hood that operates by blowing air down on the cooktop. This airflow may interfere with operation of the gas burners resulting in fire or explosion hazard.
FOR YOUR SAFETY
WARNING

Tip-Over Hazard
- A child or adult can tip the range and be killed.
- Install the anti-tip bracket to the wall or floor.
- Engage the range to the anti-tip bracket by sliding the range back such that the foot is engaged.
- Re-engage the anti-tip bracket if the range is moved.
- Failure to do so can result in death or serious burns to children or adults.
If you did not receive an anti-tip bracket with your purchase, call 1.800.626.8774 to receive one at no cost. (In Canada, call 1.800.561.3344.) For installation instructions of the bracket, visit: www.GEAppliances.com.
(In Canada, www.GEAppliances.ca.)

WARNING
Before beginning the installation, switch power off at service panel and lock the service disconnecting means to prevent power from being switched on accidentally. When the service disconnecting means cannot be locked, securely fasten a prominent warning device, such as a tag, to the service panel.
TOOLS YOU WILL NEED

MATERIALS YOU MAY NEED
- Gas line shut-off valve
- Pipe joint sealant or UL-approved pipe thread tape with Teflon* that resists action of natural and propane gases
- Flexible metal appliance connector (1/2″ I.D.). A 5-foot length is recommended for ease of installation but other lengths are acceptable. Never use an old connector when installing a new range.
- Flare union adapter for connection to gas supply line (3/4 or 1/2″ NPT x 1/2″ I.D.)
- Flare union adapter for connection to pressure regulator on range (1/2″ NPT x 1/2″ I.D.)
- Liquid leak detector or soapy water.
*Teflon: Registered trademark of DuPont
BEFORE YOU BEGIN
IMPORTANT – Save these instructions for local inspector’s use.
IMPORTANT – Observe all governing codes and ordinances.
IMPORTANT – Remove all packing material and literature from oven before connecting gas and electrical supply to range.
IMPORTANT – To avoid damage to your cabinets, check with your builder or cabinet supplier to make sure that the materials used will not discolor, delaminate or sustain other damage. This oven has been designed in accordance with the requirements of UL and CSA International and complies with the maximum allowable wood cabinet temperatures of 194°F (90°C).
Note to Installer – Be sure to leave these instructions with consumer.
Note to consumer – Keep these instructions for future reference.
Servicer – The electrical diagram is in an envelope attached to the back of the range.
Proper installation is the responsibility of the installer.
Product failure due to improper installation is not covered under warranty.
Before installing your range on linoleum or any other synthetic floor covering, make sure the floor covering can withstand 180°F without shrinking, warping or discoloring. Do not install the range over carpeting unless a sheet of 1/4″ thick plywood or similar insulator is placed between the range and carpeting.

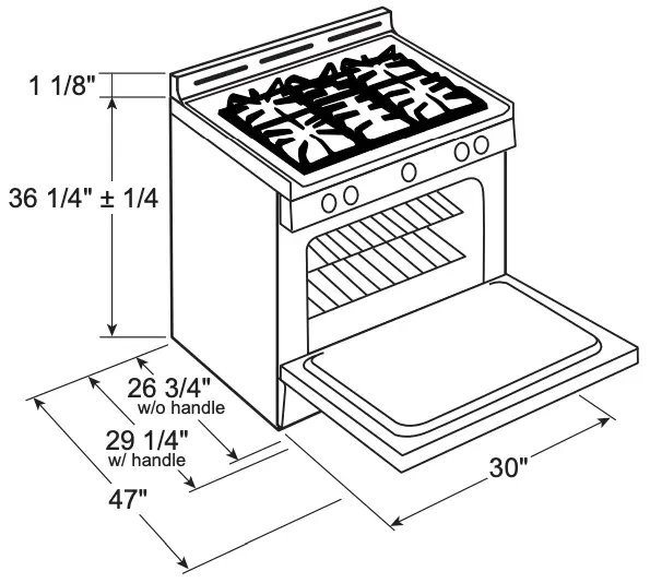
DIMENSIONS AND CLEARANCES
Provide adequate clearances between the range and adjacent combustible surfaces.
These dimensions must be met for safe use of your range.
Allow 30″ (76.2 cm) minimum clearance between burners and bottom of unprotected wood or metal cabinet. or allow a 24″ (61 cm) minimum when bottom of wood or metal cabinet is protected by no less than 1/4″ (6.4 mm) thick flame-retardant millboard covered with no less than No. 28 MSG sheet metal (.015″ [.38 mm] thick), .015″ (.38 mm) thick stainless steel. .025″ (0.64 mm) aluminum or .020″ (0.5 mm) copper.
Installation of a listed microwave oven or cooking appliance over the cooktop shall conform to the installation instructions packed with that appliance.
For island installation. maintain 2-1/2″ minimum from cutout to back edge of countertop and 3″ minimum from cutout to side edges of countertop.

For all installations, install the required rear trim to back of range with 4 screws provided.

GAS PIPE AND ELECTRICAL OUTLET LOCATIONS

CAUTION
To prevent drafts from affecting burner operation, seal all openings in floor under appliance and behind appliance wall.
CONVERTING TO PROPANE GAS (OR CONVERTING BACK TO NATURAL GAS FROM PROPANE)
This range leaves the factory set for use with natural gas. If you want to convert to propane gas, the conversion must be performed by a qualified propane gas installer.
The conversion orifices and instructions can be found on back of the range.
Keep these instructions and all orifices in case you want to convert back to natural gas.

INSTALLATION AT HIGH ALTITUDE
Over 6000ft, product configured for natural gas or propane requires installation of kit (WB28X29254 for natural gas and WB28X29255 for propane gas). Follow the instructions included with the kit.
GAS SUPPLY
WARNING
Fire Hazard: Do not use a flame to check for gas leaks.
WARNING
Explosion Hazard: Do not exceed 25 ft-lbs of torque when making gas line connections. Overtightening may crack the pressure regulator resulting in fire or explosion hazard.
Gas Pressure Regulator
You must use the gas pressure regulator supplied with this range. For proper operations the inlet pressure to the regulator should be as follows:
Natural Gas:
Minimum pressure: 6″ of Water Column
Maximum pressure: 13″ of Water Column
Propane Gas:
Minimum pressure: 11″ of Water Column
Maximum pressure: 13″ of Water Column
If you are not sure about the inlet pressure contact local gas supplier.
Shut off the main gas supply valve before disconnecting the old range and leave it off until the new hook-up has been completed. Don’t forget to relight the pilot on other gas appliances when you turn the gas back on.
Because hard piping restricts movement of the range, the use of a CSA International-certified flexible metal appliance connector is recommended unless local codes require a hard-piped connection.
If the hard piping method is used, you must carefully align the pipe; the range cannot be moved after the connection is made.
To prevent gas leaks, put pipe joint compound on, or wrap pipe thread tape with Teflon* around, all male (external) pipe threads.
A. Install a manual shut-off valve in the gas line in an easily accessed location outside of the range. Make sure everyone operating the range knows where and how to shut off the gas supply to the range.
B. Install male 1/2″ flare union adapter to the 1/2″ NPT internal thread at inlet of regulator. Use a backup wrench on the regulator fitting to avoid damage.
C. Install male 1/2″ or 3/4″ flare union adapter to the NPT internal thread of the manual shut-off valve, taking care to back-up the shut-off valve to keep it from turning.
D. Connect flexible metal appliance connector to the adapter on the range. Position range to permit connection at the shut-off valve.
E. When all connections have been made, make sure all range controls are in the off position and turn on the main gas supply valve. Use a liquid leak detector at all joints and connections to check for leaks in the system.
When using pressures greater than 1/2 psig to pressure test the gas supply system of the residence, disconnect the range and individual shut-off valve from the gas supply piping. When using pressures of 1/2 pig or less to pressure test the gas supply system, simply isolate the range from the gas supply system by closing the individual shut-off valve.
When checking for proper operation of the regulator, the inlet pressure must be at least 1″ greater than the operating (manifold) pressure as given on rating label of product.
*Teflon: Registered trademark of DuPont
CONNECTOR HOOKUP

Installer: Inform the consumer of the location of the gas shut-off valve.
ELECTRICAL CONNECTIONS
WARNING
Shock Hazard: This appliance must be properly grounded. Failure to do so can result in electric shock.
Electrical Requirements – 120-volt, 60 Hertz, properly grounded circuit protected by a 15-amp or 20-amp circuit breaker or time delay fuse. It is recommended that a separate circuit serving only this range be provided.
Note: Use of automatic, wireless, or wired external switches that shut off power to the appliance are not recommended for this product.
Grounding
The power cord of this appliance is equipped with a three-prong (grounding) plug which plugs into a standard three-prong grounding wall receptacle to minimize the possibility of electric shock hazard from this appliance.
The customer should have the wall receptacle and circuit checked by a qualified electrician to make sure the receptacle is properly grounded.
Where a standard two-prong wall receptacle is encountered, it is the personal responsibility and obligation of the customer to have it replaced with a properly grounded three-prong wall receptacle.
DO NOT, UNDER ANY CIRCUMSTANCES, CUT OR REMOVE THE THIRD (GROUND) PRONG FROM THE POWER CORD. DO NOT USE AN ADAPTER. DO NOT USE AN EXTENSION CORD.
Ground Fault Circuit Interrupters (GFCI’s) are not required or recommended for gas range receptacles. Performance of the range will not be affected if operated on a GFCI-protected circuit but occasional nuisance tripping of the GFCI breaker is possible.

SURFACE BURNERS
WARNING
Fire or Explosion Hazard: Do not operate the burner without all burner parts in place.
A. Burners – Place surface burners into corresponding positions on cooktop.
B. Caps – Place caps on proper size burner.
C. Grates – The left and right grates are interchangeable. Place the grates on the cooktop.


CHECK SURFACE BURNERS
Push and turn a knob to the LITE position. A clicking sound indicates proper operation of the ignition system. When lighting any burner, sparks will appear at all burners but gas flows from only the one selected. Once air is purged from the supply line, burner should light within 4 seconds. After burner lights, rotate the knob out of the LITE position. Try each burner in succession until all burners have been checked
Quality of Flames
Determine the quality of flames visually. Normal burner flames should look like (A) or (B).
(A) Soft blue flames – Normal for natural gas

(B) Yellow tips on outer cones – Normal for propane gas

Long, bright yellow flames are not normal. Normal flames may show signs of an orange tint when well heated or signs of flickering orange due to particles in the gas or air.
CHECK BAKE AND BROIL BURNERS
- Set Bake function to 350°F. Burner should light in 30 to 60 seconds.
- Set broil to Broil Hi. Burner should light in 30 to 60 seconds
INSTALL AND CHECK ANTI-TIP DEVICE
WARNING
Never completely remove the leveling leg as the range will not be secured to the anti-tip device properly.
Follow instructions supplied with ANTI-TIP bracket.

LEVEL THE RANGE
WARNING
Never completely remove the leveling leg as the range will not be secured to the anti-tip device properly.
A. Plug in the unit.
B. Measure the height of your countertop at the rear of the opening (X).
C. Adjust two rear leveling legs so that the rear of cooktop is at the same height or higher than the counter (Y).
D. Slide unit into place.
E. Install oven shelves in the oven and position the range where it will be installed.
F. Check for levelness by placing a spirit level on one of the oven shelves. Take two readings–with the level placed diagonally first in one direction and then the other.
G. Adjust front leveling legs until the range is level.
H. Look under the unit and verify that the rear leg is fully engaged with the anti-tip device. If not, remove the unit and adjust the height of the rear leg so that it is properly engaged.

WHEN ALL HOOKUPS ARE COMPLETED
Make sure all controls are left in the off position. Make sure the flow of combustion and ventilation air to the range is unobstructed.
Check that all packing materials and tape have been removed. This will include tape on metal panel under control knobs (if applicable), adhesive tape, wire ties, cardboard and protective plastic. Failure to remove these materials could result in damage to the appliance once the appliance has been turned on and surfaces have heated.
31-2000968 Rev. 0 09-21 GEA
JGSS61


















