
Installation Instructions
Electric Slide-In Ranges
BEFORE YOU BEGIN
Read these instructions completely and carefully.
- IMPORTANT — Save these instructions for the local inspector’s use.
- IMPORTANT — Observe all governing codes and ordinances.
- Note to Installer – Be sure to leave these instructions with the consumer.
- Note to the consumer – Keep these instructions for future reference.
- Skill level – Installation of this appliance requires a qualified installer or electrician.
- Proper installation is the responsibility of the installer.
- Product failure due to improper installation is not covered under warranty.
FOR YOUR SAFETY:
- A child or adult can tip the range and be killed.
- Install the anti-tip bracket to the wall or floor.
- Engage the range to the anti-tip bracket by sliding the range back such that the foot is engaged.
- Re-engage the anti-tip bracket if the range is moved.
- Failure to do so can result in death or serious burns to children or adults.
If you did not receive an anti-tip bracket with your purchase, call 1.800.626.8774 to receive one at no cost. (In Canada, call 1.800.561.3344.) For installation instructions of the bracket, visit GEAppliances.com.
(In Canada, GEAppliances.ca.)
WARNING
Before beginning the installation, switch power off at the service panel and lock the service disconnecting means to prevent power from being switched on accidentally.
When the service disconnecting means cannot be locked, securely fasten a prominent warning device, such as a tag, to the service panel.
MATERIALS YOU MAY NEED
![]() | |
| Squeeze Connector (For Conduit Installations Only) | (UL Listed 40 AMP) 4-Wire Cord 4’ long OR 3-Wire Cord 4’ long |
TOOLS YOU WILL NEED
| Drill with 1/8” Bit | Tin Snips |
| Safety Glasses | Tape Measure |
| Adjustable Wrench | Pliers |
| Level | 1/4” Nut Driver |
REMOVE PACKAGING MATERIALS:
Failure to remove packaging materials could result in damage to the appliance. Remove all packing parts from the oven, racks, heating elements, and drawer. Also, remove protective film and labels on the outer door, cooktop, and control panel.
Consider recycling options for your appliance packaging material.
PREPARE THE OPENING (FOR INDOOR USE ONLY)
See illustrations for all rough-in and spacing dimensions. The range may be placed with 0” clearance (flush) at the back wall and sidewalls of the cabinet.
NOTE: Use a 4’ power cord to prevent interference with the storage drawer. Power cords 4 1/2 ’ to 6’ long may have to be dressed to allow for proper drawer closing.
MINIMUM DIMENSIONS BETWEEN COOKTOP, WALLS, AND ABOVE THE COOKTOP:
A. Make sure the wall covering, countertop, flooring, and cabinets around the range can withstand the heat (up to 200°F) generated by the range. 0” to cabinets below cooktop and at the range back.
B. Allow 30” minimum clearance between surface units and bottom of an unprotected wood or metal cabinet, or allow a 24” minimum when the bottom of wood or metal cabinet is protected by no less than 1/4” thick flame retardant millboard covered with not less than No. 28 MSG sheet metal, (.015”), .015” thick stainless steel, .024” aluminum or .020” copper.
C. This appliance has been approved for 0” spacing to adjacent surfaces above the cooktop. However, a 6” minimum spacing to surfaces less than 15” above the cooktop and adjacent cabinet is recommended to reduce exposure to steam, grease splatter, and heat.
To reduce the risk of burns or fire when reaching over hot surface elements, cabinet storage space above the cooktop should be avoided. If cabinet storage space is to be provided above the cooktop, the risk can be reduced by installing a range hood that projects at least 5” beyond the front of the cabinets. Cabinets installed above the cooktop must be no deeper than 16”.
ELECTRICAL REQUIREMENTS
WARNING
This appliance must be properly grounded.
WARNING
All new constructions, mobile homes, recreational vehicles, and installations where local codes do not allow grounding through neutral, require a 4-conductor UL-listed range cord.
WARNING
To prevent fire or shock, do not use an extension cord with this appliance.
WARNING
To prevent shock, remove the house fuse or open the circuit breaker before beginning installation.
We recommend you have the electrical wiring and hookup of your range connected by a qualified electrician. After installation, have the electrician show you how to disconnect power from the range.
You must use a single-phase, 120/208 VAC or 120/240 VAC, 60-hertz electrical system. If you connect to aluminum wiring, properly installed connectors approved for use with aluminum wiring must be used.
Effective January 1, 1996, the National Electrical Code requires that new construction (not existing) utilize a 4-conductor connection to an electric range. When installing an electric range in new construction, mobile home, recreational vehicle, or an area where local codes prohibit grounding through the neutral conductor, refer to the section on four-conductor branch circuit connections.
Check with your local utilities for electrical codes which apply in your area. Failure to wire your oven according to governing codes could result in a hazardous condition. If there are no local codes, your oven must be wired and fused to meet the National Electrical Code, NFPA No. 70 – latest edition, available from the National Fire Protection Association.
This appliance must be supplied with the proper voltage and frequency and connected to an individual, properly grounded, 40 amp (minimum) branch circuit protected by a circuit breaker or time-delay fuse.
Use only a 3-conductor or a 4-conductor UL-listed range cord. These cords may be provided with ring terminals on wire and a strain relief device.
A range cord rated at 40 amps with 125/250 minimum volt range is required. A 50 amp range cord is not recommended but if used, it should be marked for use with nominal 1 3 8 ” diameter connection openings. Care should be taken to center the cable and strain relief within the knockout hole to keep the edge from damaging the cable.
The rating plate is located on the oven frame or on the side of the drawer frame.
NOTE: Use of automatic, wireless, or wired external switches that shut off power to the appliances, are not recommended for this product.
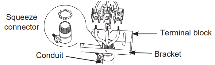
POWER CORD AND CONDUIT INSTALLATION
A Remove wire cover (on the back of range) by removing screws using a 1/4” nut driver. You can access the terminal block by either removing a terminal block cover (on some models) or the wire cover. Do not discard these screws.
B For power cord and 1” conduit only, remove the knockout ring (1 3 8 ”) located on bracket directly below the terminal block. To remove the knockout, use a pair of pliers to bend the knockout ring away from the bracket and twist until the ring is removed.
C For power cord installations only (see the next step if using a conduit), assemble the strain relief in the hole. Insert the power cord through the strain relief and tighten. Allow enough slack to easily attach the cord terminals to the terminal block. If tabs are present at the end of the winged strain relief, they can be removed for a better fit.
NOTE: Do not install the power cord without a strain relief. The strain relief bracket MUST be installed before reinstalling the rearranged wiring cover.
D For 3/4” conduit installations only, purchase a squeeze connector matching the diameter of your conduit and assemble it in the hole. Insert the conduit through the squeeze connector and tighten. Allow enough slack to easily attach the wires to the terminal block.
NOTE: Do not install the conduit without a squeeze connector. The squeeze connector MUST be installed before reinstalling the rear terminal block.

3-WIRE INSTALLATION (GROUND IS THROUGH THE NEUTRAL WIRE)
WARNING
Shock Hazard
The neutral wire and ground strap must be connected as shown below for the range to be properly grounded. Do not remove the ground strap.
Failure to follow this instruction may result in a potential shock hazard.
WARNING
Fire hazard
Terminal block screws must be securely tightened.
Failure to do so may result in a potential fire hazard.
FOR POWER CORD INSTALLATION
A. Remove the 3 lower screws from the terminal block. Do not loosen the upper screws.
B. Do not cut or remove the ground strap.
C. Insert the 3 screws through each power cord terminal ring and back into the terminal block. Be certain the white wire is in the center. Securely tighten each screw (35 to 50 in-lbs.)
FOR CONDUIT INSTALLATION
A. Loosen the 3 lower screws on the terminal block. Do not loosen the upper screws.
B. Do not cut or remove the ground strap.
C. Insert the bare wire tip (insulation stripped 5/8”) into the bottom terminal block openings. Be certain the white wire is in the center. On certain models, the wire must be inserted through an opening in the ground strap. Securely tighten each screw onto each wire (35 to 50 in-lbs.).
D. Reinstall terminal block cover.
NOTE: Aluminum building wire may be used but it must be rated for the correct amperage and voltage.
4-WIRE INSTALLATION (SEPARATE GROUND WIRE)
WARNING
The neutral wire of
the supply circuit must be connected to the neutral terminal located in the lower center of the terminal block. The power leads must be connected to the lower left and the lower right terminals of the terminal block. The grounding lead must be connected to the frame of the range with the ground plate and the green ground screw.
FOR POWER CORD INSTALLATION
A. Remove the 3 lower screws from the terminal block. Do not loosen the upper screws.
B. Remove the ground screw and ground plate and retain them.
C. Cut the ground strap below the terminal block and discard the lower section.
D. Insert the ground screw through the ground plate (removed earlier) and back into the range frame. Tighten securely, but do not over-tighten (15 to 20 in-lbs.)
E. Insert the 3 terminal screws through each power cord terminal ring and back into the terminal block. Be certain the white wire is in the center. Securely tighten each screw (35 to 50 in-lbs.
F. Reinstall terminal block cover.
FOR CONDUIT INSTALLATION
A. Remove the 3 lower screws from the terminal block. Do not loosen the upper screws.
B. Remove the ground screw and ground plate and retain them.
C. Cut the ground strap below the terminal block and discard the lower section.
D. Insert the bare ground bare wire tip (insulation stripped 5/8”) between the range frame and the ground plate (removed earlier) and secure it in place with the ground screw. Tighten securely, but do not over-tighten (15 to 20 in-lbs).
E. Insert the wire tips (insulation stripped 5/8”) into the bottom terminal block openings. Be certain the white wire is in the center. On certain models, the wire must be inserted through an opening in the ground strap. Securely tighten each screw onto each wire (35 to 50 in-lbs.)
F. Reinstall terminal block cover.
NOTE: Aluminum building wire may be used but it must be rated for the correct amperage and voltage.
ANTI-TIP DEVICE INSTALLATION
WARNING
Tip-Over Hazard
![]()
- A child or adult can tip the range and be killed.
- Install the anti-tip bracket to the wall or floor.
- Engage the range to the anti-tip bracket by sliding the range back such that the foot is engaged.
- Re-engage the anti-tip bracket if the range is moved.
- Failure to do so can result in death or serious burns to children or adults.
To reduce the risk of tipping the range, the range must be secured by a properly installed anti-tip bracket. See installation instructions shipped with the bracket for complete details before attempting to install.
To check if the bracket is installed and engaged properly, look underneath the range to see that the rear leveling leg is engaged in the bracket. On some models, the storage drawer or kick panel can be removed for easier inspection. If visual inspection is not possible, slide the range forward, confirm the anti-tip bracket is securely attached to the floor or wall, and slide the range back so the leveling leg is under the anti-tip bracket. If the range is pulled from the wall for any reason, always repeat this procedure to verify the range is properly secured by the anti-tip bracket. Never completely remove the leveling legs or the range will not be secured to the anti-tip bracket.
LEVEL THE RANGE
WARNING
Never completely remove the leveling leg as the range will not be secured to the anti-tip device properly.
A. Plug in the unit.
B. Measure the height of your countertop at the rear of the opening (X).
C. Adjust two rear leveling legs so that the rear of the cooktop is at the same height or higher than the counter (Y).
D. Slide unit into place.
E. Install oven shelves in the oven and position the range where it will be installed.
F. Check for levelness by placing a spirit level on one of the oven shelves. Take two readings—with the level placed diagonally first in one direction and then the other.
G. Adjust front leveling legs until the range is level.
H. Look under the unit and verify that the rear leg is fully engaged with the anti-tip device. If not, remove the unit and adjust the height of the rear leg so that it is properly engaged.
NOTE: Cooktop must be at or above the counter.
FINAL INSTALLATION CHECKLIST
- Check to make sure the circuit breaker is closed (RESET) or the circuit fuses are replaced.
- Be sure power is in service to the building.
- Check that all packing materials and tape have been removed. This will include tape on the metal panel under control knobs (if applicable), adhesive tape, wire ties, cardboard, and protective plastic. Failure to remove these materials could result in damage to the appliance once the appliance has been turned on and surfaces have heated.
- Check that the door and drawer are parallel to each other and that both operate smoothly. If they do not, see the Owner’s Manual for proper replacement.
- Check to make sure that the rear leveling leg is fully inserted into the Anti-Tip bracket and that the bracket is securely installed.
OPERATION CHECKLIST
- Check that the oven control operates properly. If the oven control does not operate properly, recheck the wiring connections.
- Be sure all range controls are in the OFF position before leaving the range.
INSTALLATION INSTRUCTION
31-2000948 07-21 GEA
JBS10, JBS30, JBS45, RB525, RB526, RBS160, RBS330,
RBS360, JBS160, JBS360, JBS460, JB255, JB256,
JB450, JB480, VBS160, and XBS360


















