NQ100 Henry Stick Vacuum Cleaner
Original Instructions
NQ100 Henry Stick Vacuum Cleaner
CAUTION, Read instructions before using the machine
KEEP FOR FUTURE REFERENCE
https://c1.thirdlight.com/file/24/w2X2KIYw20nLNzjw2AozwcUj4B1/quick_O.O.B.mp4
https://numqr.com/915720/00000000
Box Contents
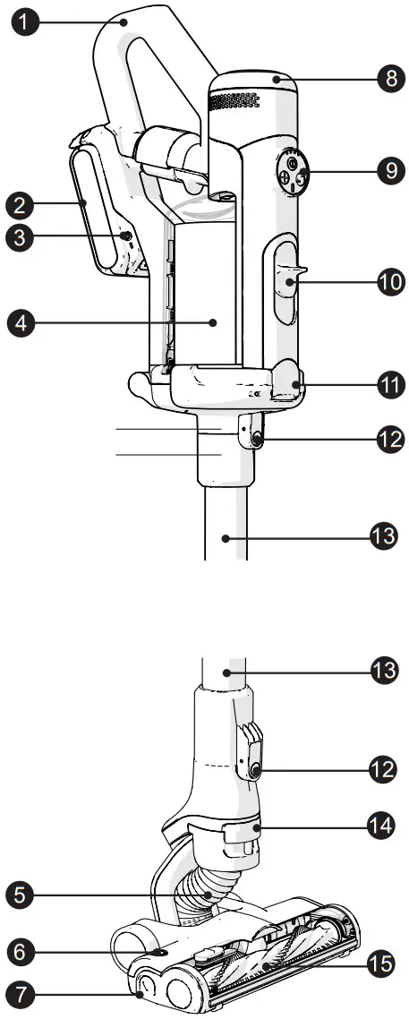
Main Assembly
Accessory Fitting
Battery Fitting
Battery Removal
Control Panel

Scent Capsule Fitting
Floor Tool Air Bleed Control
Charger Wall Mounting
![]() | ![]() |
| Use correct fixings for your wall type, which is suitable for the weight of the machine (3.2kg). The use of adhesives is not considered a reliable means of fixing. | Routing the charging cable |
Accessory Storage
Disposable Pod Emptying
Disposable Pod Fitting
Extension Handle Fitting / Removal

Machine Charging
Floortool Hose Cleaning / Blockage Removal
Brush Roller Removal & Cleaning
Machine data
| Model | Voltage | Protection class | Weight (Ready to work) See Fig (A) | Sound pressure (LpA) Uncertainty (KpA) | *Run Time |
| NQ.100 | 25.2 V | Class III | 3.2 kg | 77 dB (A) 0.5 dB | 70 min (Low — Brush OFF) 55 min (Low — Brush ON) 16 min (High — Brush OFF) 14 min (High — Brush ON) |
| Pod Capacity | *Charging Times | Rated Power | Hand / Arm Vibration | Dimensions LxWxH | |
| 1 L | 150 mins to 100% | 300W | ah 5 2.5 m/s2 | 270 mm x 240 mm x 1220 mm | |
| *Run and Recharge times may vary dependent on ambient temperature and expected battery ageing. | |||||

Trouble Shooting
| No. | Problem | Possible Reason | Solution |
| 1 | Large RED light on control panel is flashing | There may be a blockage in the system | Check the floorhead hose, wands, connections and accessories, remove any blockages, page 11 |
| The filter pod may be full | If there are no blockages in the system, eject and replace the filter pod, page 8 | ||
| 2 | Machine is difficult to push on carpet | The carpet pile is very deep or dense and can cause high pressure inside the floor head | Open the air valve on top of the floorhead to reduce pressure, page 6 |
| Switch the machine from boost to normal mode, page 5 | |||
| 3 | Floor brush cuts out on rugs or carpet | The carpet or rug pile is very deep and can cause high pressure on the brush, the safety system cuts power to the brush | Switch off floor brush from the control panel, page 5 |
| Switch the machine from boost to normal mode, page 5 | |||
| 4 | Vacuum lifts area rugs | The vacuum suction may be too high and/or the brush roll is picking up the rug | Switch the machine from boost to normal mode and switch off the brush roll, page 5 |
| Adjust floor Tool Air Bleed Control page 6 | |||
| 5 | Floor head is not picking up hair or fibres | The floor brush has excessive hair wrapped around it | Remove the floor brush from the floor head and clean, page 12 |
| There is a partial blockage in the floor head or wands | Check the floorhead hose and wands, remove any blockages, page 11/12 | ||
| 6 | No power at rotating floor brush | The brush head button is switched off | Switch the machine off and then back on again, page 5 |
| 7 | Machine will not power up after prolonged use | The machine is equipped with a motor-protective thermostat as well as battery extreme temperatures protections, the system temperatures are outside of working parameters | Allow the machine and the battery to cool down |
About your machine
| 1 | Model |
| 2 | Machine yr/wk Serial Number |
| 3 | Weight |
| 4 | Approval Marks |
| 5 | Voltage / Direct Current / Rated Power |
| 6 | Company Name & Address |
| 7 | Use Lithium-Ion Battery Only |
| 8 | WEEE Logo |
| 9 | Manufacturer |
Floor Tool Label
| 1 | Model |
| 2 | Weight |
| 3 | Voltage / Direct Current / Rated Power |
| 4 | Approval Marks |
| 5 | Manufacturer |
Battery Label
| 1 | Company Name & Address |
| 2 | Voltage / Direct Current / Battery Capacity |
| 3 | Model |
| 4 | Approval Marks |
| 5 | WEEE Logo |
| 6 | Caution / Attention |
| 7 | Manufacturer |

Maintenance
Daily
Keep the machine and all parts clean, including hoses and tubes.
Ensure the fi lter pod is fi tted.
Regularly examine the charger.
Check filter pod frequently and renew if required.
Weekly – as daily and:
Check for any worn or damaged parts and replace immediately.
Batteries
Always recharge the batteries after use.
WEEE (Waste, Electrical and Electronic Equipment)
Accessories and packaging should be sorted for environmentally-friendly recycling.
Only for UK/EU countries.
Do not dispose into household waste.
According to the European Directive 2012/19/EU on waste electrical electronic equipment and its incorporation into national law.
Items that are no longer suitable for use must be separated, collected and sent for recovery in an environmentally-friendly manner.
PPE (Personal protective equipment) that may be required for certain operations.
![]() | ![]() | ![]() | ![]() | ![]() |
| Ear Protection | Safety Footwear | Head Protection | Safety Gloves | |
![]() | ![]() | ![]() | ![]() | |
| Dust /Allergens Protection | Eye Protection | Protective Clothing | Hi-Vis Jacket | Caution Wet Floor Sign |
NOTE: A risk assessment should be conducted to determine which PPE should be worn.
Failure to rectify the problem or in the event of a breakdown contact your Numatic dealer or the Numatic Technical helpline +44 (0)1460 269268
Information for Dry use Battery Vacuum cleaners
Warning
Read the instruction manual before using the machine.
Operators shall be adequately instructed on the use of these machines, as with all electrical equipment, care and attention must be exercised at all times during use, you must also make certain that routine and preventative maintenance is carried out periodically to ensure safe operation.
Failure to carry out maintenance as necessary, including the replacement of parts to the correct standard could render this equipment unsafe and the manufacturer can accept no responsibility in this respect.
This machine is for DRY USE only.
When charging the appliance make sure that the charging lead is safely secured and the jack is properly inserted into the battery.
Keep hair, loose clothing, fi ngers and all parts of body away from openings and moving parts.
You must remove the battery from the machine BEFORE cleaning or maintenance and when replacing parts or converting the machine to another function.
This appliance is intended to be assembled, cleaned and maintained by an adult.
This machine is not suitable for the collection of biological hazards, hazardous or explosive dusts.
Contact your local distributor if you require a machine capable of performing these tasks.
This machine is not intended for use by persons (including children) with reduced physical, sensory or mental capabilities, or lack of experience and knowledge.
Keep scent capsules away from children, as they are harmful if swallowed.
Extra care must be taken when cleaning on stairs.
Children should be supervised to ensure that they do not play with the appliance.
This machine is not a toy; children shall not play with this machine.
Caution
This machine must not be stored outside, or used in wet environments, or to collect wet materials.
The vacuum cleaner should be stored in a dry place and is for indoor use only.
You must ensure that the machine is suitable for the material being collected.
Note:
The primary use for this machine is for domestic, as well as commercial settings, for example in homes, hotels, schools, hospitals, factories, shops and offi ces.
This vacuum cleaner is fi tted with a thermal protection device.
If the vacuum cleaner has a blockage, remove the battery and inspect the fl oor tool, tubes and hose for debris.
If the floor tool, tubes and hose are clear, replace the filter pod.
The vacuum cleaner should be inspected after use for damage.
When moving from one place to another, consider the weight of the machine.
Do
Keep your machine clean including hoses and tubes.
Change the fi lter pod frequently.
Keep hoses and tubes clear.
Replace any worn or damaged parts immediately.
Use OEM specifi ed Numatic Scent Capsules only as shown in this manual.
Don’t
Use to suck up hot ashes or lighted cigarette ends.
Use steam cleaners or pressure washers to clean the machine or use in the rain.
Immerse in water for cleaning.
Attempt machine maintenance or cleaning unless battery has been removed from the machine.
Under any circumstances place foreign objects i.e. air fresheners, air freshener capsules or scented beads or any other object not originally supplied as part of the machine or OEM accessory pack, into the machine.
Doing so can be dangerous and risks damage to the machine and may also invalidate the machine warranty.
Battery Information
NOTE:- It is recommended that a battery is fully charged before fi rst use.
Important Warnings – Charger
Read all these warnings before using the charger.
- CAUTION! Charge only Numatic Lithium-Ion batteries, other types of batteries may burst causing personal injury and damage.
- Do not charge damaged batteries.
- Do only charge dry batteries.
- Check the charger cable regularly for any sign of damage. If the charger cable is damaged the charger should be replaced, by an original NUMATIC INTERNATIONAL charger available from the manufacturer or service agent.
- Do not use damaged chargers.
- Protect the charger against moisture and store it in a dry place.
- Do not use the charger if it is wet or handle the charger with wet hands.
- The mains voltage available must correspond to the voltage stated on the rating plate of the charger.
- The no load voltage of the charger is 30 V.
- Do not operate charger in explosive environment.
- Do not carry the charger by holding the charger cord.
- Do not unplug by pulling on cord. To unplug, grasp the charger, not the cord.
- Do not cover the charger whilst charging.
- Do not open the charger. Repairs shall be done only by authorised personnel.
Warning:
The battery included in this product must only be charged by the Numatic Charger supplied with the product under NO circumstances should an alternative non Numatic charger be used as there is risk severe damage and fi re could result. Only use genuine Numatic parts.
Instructions for Use – Charging Batteries
The charger is capable of operating at diff erent mains voltages and frequencies without user adjustment.
Ensure the charger jack plug is fully inserted into the the battery. (see page 10)
If the charger is damaged or does not charge anymore, do not use the charger and contact your supplier.
Make sure charger replacements are a genuine Numatic service part.
Health Hazards (Acute & Chronic).
The chemicals used in the battery are in a sealed container.
Risk of exposure only occurs if the battery is abused or damaged.
Contact of electrolyte and lithium with skin and eyes should be avoided.
Signs & Symptoms of Exposure.
A damaged or leaking battery can cause chemical burns upon contact.
Such situation might only occurred when the battery cell is opened or damaged.
Important Warnings – Batteries
Read all the warnings before using the battery.
This cleaner uses Numatic Lithium-Ion batteries. Used batteries should be disposed of safely and placed in a sealed plastic bag and then handled according to all locally approved precautions and environmental regulations.
a) Do not dismantle, open or shred batteries.
b) Do not expose batteries to heat or fi re. Avoid storage in direct sunlight.
c) Do not short-circuit a battery. Do not store batteries haphazardly in a box or drawer where they may short-circuit each other or be short circuited by other metal objects.
d) Do not remove a battery from its original packaging until required for use.
e) Do not subject batteries to mechanical shock.
f) In the event of battery leaking, do not allow the liquid to come in contact with the skin or eyes and avoid inhaling fumes. If contact has been made, wash the aff ected area with copious amounts of water and seek medical advice.
g) Do not use any charger other than that specifi cally provided for use with the appliance.
h) Do not use any battery which is not designed for use with the appliance.
i) Use only original NUMATIC batteries, when replacement batteries are required.
j) Keep batteries clean and dry.
k) Do not leave a battery on prolonged charge when not in use.
l) After extended periods of storage, it may be necessary to charge and discharge the batteries several times to obtain maximum performance.
m) Retain the original appliance literature for future reference.
n) When possible, remove the battery from the equipment when not in use.
o) Do not immerse in any liquid.
p) Do not charge damaged batteries.
q) If the batteries are leaking, return batteries to a disposal plant or a similar local facility.
r) The batteries must be removed from the appliance before the appliance is scrapped.
s) If the appliance is to be stored unused for a long period, the batteries should be removed.
The battery is equipped with electronic thermal protection, refer to the Temperature and Humidity Range Table below for recommended operating conditions.
Temperature and Humidity Range Table
| Storing | +5 … +35°C |
| Discharge | +5 … +35°C |
| Charge | +5 … +35°C |
| Shipment | -20 … +60°C |
| Humidity | 25 – 85% RH no condensation |
| Long term storage | |
| Humidity | ≤ 50% RH no condensation |
In case battery is subject to environmental conditions outside the above parameters user must allow at least 3 hours for battery to acclimatise at room temperature before attempting to operate.
If the battery is found to be faulty at any time, contact Numatic International, or World Wide Lithium-Ion Battery Technical Helpline +1-703-741-5970
Care and Disposal of Li Ion Batteries
DEFECTIVE BATTERIES
ATTENTION ![]()
Please follow all safety guidelines set out.
A defective battery should not be stored inside buildings on any account.
- If a customer wishes to return a battery to a supplier, then collection of the battery must be arranged by the supplier, however, Faulty batteries must not be returned through the postal system or by courier.
- If on return to a supplier, OR at a customer base, a suspected defective battery shows any signs of impact damage, distortion, blistering, loose parts or leakage then on no account should it be off ered for condition checking. It must be considered defective and the procedures described followed.
- If, on return to a supplier, OR at a customer base, a suspected defective battery, that shows no signs of impact damage, distortion, blistering, loose parts or leakage, may be off ered for condition checking with an appropriate battery condition checking device operated by a competent person.
- If on checking the battery is found to be operational then a single recharge cycle under observation can be attempted with the appropriate Numatic charger.
- If the battery recharges correctly on this single recharge cycle then it can be deemed a good battery.
- If the battery fails to recharge correctly on this single recharge cycle then it must be deemed a defective battery and the procedures followed.
- On no account must any further attempt to recharge be made.
- A defective battery should not be stored inside buildings on any account.
- The defective discharged battery can then be stored in a locked battery waste container which should be plastic or plastic lined and placed away from buildings and clearly signed as a defective battery container with appropriate warnings.
The battery is to be disposed of safely and in accordance with all locally approved precautions and environmental regulations.
First Aid Measures
If exposed to any of the Chemicals mentioned in the Hazards section please follow the procedures below:
Eyes.
Flush eyes with plenty of water for at least 15 minutes, occasionally lifting the upper and lower eyelid.
Seek medical attention.
Skin.
Remove contaminated clothing and rinse skin with plenty of water or shower for 15 minutes.
Seek medical attention.
Inhalation.
Vacate from site of exposure to fresh air immediately. Use oxygen if available.
Ingestion.
Give at least two glasses of milk or water. Induce vomiting, unless patient is unconscious.
Seek medical attention.
Note:
Inhalation, skin contact and eye contact are possible if the battery is damaged.
Exposure to internal contents, the corrosive fumes will be very irritating to skin, eyes and mucous membranes.
Overexposure can cause symptoms of non-fi broid lung injury and membrane irritation.
Schematic diagram
Replacement parts
| Spares and Accessories | |
| 915170 | Battery Pack Assembly (25.2 V) |
| 915242 | Battery Charger – UK Plug |
| 914744 | Numatic Floor Tool Graphite |
| 914592 | Pack of 10 Pods |
| 914593 | Pack of 10 Scent Capsules |
Notes:
Numatic Quick
Numatic International
WARRANTY
Numatic International Limited grants to the original purchaser a warranty on the terms and for the period set out below:
Light Commercial Use………………………………..1 year
Note:
This warranty expressly excludes consumable parts that are considered replaceable from time to time during the normal working life of the machine.
Using non Henry or Numatic Pods can be detrimental to both machine performance and life and may invalidate the Warranty.
Failure to follow the relevant equipment Instruction Manual and Battery Leaflet or use the correct Numatic or Henry charger will void your warranty.
A. The warranty period commences from the date the goods are purchased.
B. All warranty claims must be processed through the Dealer from whom the equipment was purchased. The Dealer will co-operate with the purchaser throughout the warranty claims procedure and will arrange and necessary repairs using genuine Numatic parts.
C. If the original Dealer is no longer able to fulfil his obligations please contact Numatic International Limited with full details of the claim and proof of purchase so that this may be processed without delay.
D. Any warranty claim can only relate to the specific part that is proven to be at fault and for which a replacement will be supplied but cannot be extended to constitute a claim against the complete machine.
E. Numatic International will supply the Dealer with any warranty parts required, subject to the claim being validated, after return of the faulty items in accordance with Numatic International Limited’s General Conditions of Sale.
F. Claims will not be accepted if they are the result of fair wear and tear, misuse or abuse of any kind, or if they arise from failure to operate the equipment in accordance with its Instruction Manual and/or Battery Leaflet.
G. No replacement will be given unless the appropriate evidence of the validity of the claim has been provided to the satisfaction of Numatic International Limited.
H. Numatic International Limited reserves the right to charge for any unnecessary work carried out as a result of an invalid claim.
I. No variation to this warranty may be made or implied by any member of Numatic International Limited or its Dealers unless such variation is in writing and properly authorised by the Company.
Numatic International Limited, Chard, Somerset, TA20 2GB
Telephone 01460 68600 Fax: 01460 68458
© Numatic International Limited
Notes: —
| UKCA Declaration of Conformity | |
| Manufacturer: | Numatic International Limited Chard Somerset TA20 2GB www.numatic.co.uk ![]() |
| Product: | HEN, HTY, NQ |
| Description: | Vacuum Cleaner — Commercial — Dry |
| We, Numatic hereby declare under our sole responsibility, that the above-mentioned product(s) is/are in conformity with the following directives and standards. | |
| S.I. 2008: 1597 | Supply of Machinery Regulations | EN60335-1:2012 + AC:2014 + A11:2014 + A13:2017 EN60335-2-69:2012 EN62233:2008 |
| S.I. 2016: 1091 | EMC Regulations | EN55014-1:2017 + A11:2020 EN55014-2:1997 + A1:2001 + A2:2008EN61000-3-2:2014 EN61000-3-3:2013 |
| S.I. 2012: 3032 | RoHS Regulations |
Authorised Signatory: Mr. Matthew Coles
Signed:
Date: 29th Apr 2022
Position: Head of Technology
Numatic International Limited,
Chard,
Somerset, TA20 2GB, UK
DEC-088 V1.0
Declaration of Conformity
| Manufacturer: | Numatic International Limited Chard Somerset TA20 2GB www.numatic.co.uk ![]() |
| Product: | HEN, HTY, NQ |
| Description: | Vacuum Cleaner – Commercial – Dry |
We, Numatic hereby declare under our sole responsibility, that the above- mentioned product(s) is/are in conformity with the following directives and standards.
| 2006/42/EC | Machinery Directive | EN60335-1:2012 + AC:2014 + A11:2014 + A13:2017 EN60335-2-69:2012 EN62233:2008 |
| 2014/30/EU | EMC Directive | EN55014-1:2017 + A11:2020 EN55014-2:1997 + A1:2001 + A2:2008 EN61000-3-2:2014 EN61000-3-3:2013 |
| 2011/65/EU | RoHS Directive |
Authorised Signatory: Mr. Matthew Coles
Signed:
Date: 29th Apr 2022
Position: Head of Technology
Numatic International Limited
Chard,
Somerset, TA20 2GB, UK
DEC-088 V1.0
numatic.com
Numatic International Limited.
Chard, Somerset TA20 2GB ENGLAND
Tel: 01460 68600
www.numatic.co.uk
Specifi cation subject to change without prior notice www.numatic.com
© Numatic International Limited
915252 01/23 (A04)
References
Home - Numatic International
Pålidelige, kraftfulde og bæredygtige rengøringskoncepter | Numatic International Danmark
Zuverlässige, leistungsstarke und nachhaltige Reinigungskonzepte | Numatic International Schweiz AG
Home - Numatic International
Commercial Start Page
Home - Numatic International
Zuverlässige, leistungsstarke und nachhaltige Reinigungskonzepte | Numatic Deutschland
Accueil - Numatic International
Numatic



























