TINECO PWRHERO 11 Series Stick Vacuum Cleaner

PWRHERO 11 SERIES Stick Vacuum Cleaner
Product Overview
The PWRHERO 11 SERIES is a stick vacuum cleaner designed for household use. It is equipped with a powerful motor that provides efficient cleaning of hard floors and carpets. It has a dustbin capacity of 0.6L and takes 4-5 hours to fully charge. The vacuum cleaner has a trigger lock, mode switch button, and a range of accessories for optimum cleaning performance.
Specifications
- Product: PWRHERO 11 Series
- Voltage: 21.6V
- Rated Power: 450W
- Dustbin Capacity: 0.6L
- Charging Time (One battery): 4-5 hrs
- AC Input: 100-240V~
Accessories
- Full-size LED multi-tasker power brush – Ideal for both hard floors and carpets. Very effective for dislodging dirt embedded in the carpet.
Product Usage Instructions
- Assemble the vacuum cleaner by following the instructions provided in the manual.
- Ensure that the vacuum cleaner is fully charged before use.
- Select the appropriate accessory for the surface you want to clean. Attach the accessory to the vacuum cleaner.
- Turn on the vacuum cleaner by pressing the trigger button. Use the mode switch button to select the desired suction power.
- Move the vacuum cleaner over the surface you want to clean. Ensure that you cover the entire surface to remove all dirt and debris.
- Once you have finished cleaning, turn off the vacuum cleaner by releasing the trigger button.
- Empty the dustbin by pressing the dust empty release button located on the vacuum cleaner.
- Clean the filter regularly to maintain optimum suction power.
Refer to the maintenance section of the manual for detailed instructions on how to clean the filter.
Troubleshooting
If you encounter any issues while using the PWRHERO 11 SERIES stick vacuum cleaner, refer to the troubleshooting section of the manual. If the issue persists, contact Tineco customer support for assistance.
IMPORTANT SAFETY INSTRUCTIONS
SAVE THESE INSTRUCTIONS
Household use only.
When using an electrical appliance, basic precautions should always be followed, including the following:
READ ALL INSTRUCTIONS BEFORE USING (THIS APPLIANCE). Failure to follow the warnings and instructions may result in electric shock, fire and/or serious injury.
WARNING – To reduce the risk of fire, electric shock, or injury:
- This appliance can be used by children aged from 8 years and above and persons with reduced physical, sensory or mental capabilities or lack of experience and knowledge if they have been given supervision or instruction concerning use of the appliance in a safe way and understand the hazards involved. Children should not play with the appliance. Cleaning and user maintenance shall not be performed by children without supervision.
- The appliance is not to be used by persons (including children) with reduced physical, sensory or mental capabilities, or lack of experience and knowledge, unless they have been given supervision or instruction.
- For INDOOR use ONLY. Do not use the appliance outdoors, nor in commercial or industrial environments. Do not use the appliance on wet surfaces or surfaces with standing water.
- Do not allow to be used as a toy. Close attention is necessary when used by or near children, pets or plants.
- Use only as described in this manual. Use only manufacturer’s recommended attachments.
- Do not use with a damaged cord or plug. If appliance has been dropped, damaged, left outdoors, dropped into water, or is not working as it should, return it to a service center.
- Do not handle charger, including charger plug, and charger terminals with wet hands.
- Do not put any object into openings. Do not use with any openings blocked; keep free of dust, lint, hair, and anything that may reduce air flow.
- Keep hair, loose clothing, fingers, and all parts of your body away from openings and moving parts.
- Use extra care when cleaning on stairs.
- Do not use to pick up flammable or combustible liquids, such as gasoline, or use in areas where they may be present.
- Do not pick up anything that is burning or smoking, such as cigarettes, matches, or hot ashes.
- Do not use without a filter.
- Prevent unintentional activation. Ensure the switch is in the off position before connecting to the battery pack, picking up or carrying the appliance. Carrying the appliance with your finger on the switch or powering on the appliance with the switch on may cause accidents.
- Disconnect the battery pack from
the appliance before making any adjustments, changing accessories, storing the appliance. Such preventive safety measures reduce the risk of starting the appliance accidentally. - For the purposes of recharging the battery, only use the detachable supply unit provided with this appliance. A charger that is suitable for one type of battery pack may create a risk of fire when used with another battery pack.
- Use appliances only with specifically designated Tineco battery packs. Use of any other battery packs may create a risk of injury and fire.
- When battery pack is not in use, keep it away from other metal objects, like paper clips, coins, keys, nails, screws or other small metal objects, that can make a connection from one terminal to another. Shorting the battery terminals together may cause burns or a fire.
- Under improper usage, liquid may be ejected from the battery; avoid contact. If contact accidentally occurs, flush with water. If liquid comes into eye contact, seek medical help. Liquid ejected from the battery may cause irritation or burns.
- Do not use a battery pack or appliance that is damaged or modified. Damaged or modified batteries may exhibit unpredictable behavior resulting in fire, explosion or risk of injury.
- Do not expose a battery pack or appliance to fire or excessive heat. Exposure to fire or temperatures above 266°F (130°C) may cause an explosion.
- Follow all charging instructions and do not charge the battery pack or appliance outside of the temperature range specified in the instructions. Charging improperly or at temperatures outside of the specified range may damage the battery and increase the risk of fire.
- Have servicing performed by a qualified repair person using only identical replacement parts. This will ensure that the safety of the product is maintained.
- This appliance contains battery cells that are non-replaceable. Do not modify or attempt to repair the appliance or the battery pack except as indicated in the instructions for use and care.
- Always turn off this appliance before connecting or disconnecting the motorized nozzle.
- Do not charge or store the appliance outdoors or inside a car. Only charge, store or use the battery in a dry indoor area where the temperature is higher than 39.2°F (4°C) but lower than 104°F (40°C). The charger is for indoor use only.
Tineco/PWRHERO 11 SERIES
This appliance complies with part 15 of the FCC Rules. Operation is subject to the following two conditions:
- This appliance may not cause harmful interference, and
- This appliance must accept any interference received, including interference that may cause undesired operation.
TINECO INTELLIGENT, INC.
1700 WESTLAKE AVENUE N., SUITE 200, SEATTLE, WA, 98109, USA
WWW.TINECO.COM
1-855-292-8864
CAUTION: Changes or modifications not expressly approved by the party responsible for compliance could void the user’s authority to operate the equipment.
Note: This equipment has been tested and found to comply with the limits for a Class B digital appliance, pursuant to Part 15 of the FCC Rules. These limits are designed to provide reasonable protection against harmful interference in a residential installation. This equipment generates uses and can radiate radio frequency energy and, if not installed and used in accordance with the instructions, may cause harmful interference to radio communications. However, there is no guarantee that interference will not occur in a particular installation. If this equipment does cause harmful interference to radio or television reception, which can be determined by turning the equipment off and on, the user is encouraged to try to correct the interference by one or more of the following measures:
- Reorient or relocate the receiving antenna.
- Increase the separation between the equipment and receiver.
- Connect the equipment into an outlet on a circuit different from that to which the receiver is connected.
- Consult the dealer or an experienced radio/TV technician for help.
SPECIFICATIONS
| Product | PWRHERO 11 Series |
| Voltage | 21.6V |
| Rated Power | 450W |
| Dustbin Capacity | 0.6L |
| Charging Time (One battery) | 4-5 hrs |
| AC Input | 100-240V~ |
Disposal
- The battery contains materials that are harmful to the environment and must be removed from the appliance before it is discarded.
- When removing the battery, the appliance must be powered off.
- Batteries, chargers, accessories and packaging should be sorted for environmental friendly recycling. Do not put them into fire, water or soil. Do not dispose of batteries and chargers into household waste!
- If battery leakage contacts skin or clothing, immediately flush with water to avoid irritation and seek medical help.
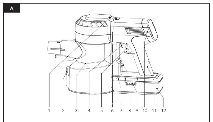
OVERVIEW
- Low-Med-Max indicator
- Dust empty release button
- Dustbin
- Trigger lock
- Trigger
- Mode switch button B
- attery indicator light
- Dustbin release button
- Battery release button
- HEPA release button
- Handle
- Battery
Fig.A


ACCESSORIES
Note:
- Test an accessory on a small, inconspicuous area before use on sensitive surfaces.
- To identify what should be included with your purchase, please refer to the “Included Accessories” located on the packaging box.
- As shown below, there are many components compatible with this model. If you require more accessories, please go to www.tineco.com or store.tineco.com.
- Full-size LED multi-tasker power brush Ideal for both hard floors and carpets. Very effective for dislodging dirt embedded in the carpet.
- Mini power brush
For vacuuming upholstered furniture, mattresses, etc. Vacuums pet hair and removes ingrained dirt. - 2-in-1 dusting brush
Switches between a wide and a soft brush by pressing the release button. The soft brush is most effective on hard-surface furniture while the wide brush is effective for upholstered furniture, curtains, etc. - Crevice tool
For corners, nooks, and other hard-to-reach places such as around car seats, picture frames, and cupboards. - Soft dusting brush
Angled bristles on a slender, oval-shaped rim provide anti-static, cushioned contact. Suitable for dusting shelves, lighting, delicate surfaces, electronics and more. - Flexible long crevice tool
Easy to bend, easy to reach tight spots. Suitable for cleaning dust behind and beneath furniture, around refrigerators, and many other tight gaps. - Full-size LED soft-roller power brush
Perfect for hard floors, especially sensitive wood floor. Picks up coarse and fine dirt at the same time. - Multi-angle folding tube
An articulated joint makes it adjustable to allow for flexibility when cleaning from high to low. - Flexible extension hose
Excellent extension and flexibility to access hard-to-reach spaces; perfect for in-care use. Compatible with all non-motorized Tineco accessories. - Pre-filter cleaning tool
A dirty filter is a leading cause of suction loss, and this tool is designed to make your filter last much longer. Place the dirty filter inside the pre-filter cleaning tool and close the lid. Run the appliance in MAX mode, and rotate the side cover.
ASSEMBLY

Tube Installation
- Insert tube.
Fig.C-1 - Press the release button to remove the tube. Fig.C-2
Brush Installation
- Insert the power brush.
Fig.C-3 - Press the release button to remove the power brush.
Fig.C-4
Dustbin Installation
- To clean the dustbin more thoroughly, press the dustbin release button to detach from the appliance.
Fig.C-5
- When re-attaching the dustbin, hold on an angle and slot the top of the dustbin into the hook on the main body. Push upwards until the hook is fixed into the slot on the dustbin and then it clicks back into place.
Fig.C-6
Battery Installation
- Press the battery release button, and remove the battery.
Fig.C-7
- To replace, slide the battery into the slot at the base of the main body. The battery will click into position when correctly fitted.
Fig.C-8
Wall-mounted Dock Installation
- Install the accessory bracket to the rail of the wall-mounted dock and push the clip into the slot to complete the assembly.
- Stuck the power cord onto the slot behind the wall-mounted dock. Start from the plug end and reserve about 5.9” (15cm) power cord to ensure that the plug can reach the charging outlet.
- Install the wall-mounted dock to the wall with the nails provided by Tineco. Fig.C-9

- Determine the best wall location for mounting the dock. We recommend placing it 47.25” (120cm) from the lower screw hole to the floor (may need to be adjusted based on the actual situation).
Fig.C-10
Warning:
- Ensure the wall surrounding the mounting area is free of gas, water pipes, electrical cables and wires.
- To avoid the dock falling, ensure it is firmly installed.
OPERATION
Preparing for Use
Note:
- Before the first use, please charge the appliance (see “Charging the Battery”) for 4- 5 hours in an area where the ambient temperature is between 39.2°F (4°C) and 104°F (40°C).
- Select an accessory and attach it to the appliance before use (see “Accessories”).
- Pull the trigger to activate the suction. Pull the trigger lock to hold the trigger for continuous power mode.
Fig.D-1
- Press to enter Medium mode, and press it again to enter MAX mode. From MAX mode, press to return to Low mode.
Low mode: one indicator light illuminated Medium mode: two indicator lights illuminated MAX mode: all indicator lights illuminated Fig.D-2
Place the appliance on the wall-mounted dock for convenient storage after use.
- Place the main body on the dock.
Fig.D-3
- To avoid bristle damage, always place attachments on the dock after use.
Fig.D-4
Emptying the Dustbin
- Press the release button on the side of the dustbin to empty the contents.
Fig.D-5
- Close and click the dustbin flap back into place.
Fig.D-6
Charging the Battery
- Place the main body with the battery on the charging dock, plug in the adaptor and charging port, the blue light blinking shows charging correctly.
- Or charge the battery separately: open the cover above and put the battery in the upper groove, then plug in the adaptor and charging port, the blue light blinking shows charging correctly.
Fig.D-7
Note:
- If you need a spare battery, please purchase from Tineco.
Warning:
- Only use the Tineco-provided adapter to charge the battery.
- During long periods of not being used, store the lithium battery in a cool, dry place. Ensure the battery is fully charged every 3 months.
- Store appropriately indoors in a dry place. Do not expose appliance to sunlight or freezing temperature. Recommended temperature range: 39.2°F (4°C)~104°F (40°C).
Runtime
- Low/Med/Max mode:
- 40 mins/19 mins/12 mins
* Actual runtime depends on the quantity and capacity of the battery.
- 40 mins/19 mins/12 mins
- Estimated runtime data was obtained by a Tineco Laboratory using one battery and non-motorized accessories.
Charging Time
- A full charge takes approximately 4-5 hours for one battery.
- Estimated data was obtained by a Tineco Laboratory using ambient temperatures between 39.2°F (4°C) to 104°F (40°C).
Indicator
When in Use
Solid blue light.
Blinking red light: out of power, appliance blocked.
During Charging
Blinking blue light: charging.
Blinking red light: fault, check troubleshooting.
Fully Charged
In 3 minutes: solid blue light.
After 3 minutes: light off.
MAINTENANCE
Note:
- Clean the dustbin and filters after each use.
- Use the cleaning tool to thoroughly clean the pre-filter when red light blinking. To maintain high performance, wash and dry the pre-filter monthly, replacing it every 6 months. Wash and dry the HEPA filter every 3 months, replacing it every 12 months.
Dustbin and Mesh Filter
- Press the dustbin release button to remove the dustbin.
Fig.E-1
- Clean with a damp cloth, taking care to prevent water entering the appliance main body and battery.
Fig.E-2
- Turn counter-clockwise to remove the filters. Fig.E-3

- Clean the dustbin and mesh filter under cold, running water. Air dry completely before reinstalling.
Fig.E-4
- After cleaning, insert the clean pre-filter into the mesh filter properly and it clicks into place. Install the clean filter and dustbin back into the main body, then close the dustbin flap.
Fig.E-5
Pre-filter
- Ensure the appliance is switched off before cleaning, and remove the dirty pre-filter from the mesh filter-holder.
Fig.E-6
- Do not turn the appliance upside down when removing or installing the filter to prevent dust from entering the motor.
Fig.E-7
- Replace a clean filter to the main body. Put the dirty pre-filter into the cleaning tool and connect the cleaning tool to the main body. Fig.E-8

- Run the appliance in MAX mode, and rotate the side cover to clean the dirty pre-filter. Fig.E-9

HEPA Filter
- Press the HEPA release button and gently remove for cleaning. Do not use the appliance without first installing the HEPA filter.
Fig.E-10
- Do not place the appliance in the direction as above when removing or installing the HEPA filter, to prevent dust from entering the motor. Fig.E-11

- The HEPA filter can be washed under running water and must be completely dry before reinstalling.
Fig.E-12
Brush Roller
- Use a coin or other tool, to unlock the brush roller lock, then remove the brush from the brush window.
Fig.E-13
- Remove the debris wrapped around the roller with a cleaning tool.
Fig.E-14
- Gently clean the transparent brush window. Fig.E-15

- After cleaning, reinstall the brush.
Fig.E-16

Warning:
The power brush contains electrical components which must not be soaked or washed with water.
TROUBLESHOOTING
| Problem | Solution |
| The appliance does not turn on | Charge the battery |
| Check and remove blockages | |
| Weak suction power | Clean the dustbin and filters |
| Install the pre-filter | |
| Remove blockages | |
| Clean the brush roller | |
| Abnormal motor sounds | Remove blockages |
| Battery won’t charge | Remove the battery and re-insert |
| One blinking red light | Charge the battery, or remove blockages |
Note:
If the above troubleshooting guide fails to provide a solution, please visit our website www.tineco.com for further support.
WARRANTY
2-YEAR LIMITED WARRANTY
- Only applies to purchases made from authorized retailers of Tineco.
- Is subject to the adherence of the requirements outlined in this instruction manual, and is subject to further conditions outlined below.
- This warranty is governed by and construed under the laws of the country in which the purchase took place. We provide 2-year warranty or a warranty period as stipulated by applicable local law, whichever is longer.
WHAT IS COVERED?
- Your Tineco appliance has a 2-year warranty against original defects in material and workmanship, when used for private household purposes in accordance with the Tineco Instruction Manual. Motorized accessories and battery bought separately come with a 1-year warranty.
- This warranty provides, at no extra cost to you, all labor and parts necessary to ensure your appliance is in proper operating condition during the warranty period.
- This warranty will only be valid if the appliance is used in the country in which it was sold.
WHAT IS NOT COVERED?
Tineco shall not be liable for costs, damages or repairs incurred as a result of:
- Appliances purchased from an unauthorized dealer.
- Careless operation or handling, misuse, abuse and/or lack of maintenance or use not in accordance with the Tineco Instruction Manual.
- Use of the appliance other than for normal domestic purposes, e.g. for commercial or rental purposes.
- Use of parts not in accordance with the Tineco Instruction Manual.
- Use of parts and accessories other than those produced or recommended by Tineco.
- External factors unrelated to product quality and use, such as weather, modifications, accidents, electrical outages, power surges or acts of God.
- Repairs or alterations carried out by unauthorized parties or agents.
- Failing to clear blockage and other hazardous material from the appliance.
- Normal wear and tear, including normal wearing parts, such as clear bin, belt, filter, HEPA, brush bar, and power cord (or where external damage or abuse is diagnosed), carpet or floor damage due to use not in accordance with manufacturer’s instructions or failure to turn the brush bar off when necessary.
- Reduction in battery discharge time due to battery age or use.
WARRANTY LIMITATIONS
- Any implied warranties relating to your appliance including but not limited to warranty of merchantability or warranty of fitness for a particular purpose, are limited to the duration of this warranty.
- Warranty coverage applies to the original owner and to the original battery only and is not transferable.
- This limited warranty gives you specific legal rights. You may also have other rights which vary by region.
- Manufacturer’s warranties may not apply in all cases, depending on factors such as use of the product, where the product was purchased, or who you purchased the product from. Please review the warranty carefully, and contact the manufacturer if you have any questions.
WARRANTY SERVICE
Register:
- We highly recommend that upon purchase, you register your appliance on the Tineco official website (www.tineco.com) and enjoy exclusive benefits. To register, please enter the whole serial number (remove the dustbin to find the serial number).
Fig.F-1 - Failure to register your product won’t diminish your warranty rights.
How to Claim:
- Please retain your proof of purchase. To make a claim under our Limited Warranty, you need to provide your serial number and the original purchase receipt with the purchase date and order number on it.
- All work will be carried out by Tineco or an authorized agent.
- Any replaced defective parts will become the property of Tineco.
- Service under this warranty will not extend the period of this warranty.

Contact our Customer Service Hotline: 1-855-292-8864
or Visit Tineco website www.tineco.com for expert customer service.
Contact us – We’ll get back to you within 1 business day.














Blinking red light: out of power, appliance blocked.
Blinking blue light: charging.

































