Numatic NRV 240-11 620W Commercial Vacuum Cleaner

Original Instructions
CAUTION
Read instructions before using the machine.
Kit NA1 / NS1

Kit AH29

EVR 370 – Kit AS0

Assembly

Using your machine

Cleaning

Cleaning the Tool Head

Fitting the Face

Removing the Face

Wand docking / Tool Tidy

470 Handle Fitting

Data
| 1 | 2 | 3 | 4 | 5 | 6 | ||||||
| NRV/NSR 240 NRV 370 NRV 380 NRV 470 | 9 L 15 L 15 L 27 L | 31.8 m | 9.0 kg 9.1 kg 9.1 kg 11.6 kg |
LpA ≤ 70 dB(A) |
Class II | 360 mm x 370 mm x 415 mm 360 mm x 370 mm x 510 mm 355 mm x 355 mm x 485 mm 358 mm x 450 mm x 710 mm | |||||
| EVR 370 | 15 L | 26.8 m | 9.1 kg | 360 mm x 370 mm x 510 mm | |||||||
| 1 | 2 | 3 | 4 | 5 | 6 | ||||||
| Drum Size | Cleaning Range | Weight (Ready to work) | Sound Pressure | Protection Class | Dimensions | ||||||
Replacement parts
| TriTex Filter | |
| 604165 | TriTex-Filter |
| HepaFlo Bags | |
| 604015 | NVM 1CH (Pack of 10) 240 Drum Size |
| 604016 | NVM 2BH (Pack of 10) 370 / 380 Drum Size |
| 604018 | NVM 3AH (Pack of 10) 470 Drum Size |
Rating Label
| 1 2 3 4 5 6 7 8 9 10 | Company Name & Address |
| Model | |
| Voltage / Alternating Current | |
| Frequency | |
| Rated Input Power | |
| Weight | |
| WEEE Logo | |
| Protection Class 2 Symbol | |
| Approval Mark | |
| Machine yr/wk Serial Number |
About your machine

Maintenance
Daily
Keep the machine clean, including hoses and tubes. Ensure the bag and fi lter are fi tted. Regularly examine the power cord. Check dust bag frequently. Check fi lters are clean.
Weekly – as daily and:-
Check for any worn or damaged parts and replace immediately
WEEE Legislation (Waste, Electrical and Electronic Equipment)
Vacuum cleaner, accessories and packaging should be sorted for environmentally – friendly recycling.
(Only for UK/EU Countries)
Do not dispose of vacuum cleaner into household waste! According to the European Directive 2012/19/EU on waste electrical and electronic equipment and its incorporation into national law. Vacuum cleaners that are no longer suitable for use must be separately collected and sent for recovery in an environmentally – friendly manner.
NOTE: A risk assessment should be conducted to determine which PPE should be worn.
Failure to rectify the problem or in the event of a breakdown contact your Numatic dealer or the Numatic Technical helpline +44 (0)1460 269268
Safety Critical Components
Mains leads:
- 220-240 Volt) HO5-V2V2-F 12.5m x 2 Core x 0.75 mm2
- (220-240 Volt) HO5-V2V2-F 12.5m x 2 Core x 1.00 mm2
- (110 Volt) HO5-V2V2-F 10m x 2 Core x 1.50 mm2 Yellow Cable + Industrial Plug
WARNING
Read the instruction manual before using the machine. Operators shall be adequately instructed on the use of their machine. As with all electrical equipment, care and attention must be exercised at all times during use, in addition to ensuring that routine and preventative maintenance is carried out periodically to ensure safe operation. Failure to carry out maintenance as necessary, including the replacement of parts to the correct standard could render this equipment unsafe and the manufacturer can accept no responsibility in this respect. Maintenance should only be carried out by a qualifi ed person. This machine is for DRY USE only and must not be stored outside or used in wet conditions. The machine shall be disconnected from the mains power by removing the plug from the power supply socket during cleaning or maintenance and when replacing parts or converting the machine to another function. Only use the socket outlet on the machine for purposes specifi ed in the instructions (if fi tted). This machine is not to be used by children or persons with reduced physical, sensory or mental capabilities, or lack ofexperience or knowledge. This appliance is intended to be cleaned and maintained by an adult. Children being supervised are not to play with the machine.This machine is not a toy. This machine is not suitable for picking up hazardous or explosive dust. Contact your local distributor if you require a machine capable of performing these tasks
CAUTION
Ensure that the filtration system fitted to the machine is suitable for the material being collected. This vacuum cleaner is intended for indoor use in the collection of dry materials. This machine should be stored indoors only.
NOTES
- The primary use for this machine is commercial, for example in hotels, schools, hospitals, factories, shops and offi ces.
- This product complies with the requirements of clause 20 of IEC/EN 60335-2-69 Stability and Mechanical Hazards.
- This vacuum cleaner is fi tted with a thermal protection device. If the vacuum cleaner stops working, remove the plug from the wall before investigating where the fault lies.
- If the vacuum cleaner has a blockage, switch off , remove the plug from the power socket, inspect the fl oor tool, tubes and hose for debris. If the fl oor tool, tubes and hose are clear, replace the dust bag and clean the fi lter.
- The vacuum cleaner should be inspected after use for damage.
- The vacuum cleaner should be stored in a dry place.
- When moving from one place to another, consider the weight of the machine
DO
- Keep your machine clean including hoses and tubes.
- Change dust bag frequently.
- Keep fi lters clean.
- Keep diff user fi lter (where fitted) clean.
- Use fi lter bags, they will enhance performance and help keep machine clean.
- Use a Numatic Original fi lter bag under fine dust conditions.
- Keep hoses and tubes clear.
- Replace any worn or damaged parts immediately.
- Only use the brushes provided with the machine. The use of other brushes may impair safety.
- Regularly examine the power cord. If damage is found such as cracking or ageing the power cord must be replaced by a qualified person.
- Only replace the power cord with the correct Numatic approved replacement part.
DO NOT
- Pull on the cable to unplug the machine from the power supply.
- Use to suck up hot ashes or lighted cigarette ends.
- Use steam cleaners or pressure washers to clean the machine or use in the rain.
- Immerse in water for cleaning.
- Attempt machine maintenance or cleaning unless the power supply plug has been removed from the supply outlet.
- Use in wet environments or to collect wet materials.
- Under any circumstances place foreign objects including (but not limited to) air fresheners, air freshener capsules or scented beads of any type into the top fi lter of the machine. Doing so can be dangerous and risk damage to the machine and may invalidate the machine warranty.
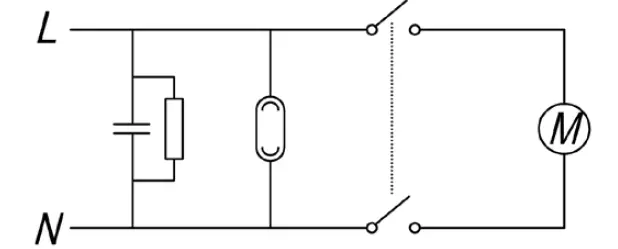
Schematic Diagram

HepaFlo Dust Bags
604015 240 Drum HepaFlo Dust Bags (Pack of 10) NVM-1CH 604016 370/380 Drum HepaFlo Dust Bags (Pack of 10) NVM-2BH For best performance make sure you use genuine Numatic bags
Warranty
Numatic International Limited warrant to the original purchaser that its products are free of defects in both material or workmanship for the period shown below: Homecare and cleancare Vacuum cleaners. 2 Years Kotary loor achines. ars bbTwintec Auto Scrubber Dryer. . . . 1 Year Vario Ride-On Scrubber Dryer… Mopping. Compacts, Combi and Servocare Products. . .1 Year Individual Accessories and Spare Parts. 6 Months 1 Year / 1500 hours
Note: This warranty expressly excludes consumable parts such as carbon brushes, noor brushes, mops, batteries etc, that are considered replaceable rom time to time during the normal working life of the machine. Using non Numatic dustbags can be detrimental to both machine perfomance and life and may invalidate the Warranty.
- The warranty period commences from the date the goods are purchased.
- All warranty claims must be processed through the Dealer from whom the equipment was purchased. The Dealer will co-operate with the purchaser throughout the warranty claims procedure and will arrange any necessary repairs using genuine Numatic parts.
- If the original Dealer is no longer able to fulfill his obligations please contact Numatic International Limited with full details of the claim and proof of purchase so that this may be processed without delay.
- Any warranty clainm can only relate to the specific part that is proven to be at Taul and lor which a replacement wi be supplied but can not be exended to Construre a claim against one complete macine.
- Numatic International will supply the Dealer with any warranty parts required, with Nuatic International Limited s General Conditions of Sale.
- Claims will not be accepted if they are the resul of fair wear and tear, misuse or abuse of any kind
- No replacement will be given unless the appropriate evidence of the validity of the clam has been provided to the satisfaction oI Numatic International Limited.
- Numatic International Limited reserve the ight to charge for any unnecessary work carried out as a result of an invalid cain. No variation to this warranty may be made or implied by any member of Numatic International Limited or its Deałers unless such variation is in writing and authorised by the Company
| UKCA Declaration of Conformity | |
| Manufacturer: | Numatic International Limited Chard Somerset TA20 2GB |
| Product: | HVR, HVN, NVR, NSR, VNR, HET, NRV, EVR, HVX, HMR, HHR, HVC, HEC, HEP, HRP, HDK, HLX, PET, PEH, HRR, HVT, PCH, HPC, NFR |
| Description: | Vacuum Cleaner – Commercial – Dry |
| We, Numatic hereby declare under our sole responsibility, that the above-mentioned product(s) is/are in conformity with the following directives and standards. | |
Numatic International Limited.
Chard, Somerset TA20 2GB ENGLAND Tel.: 01460 68600 www.numatic.co.uk Specification subject to change without prior notice www.numatic.co.uk O Numatic International Limited


















