
LG 32SQ780S Smart Monitor Owner’s Manual

www.lg.com
Copyright © 2022 LG Electronics Inc.
All Rights Reserved.
Please read this manual carefully before operating your set and retain it for future reference.
32SQ780S
The model and serial number of the product are located on the back and on one side of the product. Record them below in case you ever need service.
Model.
Serial No.
Before reading this manual

Separate Purchase
- Separate purchase items can be changed or modified for quality improvement without any notification. Contact your dealer to buy these items. These
devices only work with certain models. - The model name or design may be changed depending on the upgrade of product functions, manufacturer’s circumstances or policies.
- Magic Remote Control : MR22GA (MR22GA model can be used in common with some TV products and this LG Smart Monitor) Check whether your model supports Bluetooth in the Wireless Module Specification to verify whether it can be used with the Magic Remote.
- A cable to connect external devices must be purchased separately.
Note
- Product specifications or contents of this manual may be changed without prior notice due to upgrade of product functions.
- The items supplied with your product may vary depending on the model.
- Image shown may differ from your Monitor.
Important Precautions
Please read these safety precautions carefully before using the product. All precautions and safety information applies to LCD models.
- Failure to follow those warnings may result in death, serious injury or damage to the product or other property.
Precautions to the AC Adapter and Electrical Power
![]()
- If water or any foreign substance goes inside the product (Monitor, power cord, or AC adapter), disconnect the power cord immediately and contact the
service center.
— Otherwise, this may cause a fire or electric shock due to damage to the product. - Do not touch the power plug or AC adapter with wet hands. If the pins of the plug are wet or dusty, wipe and dry them before use.
— Otherwise, this may cause a fire or electric shock. - Make sure to completely insert the power cord into the AC adapter.
— If loosely connected, the poor connection may cause a fire or electric shock. - Be sure to use power cords and AC adapters provided or approved by LG Electronics, Inc.
— The use of non-approved products may cause a fire or electric shock. - When unplugging the power cord, always pull it by the plug. Do not bend the power cord with excessive force.
— The power line can be damaged, which may cause electric shock or fire. - Be careful not to step or place heavy objects (electronic appliances, clothing, etc.) on the power cord or AC adapter. Be careful not to damage the power cord or AC adapter with sharp objects.
— Damaged power cords may cause a fire or electric shock. - Never disassemble, repair or modify the power cord or AC adapter.
— This may cause a fire or electric shock. - Use only the power cord supplied with the unit or another manufacturer’s authorised cord.
— Failure to do so may result in fire or electrical shock or damage to the product. - Use only a properly grounded plug and receptacle.
— If you do not you may be electrocuted or injured. Or the product might be damaged. - Do not use a damaged or loose plug.
— This may cause electrical shock or fire. - Operate the display only from a power source(i.e. voltage) indicated in the product specification.
— Otherwise the product can be damaged, fire can occur or you may be electrocuted. If you are not sure what type of power supply you have, consult a
certified electrician. - In the presence of thunder and lightning, never touch the power cord and signal cable because it can be very dangerous.
— It can cause electric shock. - Do not connect several extension cords, electrical appliances or electrical heaters to a single outlet. Use a power bar with a grounding terminal designed for exclusive use with the computer.
— A fire can break out due to overheating. - Do not touch the power plug with wet hands. Additionally, if the cord pin is wet or covered with dust, dry the power plug completely or wipe dust off before plugging in the cord.
— You may be electrocuted due to excess moisture. - If you don’t intend to use the product for a long time, unplug the power cable from the product.
— Covering dust can cause a fire, or insulation deterioration can cause electric leakage, electric shock or fire. - Insert the power plug firm so it cannot come loose.
— A loose connection can cause fire. - Do not insert metal or other conductive materials into the product openings. Additionally, do not touch the power cable right after plugging into the wall
input terminal.
— You may be electrocuted. - The AC Plug is the disconnecting device. It should be easily accessible in case of emergency.
- Please make sure the device is installed near the wall outlet to which it is connected and that the outlet is easily accessible.
- Be sure to keep the outlet, AC adapter, and pins of the power plug clean from dust and etc.
— This may cause a fire. - Do not unplug the power cord while the product is in use.
— Electrical shock can damage the product. - As long as this unit is connected to the AC wall outlet, it is not disconnected from the AC power source even if the unit is turned off.
Precautions in installing the Product
![]()
- Keep away from heat sources like heaters or open flames.
— Electrical shock, fire, malfunction or deformation may occur. - Keep the packing anti-moisture material or vinyl packing out of the reach of children.
— Anti-moisture material is harmful if swallowed. If swallowed by mistake, force the patient to vomit and visit the nearest hospital. Additionally, vinyl
packing can cause suffocation. Keep it out of the reach of children. - Do not put heavy objects on the product on sit upon it.
— If the product collapses or is dropped, you may be injured. Children must pay particular attention. - Do not leave the power or signal cable where someone can trip over it.
— The passerby can falter, which can cause electrical shock, fire, product breakdown or injury. - Install the product in a neat and dry place. Do not use near water.
— Dust or moisture can cause electrical shock, fire or product damage. - Do not add accessories that have not been designed for this display.
- If you smell smoke or other odors or hear a strange sound from the product unplug the power cord and contact LG Customer Service.
— If you continue to use without taking proper measures, electrical shock or fire can occur. - If you dropped the product or the case is broken, turn off the product and unplug the power cord.
— If you continue to use without taking proper measures, electrical shock or fire can occur. Contact LG Customer Service. - Do not drop an object on or apply impact to the product. Do not throw any toys or objects at the product.
— It can cause injury to humans, problems to the product and damage the display. - Keep out of reach of children and do not place toys near the product.
- Make sure the product ventilation hole is not blocked. Install the product more than 10cm from the wall.
— If you install the product too close to the wall, it may be deformed or fire can break out due to internal heat build-up. - Do not cover the product with cloth or other material (eg. plastic) while plugged in.
— The product can be deformed or fire can break out due to internal overheating. - Place the product on a flat and stable surface that is large enough to support the product.
— If the product is dropped, you may be injured or the product may be broken. - Install the product where no Electromagnetic Interference occurs.
- Keep the product away from direct sunlight.
— The product can be damaged. - Do not place the product on the floor.
— Small Children and others may trip over it. - Do not install this product on a wall if it could be exposed to oil or oil mist.
— This may damage the product and cause it to fall. - For displays with glossy bezels the user should consider the placement of the display as the bezel may cause disturbing reflections from surrounding light
and bright surfaces.
Precautions in Moving the Product
![]()
- Make sure to turn off the product.
— You may be electrocuted or the product can be damaged. - Make sure to remove all cables before moving the product.
— You may be electrocuted or the product can be damaged. - When lifting or moving the product, do not hold it upside down while holding only the stand.
— This may cause the product to fall resulting in damage or injury. - Do not shock the product when moving it.
— You may be electrocuted or the product can be damaged. - Make sure the panel faces forward and hold it with both hands to move.
— If you drop the product, the damaged product can cause electric shock or fire. - Do not place the product face down.
— This may damage the TFT-LCD screen.
Precautions in Using/Cleaning the Product
![]()
- Do not attempt to disassemble, repair or modify the product yourself.
— Fire or electric shock can occur.
— Contact LG Customer Service for repair. - When cleaning the product, unplug the power cord and scrub gently with a soft cloth to prevent scratching. Do not clean with a wet cloth or spray water or other liquids directly onto the product. An electric shock may occur. (Do not use chemicals such as benzene, paint thinners or alcohol)
- Keep the product away from water.
— Fire or electric shock accident can occur. - Avoid high temperatures and humidity.
- Do not put or store flammable substances near the product.
— There is a danger of explosion or fire. - Keep the product clean at all times.
- Take a comfortable and natural position when working with the product.
- Take a regular break when working with the product for a long time.
- Do not press on the panel with a hand or sharp object such as nail, pencil or pen, or make a scratch on it.
- Keep proper distance from the product and rest from time-to-time.
— Your vision may be impaired if you look at the product too closely or for too long. - Set the appropriate resolution by referring to the User’s Guide.
- Keep small accessories out of the reach of children.
- Displaying a still image for long time on the monitor may leave persistent image or stain on the monitor screen. To avoid this problem, use a screen saver
and power off when this product is not used. Persistent image or stain caused by long time usage are not covered by the warranty on this product. - Do not use products using high voltage around the Monitor. (ex. Electrical Swatter)
— Monitor may have malfunction as its electrical shock. - Spray water onto a soft cloth 2 to 4 times, and use it to clean the front frame, wipe in one direction only. Too much moisture may cause staining.

Installation
Lifting and moving the Monitor
Please note the following advice to prevent the Monitor from being scratched or damaged and for safe transportation regardless of its type and size.
- It is recommended to move the Monitor in the box or packing material that the Monitor originally came in.
- Before moving or lifting the Monitor, disconnect the power cord and all cables.
- When holding the Monitor, the screen should face away from you to avoid damage.
- Hold the side and bottom of the Monitor frame firmly. Make sure not to hold the transparent part, speaker, or speaker grill area.
- When transporting a large Monitor, there should be at least 2 people.
- When transporting the Monitor, do not expose the Monitor to jolts or excessive vibration.
- When transporting the Monitor, keep the Monitor upright, never turn the Monitor on its side or tilt towards the left or right.
- Do not apply excessive pressure to cause flexing / bending of frame chassis as it may damage screen.
When handling the Monitor, be careful not to damage the protruding buttons.- Avoid touching the screen at all times, as this may result in damage to the screen.
- When attaching the stand to the Monitor set, place the screen facing down on a cushioned table or flat surface to protect the screen from scratches.
Installing on a Table
- Lift the monitor and place it on the table in an upright position. Place the monitor at least 100 mm away from the wall to ensure sufficient ventilation.

![]()
- Unplug the power cord before moving or installing the monitor. There is risk of electric shock.
- Make sure to use the power cord that is provided in the product package and connect it to a grounded power outlet.
- If you need another power cord, please contact your local dealer or the nearest retail store.
- Make sure the table on which the product is installed is stable and solid. A table made of fragile materials such as glass may be damaged.
- The monitor may tilt on uneven or slanted tables.
- Installation of the stand may leave a mark on the table.
- Do not hang heavy items such as bags or clothes on the stand.
- Avoid falls by verifying that the table is large enough to support the monitor.
- Make sure to fix the stand firmly on the table.
- When installing the stand on the table, make sure the stand is fully engaged to the table so that you would not hit your head when you get up.
- Do not use excessive force when rotating the monitor. Allowing the monitor to contact a wall may injure persons nearby or damage the monitor.
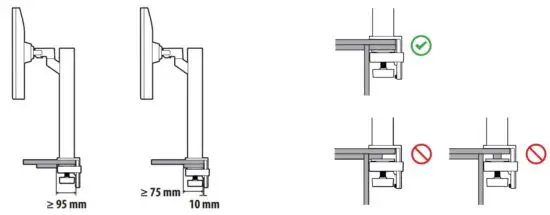
How to fix a clamp
- After positioning the stand on the table, secure it by turning the handle.
•• For tables without a protrusion
— The table should be less than 75 mm thick.

![]()
- Stands that are not fully engaged to the table may allow the monitor to wobble or fall over.
- Make sure the table is solid and stable enough to fully support installation of the monitor. Tables made of fragile materials such as glass may break.
- For tables with a protrusion
— If the protrusion is located more than 95 mm away from the edge of the table, install the monitor only when a flat protrusion is located between 10 mm
to 75 mm from the edge of the table.

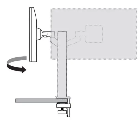
Swivel stand
Swivel the monitor left and right within 280 ° to fit your view.

![]()
- When swiveling the monitor screen, be careful not to get your fingers caught or bumped into the stand.
Pivot Feature
The pivot feature allows the monitor to rotate 90 ° counter-clockwise.

![]()
- When using the Pivot function, do not rotate the monitor too fast or with excessive force. The table may be scratched by contact with the monitor’s head.

Leveling the Screen
If the screen appears crooked to one side after the product has been placed in position, straighten the angle horizontally as follows.

Adjusting the Stand Height
- Make sure to hold and move the monitor with both hands.

![]()
- To avoid injury when adjusting the height, do not put your hands on the stand.
Adjusting the Angle
Adjust the angle of the screen.
The angle of the screen can be adjusted forward or backward from -25 ° to 25 ° for a comfortable viewing experience.

![]()
- To avoid injury to the fingers when adjusting the screen, do not hold the lower part of the monitor’s frame as illustrated below.
- Be careful not to touch or press the screen area when adjusting the angle of the monitor.

- Beware of cables attached to the monitor when rotating it.
Using the Kensington Lock
For more information on installation and usage, refer to the Kensington lock owner’s manual or visit the website at http://www.kensington.com.
Connect the monitor to a table using the Kensington security system cable.

Note
- The Kensington security system is optional. You can obtain optional accessories from most electronics stores.
Moving and Lifting the Monitor
When moving or lifting the monitor, follow these instructions to prevent the monitor from being scratched or damaged and to ensure safe transportation,
regardless of its shape or size.
- Place the monitor in the original box or packing material before attempting to move it.
- Before moving or lifting the monitor, disconnect the power cord and all other cables.
- Hold the bottom and side of the monitor frame firmly. Do not hold the panel itself.
- When holding the monitor, the screen should face away from you to prevent it from being scratched.
- When transporting the monitor, do not expose the monitor to shock or excessive vibration.
- When moving the monitor, keep it upright and never turn the monitor on its side or tilt it sideways.
- Disassemble and reposition the head and stand separately when moving the monitor.

Securing Monitor to the Wall
- Insert and tighten the eye-bolts, or Monitor brackets and bolts on the back of the Monitor.
• If there are bolts inserted at the eye-bolts position, remove the bolts first. - Mount the wall brackets with the bolts to the wall. Match the location of the wall bracket and the eye-bolts on the rear of the Monitor.
- Connect the eye-bolts and wall brackets tightly with a sturdy rope. Make sure to keep the rope horizontal with the flat surface.
• Use a platform or cabinet that is strong and large enough to support the Monitor securely.
• Brackets, bolts and ropes are not provided. You can obtain additional accessories from your local dealer.
Mounting to the Wall
Attach an optional wall mount bracket at the rear of the Monitor carefully and install the wall mount bracket on a solid wall perpendicular to the floor. When you attach the Monitor to other building materials, please contact qualified personnel. LG recommends that wall mounting be performed by a qualified professional installer. We recommend the use of LG’s wall mount bracket. LG’s wall mount bracket is easy to move with cables connected. When you do not use LG’s wall mount bracket, please use a wall mount bracket where the device is adequately secured to the wall with enough space to allow connectivity to external devices. It is advised to connect all the cables before installing fixed wall mounts.
![]()
- Remove the stand before installing the Monitor on a wall mount by performing the stand attachment in reverse.
- For more information of screws and wall mount bracket, refer to the Separate purchase.
- If you intend to mount the product to a wall, attach VESA standard mounting interface (optional parts) to the back of the product. When you install the set to use the wall mounting bracket (optional parts), fix it carefully so as not to drop.
- When mounting a Monitor on the wall, make sure not to install the Monitor by hanging the power and signal cables on the back of the Monitor.
- Do not install this product on a wall if it could be exposed to oil or oil mist. This may damage the product and cause it to fall.
- Do not use a sharp object when you detached the cable cover. This could damage the cable or the cabinet. It may also cause personal harm. (Depending on model)
- When installing the wall mounting bracket, it is recommended to cover the stand hole using tape, in order to prevent the influx of dust and insects.
(Depending on model)
Installing the Wall Mount Plate
To install the monitor to a wall, attach a wall mounting bracket (optional) to the back of the monitor.
Make sure that the wall mounting bracket is securely fixed to the monitor and to the wall.

Note
- Use the screws specified by VESA standards.
- The wall mount kit includes the installation guide and all necessary parts.
- The wall mounting bracket is optional. You can obtain optional accessories from your local dealer.
- The length of the screw may differ for each wall mounting bracket. If you use screws longer than the standard length, it may damage the inside of the
product. - For more information, please refer to the user manual for the wall mounting bracket.
- Be careful not to apply too much force while mounting the wall mount plate as it may cause damage to the screen.
- Remove the stand before installing the monitor on a wall mount by performing the stand attachment in reverse.
![]()
- Unplug the power cord before moving or installing the monitor to avoid electric shock.
- Installing the monitor on the ceiling or on a slanted wall may result in the monitor falling off, which could lead to injury. Use an authorized LG wall mount
and contact the local dealer or qualified personnel. - To prevent injury, this apparatus must be securely attached to the wall in accordance with the installation instructions.
- Applying excessive force when tightening screws may cause damage to the monitor. Damage caused in this way will not be covered by the product
warranty. - Use the wall mounting bracket and screws that conform to VESA standards. Damage caused by the use or misuse of inappropriate components will not be covered by the product warranty.
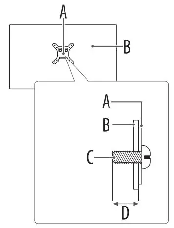
- When measured from the back of the monitor, the length of each installed screw must be 8 mm or less.

A: Wall Mount Plate
B: Back of the Monitor
C: Standard screw
D: Max. 8 mm
Connections
You can connect various external devices to your monitor. Change the input mode and select the external device you want to connect. For more information
about external device connections, see the user manual provided with each device.
Connecting to a PC
Some of the cables are not provided. This monitor supports the Plug and Paly* feature.
Plug and Paly: a feature that enables a PC to recognise devices attached by the user without device configuration or user intervention when powering up.
HDMI Connection
- When connecting the HDMI cable, the product and external devices should be turned off and unplugged.
- Supported HDMI Audio format (Depending on model):
True HD (48 kHz),
Dolby Digital / Dolby Digital Plus (32 kHz / 44.1 kHz / 48 kHz),
PCM (32 kHz / 44.1 kHz / 48 kHz / 96 kHz / 192 kHz) - For the best image quality, using the monitor with HDMI connection is recommended.
- To comply with the specifications of the product, use a shielded interface cable with ferrite core, such as a HDMI cable.
- If you turn the monitor on when the set is cold, the screen may flicker. This is normal.
- Sometimes red, green, or blue spots may appear on the screen. This is normal.
- Use a High Speed HDMI®/™ cable (shorter than 3 m).
- Use a certified cable with the HDMI logo attached. If you do not use a certified HDMI cable, the screen may not display or a connection error may occur.
- Recommended HDMI Cable Types
— High Speed HDMI®/™ Cable
— High Speed HDMI®/™ Cable with Ethernet - If you cannot hear any sound in HDMI mode please check your PC settings. Some PCs require you to manually change the default audio output to HDMI.
- If you want to use HDMI-PC mode, you must set your PC/DTV to PC mode.
- You may experience compatibility issues if you use HDMI-PC mode.
- Make sure the power cable is disconnected.
- If you connect a gaming device to the monitor, use the cable provided with the gaming device.
- Do not press the screen with your finger for a prolonged period as this may result in temporary distortion on the screen.
- Avoid displaying static images on the screen for a long period of time to prevent retention. Use a screensaver if possible.
- A wireless communication device near your monitor can affect the image.
- For an optimal connection, HDMI cables and USB devices should have bezels less than 10 mm thick and 18 mm width. Use an extension cable that supports USB 2.0 if the USB cable or USB memory stick does not fit into your Monitor’s USB port. (Depending on model)

USB-C connection
Transmits digital video and audio signals from your PC to the monitor.
Some USB Hubs may not work. If a USB device connected using a USB Hub is not detected, connect it to the USB port on the Monitor directly.
Note
- USB-C does not support fast charging. Gender converters for fast charging is also not supported.
- Use a certified USB-C cable (1.5 m or less). If you do not do so, the screen may not be displayed or a connection error may occur.
- USB C is not support to DPM. (Except for US & CA)
- PD(Power Delivery) and DP Alternate Mode(DP over USB-C) are supported via USB-C Port.
- Features may not work properly depending on the connected device’s specifications and the environment.
- USB-C port is not for the monitor power source but for a PC power source. Connect adapter to supply power to the monitor.
External Device Connection
Some of the cables are not provided. Connect a HD receiver, DVD, or VCR player to the monitor and select an appropriate input mode. For the best picture and sound quality, connecting external devices to your monitor using HDMI cables is recommended.
USB Device connection
The USB port on the product functions as a USB hub.
Note
- It is recommended you install all Windows Updates to keep your Windows up-to-date before connecting to the product for use.
- Peripheral devices are sold separately.
- A keyboard, mouse, or USB device can be connected to the USB port.
- The charging speed may vary depending on the device.
- To use USB Downstream port of monitor, user must connect Upstream port of monitor to Host PC using USB C-C or USB C-A cable.
- When the USB C-C cable is connected between Upstream port of monitor and Host PC, the Downstream port of monitor support USB 2.0 device.
- When the USB C-A cable is connected between Upstream port of monitor and Host PC, the Downstream port of monitor support USB 2.0 device. However, Host PC must support USB 2.0 function.
![]()
Cautions when using a USB device.
- A USB device with an automatic recognition program installed, or that uses its own driver, may not be recognised.
- Some USB devices may not be supported or may not work properly.
- It is recommended to use a USB hub or hard disk drive with power supplied. (If the power supply is not adequate, the USB device may not be recognised
properly.)
Specifications

Product Information

(Australia and New Zealand region only)

The use of the 5,150–5,350 MHz and 57-63 GHz band is restricted to indoor use only. This restriction exists in the countries Australia (AU) and New Zealand
(NZ). (For model with built-in wireless module operating in
5,150–5,350 MHz or 57-63 GHz frequency bands)
“RF Radiation Exposure Statement
This equipment shall be installed and used at a minimum distance of 20 cm from the human body.”
Specifications are subject to change without notice.
The symbol ∼ means alternating current, and the symbol
means direct current.
Dimensions: Monitor Size (Width x Depth x Height)
- With Stand : 714.3 mm x 408 mm x 647.2 mm
- Without Stand : 714.3 mm x 50.2 mm x 435.5 mm
Weight (Without Packaging)
- With Stand : 11.1 kg
- Without Stand : 7.2 kg
Power Sources
•• Power Rating: 19 V
7.37 A
•• Power Consumption
— Operating Mode: 45 W (Typical)*
— Standby Mode: ≤ 0.5 W (Based on HDMI port)**
* The Operating Mode of Power Consumption is measured with LGE test standard. (Full white pattren, Maximum resolution, Outgoing condition)
* The Power Consumption level can be different by operating condition and monitor setting.
** When not in use, the monitor goes to the sleep mode in a couple of minutes. (Max. 5 minutes)
AC/DC Adapter
- Model: ADS-150KL-19N-3 190140E
Manufacturer: Shenzhen Honor Electronic Co., Ltd
— Input: 100-240 V~ 50/60 Hz 2.0 A
— Output: 19.0 V
7.37 A
HDMI/USB-C DTV supported mode


1) Supported when Wide Aspect Ratio is set to 21:9.
2) Supported when Wide Aspect Ratio is set to 32:9.
HDMI/USB-C PC supported Mode
- PC audio is not supported.
- Use HDMI IN 1 for PC mode. (Depending on model)


- Supported when HDMI/USB-C Deep Colour is set to 4K.
- Supported when HDMI/USB-C Deep Colour is set to Off.
- Supported when Wide Aspect Ratio is set to 21:9.
- Supported when Wide Aspect Ratio is set to 32:9.
Open Source Software Notice Information
To obtain the source code that is contained in this product, under GPL, LGPL, MPL, and other open source licenses that have the obligation to disclose source code, and to access all referred license terms, copyright notices and other relevant documents, please visit https://opensource.lge.com.
LG Electronics will also provide open source code to you on CD-ROM for a charge covering the cost of performing such distribution (such as the cost of media, shipping, and handling) upon email request to [email protected].
This offer is valid to anyone in receipt of this information for a period of three years after our last shipment of this product.
Licenses
Each model has different licenses. Visit www.lg.com for more information on the license.
![]()
The terms HDMI, HDMI High-Definition Multimedia Interface, HDMI trade dress and the HDMI Logos are trademarks or registered trademarks of HDMI
Licensing Administrator, Inc.
Manufactured under license from Dolby Laboratories. Dolby, Dolby Vision, Dolby Vision IQ, Dolby Audio, Dolby Atmos, and the double-D symbol are
trademarks of Dolby Laboratories Licensing Corporation.

The Bluetooth® word mark and logos are registered trademarks owned by Bluetooth SIG, Inc. and any use of such marks by LG Electronics Inc. is under license. Other trademarks and trade names are those of their respective owners.
Troubleshooting
Nothing is displayed on the screen.
- Is the monitor’s power cord plugged in?
— Check if the power cord is correctly plugged into the power outlet. - Is the [No Signal] message being displayed?
— This is displayed when the signal cable between the PC and the monitor is missing or disconnected. Check the cable and reconnect it.
Screen display is unstable and shaky. / Images displayed on the monitor leave shadow trails.
- Did you select the appropriate resolution?
— If the selected resolution is HDMI 1080i 60/50 Hz (interlaced), the screen may be flickering. Change the resolution to 1080p or the recommended
resolution.
— Not setting the graphics card to the recommended (optimal) resolution may result in blurred text, a dimmed screen, a truncated display area or
misalignment of the display.
— The setting methods may be different depending on the computer or operating system, and some resolutions may not be available depending on the
performance of the graphics card. If this is the case, contact the manufacturer of the computer or graphics card for assistance.
The screen retains an image.
- Does image sticking occur even when the monitor is turned off?
— Displaying a still image for a prolonged time may cause damage to the screen, resulting in the retention of the image.
— To extend the lifetime of the monitor, use a screensaver. - Are there spots on the screen?
— When using the monitor, pixilated spots (red, green, blue, white, or black) may appear on the screen. This is normal for an LCD screen. It is not an error, nor is it related to the monitor’s performance.
Some features are disabled.
- Are some functions not available when you press the Menu button?
— Check the PC settings and input signal. (HDR, No Signal)

Using Remote Control
The descriptions in this manual are based on the buttons on the remote control. Please read this manual carefully and use the display correctly.
This remote uses infrared light. When in use, it should be pointed in the direction of the display’s remote sensor.

(Some buttons and services may not be provided depending on models or regions.)
Note: To use the button, press and hold for more than 1 second.

Read More About This Manual & Download PDF:



















