LG 24QP88D LED LCD Monitor

Product Information
LG LED LCD Monitor
The LG LED LCD Monitor is a high-quality display that utilizes an LCD screen with LED backlights to provide clear and vibrant images. It is available in three different models: 24QP88D, 27QP88D, and 27BP88QD. The monitor comes with a joystick button that allows users to control various functions such as power on/off, volume control, and adjusting the viewing angle. It also comes with a swivel stand and pivot feature that enables users to adjust the monitor’s height and angle for optimal viewing comfort.
product Assembly and Preparation
Before assembling and preparing the monitor, make sure to read the user manual carefully to avoid causing any damage to the device.
- Follow the instructions on how to use the joystick button for basic functions such as powering on/off and volume control.
- When moving or lifting the monitor, hold it with both hands to avoid scratching or damaging the device.
- Install the monitor on a table that is less than 75mm thick. If the protrusion is located more than 95mm away from the edge of the table, install the monitor only when a flat protrusion is located between 10mm to 75mm from the edge of the table.
- Adjust the stand height by holding and moving the monitor handle with both hands. Do not rotate the monitor too fast or with excessive force as it may scratch the table.
- If the screen appears crooked, adjust the angle horizontally to straighten it out.
Using the Monitor
After assembling and preparing the monitor, users can enjoy optimal viewing experience by following these steps:
- Power on the monitor by pressing the joystick button once.
- Adjust the viewing angle using the swivel stand and pivot feature for optimal viewing comfort.
- Control the volume by moving the joystick button left/right.
- Power off the monitor by pressing and holding the joystick button for more than 3 seconds.
By using the LG LED LCD Monitor, users can enjoy clear and vibrant images with optimal viewing comfort. For more information on product specifications and troubleshooting, refer to the user manual.
LICENSE
Each model has different licenses. Visit www.lg.com for more information on the license.
The terms HDMI, HDMI High-Definition Multimedia Interface, and the HDMI Logo are trademarks or registered trademarks of HDMI Licensing Administrator, Inc.
The SulkrSpeed USB Trident logo is a registered trademark of USB Implementers Forum, Inc.
USB Type-CN and USB-CM are trademarks of USB Implementers Forum.
OPEN SOURCE SOFTWARE NOTICE INFORMATION
To obtain the source code under GPL, LGPL, MPL, and other open source licenses, that is contained in this product, please visit https://opensource.lge.com.
In addition to the source code, all referred license terms, warranty disclaimers and copyright notices are available for download.
LG Electronics will also provide open source code to you on CD-ROM for a charge covering the cost of performing such distribution (such as the cost of media, shipping, and handling) upon email request to [email protected].
This offer is valid for a period of three years after our last shipment of this product. This offer is valid to anyone in receipt of this information.
ASSEMBLING AND PREPARING
CAUTION
- Always use genuine LG components to ensure safety and product performance.
- The product warranty will not cover damage or injury caused by the use of unauthorized components.
- It is recommended that use the supplied components.
- Illustrations in this document represent typical procedures, so they may look different from the actual product.
- Do not apply foreign substances (oils, lubricants, etc.) to the screw parts when assembling the product.
(Doing so may damage the product.) - Applying excessive force when tightening screws may cause damage to the monitor. Damage caused in this way will not be covered by the product warranty.
- Do not carry the monitor upside down. This may cause the monitor to fall off the stand and could result in personal injury.
- When lifting or moving the monitor, do not touch the monitor screen. The force applied to the monitor screen may cause damage to it.
NOTE
- The components may look different from those illustrated here.
- Without prior notice, all product information and specifications contained in this manual are subject to change to improve the performance of the product.
- To purchase optional accessories, visit an electronics store or an online shopping site, or contact the retailer from which you purchased the product.
- The power cord provided may differ depending upon the region.
Supported Drivers and Software
You can download and install the latest version from the LGE website (www.lg.com).
- Drivers and Software: Monitor Driver / / Dual controller
- Monitor Driver: Optional
- Onscreen control: Recommended
- Dual controller: Optional
Product and Button Description
How to Use the Joystick Button
You can easily control the functions of the monitor by pressing the joystick button or moving it left/right/up/down with your finger.
Basic Functions
A. Power on: Press the joystick button once with your finger to turn on the monitor.
B. Power off: Press and hold the joystick button once more than 3 seconds with your finger to turn off the monitor.
C. Volume control: You can control the volume by moving the joystick button left/right.
NOTE
- The joystick button is located at the bottom of the monitor.
- The direction of the button changes with the direction of the display.
Moving and Lifting the Monitor
When moving or lifting the monitor, follow these instructions to prevent the monitor from being scratched or damaged and to ensure safe transportation, regardless of its shape or size.
- Place the monitor in the original box or packing material before attempting to move it.
- Before moving or lifting the monitor, disconnect the power cord and all other cables.
- Hold the bottom and side of the monitor frame firmly. Do not hold the panel itself.
- When holding the monitor, the screen should face away from you to prevent it from being scratched.
- When transporting the monitor, do not expose the monitor to shock or excessive vibration.
- When moving the monitor, keep it upright and never turn the monitor on its side or tilt it sideways.
- Disassemble and reposition the head and stand separately when moving the monitor.

CAUTION
- Avoid touching the monitor screen as much as possible.
- This may result in damage to the screen or some of the pixels used to create images.
- Standing the monitor panel up vertically may cause the monitor to fall due to the joystick and cause damage or injury. In addition, this may cause the joystick button to malfunction.
Installing on a Table
- Lift the monitor and place it on the table in an upright position. Place the monitor at least 100 mm away from the wall to ensure sufficient ventilation.

- A: 100 mm
CAUTION
- Unplug the power cord before moving or installing the monitor. There is risk of electric shock.
- Make sure to use the power cord that is provided in the product package and connect it to a grounded power outlet.
- If you need another power cord, please contact your local dealer or the nearest retail store.
- Make sure the table on which the product is installed is stable and solid. A table made of fragile materials such as glass may be damaged.
- The monitor may tilt on uneven or slanted tables.
- Installation of the stand may leave a mark on the table.
- Do not hang heavy items such as bags or clothes on the stand.
- Avoid falls by verifying that the table is large enough to support the monitor.
- Make sure to fix the stand firmly on the table.
- When installing the stand on the table, make sure the stand is fully engaged to the table so that you would not hit your head when you get up.
- Do not use excessive force when rotating the monitor. Allowing the monitor to contact a wall may injure persons nearby or damage the monitor.
- If you are using a monitor other than an existing monitor, this is not covered by quality assurance.
How to fix a clamp
- After positioning the stand on the table, secure it by turning the handle.
- For tables without a protrusion
- The table should be less than 75 mm thick.

- The table should be less than 75 mm thick.
- For tables without a protrusion
CAUTION
- Stands that are not fully engaged to the table may allow the monitor to wobble or fall over.
- Make sure the table is solid and stable enough to fully support installation of the monitor. Tables made of fragile materials such as glass may break.
- For tables with a protrusion
- If the protrusion is located more than 95mm away from the edge of the table, install the monitor only when a flat protrusion is located between 10 mm to 75 mm from the edge of the table.


- If the protrusion is located more than 95mm away from the edge of the table, install the monitor only when a flat protrusion is located between 10 mm to 75 mm from the edge of the table.
Swivel stand
Your monitor mount lets you adjust the monitor viewing angle.
Pivot Feature
The pivot feature allows the left monitor to rotate 90° clockwise or the right monitor to rotate 90° counter-clockwise.
WARNING
- Set pull rod to maximum distance before installation or rotation.

WARNING
- When using the Pivot function
- Do not rotate the monitor too fast or with excessive force. The table may be scratched by contact with the monitor’s head.
- Be careful not to let the monitors touch each other.
Adjusting the Stand Height
- Make sure to hold and move the monitor handle with both hands.

WARNING
- To avoid injury when adjusting the height, do not put your hands on the stand.
- Be careful not to hit the table in the vertical lift.
Adjusting the Angle
Adjust the angle of the screen.
The angle of the screen can be adjusted forward or backward from -25 ° to 25 ° and -5° to 10° for a comfortable viewing experience.
WARNING
- To avoid injury to the fingers when adjusting the screen, do not hold the lower part of the monitor’s frame as illustrated below.
- Be careful not to touch or press the screen area when adjusting the angle of the monitor.

- Beware of cables attached to the monitor when rotating it.
Leveling the Screen
If the screen appears crooked to one side after the product has been placed in position, straighten the angle horizontally as follows.

Stacked feature
You can place the monitor up and down according to the setup method.

CAUTION
- Failure to remove the monitor while operating the slider may cause injury.

CAUTION
- Leave enough slack in cable to allow full range of motion.
- To avoid the potential to pinch cables it is important to follow the routing instructions in this manual.
Failure to follow these instructions may result in equipment damage or personal injury.
WARNING
- If you do not remove the cable when adjusting the monitor, it may cause damage.
- Before connecting cables, it is recommended to rotate the monitor to an appropriate Angle to avoid wiring difficulties.
Recommended usage
WARNING
- We are not responsible for any problems with any method other than the recommended one.
CAUTION
- According to the position of the product, if the screen level is inconsistent, please adjust the screen level.
Using the Kensington Lock
For more information on installation and usage, refer to the Kensington lock owner’s manual or visit the website at http://www.kensington.com.
Connect the monitor to a table using the Kensington security system cable.
NOTE
- The Kensington security system is optional. You can obtain optional accessories from most electronics stores.
Installing on the Wall
This monitor meets the specifications for the wall mount plate or other compatible devices. Install the monitor at least 100 mm away from the wall and leave about 100 mm of space at each side of the monitor to ensure sufficient ventilation. Detailed installation instructions can be obtained from your local retail store. Alternatively, please refer to the manual for how to install and set up a tilting wall mounting bracket.
A: 100 mm
Installing the Wall Mount Plate
To install the monitor to a wall, attach a wall mounting bracket (optional) to the back of the monitor.
Make sure that the wall mounting bracket is securely fixed to the monitor and to the wall.
- Wall Mount (mm): 100 x 100
- Standard screw: M4 x L10
- Number of screws: 4
- Wall Mount Plate (Optional): LSW149
NOTE
- A non-VESA standard screw may damage the product and cause the monitor to fall. LG Electronics is not liable for any accidents relating to the use of non-standard screws.
- The wall mount kit includes the installation guide and all necessary parts.
- The wall mounting bracket is optional. You can obtain optional accessories from your local dealer.
- The length of the screw may differ for each wall mounting bracket. If you use screws longer than the standard length, it may damage the inside of the product.
- For more information, please refer to the user manual for the wall mounting bracket.
- Be careful not to apply too much force while mounting the wall mount plate as it may cause damage to the screen.
- Remove the stand before installing the monitor on a wall mount by performing the stand attachment in reverse.
CAUTION
- Unplug the power cord before moving or installing the monitor to avoid electric shock.
- Installing the monitor on the ceiling or on a slanted wall may result in the monitor falling off, which could lead to injury. Use an authorized LG wall mount and contact the local dealer or qualified personnel.
- To prevent injury, this apparatus must be securely attached to the wall in accordance with the installation instructions.
- Applying excessive force when tightening screws may cause damage to the monitor. Damage caused in this way will not be covered by the product warranty.
- Use the wall mounting bracket and screws that conform to VESA standards. Damage caused by the use or misuse of inappropriate components will not be covered by the product warranty.
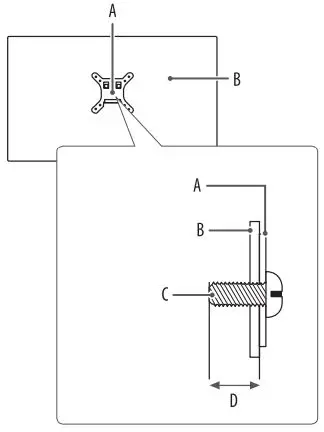
- When measured from the back of the monitor, the length of each installed screw must be 8 mm or less.

- A: Wall Mount Plate
- B: Back of the Monitor
- C: Standard screw
- D: Max. 8 mm
USING THE MONITOR
- Illustrations in this manual may differ from the actual product.
Press the joystick button, go to [Settings] [Input], and then select the input option.
CAUTION
- If you use generic cables not certified by LG, the screen may not display or there may be image noises.
- Do not press the screen for a prolonged time. This may cause image distortion.
- Do not display a still image on the screen for a prolonged time. This may cause image retention. Use a PC screensaver if possible.
- When connecting the power cord to the outlet, use a grounded (3-hole) power strip or a grounded power outlet.
- The monitor may flicker when turned on in an area where the temperature is low. This is normal.
- Sometimes red, green, or blue spots may appear on the screen. This is normal.
Connecting to a PC
- This monitor supports the feature.
- A feature that allows you to add a device to your computer without having to reconfigure anything or install any manual drivers.
HDMI Connection
Transmits digital video and audio signals from your PC to the monitor.
CAUTION
- Using a DVI to HDMI / DP (DisplayPort) to HDMI cable may cause compatibility issues.
- Use a certified cable with the HDMI logo attached. If you do not use a certified HDMI cable, the screen may not display or a connection error may occur.
- Recommended HDMI cable types
- High Speed HDMI®/™ cable
- High Speed HDMI®/™ cable with Ethernet
DisplayPort Connection
Transmits digital video and audio signals from your PC to the monitor.
NOTE
- There may be no video or audio output depending on the DP (DisplayPort) version of the PC.
- If you are using a Mini DisplayPort output graphics card, use a Mini DP to DP (Mini DisplayPort to DisplayPort) cable or gender that supports DisplayPort1.4. (Sold separately)
USB-C connection
Transmits digital video and audio signals from your PC to the monitor.
NOTE
- DP Alternate Mode(DP over USB-C) is supported via USB-C Port.
- Features may not work properly depending on the connected device’s specifications and the environment.
- USB-C port is not for the monitor power source but for a PC power source. Connect adapter to supply power to the monitor.
Connecting AV Devices
HDMI Connection
HDMI transmits digital video and audio signals from your AV device to the monitor.
NOTE
- Using a DVI to HDMI / DP (DisplayPort) to HDMI cable may cause compatibility issues.
- Use a certified cable with the HDMI logo attached. If you do not use a certified HDMI cable, the screen may not display or a connection error may occur.
- Recommended HDMI cable types
- High Speed HDMI®/™ cable
- High Speed HDMI®/™ cable with Ethernet
Connecting Peripherals
USB Device connection
The USB port on the product functions as a USB hub.
NOTE
- It is recommended you install all Windows Updates to keep your Windows up-to-date before connecting to the product for use.
- Peripheral devices are sold separately.
- A keyboard, mouse, or USB device can be connected to the USB port.
- The charging speed may vary depending on the device.
- To use USB Downstream port of monitor, user must connect Upstream port of monitor to Host PC using USB C-C or USB C-A cable.
- When the USB C-C cable is connected between Upstream port of monitor and Host PC, the Downstream port of monitor support USB 2.0 device.
- When the USB C-A cable is connected between Upstream port of monitor and Host PC, the Downstream port of monitor support USB 3.0 device. However, Host PC must support USB 3.0 function.
CAUTION
- Cautions when using a USB device.
- A USB device with an automatic recognition program installed, or that uses its own driver, may not be recognized.
- Some USB devices may not be supported or may not work properly.
- It is recommended to use a USB hub or hard disk drive with power supplied. (If the power supply is not adequate, the USB device may not be recognized properly.)
Headphones Connection
Connect peripherals to the monitor via the headphones port.
NOTE
- Peripheral devices are sold separately.
- Depending on the audio settings of the PC and external device, headphones and speaker functions may be limited.
- If you use angled earphones, it may cause a problem with connecting another external device to the monitor.
Therefore, it is recommended to use straight earphones.
USER SETTINGS
NOTE
- Your monitor’s OSD (On Screen Display) may differ slightly from that shown in this manual
Activating the Main Menu
- Press the joystick button on the bottom of the monitor.
- Move the joystick up/down and left/right to set the options.
- Press the joystick button once more to exit the main menu.

A
- Main menu disabled: Enables the main menu.
- Main menu enabled: Exits the main menu. (Holding down the button more than 3 seconds to turn off the monitor. You can turn off the monitor this way at any time, including when the OSD is on.)
B
- Main menu disabled: Adjusts the monitor volume level. (
) - Main menu enabled: Enters the [Input] features. (
) / Enters the [Settings] feature. (
)
C
- Main menu disabled: Displays the information on the current input. (
) - Main menu enabled: Turns off the monitor. (
) / Enters the [Picture Mode] feature. (
) - The direction of the button changes with the direction of the display.
Main Menu Features
| Main Menu | Description |
| : [Input] | Sets input mode. |
| : [Power Off] | Turns off the monitor. |
| : [Settings] | Configures the screen settings. |
| : [Picture Mode] | Sets the picture mode. |
| : [Exit] | Exits the main menu. |
Menu Settings
- To view the OSD menu, press the joystick button at the bottom of the monitor and then enter the [Settings].
- Move the joystick up/down and left/right to set the options.
- To return to the upper menu or set other menu items, move the joystick to or
pressing (
) it. - If you want to exit the OSD menu, move the joystick to
until you exit.
[Quick Settings]
[Settings] [Quick Settings]
- [Brightness]: Adjusts the brightness of the screen.
- [Contrast]: Adjusts the contrast of the screen.
- [Volume]: Adjusts the volume level.
- You can adjust [Mute] / [Unmute] by moving the joystick button
to in the [Volume] menu.
- You can adjust [Mute] / [Unmute] by moving the joystick button
- [Color Temp]: Set your own color temperature.
- [Custom]: The user can adjust it to red, green, or blue by customization.
- [Warm]: Sets the screen color to a reddish tone.
- [Medium]: Sets the screen color between a red and blue tone.
- [Cool]: Sets the screen color to a bluish tone.
- [Manual]: The user can fine-tune the color temperature.
[Input]
[Settings] [Input]
- [Input List]: Selects the input mode.
- [Auto Input Switch]: When automatic input switch is set to On, display will automatically switch to new input when connected.
- [On]: Enables Auto Input Switch.
- [Off]: Disables Auto Input Switch.
- [Aspect Ratio]: Adjusts the aspect ratio of the screen.
- [Full Wide]: Displays the video in widescreen, regardless of the video signal input.
- [Original]: Displays video according to the aspect ratio of the video signal input.
NOTE
- The display may look the same for [Full Wide] and [Original options] at the recommended resolution. (2560 x 1440)
[Picture]
[Settings] [Picture] [Picture Mode]
[Picture Mode] on SDR (Non HDR) signal
- [Custom]: Allows the user to adjust each element.
- [Vivid]: Heightens contrast, brightness and sharpness to display vivid images.
- [HDR Effect]: Optimizes the screen for high dynamic range.
- [Reader]: Optimizes the screen for reading documents. You can brighten the screen in the OSD menu.
- [Cinema]: Optimizes the screen to improve the visual effects of a video.
- [FPS]: This mode is optimized for FPS games.
- [RTS]: This mode is optimized for RTS games.
- [Color Weakness]: This mode is for users who cannot distinguish between red and green. It enables users with color weakness to easily distinguish between the two colors.
NOTE
- The [Picture Mode] that can be set depends on the Input signal.
- If the [Picture Mode] is changed in the DP (DisplayPort) input, the screen may flicker or the resolution of your PC screen may be affected.
[Picture Mode] on HDR signal
- [Custom]: Allows the user to adjust each element.
- [Vivid]: Optimized the screen for HDR vivid colors.
- [Cinema]: Optimized the screen for HDR video.
- [FPS]: This HDR mode is optimized for FPS games.
- [RTS]: This HDR mode is optimized for RTS games.
NOTE
- HDR content may not display correctly depending on Windows 10 OS settings, please check HDR On/Off settings in Windows.
- When the HDR function is turned on, the characters or picture quality may be poor according to Graphic card performance.
- While the HDR function is on, screen flickering or cracking may occur when changing the monitor input or power on/off according to Graphic card performance.
[Settings] [Picture] [Picture Adjust]
- [Brightness]: Adjusts the brightness of the screen.
- [Contrast]: Adjusts the contrast of the screen.
- [Sharpness]: Adjusts the sharpness of the screen.
- [SUPER RESOLUTION+]: Because this is a function to increase the sharpness of low resolution pictures, it is not recommended to use the function for normal text or for desktop icons. Doing so may result in unnecessarily high sharpness.
- [High]: Optimizes the screen for crystal clear images. Best for high-definition video or games.
- [Middle]: Optimizes the screen for comfortable viewing, with images at the middle level between the low and high modes. Best for UCC or SD videos.
- [Low]: Optimizes the screen for smooth and natural images. Best for still images or images with less movement.
- [Off]: Displays in the most common setting. Disables [SUPER RESOLUTION+].
- [Black Level]: Sets the offset level (for HDMI only).
- Offset: as a reference for a video signal, this is the darkest color the monitor can display.
- [High]: Keeps the current contrast ratio of the screen.
- [Low]: Lowers the black levels and raises the white levels from the current contrast ratio of the screen.
- [DFC]
- [On]: Adjusts the brightness automatically according to the screen.
- [Off]: Disables the [DFC] feature.
[Settings] [Picture] [Game Adjust]
- [Response Time]: Sets a response time for displayed pictures based on the movement of the picture on the screen. For a normal environment, it is recommended that you use [Fast]. When there is a lot of motion, it is recommended that you use [Faster]. Setting to [Faster] may cause image sticking.
- [Faster]: Sets the response time to faster.
- [Fast]: Sets the response time to fast.
- [Normal]: Sets the response time to normal.
- [Off]: Does not use the response time improvement feature.
- [FreeSync]: Provides seamless and natural images by synchronizing the vertical frequency of the input signal with that of the output signal.
- [On]: [FreeSync] function on.
- [Off]: [FreeSync] function off.
- [Black Stabilizer]: You can control the black contrast to have better visibility in dark scenes. Increasing the [Black Stabilizer] value brightens the low gray level area on the screen. (You can easily distinguish objects on dark game screens.) Reducing the [Black Stabilizer] value darkens the low gray level area and increases the dynamic contrast on the screen.
CAUTION
- [FreeSync]
- Supported Interface: ,
- Supported Graphic Card: A graphic card that supports AMD’s FreeSync is necessary.
- Supported Version: Make sure to update the graphic card to the latest driver.
- For more information and requirement, refer to AMD website at http://www.amd.com/FreeSync.
[Settings] [Picture] [Color Adjust]
- [Gamma]:
- [Mode 1], [Mode 2], [Mode 3]: The higher the gamma value, the darker the image becomes. Likewise, the lower the gamma value, the lighter the image becomes.
- [Mode 4]: If you do not need to adjust the gamma settings, select [Mode 4].
- [Color Temp]: Set your own color temperature.
- [Custom]: The user can adjust it to red, green, or blue by customization.
- [Warm]: Sets the screen color to a reddish tone.
- [Medium]: Sets the screen color between a red and blue tone.
- [Cool]: Sets the screen color to a bluish tone.
- [Manual]: The user can fine-tune the color temperature.
- [Red], [Green], [Blue]: You can customize the picture color using [Red], [Green], and [Blue] colors.
- [Six Color]: Meets the user requirements for colors by adjusting the hue and saturation of the six colors (red, green, blue, cyan, magenta, and yellow) and then saving the settings.
- Hue: Adjusts the tone of the screen colors.
- Saturation: Adjusts the saturation of the screen colors. The lower the value, the less saturated and brighter the colors become. The higher the value, the more saturated and darker the colors become.
[Settings] [Picture] [Picture Reset]
- [Do you want to reset your picture settings?]
- [Yes]: Returns to the default settings.
- [No]: Cancel the select.
[General]
[Settings] [General]
- [Language]: Sets the menu screen to the desired language.
- [SMART ENERGY SAVING]: Conserve energy by using luminance compensation algorithm.
- [High]: Saves energy using the high-efficiency [SMART ENERGY SAVING] feature.
- [Low]: Saves energy using the low-efficiency [SMART ENERGY SAVING] feature.
- [Off]: Disables the feature.
NOTE
- The value of energy saving data may differ depending on panel and panel suppliers.
- If you select the option of [SMART ENERGY SAVING] is [High] or [Low], monitor luminance become higher or lower depend on source.
- [Deep Sleep Mode]: When [Deep Sleep Mode] is [On], power consumption is minimized while the monitor is
in standby mode (only for 27QP88D/27BP88QD).- [On]: Enables [Deep Sleep Mode].
- [Off]: Disables [Deep Sleep Mode].
* * If Deep Sleep Mode is Off, monitor only turns off the back light while the monitor is standby mode.
- [Power LED]: When the Power LED function is turned on, it operates as follows:
- On mode: White –
- Sleep mode(Standby Mode) : White Blinking
- Off mode: Off
- [Automatic Standby]: Feature that automatically turns off the monitor when there is no movement on the screen for a period of time. You can set a timer for the auto-off function. ([Off], [4H], [6H], and [8H])
- [DisplayPort Version]: Set DisplayPort Version to the same version as the connected external device. ([1.4] and [1.2]) To use the HDR function, set to [1.4].
- [DP OUT]: Set DP OUT for Multi Stream Transport (only for 27QP88D/27BP88QD).
- [On]: Returns to the default settings.-
- [Off]: Cancel the select.
NOTE
- Make sure that the graphics card supports the MST function.
- Because of the bandwidth limit of Display Port Ver.1.2, up to 2560 x 1440 @ 75 Hz monitor can be connected and used.
- If the DP OUT is enabled, HDR is not supported.
- If the DP OUT is enabled, Free Sync is not supported for all connected monitors.
- Mac OS does not support DP OUT.
- [HDMI Compatibility Mode]: HDMI Compatibility Mode feature can recognize the legacy equipment that does not support HDMI 2.0.
- [On]: Enables HDMI Compatibility Mode.
- [Off]: Disables HDMI Compatibility Mode.
NOTE
- If the connected device does not support HDMI Compatibility Mode, the screen or sound may not work properly.
- Some older graphics cards do not support HDMI 2.0,but you can select HDMI 2.0 resolution in the control panel of window.
- This may cause the screen to appear abnormally.
- [Buzzer]: This feature lets you set the sound generated from Buzzer when your monitor powers on.
- [On]: Enables your monitor’s Buzzer.
- [Off]: Disables your monitor’s Buzzer.
- [OSD Lock]: This feature disables the configuration and adjustment of menus.
- [On]: Enables OSD Lock.
- [Off]: Disables OSD Lock.
NOTE
- All features are disabled except Brightness, Contrast, Volume, Input List, Auto Input Switch, Aspect Ratio, OSD Lock and information.
- [Information]: The display information will be shown the [Total Power On Time], [Resolution].
[Settings] [General] [Reset to Initial Settings] - Do you want to reset your settings?]
- [Yes]: Returns to the default settings.
- [No]: Cancel the reset.
TROUBLESHOOTING
Nothing is displayed on the screen.
- Is the monitor’s power cord plugged in?
- Check if the power cord is correctly plugged into the power outlet.
- Is the power LED on?
- Check the power cable connection and press the power button.
- Is the power on and the power LED displaying white?
- Check that the connected input is enabled ([Settings] [Input]).
- Is the [No Signal] message being displayed?
- This is displayed when the signal cable between the PC and the monitor is missing or disconnected. Check the cable and reconnect it.
- If [Settings]->[General]->[DP OUT] is On, execute [Settings]->[General]->[Reset to Initial Settings].
It may be a PC that does not support DP OUT (MST).
- Is the [Out of Range] message being displayed?
- This occurs when signals transferred from the PC (graphics card) are out of the horizontal or vertical frequency range of the monitor. Please see the “PRODUCT SPECIFICATION” section of this manual to set the appropriate frequency.
Screen display is unstable and shaky. / Images displayed on the monitor leave shadow trails.
- Did you select the appropriate resolution?
- If the selected resolution is HDMI 1080i 60/50 Hz (interlaced), the screen may be flickering. Change the resolution to 1080p or the recommended resolution.
- Not setting the graphics card to the recommended (optimal) resolution may result in blurred text, a dimmed screen, a truncated display area or misalignment of the display.
- The setting methods may be different depending on the computer or operating system, and some resolutions may not be available depending on the performance of the graphics card. If this is the case, contact the manufacturer of the computer or graphics card for assistance.
- Does image sticking occur even when the monitor is turned off?
- Displaying a still image for a prolonged time may cause damage to the screen, resulting in the retention of the image.
- To extend the lifetime of the monitor, use a screensaver.
- Are there spots on the screen?
- When using the monitor, pixilated spots (red, green, blue, white, or black) may appear on the screen. This is normal for an LCD screen. It is not an error, nor is it related to the monitor’s performance.
Some features are disabled.
- Are some functions not available when you press the Menu button?
- The OSD is locked. Disable [OSD Lock] in [General].
Do you see an “Unrecognized monitor, Plug and Play (VESA DDC) monitor found” message?
- Have you installed the display driver?
- Be sure to install the display driver from our web site: http://www.lg.com.
- Make sure to check if the graphics card supports Plug and Play function.
No sound from the headphone port.
- Are images displayed without sound?
- Make sure that the headphone port connections are made properly.
- Try increasing the volume with the joystick.
- Set the audio output of the PC to the monitor you are using. (The settings may differ depending on the operating system (OS) you use.)
PRODUCT SPECIFICATION
Specifications are subject to change without notice.
The symbol means alternating current, and the symbol means direct current.
- Color Depth: 10-bit color is supported.(DP/USB-C) 8/12-bit color is supported.(HDMI 1.4 : 8 bit color)
Resolution
- Max Resolution: 2560 x 1440 @ 75 Hz
- Recommended Resolution: 2560 x 1440 @ 60 Hz
AC/DC Adapter
- Model: ADS-150KL-19N-3 190140E
- Manufacturer: Shenzhen Honor Electronic Co.,Ltd. – Input: 100-240 V ~50/60 Hz 2.0 A
- Output: 19 V 7.37 A
- Model: A16-140P1A
- Manufacturer: CHICONY POWER TECHNOLOGY Co.,Ltd.
- Input: 100-240 V ~50/60 Hz 2.0 A
- Output: 19 V 7.37 A
Environmental Conditions
- Operating Conditions
- Temperature: 0 °C to 40 °C
- Humidity: Less than 80 %
- Storing Conditions
- Temperature: -20 °C to 60 °C
- Humidity: Less than 85 %
- Dimensions: Monitor Size (Width x Depth x Height) 27QP88D/27BP88QD
- With Stand (mm): 1227.1 x 590 x 613
- Without Stand (mm): 613.5 x 45.4 x 363.5 24QP88D
- With Stand (mm): 1153.6 x 570 x 595
- Without Stand (mm): 540.1 x 41.9 x 321.1
- Weight (Without Packaging) 27QP88D/27BP88QD
- With Stand (kg): 17.0
- Without Stand (kg): 9.5
- 24QP88D
- With Stand (kg): 14.3
- Without Stand (kg): 6.8
- Power Sources
- 27QP88D/27BP88QD
- Power Rating: 19 V 7.0 A
- Power Consumption
- Operating Mode: 38 W (Typical)*
- Sleep Mode (Standby Mode): ≤ 0.5 W
- Off Mode: ≤ 0.3 W
- 24QP88D
- Power Rating: 19 V 7.0 A
- Power Consumption
- Operating Mode: 24 W (Typical)*
- Sleep Mode (Standby Mode): ≤ 0.5 W
- Off Mode: ≤ 0.3 W
* The Operating Mode of Power Consumption is measured with LGE test standard. (Full White pattern, Maximum resolution)
* The Power Consumption level can be different by operating condition and monitor setting.
Support Mode
(Preset Mode, DisplayPort / USB-C)
| Resolution | Horizontal Frequency (kHz) | Vertical Frequency (Hz) | Polarity (H/V) | Remarks |
| 640 x 480 | 31.469 | 59.94 | -/- | |
| 800 x 600 | 37.879 | 60.317 | +/+ | |
| 1024 x 768 | 48.363 | 60 | -/- | |
| 1280 x 720 | 45.00 | 60.00 | +/+ | FreeSync off |
| 1920 x 1080 | 67.5 | 60 | +/- | |
| 2560 x 1440 | 88.79 | 59.95 | +/- | Preferred timing : FreeSync off |
| 2560 x 1440 | 111.86 | 74.97 | +/- | Preferred timing : FreeSync on |
(Preset Mode, HDMI) 27QP88D/27BP88QD
| Resolution | Horizontal Frequency (kHz) | Vertical Frequency (Hz) | Polarity (H/V) | Remarks |
| 640 x 480 | 31.469 | 59.94 | -/- | |
| 800 x 600 | 37.879 | 60.317 | +/+ | |
| 1024 x 768 | 48.363 | 60 | -/- | |
| 1280 x 720 | 45.00 | 60.00 | +/+ | FreeSync off |
| 1920 x 1080 | 67.5 | 60 | +/- | |
| 2560 x 1440 | 88.79 | 59.95 | +/- | Preferred timing : FreeSync off |
| 2560 x 1440 | 110.95 | 74.96 | +/- | HDMI compatibility mode |
| 2560 x 1440 | 111.86 | 74.97 | +/- | Preferred timing : FreeSync on |
24QP88D
| Resolution | Horizontal Frequency (kHz) | Vertical Frequency (Hz) | Polarity (H/V) | Remarks |
| 640 x 480 | 31.469 | 59.94 | -/- | |
| 800 x 600 | 37.879 | 60.317 | +/+ | |
| 1024 x 768 | 48.363 | 60 | -/- | |
| 1280 x 720 | 45.00 | 60.00 | +/+ | FreeSync off |
| 1920 x 1080 | 67.5 | 60 | +/- | |
| 2560 x 1440 | 88.79 | 59.95 | +/- | Preferred timing : FreeSync off |
| 2560 x 1440 | 110.95 | 74.96 | +/- | Preferred timing : FreeSync on |
HDMI Timing (Video)
| Resolution | Horizontal Frequency (kHz) | Vertical Frequency (Hz) |
| 480p | 31.5 | 60 |
| 720p | 45 | 60 |
| 1080p | 67.5 | 60 |
| 2160p | 135 | 60 |
The model and serial number of the product are located on the back and on one side of the product. Record them below in case you ever need service.
- Model
- Serial No.


































