LG 32QP880/32QP88ON LED LCD MONITOR
OPEN-SOURCE SOFTWARE NOTICE INFORMATION
- To obtain the source code under GPL, LGPL, MPL, and other open source licenses, that is contained in this product, please visit https://opensource.lge.com
- In addition to the source code, all referred license terms, warranty disclaimers and copyright notices are available for download.
- LG Electronics will also provide open source code to you on CD-ROM for a charge covering the cost of performing such distribution (such as the cost of media, shipping, and handling) upon email request to opensource@lge. com.
- This offer is valid for a period of three years after our last shipment of this product. This offer is valid to anyone in receipt of this information
ASSEMBLING AND PREPARING
CAUTION
- Always use genuine LG components to ensure safety and product performance.
- The product warranty will not cover damage or injury caused by the use of unauthorized components.
- It is recommended that use the supplied components.
- Illustrations in this document represent typical procedures, so they may look different from the actual product.
- Do not apply foreign substances (oils, lubricants, etc.) to the screw parts when assembling the product.
(Doing so may damage the product.)
- Applying excessive force when tightening screws may cause damage to the monitor. Damage caused in this way will not be covered by the product warranty.
- Do not carry the monitor upside down. This may cause the monitor to fall off the stand and could result in personal injury.
- When lifting or moving the monitor, do not touch the monitor screen. The force applied to the monitor screen may cause damage to it.
NOTE
- The components may look different from those illustrated here.
- Without prior notice, all product information and specifications contained in this manual are subject to change to improve the performance of the product.
- To purchase optional accessories, visit an electronics store or an online shopping site, or contact the retailer from which you purchased the product.
- The power cord provided may differ depending upon the region.
Supported Drivers and Software
- You can download and install the latest version from the LGE website (www.lg.com).
- Drivers and Software: Monitor Driver
- Monitor Driver: Optional
- OnScreen Control: Recommended
- Dual Controller: Optional
Product and Button Description
How to Use the Joystick Button
- You can easily control the functions of the monitor by pressing the joystick button or moving it left/right/up/ down with your finger.
- Power on: Press the joystick button once with your finger to turn on the monitor.
- Power off: Press and hold the joystick button once more than 5 seconds with your finger to turn off the monitor.
- Volume control: You can control the volume by moving the joystick button left/right.
Moving and Lifting the Monitor
- When moving or lifting the monitor, follow these instructions to prevent the monitor from being scratched or damaged and to ensure safe transportation, regardless of its shape or size.
- Place the monitor in the original box or packing material before attempting to move it.
- Before moving or lifting the monitor, disconnect the power cord and all other cables.
- Hold the bottom and side of the monitor frame firmly. Do not hold the panel itself.
- When holding the monitor, the screen should face away from you to prevent it from being scratched.
- When transporting the monitor, do not expose the monitor to shock or excessive vibration.
- When moving the monitor, keep it upright and never turn the monitor on its side or tilt it sideways.
- Disassemble and reposition the head and stand separately when moving the monitor.

Installing on a Table
Lift the monitor and place it on the table in an upright position. Place the monitor at least 100 mm (3.9 inches) away from the wall to ensure sufficient ventilation.
How to fix a clamp
CAUTION
- Stands that are not fully engaged to the table may allow the monitor to wobble or fall over.
- Make sure the table is solid and stable enough to fully support installation of the monitor. Tables made of fragile materials such as glass may break.
- For tables with a protrusion
- If the protrusion is located more than 95 mm (3.7 inches) away from the edge of the table, install the monitor only when a flat protrusion is located between 10 mm (0.4 inches) to 75 mm (2.9 inches) from the edge of the table


Swivel stand
Your monitor mount lets you adjust the monitor viewing angle
Pivot Feature
- The pivot feature allows the monitor to rotate 90 ° counter-clockwise.
- Raise the monitor up to the maximum height.

- Adjust the angle of the monitor in the direction of the arrow as shown in the figure.

- Rotate the monitor counter-clockwise as shown in the figure.

- Complete the installation by rotating the monitor 90 ° as shown in the figure.

Leveling the Screen
If the screen appears crooked to one side after the product has been placed in position, straighten the angle horizontally as follows.
Adjusting the Stand Height
Make sure to hold and move the monitor with both hands.
Adjusting the Angle
Adjust the angle of the screen.
The angle of the screen can be adjusted forward or backward from -25 ° to 25 ° for a comfortable viewing experience.
WARNING
- To avoid injury to the fingers when adjusting the screen, do not hold the lower part of the monitor’s frame as illustrated below.
- Be careful not to touch or press the screen area when adjusting the angle of the monitor.

Using the Kensington Lock
For more information on installation and usage, refer to the Kensington lock owner’s manual or visit the website at http://www.kensington.com. Connect the monitor to a table using the Kensington security system cable.
CAUTION
- Leave enough slack in cable to allow full range of motion.
- To avoid the potential to pinch cables it is important to follow the routing instructions in this manual. Failure to follow these instructions may result in equipment damage or personal injury.

Installing on the Wall
This monitor meets the specifications for the wall mount plate or other compatible devices. Install the monitor at least 100 mm (3.9 inches) away from the wall and leave about 100 mm (3.9 inches) of space at each side of the monitor to ensure sufficient ventilation. Detailed installation instructions can be obtained from your local retail store. Alternatively, please refer to the manual for how to install and set up a tilting wall mounting bracket.
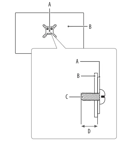
Installing the Wall Mount Plate
To install the monitor to a wall, attach a wall mounting bracket (optional) to the back of the monitor. Make sure that the wall mounting bracket is securely fixed to the monitor and to the wall.
- Wall Mount: 100 mm x 100 mm (3.9 inches x 3.9 inches)
- Standard screw: M4 x L10
- Number of screws: 4
- Wall Mount Plate (Optional): LSW149
CAUTION
- Unplug the power cord before moving or installing the monitor to avoid electric shock.
- Installing the monitor on the ceiling or on a slanted wall may result in the monitor falling off, which could lead to injury. Use an authorized LG wall mount and contact the local dealer or qualified personnel.
- To prevent injury, this apparatus must be securely attached to the wall in accordance with the installation instructions.
- Applying excessive force when tightening screws may cause damage to the monitor. Damage caused in this way will not be covered by the product warranty.
- Use the wall mounting bracket and screws that conform to VESA standards. Damage caused by the use or misuse of inappropriate components will not be covered by the product warranty.
- When measured from the back of the monitor, the length of each installed screw must be 8 mm (0.3 inches) or less.

USING THE MONITOR
- Illustrations in this manual may differ from the actual product.
- Press the joystick button, go to [Settings] [Input], and then select the input option.
CAUTION
- If you use generic cables not certified by LG, the screen may not display or there may be image noises.
- Do not press the screen for a prolonged time. This may cause image distortion.
- Do not display a still image on the screen for a prolonged time. This may cause image retention. Use a PC screensaver if possible.
- When connecting the power cord to the outlet, use a grounded (3-hole) power strip or a grounded power outlet.
- The monitor may flicker when turned on in an area where the temperature is low. This is normal.
- Sometimes red, green, or blue spots may appear on the screen. This is normal.
Connecting to a PC
- This monitor supports the feature.
A feature that allows you to add a device to your computer without having to reconfigure anything or install any manual drivers.
HDMI Connection
Transmits digital video and audio signals from your PC to the monitor.
CAUTION
- Using a DVI to HDMI / DP (DisplayPort) to HDMI cable may cause compatibility issues.
- Use a certified cable with the HDMI logo attached. If you do not use a certified HDMI cable, the screen may not display or a connection error may occur.
- Recommended HDMI cable types
- High Speed HDMI®/™ cable
- High Speed HDMI®/™ cable with Ethernet
DisplayPort Connection
Transmits digital video and audio signals from your PC to the monitor.
NOTE
- There may be no video or audio output depending on the DP (DisplayPort) version of the PC.
- If you are using a Mini DisplayPort output graphics card, use a Mini DP to DP (Mini DisplayPort to DisplayPort) cable or gender that supports DisplayPort1.4. (Sold separately)
USB-C connection
Transmits digital video and audio signals from your PC to the monitor.
NOTE
- DP Alternate Mode(DP over USB-C) is supported via USB-C Port.
- Features may not work properly depending on the connected device’s specifications and the environment.
- USB-C port is not for the monitor power source but for a PC power source. Connect adapter to supply power to the monitor.
Connecting AV Devices
HDMI Connection
HDMI transmits digital video and audio signals from your AV device to the monitor.
NOTE
- Using a DVI to HDMI / DP (DisplayPort) to HDMI cable may cause compatibility issues.
- Use a certified cable with the HDMI logo attached. If you do not use a certified HDMI cable, the screen may not display or a connection error may occur.
- Recommended HDMI cable types
- High Speed HDMI®/™ cable
- High Speed HDMI®/™ cable with Ethernet
Connecting Peripherals
USB Device connection
The USB port on the product functions as a USB hub.
NOTE
- It is recommended you install all Windows Updates to keep your Windows up-to-date before connecting to the product for use.
- Peripheral devices are sold separately.
- A keyboard, mouse, or USB device can be connected to the USB port.
- The charging speed may vary depending on the device.
- To use USB Downstream port of monitor, user must connect Upstream port of monitor to Host PC using USB C-C or USB C-A cable.
- When the USB C-C cable is connected between Upstream port of monitor and Host PC, the Downstream port of monitor support USB 2.0 device.
- When the USB C-A cable is connected between Upstream port of monitor and Host PC, the Downstream port of monitor support USB 3.0 device. However, Host PC must support USB 3.0 function.
Headphones Connection
Connect peripherals to the monitor via the headphones port.
NOTE
- Peripheral devices are sold separately.
- Depending on the audio settings of the PC and external device, headphones and speaker functions may be limited.
- If you use angled earphones, it may cause a problem with connecting another external device to the monitor. Therefore, it is recommended to use straight earphones.
USER SETTINGS
NOTE
- Your monitor’s OSD (On Screen Display) may differ slightly from that shown in this manual.
- When Beep Guide is activated, pressing the joystick button will take you to Settings right away.
Activating the Main Menu
- Press the joystick button on the bottom of the monitor.
- Move the joystick up/down and left/right to set the options.
- Press the joystick button once more to exit the main menu.

- Main menu disabled: Enables the main menu.
- Main menu enabled: Exits the main menu. (Holding down the button more than 5 seconds to turn off the monitor. You can turn off the monitor this way at any time, including when the OSD is on.)
- Main menu disabled: Adjusts the monitor volume level. ( , )
- Main menu enabled: Enters the [Input] features. ( ) / Enters the [Settings] feature. ( )
- Main menu disabled: Enters the Accessibility menu.. ( , )
- Main menu enabled: Turns off the monitor. ( ) / Enters the [Picture Mode] feature. (
| Main Menu | Description |
| : [Input] | Sets input mode. |
| : [Power Off] | Turns off the monitor. |
| : [Settings] | Configures the screen settings. |
| : [Picture Mode] | Sets the picture mode. |
| : [Exit] | Exits the main menu. |
Menu Settings
- To view the OSD menu, press the joystick button at the bottom of the monitor and then enter the [Settings].
- Move the joystick up/down and left/right to set the options.
- To return to the upper menu or set other menu items, move the joystick to or pressing ( ) it.
- If you want to exit the OSD menu, move the joystick to until you exit.
Quick Settings
[Settings] [Quick Settings]
- [Brightness]: Adjusts the brightness of the screen.
- [Contrast]: Adjusts the contrast of the screen.
- [Volume]: Adjusts the volume level.
- You can adjust [Mute] / [Unmute] by moving the joystick button to in the [Volume] menu.
- [Color Temp]: Set your own color temperature.
- [Custom]: The user can adjust it to red, green, or blue by customization.
- [Warm]: Sets the screen color to a reddish tone.
- [Medium]: Sets the screen color between a red and blue tone.
- [Cool]: Sets the screen color to a bluish tone.
- [Manual]: The user can fine-tune the color temperature.
- [Waves MaxxAudio®]
- [On]: MaxxAudio® by waves, recipient of a Technical GRAMMY Award® is a suite of studio-quality sound tools for a superior listening experience.
- [Off]: Disables the [Waves MaxxAudio®] function.
Input
[Settings] [Input]
- [Input List]: Selects the input mode.
- [Aspect Ratio]: Adjusts the aspect ratio of the screen. The display may look the same for [Full Wide], [Original] and [Just Scan] options at the recommended resolution (2560 x 1440).
- [Full Wide]: Displays the video in widescreen, regardless of the video signal input.
- [Original]: Displays video according to the aspect ratio of the video signal input.
- [Just Scan]: The aspect ratio is not adjusted from the original.
Picture
- [Settings] [Picture] [Picture Mode]
- [Picture Mode] on SDR (Non HDR) signal
- [Custom]: Allows the user to adjust each element.
- [Vivid]: Heightens contrast, brightness and sharpness to display vivid images.
- [HDR Effect]: Optimizes the screen for high dynamic range.
- [Reader]: Optimizes the screen for reading documents. You can brighten the screen in the OSD menu.
- [Cinema]: Optimizes the screen to improve the visual effects of a video.
- [FPS]: This mode is optimized for FPS games.
- [RTS]: This mode is optimized for RTS games.
- [Color Weakness]: This mode is for users who cannot distinguish between red and green. It enables users with color weakness to easily distinguish between the two colors.
NOTE
- The [Picture Mode] that can be set depends on the Input signal.
- If the [Picture Mode] is changed in the DP (DisplayPort) input, the screen may flicker or the resolution of your PC screen may be affected.
[Picture Mode] on HDR signal
- [Custom]: Allows the user to adjust each element.
- [Vivid]: Optimized the screen for HDR vivid colors.
- [Cinema]: Optimized the screen for HDR video.
- [FPS]: This HDR mode is optimized for FPS games.
- [RTS]: This HDR mode is optimized for RTS games.
NOTE
- HDR content may not display correctly depending on Windows 10 OS settings, please check HDR On/Off settings in Windows.
- When the HDR function is turned on, the characters or picture quality may be poor according to Graphic card performance.
- While the HDR function is on, screen flickering or cracking may occur when changing the monitor input or power on/off according to Graphic card performance.
[Settings] [Picture] [Picture Adjust]
- [Brightness]: Adjusts the brightness of the screen.
- [Contrast]: Adjusts the contrast of the screen.
- [Sharpness]: Adjusts the sharpness of the screen.
- [SUPER RESOLUTION+]: Because this is a function to increase the sharpness of low resolution pictures, it is not recommended to use the function for normal text or for desktop icons. Doing so may result in unnecessarily high sharpness.
- [High]: Optimizes the screen for crystal clear images. Best for high-definition video or games.
- [Middle]: Optimizes the screen for comfortable viewing, with images at the middle level between the low and high modes. Best for UCC or SD videos.
- [Low]: Optimizes the screen for smooth and natural images. Best for still images or images with less movement.
- [Off]: Displays in the most common setting. Disables [SUPER RESOLUTION+].
- [Black Level]: Sets the offset level (for HDMI only).
- Offset: as a reference for a video signal, this is the darkest color the monitor can display.
- [High]: Keeps the current contrast ratio of the screen.
- [Low]: Lowers the black levels and raises the white levels from the current contrast ratio of the screen.
- [DFC]
- [On]: Adjusts the brightness automatically according to the screen.
- [Off]: Disables the [DFC] feature.
[Settings] [Picture] [Game Adjust]
- [Response Time]: Sets a response time for displayed pictures based on the movement of the picture on the screen. For a normal environment, it is recommended that you use [Fast]. When there is a lot of motion, it is recommended that you use [Faster]. Setting to [Faster] may cause image sticking.
- [Faster]: Sets the response time to faster.
- [Fast]: Sets the response time to fast.
- [Normal]: Sets the response time to normal.
- [Off]: Does not use the response time improvement feature.
- [FreeSync]: Provides seamless and natural images by synchronizing the vertical frequency of the input signal with that of the output signal.
- [On]: [FreeSync] function on.
- [Off]: [FreeSync] function off.
- [Black Stabilizer]: You can control the black contrast to have better visibility in dark scenes. Increasing the [Black Stabilizer] value brightens the low gray level area on the screen. (You can easily distinguish objects on dark game screens.) Reducing the [Black Stabilizer] value darkens the low gray level area and increases the dynamic contrast on the screen.
CAUTION
- [FreeSync]
- Supported Interface: ,
- Supported Graphic Card: A graphic card that supports AMD’s FreeSync is necessary.
- Supported Version: Make sure to update the graphic card to the latest driver.
- For more information and requirement, refer to AMD website at http://www.amd.com/FreeSync.
[Settings] [Picture] [Color Adjust]
- [Gamma]:
- [Mode 1], [Mode 2], [Mode 3]: The higher the gamma value, the darker the image becomes. Likewise, the lower the gamma value, the lighter the image becomes.
- [Mode 4]: If you do not need to adjust the gamma settings, select [Mode 4].
- [Color Temp]: Set your own color temperature.
- [Custom]: The user can adjust it to red, green, or blue by customization.
- [Warm]: Sets the screen color to a reddish tone.
- [Medium]: Sets the screen color between a red and blue tone.
- [Cool]: Sets the screen color to a bluish tone.
- [Manual]: The user can fine-tune the color temperature.
- [Red], [Green], [Blue]: You can customize the picture color using [Red], [Green], and [Blue] colors.
- [Six Color]: Meets the user requirements for colors by adjusting the hue and saturation of the six colors (red, green, blue, cyan, magenta, and yellow) and then saving the settings.
- Hue: Adjusts the tone of the screen colors.
- Saturation: Adjusts the saturation of the screen colors. The lower the value, the less saturated and brighter the colors become. The higher the value, the more saturated and darker the colors become.
Settings] [Picture] [Picture Reset]
- [Do you want to reset your picture settings?]
- [Yes]: Returns to the default settings.
- [No]: Cancel the select.
Sound
[Settings] [Sound]
- [Volume]: Adjusts the volume level.
- You can adjust [Mute] / [Unmute] by moving the joystick button to in the [Volume] menu.
- [Waves MaxxAudio®]
- [On]: MaxxAudio® by waves, recipient of a Technical GRAMMY Award® is a suite of studio-quality sound tools for a superior listening experience.
- [Off]: Disables the [Waves MaxxAudio®] function.
General
[Settings] [General]
- [Language]: Sets the menu screen to the desired language.
- [SMART ENERGY SAVING]: Conserve energy by using luminance compensation algorithm.
- [High]: Saves energy using the high-efficiency [SMART ENERGY SAVING] feature.
- [Low]: Saves energy using the low-efficiency [SMART ENERGY SAVING] feature.
- [Off]: Disables the feature.
- [Power LED]: Turns the power LED on the front of the monitor [On] or [Off].
- On mode: White
- Sleep mode: White Blinking
- Off mode: Off
- [Automatic Standby]: Feature that automatically turns off the monitor when there is no movement on the screen for a period of time. You can set a timer for the auto-off function. ([Off], [4H], [6H], and [8H])
- [DisplayPort Version]: Set DisplayPort Version to the same version as the connected external device. ([1.4], [1.2], [1.1]) To use the HDR function, set to [1.4].
- [Buzzer]: This feature lets you set the sound generated from Buzzer when your monitor powers on.
- [OSD Lock]: This feature disables the configuration and adjustment of menus.
- [On]: Enables [OSD Lock].
- [Off]: Disables [OSD Lock].
NOTE
- The menus except the menus below are disabled.
- [Brightness]
- [Contrast]
- [Volume]
- [Input List]
- [Aspect Ratio]
- [OSD Lock]
- [Information]
- [Deep Sleep Mode]: When [Deep Sleep Mode] is [On], power consumption is minimized while the monitor is in standby mode.
- [On]: Enables [Deep Sleep Mode].
- [Off]: Disables [Deep Sleep Mode].
- [Information]: The following display information will be shown; [Total Power On Time], [Resolution].
- [Settings] [General] [Reset to Initial Settings]
- [Do you want to reset your settings?]
- [Yes]: Returns to the default settings.
- [No]: Cancel the reset.
NOTE
- The value of energy saving data may differ depending on panel and panel suppliers.
- If you select the option of [SMART ENERGY SAVING] is [High] or [Low], monitor luminance become higher or lower depend on source.
- USB HUB functions will not work in standby mode while [Deep Sleep Mode] is enabled in standby mode.
TROUBLESHOOTING
- Nothing is displayed on the screen.
- Is the monitor’s power cord plugged in?
- Check if the power cord is correctly plugged into the power outlet.
- Is the power LED on?
- Check the power cable connection and press the power button.
- Is the power on and the power LED displaying white?
- Check that the connected input is enabled ([Settings] [Input]).
- Is the [No Signal] message being displayed?
- This is displayed when the signal cable between the PC and the monitor is missing or disconnected. Check the cable and reconnect it.
- Is the [Out of Range] message being displayed?
- This occurs when signals transferred from the PC (graphics card) are out of the horizontal or vertical frequency range of the monitor. Please see the “PRODUCT SPECIFICATION” section of this manual to set the appropriate frequency.
- Screen display is unstable and shaky. / Images displayed on the monitor leave shadow trails.
- Did you select the appropriate resolution?
- If the selected resolution is HDMI 1080i 60/50 Hz (interlaced), the screen may be flickering. Change the resolution to 1080p or the recommended resolution.
- Not setting the graphics card to the recommended (optimal) resolution may result in blurred text, a dimmed screen, a truncated display area or misalignment of the display.
- The setting methods may be different depending on the computer or operating system, and some resolutions may not be available depending on the performance of the graphics card. If this is the case, contact the manufacturer of the computer or graphics card for assistance.
- Does image sticking occur even when the monitor is turned off?
- Displaying a still image for a prolonged time may cause damage to the screen, resulting in the retention of the image.
- To extend the lifetime of the monitor, use a screensaver.
- Are there spots on the screen?
- When using the monitor, pixilated spots (red, green, blue, white, or black) may appear on the screen. This is normal for an LCD screen. It is not an error, nor is it related to the monitor’s performance. Some features are disabled.
- Are some functions not available when you press the Menu button?
- The OSD is locked. Disable [OSD Lock] in [General].
- Do you see an “Unrecognized monitor, Plug and Play (VESA DDC) monitor found” message?
- Have you installed the display driver?
- Be sure to install the display driver from our web site: http://www.lg.com.
- Make sure to check if the graphics card supports Plug and Play function. No sound from the headphone port.
- Are images displayed without sound?
- Make sure that the headphone port connections are made properly.
- Try increasing the volume with the joystick.
- Set the audio output of the PC to the monitor you are using. (The settings may differ depending on the operating system (OS) you use.)
PRODUCT SPECIFICATION
Specifications are subject to change without notice. Color Depth: 10-bit color is supported. Resolution
- Max Resolution: 2560 x 1440 @ 75 Hz
- Recommended Resolution: 2560 x 1440 @ 60 Hz
- AC/DC Adapter
- Model: ACC-LATP1
- Manufacturer: Shenzhen Honor Electronic Co.,Ltd.
- Input: 100-240 V ~50/60 Hz 3.0 A
- Output: 19.5 V 10.8 A
- Environmental Conditions
- Operating Conditions
- Temperature: 0 °C to 40 °C (32 °F to 104 °F)
- Humidity: Less than 80 %
- Storing Conditions
- Temperature: -20 °C to 60 °C (-4 °F to 140 °F)
- Humidity: Less than 85 %
- Dimensions: Monitor Size (Width x Depth x Height)
- With Stand:
- 714.3 x 470 x 635.5 (mm)
- 28.1 x 18.5 x 25.0 (inches)
- Without Stand:
- 714.3 x 45.7 x 420.1 (mm)
- 28.1 x 1.7 x 16.5 (inches)
- Weight (Without Packaging)
- With Stand: 11.0 kg (24.2 lbs)
- Without Stand: 6.5 kg (14.3 lbs)
- Power Sources
- Power Rating: 19.5 V 8.0 A
- Power Consumption
- Operating Mode: 40 W (Typical)*
- Sleep Mode (Standby Mode): ≤ 0.5 W
- Off Mode: ≤ 0.3 W The Operating Mode of Power Consumption is measured with LGE test standard. (Full White pattern,
- Maximum resolution)
- The Power Consumption level can be different by operating condition and monitor setting
Support Mode
(Preset Mode, DisplayPort / USB-C)
| Resolution | Horizontal Frequency (kHz) | Vertical Frequency (Hz) | Polarity (H/V) | Remarks |
| 640 x 480 | 31.469 | 59.94 | -/- | |
| 800 x 600 | 37.879 | 60.317 | +/+ | |
| 1024 x 768 | 48.363 | 60 | -/- | |
| 1152 x 864 | 54.347 | 60.05 | +/+ | |
| 1280 x 720 | 45.00 | 60.00 | +/+ | |
| 1280 x 800 | 49.702 | 59.810 | -/+ | |
| 1280 x 1024 | 63.981 | 60.02 | +/+ | |
| 1600 x 900 | 60.00 | 60.00 | +/+ | |
| 1920 x 1080 | 67.5 | 60 | +/- | |
| 2560 x 1440 | 88.79 | 59.95 | +/- | |
| 2560 x 1440 | 111.86 | 74.97 | +/- |
(Preset Mode, HDMI)
| Resolution | Horizontal Frequency (kHz) | Vertical Frequency (Hz) | Polarity (H/V) | Remarks |
| 640 x 480 | 31.469 | 59.94 | -/- | |
| 800 x 600 | 37.879 | 60.317 | +/+ | |
| 1024 x 768 | 48.363 | 60 | -/- | |
| 1152 x 864 | 54.347 | 60.05 | +/+ | |
| 1280 x 720 | 45.00 | 60.00 | +/+ | |
| 1280 x 800 | 49.702 | 59.810 | -/+ | |
| 1280 x 1024 | 63.981 | 60.02 | +/+ | |
| 1600 x 900 | 60.00 | 60.00 | +/+ | |
| 1920 x 1080 | 67.5 | 60 | +/- | |
| 2560 x 1440 | 88.79 | 59.95 | +/- | |
| 2560 x 1440 | 110.95 | 74.96 | +/- |
HDMI Timing (Video)
| Resolution | Horizontal Frequency (kHz) | Vertical Frequency (Hz) |
| 480p | 31.5 | 60 |
| 720p | 45 | 60 |
| 1080p | 67.5 | 60 |
| 2160p | 67.5 | 30![]() ![]() ![]() ![]() |
Beep Guide
| Menu | Location | Menu | Location | Menu | Location | |||
| Quick Settings | 1 | Input – Aspect Ratio – Original | 2 2 2 | Picture – Picture Adjust – SUPER RESOLUTION+ – Off | 3 2 4 4 | |||
| Quick Settings – Brightness | 1 1 | Input – Aspect Ratio – Just Scan | 2 2 3 | Picture – Picture Adjust – Black Level | 3 2 5 | |||
| Quick Settings – Brightness | 1 1 1 Slider | Picture | 3 | Picture – Picture Adjust – Black Level – High | 3 2 5 1 | |||
| Quick Settings – Contrast | 1 2 | |||||||
| Picture – Picture Mode | 3 1 | Picture – Picture Adjust – Black Level – Low | 3 2 5 2 | |||||
| Quick Settings – Contrast | 1 2 1 Slider | |||||||
| Picture – Picture Mode – Custom | 3 1 1 | Picture – Picture Adjust – DFC | 3 2 6 | |||||
| Quick Settings – Volume | 1 3 | |||||||
| Picture – Picture Mode – Vivid | 3 1 2 | Picture – Picture Adjust – DFC – On | 3 2 6 1 | |||||
| Quick Settings – Volume | 1 3 1 Slider | |||||||
| Picture – Picture Mode – HDR Effect | 3 1 3 | Picture – Picture Adjust – DFC – Off | 3 2 6 2 | |||||
| Quick Settings – Color Temp | 1 4 | |||||||
| Picture – Picture Mode – Reader | 3 1 4 | Picture – Game Adjust | 3 3 | |||||
| Quick Settings – Color Temp – Custom | 1 4 1 | |||||||
| Picture – Picture Mode – Cinema | 3 1 5 | Picture – Game Adjust – Response Time | 3 3 1 | |||||
| Quick Settings – Color Temp – Warm | 1 4 2 | |||||||
| Picture – Picture Mode – FPS | 3 1 6 | Picture – Game Adjust – Response Time – Faster | 3 3 1 1 | |||||
| Quick Settings – Color Temp – Medium | 1 4 3 | |||||||
| Picture – Picture Mode – RTS | 3 1 7 | Picture – Game Adjust – Response Time – Fast | 3 3 1 2 | |||||
| Quick Settings – Color Temp – Cool | 1 4 4 | |||||||
| Picture – Picture Mode – Color Weakness | 3 1 8 | Picture – Game Adjust – Response Time – Normal | 3 3 1 3 | |||||
| Quick Settings – Color Temp – Manual | 1 4 5 | |||||||
| Picture – Picture Adjust | 3 2 | Picture – Game Adjust – Response Time – Off | 3 3 1 4 | |||||
| Quick Settings – Color Temp – Manual | 1 4 5 1 Slider | |||||||
| Picture – Picture Adjust – Brightness | 3 2 1 | Picture – Game Adjust – FreeSync | 3 3 2 | |||||
| Quick Settings – Waves MaxxAudio® | 1 5 | |||||||
| Picture – Picture Adjust – Brightness | 3 2 1 1 Slider | Picture – Game Adjust – FreeSync – On | 3 3 2 1 | |||||
| Quick Settings – Waves MaxxAudio® – On | 1 5 1 | |||||||
| Picture – Picture Adjust – Contrast | 3 2 2 | Picture – Game Adjust – FreeSync – Off | 3 3 2 2 | |||||
| Quick Settings – Waves MaxxAudio® – Off | 1 5 2 | |||||||
| Picture – Picture Adjust – Contrast | 3 2 2 1 Slider | Picture – Game Adjust – Black Stabilizer | 3 3 3 | |||||
| Input | 2 | |||||||
| Picture – Picture Adjust – Sharpness | 3 2 3 | Picture – Game Adjust – Black Stabilizer | 3 3 3 1 Slider | |||||
| Input – Input List | 2 1 | |||||||
| Picture – Picture Adjust – Sharpness | 3 2 3 1 Slider | Picture – Color Adjust | 3 4 | |||||
| Input – Input List – HDMI1 | 2 1 1 | |||||||
| Picture – Picture Adjust – SUPER RESOLUTION+ | 3 2 4 | Picture – Color Adjust – Gamma | 3 4 1 | |||||
| Input – Input List – HDMI2 | 2 1 2 | |||||||
| Picture – Picture Adjust – SUPER RESOLUTION+ – High | 3 2 4 1 | Picture – Color Adjust – Gamma – Mode 1 | 3 4 1 1 | |||||
| Input – Input List – DisplayPort | 2 1 3 | |||||||
| Picture – Color Adjust – Gamma – Mode 2 | 3 4 1 2 | |||||||
| Input – Input List – USB-C | 2 1 4 | Picture – Picture Adjust – SUPER RESOLUTION+ – Middle | 3 2 4 2 | |||||
| Picture – Color Adjust – Gamma – Mode 3 | 3 4 1 3 | |||||||
| Input – Aspect Ratio | 2 2 | |||||||
| Picture – Color Adjust – Gamma – Mode 4 | 3 4 1 4 | |||||||
| Picture – Picture Adjust – SUPER RESOLUTION+ – Low | 3 2 4 3 | |||||||
| Input – Aspect Ratio – Full Wide | 2 2 1 | |||||||
| Picture – Color Adjust – Color Temp | 3 4 2 | |||||||
| Menu | Location | Menu | Location | Menu | Location | |||
| Picture – Color Adjust – Color Temp – Custom | 3 4 2 1 | Picture – Color Adjust – Six Color – Cyan Hue | 3 4 6 7 1 Slider | General – Language – French | 5 1 3 | |||
| Picture – Color Adjust – Color Temp – Warm | 3 4 2 2 | Picture – Color Adjust – Six Color – Cyan Saturation | 3 4 6 8 | General – Language – Spanish | 5 1 4 | |||
| Picture – Color Adjust – Color Temp – Medium | 3 4 2 3 | Picture – Color Adjust – Six Color – Cyan Saturation | 3 4 6 8 1 Slider | General – Language – Italian | 5 1 5 | |||
| Picture – Color Adjust – Color Temp – Cool | 3 4 2 4 | Picture – Color Adjust – Six Color – Magenta Hue | 3 4 6 9 | General – Language – Swedish | 5 1 6 | |||
| Picture – Color Adjust – Color Temp – Manual | 3 4 2 5 | Picture – Color Adjust – Six Color – Magenta Hue | 3 4 6 9 1 Slider | General – Language – Finnish | 5 1 7 | |||
| Picture – Color Adjust – Color Temp – Manual | 3 4 2 5 1 Slider | Picture – Color Adjust – Six Color – Magenta Saturation | 3 4 6 10 | General – Language – Portuguese | 5 1 8 | |||
| Picture – Color Adjust – Red | 3 4 3 | General – Language – Portuguese (Brazil) | 5 1 9 | |||||
| Picture – Color Adjust – Six Color – Magenta Saturation | 3 4 6 10 1 Slider | |||||||
| Picture – Color Adjust – Red | 3 4 3 1 Slider | General – Language – Polish | 5 1 10 | |||||
| Picture – Color Adjust – Green | 3 4 4 | General – Language – Russian | 5 1 11 | |||||
| Picture – Color Adjust – Six Color – Yellow Hue | 3 4 6 11 | |||||||
| Picture – Color Adjust – Green | 3 4 4 1 Slider | General – Language – Greek | 5 1 12 | |||||
| Picture – Color Adjust – Six Color – Yellow Hue | 3 4 6 11 1 Slider | |||||||
| Picture – Color Adjust – Blue | 3 4 5 | General – Language – Ukrainian | 5 1 13 | |||||
| Picture – Color Adjust – Blue | 3 4 5 1 Slider | Picture – Color Adjust – Six Color – Yellow Saturation | 3 4 6 12 | General – Language – Chinese | 5 1 14 | |||
| Picture – Color Adjust – Six Color | 3 4 6 | Picture – Color Adjust – Six Color – Yellow Saturation | 3 4 6 12 1 Slider | General – Language – Traditional Chinese | 5 1 15 | |||
| Picture – Color Adjust – Six Color – Red Hue | 3 4 6 1 | General – Language – Japanese | 5 1 16 | |||||
| Picture – Picture Reset | 3 5 | |||||||
| Picture – Color Adjust – Six Color – Red Hue | 3 4 6 1 1 Slider | General – Language – Korean | 5 1 17 | |||||
| Picture – Picture Reset – Yes | 3 5 1 | |||||||
| Picture – Color Adjust – Six Color – Red Saturation | 3 4 6 2 | General – Language – Hindi | 5 1 18 | |||||
| Picture – Picture Reset – No | 3 5 2 | |||||||
| Picture – Color Adjust – Six Color – Red Saturation | 3 4 6 2 1 Slider | General – SMART ENERGY SAVING | 5 2 | |||||
| Sound | 4 | |||||||
| Picture – Color Adjust – Six Color – Green Hue | 3 4 6 3 | General – SMART ENERGY SAVING – High | 5 2 1 | |||||
| Sound – Volume | 4 1 | |||||||
| Picture – Color Adjust – Six Color – Green Hue | 3 4 6 3 1 Slider | General – SMART ENERGY SAVING – Low | 5 2 2 | |||||
| Sound – Volume | 4 1 1 Slider | |||||||
| Picture – Color Adjust – Six Color – Green Saturation | 3 4 6 4 | General – SMART ENERGY SAVING – Off | 5 2 3 | |||||
| Sound – Waves MaxxAudio® | 4 2 | |||||||
| Picture – Color Adjust – Six Color – Green Saturation | 3 4 6 4 1 Slider | General – Power LED | 5 3 | |||||
| Sound – Waves MaxxAudio® – On | 4 2 1 | |||||||
| Picture – Color Adjust – Six Color – Blue Hue | 3 4 6 5 | General – Power LED – On | 5 3 1 | |||||
| Sound – Waves MaxxAudio® – Off | 4 2 2 | |||||||
| Picture – Color Adjust – Six Color – Blue Hue | 3 4 6 5 1 Slider | General – Power LED – Off | 5 3 2 | |||||
| General | 5 | |||||||
| Picture – Color Adjust – Six Color – Blue Saturation | 3 4 6 6 | General – Automatic Standby | 5 4 | |||||
| General – Language | 5 1 | |||||||
| Picture – Color Adjust – Six Color – Blue Saturation | 3 4 6 6 1 Slider | General – Automatic Standby – 8H | 5 4 1 | |||||
| General – Language – English | 5 1 1 | |||||||
| Picture – Color Adjust – Six Color – Cyan Hue | 3 4 6 7 | General – Automatic Standby – 6H | 5 4 2 | |||||
| General – Language – German | 5 1 2 | |||||||
| Menu | Location |
| General – Automatic Standby – 4H | 5 4 3 |
| General – Automatic Standby – Off | 5 4 4 |
| General – DisplayPort Version | 5 5 |
| General – DisplayPort Version – 1.4 | 5 5 1 |
| General – DisplayPort Version – 1.2 | 5 5 2 |
| General – DisplayPort Version – 1.1 | 5 5 3 |
| General – Buzzer | 5 6 |
| General – Buzzer – On | 5 6 1 |
| General – Buzzer – Off | 5 6 2 |
| General – OSD Lock | 5 7 |
| General – OSD Lock – On | 5 7 1 |
| General – OSD Lock – Off | 5 7 2 |
| General – Deep Sleep Mode | 5 8 |
| General – Deep Sleep Mode – On | 5 8 1 |
| General – Deep Sleep Mode – Off | 5 8 2 |
| General – Information | 5 9 |
| General – Information | 5 9 1 |
| General – Reset to Initial Settings | 5 10 |
| General – Reset to Initial Settings – Yes | 5 10 1 |
| General – Reset to Initial Settings – No | 5 10 2 |
































