
Black Electric Single Motor Desk Frame with Rear-Set Legs
Instruction Manual

SKU: DESK-100E-RB
DESK-100E-RB Black Electric Single Motor Desk Frame
Scan the QR code with your mobile device or follow the link for helpful videos and specifications related to this product.
https://vivo-us.com/products/desk-100e-rb

GET IN TOUCH | Monday-Friday from 7:00am-7:00pm CST
| [email protected] | www.vivo-us.com Chat live with an agent! | 309-278-5303 |
WARNING!
If you do not understand these directions, or if you have any doubts about the safety of the installation, please call a qualified technician. Check carefully to make sure there are no missing or defective parts. Improper installation may cause damage or serious injury. Do not use this product for any purpose that is not explicitly specified in this manual and do not exceed weight capacity. We cannot be liable for damage or injury caused by improper mounting, incorrect assembly, or inappropriate use.
ELECTRICAL SAFETY INSTRUCTIONS
THIS PRODUCT IS POWERED BY ELECTRICITY. IN ORDER TO AVOID BURNS, FIRE AND ELECTRIC SHOCK, PLEASE READ THE FOLLOWING INSTRUCTIONS CAREFULLY.
- DO NOT CLEAN PRODUCT WHILE POWER IS CONNECTED.
- DO NOT DISASSEMBLE OR REPLACE COMPONENTS WHILE POWER IS CONNECTED.
- NEVER OPERATE THE SYSTEM WITH A DAMAGED CORD OR PLUG. PLEASE CONTACT YOUR SELLER TO REPLACE DAMAGED PARTS.
- NEVER OPERATE SYSTEM IN DAMP ENVIRONMENTS OR IF ANY ELECTRICAL COMPONENTS HAVE MADE CONTACT WITH LIQUIDS.
- ALTERATIONS OF THE GIVEN POWER UNIT ARE NOT ALLOWED.
- OUTDOOR USE IS PROHIBITED.
WARNING: CHOKING HAZARD
SMALL PARTS – NOT FOR CHILDREN UNDER 3 YEARS. ADULT SUPERVISION IS REQUIRED.
PACKAGE CONTENTS


NOTE: x2 extras of each screw size have been included.
DO NOT EXCEED WEIGHT CAPACITY.
TOOLS NEEDED

ASSEMBLY STEPS
STEP 1
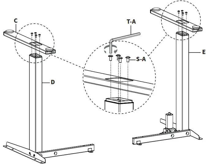
Attach Left Crossbar (A) to Leg (D) and Right Crossbar (B) to Motorized Leg (E) using M6x11mm Screws (S-A) and 5mm Allen Wrench (T-A).

Connect Left Side Bracket (F) to Leg (D), and Right Side Bracket (G) to Motorized Leg (E) using M6x11mm Screws (S-A) and 5mm Allen Wrench (T-A).

STEP 2
Install Feet (C) to Leg (D) and Motorized Leg (E) using M6x11mm Screws (S-A) and 5mm Allen Wrench (T-A).
Note: Feet should extend in the same direction of side brackets.

STEP 3
Insert Crossbar (H) into Left Crossbar (A) and Right Crossbar (B). Adjust the desk frame assembly to the desired length and then insert M6x11mm Screws (S-A) into Left Crossbar (A) and Right Crossbar (B). Tighten using 5mm Allen Wrench (T-A).

STEP 4
Loosen the nut on Sync Rod (I) and insert the hex rod end into Leg (D). While holding the hex end, pull the larger rod out until the connector engages with Motorized Leg (E). Tighten the set screw on Sync Rod (I) using 2mm Allen Wrench (T-B), then tighten the nut.

Insert Rubber Pads (M) into desktop mounting holes in Left Crossbar (A), Right Crossbar (B), and Left and Right Side Brackets (E, F).

STEP 6
Place the assembled frame upside down on the tabletop. Adjust width as needed. If not using a VIVO desktop with pre-drilled holes, drill 10mm deep pilot holes using a 1/8” (3mm) drill bit. Secure the frame to the tabletop using M5x16mm Screws (S-B). Tighten with a Phillips screwdriver.
Place Control Panel (J) at the desired location, making sure the cable from Motorized Leg (E) is able to reach the Control Panel (J). If not using a VIVO desktop with pre-drilled holes, mark drilling locations, and drill 10mm deep pilot holes using a 1/8” (3mm) drill bit. Mount Control Panel (J) using M5x16mm Screws (S-B). Tighten all screws with a Phillips screwdriver.

STEP 7
Connect AC Adapter (K) and cables from Motorized Leg (E) to Control Panel (J), as shown below. Turn the desk right side up and plug AC Adapter (K) into an AC power outlet. Manage cables using Cable Clips (M). Refer to Controller User Guide for operational instructions.

CAUTION!
| Keep area of vertical motion free of obstacles. | Keep weight on desk balanced for correct operation and longer life of components. | Leave enough slack in cables to allow for full range of vertical motion. |
Failure to follow these instructions may result in property damage and/or personal injury.
Love your new VIVO setup and want to share?
Tag us in your photo! @vivo_us
Open Monday – Friday 7:00am – 7:00pm CST,
our dedicated support team can offer immediate assistance with rapid response times. If any parts are received damaged or defective, please contact us. We are happy to replace parts to ensure you have a fully functioning product.
| AVG. RESOLUTION TIME (within office hrs): 5M 4S | |
Chat live with an agent! | AVG. RESOLUTION TIME (within office hrs): < 15 M |
| AVG. RESPONSE TIME (within office hrs): 1HR 8M – 23% within < 15m – 38% within < 30m – 61% within < 1hr – 83% within < 2hr – 92% within < 3hr |
FOR MORE VIVO PRODUCTS, CHECK OUT OUR WEBSITE AT: www.vivo-us.com
LAST UPDATED: 10/20/2022
REV1









