SATO CL4NX Plus Rotary Cutter Kit Installation Manual

This Installation Manual explains how to install Rotary Cutter Kit (hereafter referred to as “the product”). Read the restrictions and precautions when installing.
For details on how to use Rotary Cutter Kit and how to use and operate CL4NX Plus setting items, see CL4NX Plus web manual “Operator Manual”.

Safety Precautions
This section describes how to use the product safely. Be sure to read the following information carefully before using the product.
Pictographic Symbols
This installation manual uses a variety of pictographic symbols. These symbols emphasize the safe and correct use of the product and to prevent injury to others and property damage. The explanation of the symbols is as follows. Be sure to understand these symbols well before you read the main text.


Precautions on Installation and Handling
- For details on the restrictions and precautions on installation of CL4NX Plus, see the CL4NX Plus web manual “Operator Manual”.
- The product works with 1.12.0 version firmware build or later. Check the firmware version shown on the [Information] Menu > [Build Version] screen of CL4NX Plus. Contact your SATO reseller or technical support for availability of the latest firmware.
Accessories

- Cutter unit
- Cover
- Bracket
- Relay PCB
- Cutter cable
- Installation Manual (this document)
- Screws
a. Screws for fixing the Relay PCB (2 pcs)
b. Screws for fixing the bracket (3 pcs)
c. Screws for fixing the cutter unit (2 pcs)
d. Black screws for fixing the cover (2 pcs)
Required tool
- Phillips screwdriver (JIS #2 or equivalent)
Installing the Cutter Unit
1. Make sure that the CL4NX Plus is powered off and disconnect the power cord from the AC outlet.
2.Open the top cover and push the head lock lever towards the rear to unlock the print head.
Tip
Open the top cover fully to prevent accidental drop of the cover.
3. Remove the front covers of CL4NX Plus.
- Remove the two screws.
- Slide out in the direction of the arrow to remove the right and left front covers.

4. Connect the relay PCB to the CL4NX Plus and fix it with screws (a).
![]()
Discharge static electricity through a metal object before touching the relay PCB. Failure to do so can damage the relay PCB.
- Pull out the option cable from the CL4NX Plus.

- Attach the supplied cutter cable to the relay PCB.
- Attach the option cable pull out from the CL4NX Plus to the relay PCB.
Tip
If the option cable has a heat shrink tube, remove the heat shrink tube first.
Be sure not to cut or damage the cable when you cut the heat shrink tube. - Insert the relay PCB with the cables attached in to the CL4NX Plus as shown in the figure.

- Screw onto the board in two places.

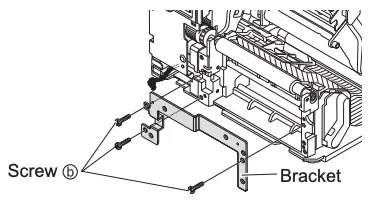
5. Attach the bracket to the CL4NX Plus with screws (b) (three places).

6. Connect the cutter cable of the relay PCB to the cutter unit.
Tip
If it is difficult to connect the cutter cable, remove the protective cover. After connecting, be sure to reattach the protective cover.

7. Align the cutter unit and fix it with screws (c).
- As shown in the figure, pass the cables through the groove of the bracket and press lightly.

- Insert the projection of the cutter unit into the hole of the bracket attached to CL4NX Plus to locate the cutter unit to the appropriate position.

- Fix the cutter unit in four places with two screws (c) and two other screws of the cutter unit.

8. Attach the cover.
- Hook the right side of the cover onto the CL4NX Plus.
- Push the left side of the cover toward the CL4NX Plus.
- Slide the cover to the left.

- Secure the cover with the two screws (d).

Configuring CL4NX Plus
To print using the cutter, select [Cutter] or [Cut & Print] on the [Print Mode] menu of the CL4NX Plus.
See the CL4NX Plus web manual “Operator Manual” for details.


























