makita SG150 Diamond Cutters Instruction Manual
Imprint
Version: V01 / 2015-02
Copyright:
Makita, Jan-Baptist Vinkstraat 2, 3070, Belgium
It is prohibited to forward or reproduce this document or to exploit and disclose its contents, unless expressly permitted. Any infringements will result in liability to pay compensation for damages.
All rights reserved in case of patent, utility model or design registration.
This instruction manual has been prepared with the greatest possible care. Nonetheless, MAKITA does not accept any liability whatsoever for possible errors in this instruction manual and their consequences. Equally, no liability whatsoever is accepted for direct or consequential damage or losses resulting from improper use of the machine.
The national health and safety regulations and the requirements of this instruction manual are to be observed when using the machine.
All product names and brand names used are the property of the holder and are not explicitly marked as such.
Subject to change without notice.
About this instruction manual
This instruction manual contains all important information necessary for safe handling of the diamond cutter.
The diamond cutter is also referred to as the “tool” or “machine” in this instruction manual.
Figure references
References to figures, which are located at the beginning of the instruction manual are displayed in the text with this symbol 1 (here, for example, the reference is to Figure number 1).
Important information
Read the instruction manual
Before starting any work with or on the tool, this instruction manual, the safety instructions and the warnings must be read through carefully and observed.
Always keep this instruction manual together with the equipment.
An approved half-mask with filter must be worn!
Symbols used in the instruction manual
DANGER
“DANGER” indicates an imminent hazard, which will result in immediate death or severe physical injuries.
- This arrow indicates appropriate measures to avert the pending hazard.
WARNING
“WARNING” indicates an imminent hazard, which could result in death or severe physical injuries.
- This arrow indicates appropriate measures to avert the pending hazard.
CAUTION
“CAUTION” indicates an imminent hazard, which can result in minor or moderate physical injuries or damage to property.
- This arrow indicates appropriate measures to avert the pending hazard.
NOTE
“NOTE” indicates use recommendations and helpful tips.
Safety notes
General Power Tool Safety Warnings
WARNING
Read all safety warnings and all instructions.
Failure to follow the warnings and instructions may result in electric shock, fire and/or serious injury.
Save all warnings and instructions for future reference.
The term “power tool” in the warnings refers to your mainsoperated (corded) power tool or batteryoperated (cordless) power tool.
Workplace safety
- Keep work area clean and well lit.
Cluttered or dark areas invite accidents. - Do not operate power tools in explosive atmospheres, such as in the presence of flammable liquids, gases or dust.
Power tools create sparks which may ignite the dust or fumes. - Keep children and bystanders away while operating a power tool.
Distractions can cause you to lose control.
electrical safety
- Power tool plugs must match the outlet.
never modify the plug in any way. Do not use any adapter plugs with earthed (grounded) power tools.
Unmodified plugs and matching outlets will reduce risk of electric shock. - Avoid body contact with earthed or grounded surfaces, such as pipes, radiators, ranges and refrigerators.
There is an increased risk of electric shock if your body is earthed or grounded. - Do not expose power tools to rain or wet conditions.
Water entering a power tool will increase the risk of electric shock. - Do not abuse the cord. never use the cord for carrying, pulling or unplugging the power tool. Keep cord away from heat, oil, sharp edges and moving parts.
Damaged or entangled cords increase the risk of electric shock. - When operating a power tool outdoors, use an extension cord suitable for outdoor use.
Use of a cord suitable for outdoor use reduces the risk of electric shock. - If operating a power tool in a damp location is unavoidable, use a residual current device (rCD) protected supply.
Use of an RCD reduces the risk of electric shock.
Personal safety
- Stay alert, watch what you are doing and use common sense when operating a power tool.
Do not use a power tool while you are tired or under the influence of drugs, alcohol or medication.
A moment of inattention while operating power tools may result in serious personal injury. - Use personal protective equipment. Always wear eye protection.
Protective equipment such as dust mask, non-skid safety shoes, hard hat, or hearing protection used for appropriate conditions will reduce personal injuries. - Prevent unintentional starting. ensure the switch is in the off-position before connecting to power source and/or battery pack, picking up or carrying the tool.
Carrying power tools with your finger on the switch or energising power tools that have the switch on invites accidents. - remove any adjusting key or wrench before turning the power tool on.
A wrench or a key left attached to a rotating part of the power tool may result in personal injury. - Do not overreach. Keep proper footing and balance at all times.
This enables better control of the power tool in unexpected situations. - Dress properly. Do not wear loose clothing or jewellery. Keep your hair, clothing and gloves away from moving parts.
Loose clothes, jewellery or long hair can be caught in moving parts. - If devices are provided for the connection of dust extraction and collection facilities, ensure these are connected and properly used.
Use of dust collection can reduce dust-related hazards.
Power tool use and care
- Do not force the power tool. Use the correct power tool for your application.
The correct power tool will do the job better and safer at the rate for which it was designed. - Do not use the power tool if the switch does not turn it on and off.
Any power tool that cannot be controlled with the switch is dangerous and must be repaired. - Disconnect the plug from the power source and/or the battery pack from the power tool before making any adjustments, changing accessories, or storing power tools.
Such preventive safety measures reduce the risk of starting the power tool accidentally. - Store idle power tools out of the reach of children and do not allow persons unfamiliar with the power tool or these instructions to operate the power tool.
Power tools are dangerous in the hands of untrained users. - Maintain power tools. Check for misalignment or binding of moving parts, breakage of parts and any other condition that may affect the power tool’s operation.
If damaged, have the power tool repaired before use.
Many accidents are caused by poorly maintained power tools. - Keep cutting tools sharp and clean.
Properly maintained cutting tools with sharp cutting edges are less likely to bind and are easier to control. - Use the power tool, accessories and tool bits etc. in accordance with these instructions, taking into account the working conditions and the work to be performed.
Use of the power tool for operations different from those intended could result in a hazardous situation.
Service
- Have your power tool serviced by a qualified repair person using only identical replacement parts.
This will ensure that the safety of the power tool is maintained.
Safety Instructions for abrasive cutting-off operations
Cut-off machine safety warnings
- The guard provided with the tool must be securely attached to the power tool and positioned for maximum safety, so the least amount of wheel is exposed towards the operator. Position yourself and bystanders away from the plane of the rotating wheel.
The guard helps to protect operator from broken wheel fragments and accidental contact with wheel. - Use only diamond cut-off wheels for your power tool.
Just because an accessory can be attached to your power tool, it does not assure safe operation. - The rated speed of the accessory must be at least equal to the maximum speed marked on the power tool.
Accessories running faster than their rated speed can break and fly apart. - Wheels must be used only for recommended applications. For example: do not grind with the side of cut-off wheel.
Abrasive cut-off wheels are intended for peripheral grinding, side forces applied to these wheels may cause them to shatter. - Always use undamaged wheel flanges that are of correct diameter for your selected wheel.
Proper wheel flanges support the wheel thus reducing the possibility of wheel breakage. - The outside diameter and the thickness of your accessory must be within the capacity rating of your power tool.
Incorrectly sized accessories cannot be adequately guarded or controlled. - The arbour size of wheels and flanges must properly fit the spindle of the power tool.
Wheels and flanges with arbour holes that do not match the mounting hardware of the power tool will run out of balance, vibrate excessively and may cause loss of control. - Do not use damaged wheels. Before each use, inspect the wheels for chips and cracks. If power tool or wheel is dropped, inspect for damage or install an undamaged wheel. After inspecting and installing the wheel, position yourself and bystanders away from the plane of the rotating wheel and run the power tool at maximum no load speed for one minute.
Damaged wheels will normally break apart during this test time. - Wear personal protective equipment.
Depending on application, use face shield, safety goggles or safety glasses.
As appropriate, wear dust mask, hearing protectors, gloves and shop apron capable of stopping small abrasive or workpiece fragments.
The eye protection must be capable of stopping flying debris generated by various operations.
The dust mask or respirator must be capable of filtrating particles generated by your operation.
Prolonged exposure to high intensity noise may cause hearing loss. - Keep bystanders a safe distance away from work area. Anyone entering the work area must wear personal protective equipment.
Fragments of workpiece or of a broken wheel may fly away and cause injury beyond immediate area of operation. - Hold the power tool by insulated gripping surfaces only, when performing an operation where the cutting accessory may contact hidden wiring or its own cord.
Cutting accessory contacting a “live” wire may make exposed metal parts of the power tool “live” and could give the operator an electric shock. - Position the cord clear of the spinning accessory.
If you lose control, the cord may be cut or snagged and your hand or arm may be pulled into the spinning wheel. - never lay the power tool down until the accessory has come to a complete stop.
The spinning wheel may grab the surface and pull the power tool out of your control. - Do not run the power tool while carrying it at your side.
Accidental contact with the spinning accessory could snag your clothing, pulling the accessory into your body. - regularly clean the power tool’s air vents.
The motor’s fan will draw the dust inside the housing and excessive accumulation of powdered metal may cause electrical hazards. - Do not operate the power tool near flammable materials. Sparks could ignite these materials.
- Do not use accessories that require liquid coolants.
Using water or other liquid coolants may result in electrocution or shock.
Kickback and related warnings
Kickback is a sudden reaction to a pinched or snagged rotating wheel. Pinching or snagging causes rapid stalling of the rotating wheel which in turn causes the uncontrolled power tool to be forced in the direction opposite of the wheel’s rotation at the point of the binding.
For example, if an abrasive wheel is snagged or pinched by the workpiece, the edge of the wheel that is entering into the pinch point can dig into the surface of the material causing the wheel to climb out or kick out. The wheel may either jump toward or away from the operator, depending on direction of the wheel’s movement at the point of pinching.
Abrasive wheels may also break under these conditions.
Kickback is the result of power tool misuse and/or incorrect operating procedures or conditions and can be avoided by taking proper precautions as given below.
- Maintain a firm grip on the power tool and position your body and arm to allow you to resist kickback forces. Always use auxiliary handle, if provided, for maximum control over kickback or torque reaction during start-up.
The operator can control torque reactions or kickback forces, if proper precautions are taken. - never place your hand near the rotating accessory.
Accessory may kickback over your hand. - Do not position your body in line with the rotating wheel.
Kickback will propel the tool in direction opposite to the wheel’s movement at the point of snagging. - Use special care when working corners, sharp edges, etc. Avoid bouncing and snagging the accessory.
Corners, sharp edges or bouncing have a tendency to snag the rotating accessory and cause loss of control or kickback. - Do not attach a saw chain, woodcarving blade, segmented diamond wheel with a peripheral gap greater than 10 mm or toothed saw blade.
Such blades create frequent kickback and loss of control. - Do not “jam” the wheel or apply excessive pressure. Do not attempt to make an excessive depth of cut.
Overstressing the wheel increases the loading and susceptibility to twisting or binding of the wheel in the cut and the possibility of kickback or wheel breakage. - When wheel is binding or when interrupting a cut for any reason, switch off the power tool and hold the power tool motionless until the wheel comes to a complete stop.
never attempt to remove the wheel from the cut while the wheel is in motion otherwise kickback may occur.
Investigate and take corrective action to eliminate the cause of wheel binding. - Do not restart the cutting operation in the workpiece. Let the wheel reach full speed and carefully re-enter the cut.
The wheel may bind, walk up or kickback if the power tool is restarted in the workpiece. - Support panels or any oversized workpiece to minimize the risk of wheel pinching and kickback.
Large workpieces tend to sag under their own weight. Supports must be placed under the workpiece near the line of cut and near the edge of the workpiece on both sides of the wheel. - Use extra caution when making a “pocket cut” into existing walls or other blind areas.
The protruding wheel may cut gas or water pipes, electrical wiring or objects that can cause kickback.
Additional safety warnings
Operating personnel requirements
- People below the age of 16 may not use the machine.
- The operating personnel must be familiar with the content of this instruction manual.
Workplace safety
- Before chasing in load-bearing walls, consult the responsible structural engineer, architects or the site supervisors.
- Secure the work area also behind openings and cutouts.
Unsecured work areas can endanger you and other people. - Watch out for open and concealed electricity cables, and water and gas pipes. Use suitable detectors to find concealed utility pipes and cables, or contact the local utility company for advice.
Contact with electricity cables can cause fires and an electric shock. Damage to a gas pipe can cause an explosion. Penetrating a water pipe causes damage to property or could cause an electric shock. - Avoid causing situations where other people can stumble or trip.
Tripping over cables can cause serious injuries. - Secure the workpiece.
A workpiece securely held in clamping devices or a vice is more safely held than in the hand. - Avoid dust accumulation in the workplace.
Dusts can easily ignite. - ensure adequate ventilation in closed rooms.
Risk due to dust and impaired vision. - Dust from materials such as coatings containing lead, several types of wood, minerals and metals can be harmful to health and cause allergic reactions, respiratory diseases and/or cancer.
Asbestos-containing material may only be machined by specialists.- Wherever possible, use a dust extractor suitable for the material you are working on (e.g. a special MAKITA dust extractor).
- Ensure the workplace is properly ventilated.
- We recommend wearing a face mask respirator with filter class P2 or P3 (to
EN 149:2001).
Observe the relevant regulations in your country for the materials to be machined.
Electrical safety
- Before each use, check the power tool, connection cable and plug for damage.
Damaged equipment is dangerous, and no longer safe to use. - note the mains voltage! The power source voltage must match the details given on the rating plate of the power tool.
- If using the power tool with mobile generators, loss of power or atypical behaviour on switching on is possible.
- Do not use the power tool if the cable is damaged. Do not touch the damaged cable and disconnect the mains plug if the cable is damaged while you are working.
Damaged cables increase the risk of an electric shock. - Only use extension cables suitable for the machine’s power consumption and which have a minimum core cross-section of 1.5 mm2 . If you use a cable drum, always completely unwind the cable.
The rolled up cable can heat up and start to burn. - external electromagnetic interference (e.g. mains voltage fluctuations, electrostatic discharges) can cause the power tool to switch off automatically.
In this case, switch off the power tool and then switch it back on again.
Safety of people
- Wear personal protective equipment and, depending on the work situation, use:
Full-face protection, eye protection or safety glasses/goggles, hard hat and special apron
Protect yourself against debris thrown up by wearing a hard hat, safety goggles or face protection and wear an apron, if necessary.
Hearing protection
The typical A-weighted sound pressure level of this power tool is over 85 dB (A) while working with the tool.
If you are exposed to loud noise for lengthy periods, there is a risk of hearing damage or even hearing loss.
Anti-vibration safety glove
At a release value A (8) for arm-hand vibrations of over 2.5 m/s2 , the wearing of anti-vibration safety gloves is recommended.
Non-slip safety footwear
Dust mask, half-face filter mask or face mask respirator
Inhaling fine mineral dust can cause health damage. We recommend wearing a face mask respirator with filter class P2 or P3 (to EN 149:2001).
Working with diamond dry-cutting discs is a grinding process in which extremely fine dust is produced. When cutting materials containing quartz there is a very high risk of silicosis; the machine should therefore only be used in conjunction with a suitable dust extractor (e.g. a special MAKITA dust extractor). - If the machine is switched on, do not direct insert tools towards your own or other people’s bodies. Do not touch or take hold of the tools.
Hazards when using and handling the power tool
- When switching on and while working with the power tool, hold onto it tightly at both handles and place your body and arms in a position in which they can absorb the kickback forces or reaction torque on starting up. Always put the machine down firmly on both rollers.
The person using the tool can control the kickback and reaction forces by taking suitable precautions. - Change insert tools carefully and only use the mounting tools provided, if they are in perfect condition. Disconnect the mains plug before changing the insert tool.
Use of the mounting tool provided prevents damage to the power tool and insert tool. - After fitting the diamond dry-cutting discs, before switching on, check that the diamond dry-cutting discs are fitted correctly and can rotate freely. ensure that the diamond drycutting discs do not touch the protective hood or other parts.
- Do not expose power tools to extreme heat or cold.
Mechanical and electrical damage can occur during extreme heat and/or cold. - Allow the insert tools, tool holders and other parts cool in the immediate vicinity of the work area after use.
The equipment can be very hot after use. Do not touch or grip the parts. Risk of injury. - Additional signs or other, non MAKITA- specific parts may not be screwed or riveted onto the motor, handle, gearbox or protective housing.
This could damage the power tool and cause malfunctions to occur. - Avoid unnecessary noise emissions.
- note and follow the safety and work instructions for the accessories used.
Service / Maintenance / repair
- If the power tool is dropped or becomes wet, have it checked.
A possibly damaged power tool is dangerous and no longer safe to operate. Have the power tool checked by our customer service department or a workshop authorised by MAKITA before further use. - repair and maintenance work may only be carried out by a workshop authorised by MAKITA.
Otherwise all liability and warranty claims against MAKITA expire. - ensure that, where necessary, only MAKITA spare parts and original MAKITA accessories are used.
Original parts are available from authorised dealers. Use of non original parts can cause damage to the machine and an increased risk of accidents. - regular servicing by MAKITA or a servicing and repair firm authorised by MAKITA is a specified requirement.
Many accidents are caused by poorly serviced and maintained power tools.
Explanation of the pictograms on the diamond channel cutter
The CE mark on a product means that the product conforms with all the applicable
European regulations and has been subjected to the prescribed conformity assessment procedures.
Protection class II equipment
The machine is insulated in such a way that it has no exposed metal parts that could be live in the event of a fault. It does not have a protective earth conductor.
Environmentally friendly disposal of waste equipment
Waste equipment contains valuable recyclable materials which should be reused or recycled. Batteries, lubricants and similar materials must not be allowed to get into the environment.
Therefore, please dispose of waste equipment through suitable collection systems.
Wear hearing protection!
The typical A-weighted sound pressure level of this power tool is over 85 dB (A)
– wear ear protectors when working with the tool!
Wear protective equipment!
Read the instruction manual!
Before starting any work with or on the machine, this instruction manual, the safety instructions and the warnings must be read through carefully and observed.
Technical Characteristics
Technical specifications
| Diamond channel cutter type | SG150 | SG180 |
| Manufacturer | MAKITA INTERNATIONAL EUROPE LTD. | |
| Operating voltage (V / Hz) | ~230 / 50 / 60 | |
| Power consumption (watt) | 1800 | 1800 |
| Protection class | / II | / II |
| Speed (min-1) | 7800 | 4100 |
| Disc diameter (mm) | 150 | 185 |
| Max. disc thickness (mm) | 3.5 | 3.5 |
| Cutting width (mm) | 7 – 35 | 9 – 43 |
| Cutting depth (mm) | 7 – 45 | 15 – 60 |
| Weight (kg) Machine 1) | 5.6 | 6.6 |
| Cutting disc | 0.220 | 0.380 |
| Speed electronics | Yes | Yes |
| Sound measurement 2) LpA (sound pressure) dB (A) K = 3 dB | ||
| 95 | 99 | |
| LWA (sound power) dB (A) | 106 | 110 |
| Vibration measurement: 3) Front handle (11) 1 m / s2 K = 1.5 m / s2 | ||
| 2.79 | 2.11 | |
| Rear handle (2) 1 m / s2 | 3.73 | 3.24 |
- Weight without insert tool and connection cable.
- Measured values for noise determined according to EN 60745. Wear hearing protection!
- Total vibration values (vector sum in three directions) determined according to EN 60745.
The vibration emission values given in this instruction manual have been measured according to a method of measurement standardised in EN 60745 and can be used for comparison between power tools. They are also suitable for a preliminary estimate of the vibratory stresses.
The vibration emission values given represent the main applications of the power tool. If the power tool is used for other applications, with different insert tools or are insufficiently serviced, this can significantly increase the vibratory stresses over the whole work period. For a precise estimate of the vibration emission values, the times during which the tool is switched off or is running but not actually in use should also be taken into account. This can reduce the vibration stresses over the whole work period significantly.
WARNING
Health risk due to vibrations.
- Additional safety measures should be taken to protect the user, e.g. wearing anti-vibration protective gloves, correct maintenance of power tools and insert tools, keeping hands warm and good organisation of work sequences.
EC Declaration of Conformity
Makita declares that the following
Machine(s):
Designation of Machine: Diamond Cutter
Model No. / Type: SG150, SG180
Conforms to the following
european Directives:
2006 / 42 / EC
2014 / 30 / EC
2011 / 65 / EC
They are manufactured in accordance with
the following standard or standardized
documents:
EN60745
The Technical file in accordance with
2006 / 42 / EC is available from:
Makita,
Jan-Baptist Vinkstraat 2, 3070, Belgium
02.02.2015
Yasushi Fukaya
Director
Makita, Jan-Baptist Vinkstraat 2, 3070, Belgium
Machine characteristics
The machines are equipped with specially developed electronics. It monitors the speed and the green / red indicator lights (items 13 and 14, see Figure 1 ) help to achieve the most favourable work progress and therefore tool-protecting working conditions.
Visual display
Green: Speed for optimum cutting performance
Red: Speed too low – stopping
If this warning signal is ignored, i.e. the feed is not reduced, the electronics switch off on overload.
After the diamond dry-cutting discs have stopped, remove them from the chase. The machine can be restarted immediately.
Machine parts and controls
(See Figure 1 ) 
- ON / OFF switch
- Handle
- Rear roller
- Nozzle for dust extractor hose connection
- Rotation direction arrow
- Washer
- Hexagonal screw (left-hand thread)
- Diamond dry-cutting disc
- Protective hood
- Front roller
- Front handle
- Green LED
- Red LED
1 Working direction
Intended use
The diamond cutters listed in this instruction manual are only approved for dry cutting in masonry (brick, lime-sand blocks, undressed stone) and concrete.
They must not be used for wet cutting or for cuts in metal, glass, wood, etc.
- Observe the relevant regulations in your country for the materials to be machined.
- The diamond cutters are only approved for use together with a dust extractor, which is suitable for stone dust (e.g. MAKITA Special Dust Extractor).
WARNING
Risk of injury due to cracking and breaking of the diamond dry-cutting disc (bits of disc flying around).
- Diamond dry-cutting discs are designed for straight cuts.
If used to cut curves the diamond dry-cutting disc becomes deformed which causes internal cracks and segments to break off.
- Do not expose diamond dry-cutting discs to lateral pressure.
- Never use diamond dry-cutting discs for rough grinding
Before Starting work
To ensure safe working with the diamond cutter, the following points must be observed before each use:
- Read through all safety instructions and warnings in this instruction manual.
- Wear protective clothing such as hard hat, hearing protection or safety goggles, safety gloves and if necessary an apron.
- The voltage on the rating plate must be identical with the mains voltage.
- Before using the machine, always check the connection cable and plug.
- Connect a suitable dust extractor (e.g. MAKITA special dust extractor).
WARNING
Risk of injury due to cracking and breaking of the diamond dry-cutting discs.
- Only use diamond dry-cutting discs whose
allowable speed is at least as high as the highest no-load speed of the diamond cutter, and follow the manufacturer’s instructions on fitting and using the diamond dry-cutting discs. - Only use diamond dry-cutting discs recommended for the respective area of use by MAKITA.
- Only use diamond dry-cutting discs approved for dual cutting.
- Note and follow the information and instructions on handling diamond dry-cutting discs (see page 74).
- Always note the dimension of the diamond drycutting discs. The hole diameter must tightly fit on the drive shaft (Ø 22.2 mm) without any clearance.
- Do not use reducers or adaptors to fit the diamond dry-cutting discs.
- Before starting work, check the diamond drycutting discs for perfect fit and check that they are properly fastened.
Operation and Control
Fit or replace diamond drycutting discs
If the diamond cutter is used with two or several diamond dry-cutting discs they should be swapped over occasionally to ensure uniform wear. Unevenly worn diamond dry-cutting discs should not be used together.
The diamond cutter can also be used with only one diamond dry-cutting disc.
Fitting and changing the diamond drycutting discs for:
- 2 Place the first diamond dry-cutting disc (1) on the drive shaft (3).

- 3 Note the rotational direction arrow on the housing (6) and the diamond dry-cutting disc (9).

- 2 Place spacer discs (5) on the drive shaft (3) depending on the required chase width.
- 2 Place the second diamond dry-cutting disc (1) on the drive shaft (3).
- 3 Note the rotational direction arrow on the housing (6) and the diamond dry-cutting disc (9).
This fitting step is omitted the tool is used with one diamond dry-cutting disc only. - 2 Place all the remaining spacer discs (5) on the drive shaft (3). The drive shaft (3) must still protrude, so that the washer (2) can be centred.
NOTE
The hole in the washer is off-centre.
- 2 / 3 Push on the washer (2). Match the thread of the drive shaft (3) with the hole in the washer (2).
NOTE
The hexagonal head screw has a left-hand thread.
- 2 / 3 Use the hexagon head screw (4) to screw the washer (2) onto the drive shaft (3) (left-hand thread).
- 3 Use an open-ended spanner size SW13 (8) to tighten (10 Nm) the screw, at the same time use the hook wrench (2) to hold the washer (7).
- Check the fit of the diamond dry-cutting discs.
The diamond dry-cutting discs must be fitted as described above and must be able to rotate freely
NOTE
If the diamond dry-cutting discs do not fit tightly, a further 2 mm spacer disc must be fitted under the washer.
WARNING
Risk of injuries due to cracking and breaking of the diamond dry-cutting disc (bits of disc flying around), caused by damaged, untrue running or vibrating diamond dry-cutting discs.
- During the trial run of the machine, hold the diamond dry-cutting discs away from your body and do not touch or grip them.
Damaged, untrue running or vibrating diamond dry-cutting discs must be replaced immediately. - Carry out a trial run of at least 30 seconds without load.
Adjust cutting depth


- 4 / 5 Use an open-ended spanner size SQ13 to undo the hexagon nut (1) on the protective hood (2).
- 4 / 5 Turn the protective hood (2) to adjust the cutting depth (3).
- 4 / 5 Tighten the hexagon nut (1).
Connect dust extractor

- Check the dust extractor to ensure that it is working properly.
- 6 Push the dust extractor hose (3) firmly onto the nozzle (2) of the protective hood (1).
NOTE
The nozzle (2) is designed to fit the suction hose (3) of a MAKITA special dust extractor.
6 When the suction hose (3) is cold, a good deal of effort is required to push it onto the nozzle (2) of the diamond cutter
Switch on the diamond cutter and cut

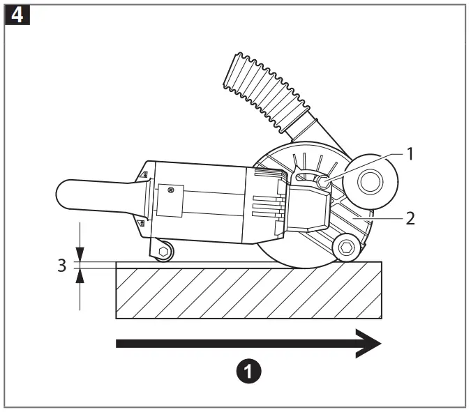
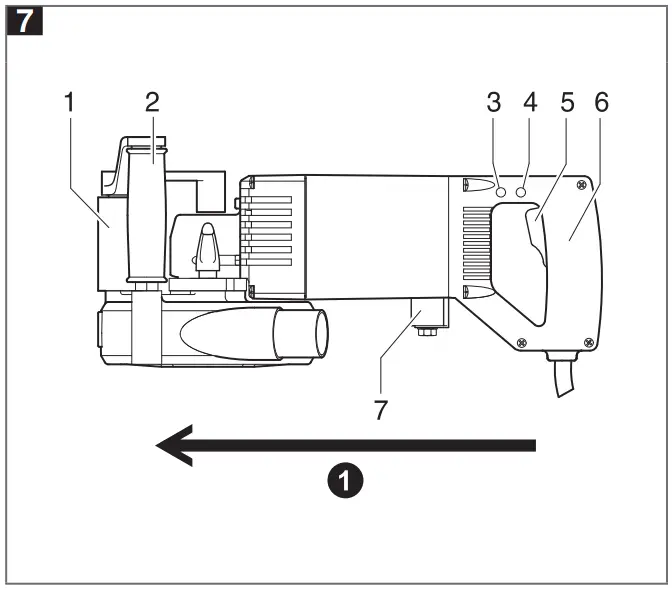
- 7 Always hold the diamond cutter tightly with both hands on the handles (2) / (6).
- 7 Position the front roller (1) on the wall – the diamond dry-cutting discs must not touch the wall.
- 7 Switch on the diamond cutter at the switch
(5) and wait until the working speed has been reached – the green LED (3) lights up. - 7 Plunge the diamond dry-cutting discs uniformly into the wall – the green LED (3) must not go out.
- 7 As soon as the rear roller (7) touches the wall, the diamond cutter can be pushed in the direction of the planned chase.
- 1 / 7 Working direction 1 of the diamond cutter.
CAUTION
The diamond dry-cutting disc can become blunt or damaged due to overheating. An overheated (blue tarnished) diamond dry-cutting disc can usually no longer be resharpened.
- The feed can only be as high as the diamond dry-cutting disc can wear away the material.
Therefore, do not exert too large a force on the diamond dry-cutting discs and avoid canting.
Note and follow the information and instructions on handling diamond dry-cutting discs (see page 74).
7 If the feed is too fast, the red LED (4) lights up. Then, reduce the feed immediately until the green LED (3) lights up again.
If this warning signal is ignored, i.e. the feed is not reduced, the electronics switch off on overload.
DANGER
Risk of injury due to uncontrolled kickback of the diamond cutter, caused by canting of the diamond cutter in the cut chase.
- Always wait for the diamond dry-cutting discs to stop completely before removing the diamond cutter from the cut chase.
The cutting process can then be started and continued as described above (see “Chap. 5.4 Switch on the diamond cutter and cut”).
NOTE
The diamond cutter also switches off if the diamond dry-cutting disc has insufficient cutting power. In this case, check whether you have chosen the correct diamond driy-cutting disc for the relevant use.
Note and follow the information and instructions on handling diamond dry-cutting discs (see page 74).
Finish cutting process
DANGER
Risk of injury due to uncontrolled kickback of the diamond cutter, caused by canting of the diamond cutter in the cut chase.
- Always wait for the diamond dry-cutting discs to stop completely before removing the diamond cutter from the cut chase.
- 7 Switch off the diamond cutter at the switch (5), wait until the diamond dry-cutting discs have completely stopped, and then remove the discs from the chase and put down the cutter.
CAUTION
Risk of breakage of diamond dry-cutting discs!
- Never use the diamond dry-cutting discs to break out the ridge of the chase.
- 8 Use a suitable tool to break out the ridge of the chase in the wall.

NOTE
Blunt diamond dry-cutting discs can be resharpened if necessary using suitable material.
Note and follow the information and instructions on handling diamond dry-cutting discs (see page 74).
Cleaning
DANGER
Risk of injury due to electric shock.
- Disconnect the mains plug before carrying outany work on the diamond channel cutter.
The machine must be cleaned after each cutting work session.
- Carefully clean the machine and blow out with compressed air.
- Ensure handles are dry and free from grease.
Maintenance
DANGER
Risk of injury due to electric shock.
- Disconnect the mains plug before carrying out any work on the diamond channel cutter.
The diamond channel cutter must be serviced at least once a year. Further, servicing will be necessary depending on the wear of the carbon brushes.
Only servicing and repair firms authorised by MAKITA may carry out maintenance of the machine.
At the same time, ensure that only original MAKITA spare parts and original MAKITA accessories are used.
Handling diamond drycutting discs
- Diamond dry-cutting discs must be stored, handled and fitted carefully in accordance with the manufacturer’s instructions.
- Too soft diamond segments:
- Diamond dry-cutting discs wear too quickly at very high removal rate. remedy: The material to be machined requires diamond dry-cutting discs with a harder bond.
- Too hard diamond segments:
- The diamond grains become blunt and do not break out of the bond. The diamond drycutting discs no longer have any cutting power.
remedy: The material to be machined requires diamond dry-cutting discs with a softer bond.
- The diamond grains become blunt and do not break out of the bond. The diamond drycutting discs no longer have any cutting power.
- In the event of loss in cutting power (recognisable by intensity of flying sparks) resharpen the diamond dry-cutting discs by making several cuts in abrasive material, e.g. sandstone.
- Work without applying pressure – the weight of the machine is sufficient. Increased pressure causes increased wear.
- Excessive cutting pressure can cause material fatigue in the base metal and therefore the formation of cracks. Before use, ensure that there are no cracks in the diamond dry-cutting disc.
- Diamond dry-cutting discs are designed for straight cuts. If used to cut curves the blade becomes deformed, causing internal cracks and segments to break off (see “Chap. 3.5 Intended use”) – risk of injury!
- The diamond cutter should plunge into the wall only after the working speed has been reached – green LED (3) lights up.
- After approx. 2 minutes of cutting time the machine should be run with no load for 10 seconds, so that the diamond dry-cutting discs can cool.
Disposal
Recycle the machine and its packaging in an environmentally friendly way in accordance with the provisions applicable in your country
Makita Corporation, Anjo, Aichi, Japan
Makita, Jan-Baptist Vinkstraat 2, 3070, Belgium
www.makita.com




















