makita M3700 Single-Handed Milling Cutter

SPECIFICATIONS
| Model: | M3700 |
| Collet chuck capacity | 6.35 mm (1/4″) or 6.0 mm |
| No load speed | 35,000 min-1 |
| Overall length | 199 mm |
| Net weight | 1.4 kg |
| Safety class | /II |
- Due to our continuing program of research and development, the specifications herein are subject to change without notice.
- Specifications may differ from country to country.
- Weight according to EPTA-Procedure 01/2003
Intended use
The tool is intended for flush trimming and profiling of wood, plastic and similar materials.
Power supply
The tool should be connected only to a power supply of the same voltage as indicated on the nameplate, and can only be operated on single-phase AC supply. They are double-insulated and can, therefore, also be used from sockets without earth wire.
Noise
The typical A-weighted noise level determined accord-ing to EN60745:
- Sound pressure level (LpA) : 83 dB(A)
- Sound power level (LWA) : 94 dB (A)
- Uncertainty (K) : 3 dB(A)
WARNING: Wear ear protection.
Vibration
The vibration total value (tri-axial vector sum) deter-mined according to EN60745:
- Work mode: rotation without load
- Vibration emission (ah) : 2.5 m/s2 or less Uncertainty (K) : 1.5 m/s2
NOTE: The declared vibration emission value has been measured in accordance with the standard test method and may be used for comparing one tool with another.
NOTE: The declared vibration emission value may also be used in a preliminary assessment of exposure.
WARNING: The vibration emission during actual use of the power tool can differ from the declared emission value depending on the ways in which the
tool is used.
WARNING:
Be sure to identify safety measures to protect the operator that are based on an estima-tion of exposure in the actual conditions of use (taking account of all parts of the operating cycle such as the times when the tool is switched off and when it is running idle in addition to the trigger time).
EC Declaration of Conformity
For European countries only
Makita declares that the following Machine(s): Designation of Machine: Trimmer
Model No./ Type: M3700
Conforms to the following European Directives:
2006/42/EC
They are manufactured in accordance with the following standard or standardized documents: EN60745
The technical file in accordance with 2006/42/EC is available from:
Makita, Jan-Baptist Vinkstraat 2, 3070, Belgium 17.8.2015
Yasushi Fukaya
Director
Makita, Jan-Baptist Vinkstraat 2, 3070, Belgium
General power tool safety warnings
WARNING:
Read all safety warnings and all instructions. Failure to follow the warnings and instructions may result in electric shock, fire and/or serious injury.
Save all warnings and instructions for future reference
The term “power tool” in the warnings refers to your mains-operated (corded) power tool or battery-operated (cordless) power tool.
Trimmer safety warnings
- Hold power tool by insulated gripping sur-faces, because the cutter may contact its own cord. Cutting a “live” wire may make exposed metal parts of the power tool “live” and shock the operator.
- Use clamps or another practical way to secure and support the workpiece to a stable plat-form. Holding the work by your hand or against the body leaves it unstable and may lead to loss of control.
- Wear hearing protection during extended period of operation.
- Handle the trimmer bits very carefully.
- Check the trimmer bit carefully for cracks or damage before operation. Replace cracked or damaged bit immediately.
- Avoid cutting nails. Inspect for and remove all nails from the workpiece before operation.
- Hold the tool firmly.
- Keep hands away from rotating parts.
- Make sure the trimmer bit is not contacting the workpiece before the switch is turned on.
- Before using the tool on an actual workpiece, let it run for a while. Watch for vibration or wobbling that could indicate improperly installed bit.
- Be careful of the trimmer bit rotating direction and the feed direction.
- Do not leave the tool running. Operate the tool only when hand-held.
- Always switch off and wait for the trimmer bit to come to a complete stop before removing the tool from workpiece.
- Do not touch the trimmer bit immediately after operation; it may be extremely hot and could burn your skin.
- Do not smear the tool base carelessly with thinner, gasoline, oil or the like. They may cause cracks in the tool base.
- Use trimmer bits of the correct shank diameter suitable for the speed of the tool.
- Some material contains chemicals which may be toxic. Take caution to prevent dust inhala-tion and skin contact. Follow material supplier safety data.
- Always use the correct dust mask/respirator for the material and application you are work-ing with.
SAVE THESE INSTRUCTIONS.
WARNING:
DO NOT let comfort or familiarity with product (gained from repeated use) replace strict adherence to safety rules for the subject product. MISUSE or failure to follow the safety rules stated in this instruction manual may cause serious personal injury.
FUNCTIONAL DESCRIPTION
CAUTION: Always be sure that the tool is switched off and unplugged before adjusting or checking function on the tool.
Adjusting trimmer bit protrusion
To adjust the bit protrusion, loosen the clamping screw and move the tool base up or down as desired. After adjusting, tighten the clamping screw firmly to secure the tool base. Fig.1:
- Base
- Scale
- Bit protrusion
- Clamping screw
Switch action
CAUTION: Before plugging in the tool, always be sure that the tool is switched off.
To start the tool, move the switch lever to the I position. To stop the tool, move the switch lever to the O position. Fig.2:
- Switch lever

CAUTION: Always be sure that the tool is switched off and unplugged before carrying out any work on the tool.
Installing or removing trimmer bit
- CAUTION: Do not tighten the collet nut without inserting a trimmer bit, or the collet cone will break.
- CAUTION: Use only the wrenches provided with the tool.
Insert the trimmer bit all the way into the collet cone and tighten the collet nut securely with the two wrenches. To remove the bit, follow the installation procedure in reverse. Fig.3:
- Loosen
- Tighten
- Hold

OPERATION
CAUTION: Always hold the tool firmly with one hand on housing. Do not touch the metal part.
CAUTION:
Since excessive cutting may cause overload of the motor or difficulty in controlling the tool, the depth of cut should not be more than 3 mm at a pass when cutting grooves. When you wish to cut grooves more than 3 mm deep, make several passes with progressively deeper bit settings.
- Set the tool base on the workpiece to be cut with-out the trimmer bit making any contact.
- Turn the tool on and wait until the trimmer bit attains full speed.
- Move the tool forward over the workpiece surface, keeping the tool base flush and advancing smoothly until the cutting is complete. Fig.4

When doing edge cutting, the workpiece surface should be on the left side of the trimmer bit in the feed direction. Fig.5:
- Workpiece
- Bit revolving direction
- View from the top of the tool
- Feed direction

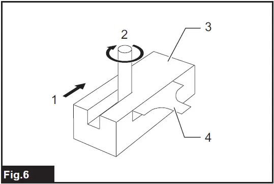
When using the straight guide or the trimmer guide, be sure to keep it on the right side in the feed direc-tion. This will help to keep it flush with the side of the workpiece. Fig.6:
- Feed direction
- Bit revolving direction
- Workpiece
- Straight guide

NOTE:
Moving the tool forward too fast may cause a poor quality of cut, or damage to the trimmer bit or motor. Moving the tool forward too slowly may burn and mar the cut. The proper feed rate will depend on the bit size, the kind of workpiece and depth of cut. Before beginning the cut on the actual workpiece, it is advisable to make a sample cut on a piece of scrap lumber. This will show exactly how the cut will look as well as enable you to check dimensions.
Templet guide
The templet guide provides a sleeve through which the trimmer bit passes, allowing use of the trimmer with templet patterns. Fig.7
- Loosen the clamping screw and then remove the guide holder and the chip deflector. Fig.8:
- Clamping screw
- Guide holder
- Chip deflector

- Loosen the screws and remove the base protector. Fig.9:
- Base protector
- Screws

- Place the templet guide on the base and replace the base protector. Then secure the base protector by tightening the screws.
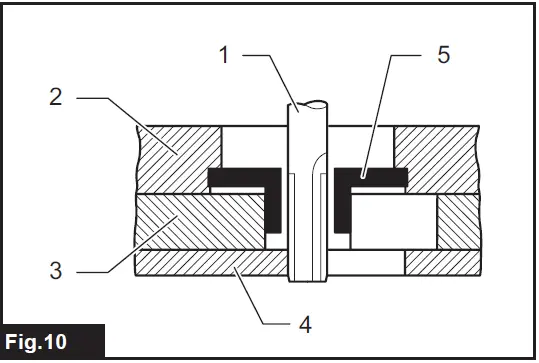
- Secure the templet to the workpiece. Place the tool on the templet and move the tool with the templet guide sliding along the side of the templet. Fig.10:
- Trimmer bit
- Base
- Templet
- Workpiece
- Templet guide

NOTE:
The workpiece will be cut a slightly different size from the templet. Allow for the distance (X) between the trimmer bit and the outside of the templet guide. The distance (X) can be calculated by using the following equation:
- Distance (X) = (outside diameter of the templet guide – trimmer bit diameter) / 2
Straight guide
Optional accessory
The straight guide is effectively used for straight cuts when chamfering or grooving. Fig.11
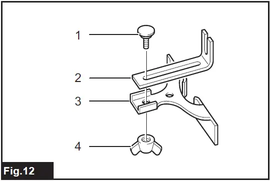
- Attach the guide plate to the straight guide with the bolt and the wing nut. Fig.12:
- Bolt
- Guide plate
- Straight guide
- Wing nut

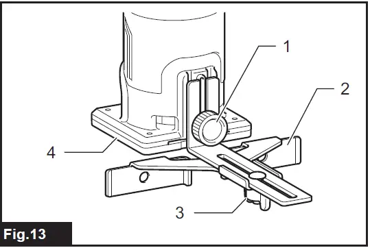
- Remove the guide holder and the chip deflector then attach the straight guide with the clamping screw. Fig.13:
- Clamping screw
- Straight guide
- Wing nut
- Base

- Loosen the wing nut on the straight guide and adjust the distance between the trimmer bit and the straight guide. At the desired distance, tighten the wing nut securely.
- When cutting, move the tool with the straight guide flush with the side of the workpiece.
If the distance (A) between the side of the workpiece and the cutting position is too wide for the straight guide, or if the side of the workpiece is not straight, the straight guide cannot be used. In this case, firmly clamp a straight board to the workpiece and use it as a guide against the trimmer base. Feed the tool in the direction of the arrow. Fig.14
Circular work
Circular work may be accomplished if you assemble the straight guide and guide plate. Minimum and maximum radius of circles to be cut (distance between the center of circle and the center of trimmer bit) are as follows:
- Mininum : 70 mm
- Maximum : 221 mm
For cutting circles between 70 mm and 121 mm in radius Fig.15:
- Wing nut
- Straight guide
- Guide plate
- Center hole
- Bolt
For cutting circles between 121 mm and 221 mm in radius Fig.16:
- Wing nut
- Straight guide
- Guide plate
- Center hole
- Bolt

NOTE: Circles between 172 mm and 186 mm in radius cannot be cut using this guide.
- Align the center hole in the straight guide with the center of the circle to be cut.
- Drive a nail less than 6 mm in diameter into the center hole to secure the straight guide.
- Pivot the tool around the nail in clockwise direction. Fig.17:
- Nail
- Center hole
- Straight guide

Trimmer guide
Trimming, curved cuts in veneers for furniture and the like can be done easily with the trimmer guide. The guide roller rides the curve and assures a fine cut. Fig.18
- Attach the chip deflector on the groove of the base.
- Install the trimmer guide and guide holder on the tool base with the clamping screw (A).
- Loosen the clamping screw (B) and adjust the distance between the trimmer bit and the trimmer guide by turning the adjusting screw (1 mm per turn). At the desired distance, tighten the clamping screw (B) to secure the trimmer guide in place. Fig.19:
- Adjusting screw
- Guide holder
- Trimmer guide
- Chip deflector
- When cutting, move the tool with the guide roller riding the side of the workpiece. Fig.20:
- Workpiece
- Trimmer bit
- Guide roller

MAINTENANCE
CAUTION:
Always be sure that the tool is switched off and unplugged before attempting to perform inspection or maintenance.
NOTICE:
Never use gasoline, benzine, thinner, alcohol or the like. Discoloration, deformation or cracks may result.
Replacing carbon brushes
Fig.21: 1. Limit mark
Check the carbon brushes regularly.
Replace them when they wear down to the limit mark. Keep the carbon brushes clean and free to slip in the holders. Both carbon brushes should be replaced at the same time. Use only identical carbon brushes.
- Use a screwdriver to remove the brush holder caps.
- Take out the worn carbon brushes, insert the new ones and secure the brush holder caps.
Fig.22: 1. Brush holder cap
To maintain product SAFETY and RELIABILITY, repairs, any other maintenance or adjustment should be performed by Makita Authorized or Factory Service Centers, always using Makita replacement parts.
OPTIONAL ACCESSORIES
CAUTION:
These accessories or attachments are recommended for use with your Makita tool specified in this manual. The use of any other accessories or attachments might present a risk of injury to persons. Only use accessory or attachment for its stated purpose.
If you need any assistance for more details regard-ing these accessories, ask your local Makita Service Center.
NOTE:
Some items in the list may be included in the tool package as standard accessories. They may differ from country to country.
Trimmer bits
Straight bit Fig.23
Unit:mm
| D | A | L1 | L2 |
| 6 | 20 | 50 | 15 |
| 1/4″ | |||
| 6 | 8 | 50 | 18 |
| 1/4″ | |||
| 6 | 6 | 50 | 18 |
| 1/4″ |
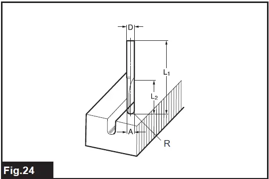
U-grooving bit Fig.24
Unit:mm
| D | A | L1 | L2 | R |
| 6 | 6 | 60 | 28 | 3 |
| 1/4″ |
V-grooving bit Fig.25
Unit:mm
| D | A | L1 | L2 | θ |
| 1/4″ | 20 | 50 | 15 | 90° |
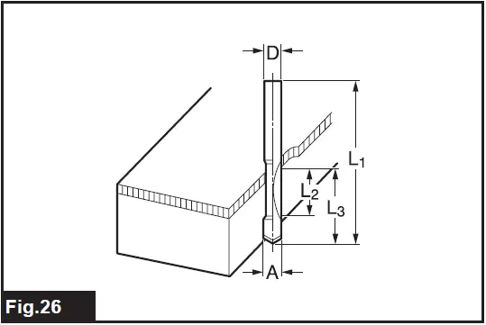
Drill point flush trimming bit Fig.26
Unit:mm
| D | A | L1 | L2 | L3 |
| 6 | 6 | 60 | 18 | 28 |
| 1/4″ |
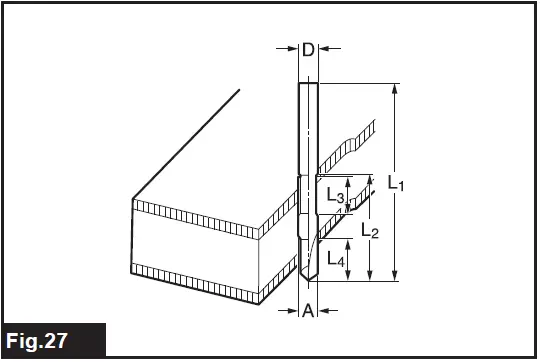
Drill point double flush trimming bit Fig.27
Unit:mm
| D | A | L1 | L2 | L3 | L4 |
| 6 | 6 | 70 | 40 | 12 | 14 |
| 1/4″ |
Corner rounding bit Fig.28

Unit:mm
| D | A1 | A2 | L1 | L2 | L3 | R |
| 6 | 25 | 9 | 48 | 13 | 5 | 8 |
| 1/4″ | ||||||
| 6 | 20 | 8 | 45 | 10 | 4 | 4 |
| 1/4″ |
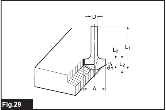
Chamfering bit Fig.29

Unit:mm
| D | A | L1 | L2 | L3 | θ |
| 6 | 23 | 46 | 11 | 6 | 30° |
| 6 | 20 | 50 | 13 | 5 | 45° |
| 6 | 20 | 49 | 14 | 2 | 60° |
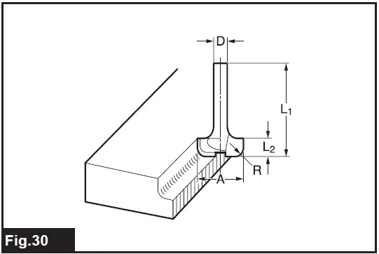
Cove beading bit Fig.30

Unit:mm
| D | A | L1 | L2 | R |
| 6 | 20 | 43 | 8 | 4 |
| 6 | 25 | 48 | 13 | 8 |
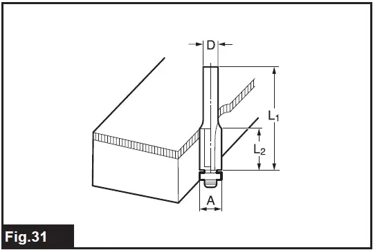
Ball bearing flush trimming bit Fig.31

Unit:mm
| D | A | L1 | L2 |
| 6 | 10 | 50 | 20 |
| 1/4″ |
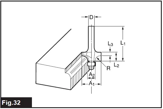
Ball bearing corner rounding bit Fig.32

Unit:mm
| D | A1 | A2 | L1 | L2 | L3 | R |
| 6 | 15 | 8 | 37 | 7 | 3.5 | 3 |
| 6 | 21 | 8 | 40 | 10 | 3.5 | 6 |
| 1/4″ | 21 | 8 | 40 | 10 | 3.5 | 6 |
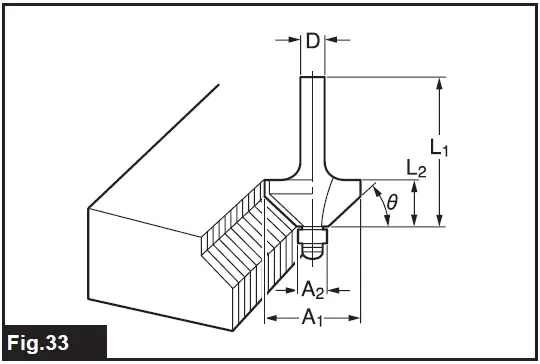
Ball bearing chamfering bit Fig.33

Unit:mm
| D | A1 | A2 | L1 | L2 | θ |
| 6 | 26 | 8 | 42 | 12 | 45° |
| 1/4″ | |||||
| 6 | 20 | 8 | 41 | 11 | 60° |
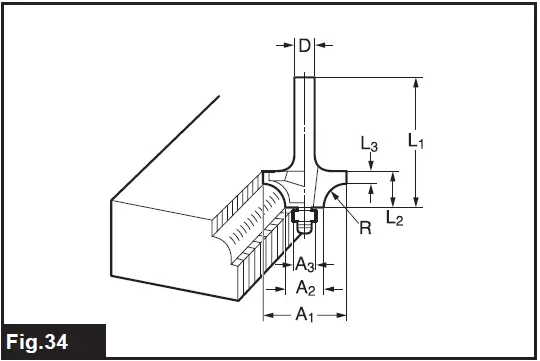
Ball bearing beading bit Fig.34

Unit:mm
| D | A1 | A2 | A3 | L1 | L2 | L3 | R |
| 6 | 20 | 12 | 8 | 40 | 10 | 5.5 | 4 |
| 6 | 26 | 12 | 8 | 42 | 12 | 4.5 | 7 |
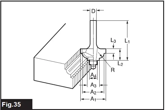
Ball bearing cove beading bit Fig.35

Unit:mm
| D | A1 | A2 | A3 | A4 | L1 | L2 | L3 | R |
| 6 | 20 | 18 | 12 | 8 | 40 | 10 | 5.5 | 3 |
| 6 | 26 | 22 | 12 | 8 | 42 | 12 | 5 | 5 |
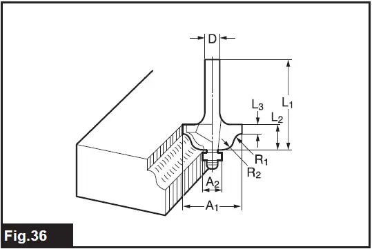
Ball bearing roman ogee bit Fig.36

Unit:mm
| D | A1 | A2 | L1 | L2 | L3 | R1 | R2 |
| 6 | 20 | 8 | 40 | 10 | 4.5 | 2.5 | 4.5 |
| 6 | 26 | 8 | 42 | 12 | 4.5 | 3 | 6 |
Makita Jan-Baptist Vinkstraat 2, 3070, Belgium Makita Corporation Anjo, Aichi, Japan. www.makita.com.
885478-979
EN, PL, HU, SK,
CS, UK, RO, DE
20151002.
































