makita M2401 Portable Cut Off Saw

SPECIFICATIONS
| Model: | M2401 |
| Wheel diameter | 355 mm |
| Max. wheel thickness | 3 mm |
| Hole diameter | 25.4 mm |
| No load speed | 3,900 min-1 |
| Dimensions (L x W x H) | 515 mm x 280 mm x 640 mm |
| Net weight | 15.3 kg |
| Safety class | /II |
- Due to our continuing program of research and development, the specifications herein are subject to change without notice.
- Specifications may differ from country to country.
- Weight according to EPTA-Procedure 01/2014
- The shape and weight vary depending on the specifications which differ country to country.
Intended use
The tool is intended for cutting in ferrous materials with appropriate abrasive cut-off wheel. Follow all laws and regulations regarding dust and work area health and safety in your country.
Power supply
The tool should be connected only to a power supply of the same voltage as indicated on the nameplate, and can only be operated on single-phase AC supply. They are double-insulated and can, therefore, also be used from sockets without earth wire.
For public low-voltage distribution systems of between 220 V and 250 V
Switching operations of electric apparatus cause voltage fluctuations. The operation of this device under unfavorable mains conditions can have adverse effects to the operation of other equipment. With a mains impedance equal or less than 0.22 Ohms it can be presumed that there will be no negative effects. The mains socket used for this device must be protected with a fuse or protective circuit breaker having slow tripping characteristics.
Noise
The typical A-weighted noise level determined according to EN62841:
- Sound pressure level (LpA) : 100 dB(A)
- Sound power level (LWA) : 111 dB (A)
- Uncertainty (K) : 3 dB(A)
NOTE: The declared noise emission value(s) has been measured in accordance with a standard test method and may be used for comparing one tool with another.
NOTE: The declared noise emission value(s) may also be used in a preliminary assessment of exposure
WARNING: Wear ear protection.
WARNING: The noise emission during actual use of the power tool can differ from the declared value(s) depending on the ways in which the tool is used especially what kind of workpiece is processed.
WARNING: Be sure to identify safety measures to protect the operator that are based on an estimation of exposure in the actual conditions of use (taking account of all parts of the operating cycle such as the times when the tool is switched off and when it is running idle in addition to the trigger time).
Vibration
The vibration total value (tri-axial vector sum) determined according to EN62841:
- Vibration emission (ah) : 3.0 m/s2
- Uncertainty (K) : 1.5 m/s2
NOTE: The declared vibration total value(s) has been measured in accordance with a standard test method and may be used for comparing one tool with another.
NOTE: The declared vibration total value(s) may also be used in a preliminary assessment of exposure.
WARNING: The vibration emission during actual use of the power tool can differ from the declared value(s) depending on the ways in which the tool is used especially what kind of workpiece is processed.
WARNING: Be sure to identify safety measures to protect the operator that are based on an estimation of exposure in the actual conditions of use (taking account of all parts of the operating cycle such as the times when the tool is switched off and when it is running idle in addition to the trigger time).
EC Declaration of Conformity
For European countries only
The EC declaration of conformity is included as Annex A to this instruction manual
SAFETY WARNINGS
General power tool safety warnings
WARNING: Read all safety warnings, instructions, illustrations and specifications provided with this power tool. Failure to follow all instructions listed below may result in electric shock, fire and/or serious injury
Save all warnings and instructions for future reference.
The term “power tool” in the warnings refers to your mains-operated (corded) power tool or battery-operated (cordless) power tool
Cut-off machine safety warnings
- Position yourself and bystanders away from the plane of the rotating wheel. The guard helps to protect the operator from broken wheel frag-ments and accidental contact with wheel.
- Use only bonded reinforced cut-off wheels for your power tool. Just because an accessory can be attached to your power tool, it does not assure safe operation.
- The rated speed of the accessory must be at least equal to the maximum speed marked on the power tool. Accessories running faster than their rated speed can break and fly apart.
- Wheels must be used only for recommended applications. For example: do not grind with the side of a cut-off wheel. Abrasive cut-off wheels are intended for peripheral grinding, side forces applied to these wheels may cause them to shatter.
- Always use undamaged wheel flanges that are of correct diameter for your selected wheel. Proper wheel flanges support the wheel thus reducing the possibility of wheel breakage.
- The outside diameter and the thickness of your accessory must be within the capacity rating of your power tool. Incorrectly sized accessories cannot be adequately guarded or controlled.
- The arbour size of wheels and flanges must prop-erly fit the spindle of the power tool. Wheels and flanges with arbour holes that do not match the mount-ing hardware of the power tool will run out of balance, vibrate excessively and may cause loss of control.
- Do not use damaged wheels. Before each use, inspect the wheels for chips and cracks. If the power tool or wheel is dropped, inspect for dam-age or install an undamaged wheel. After inspect-ing and installing the wheel, position yourself and bystanders away from the plane of the rotating wheel and run the power tool at maximum no load speed for one minute. Damaged wheels will nor-mally break apart during this test time.
- Wear personal protective equipment. Depending on application, use face shield, safety goggles or safety glasses. As appropri-ate, wear dust mask, hearing protectors, gloves and shop apron capable of stopping small abrasive or workpiece fragments. The eye pro-tection must be capable of stopping flying debris generated by various operations. The dust mask or respirator must be capable of filtrating particles generated by your operation. Prolonged exposure to high intensity noise may cause hearing loss.
- Keep bystanders a safe distance away from work area. Anyone entering the work area must wear personal protective equipment. Fragments of workpiece or of a broken wheel may fly away and cause injury beyond immediate area of operation.
- Position the cord clear of the spinning acces-sory. If you lose control, the cord may be cut or snagged and your hand or arm may be pulled into the spinning wheel.
- Regularly clean the power tool’s air vents. The motor’s fan can draw the dust inside the housing and excessive accumulation of powdered metal may cause electrical hazards.
- Do not operate the power tool near flammable materials. Do not operate the power tool while placed on a combustible surface such as wood. Sparks could ignite these materials.
- Do not use accessories that require liquid coolants. Using water or other liquid coolants may result in electrocution or shock.
Kickback and related warnings
Kickback is a sudden reaction to a pinched or snagged rotating wheel. Pinching or snagging causes rapid stalling of the rotating wheel which in turn causes the uncontrolled cutting unit to be forced upwards toward the operator. For example, if an abrasive wheel is snagged or pinched by the workpiece, the edge of the wheel that is entering into the pinch point can dig into the surface of the material causing the wheel to climb out or kick out. Abrasive wheels may also break under these conditions. Kickback is the result of power tool misuse and/or incorrect operating procedures or conditions and can be avoided by taking proper precautions as given below.
- Maintain a firm grip on the power tool and position your body and arm to allow you to resist kickback forces. The operator can control upward kickback forces, if proper precautions are taken.
- Do not position your body in line with the rotating wheel. If kickback occurs, it will propel the cutting unit upwards toward the operator.
- Do not attach a saw chain, woodcarving blade, segmented diamond wheel with a peripheral gap greater than 10 mm or toothed saw blade. Such blades create frequent kickback and loss of control.
- Do not “jam” the wheel or apply excessive pressure. Do not attempt to make an excessive depth of cut. Overstressing the wheel increases the loading and susceptibility to twisting or binding of the wheel in the cut and the possibility of kick-back or wheel breakage.
- When the wheel is binding or when interrupting a cut for any reason, switch off the power tool and hold the cutting unit motionless until the wheel comes to a complete stop. Never attempt to remove the wheel from the cut while the wheel is in motion otherwise kickback may occur. Investigate and take corrective action to eliminate the cause of wheel binding.
- Do not restart the cutting operation in the work-piece. Let the wheel reach full speed and carefully re-enter the cut. The wheel may bind, walk up or kickback if the power tool is restarted in the workpiece.
- Support any oversized workpiece to minimize the risk of wheel pinching and kickback. Large workpieces tend to sag under their own weight. Supports must be placed under the workpiece near the line of cut and near the edge of the work-piece on both sides of the wheel.
Additional safety warnings
- Watch out for flying sparks when operating. They can cause injury or ignite combustible materials.
- Secure work. Use clamps or a vise to hold work when practical. It’s safer than using your hand and it frees both hands to operate tool.
- Secure the wheel carefully.
- Be careful not to damage the spindle, flanges (especially the installing surface) or bolt, or the wheel itself might break.
- Keep guards in place and in working order.
- Hold the handle firmly.
- Keep hands away from rotating parts.
- Make sure the wheel is not contacting the work-piece before the switch is turned on.
- Before each use, watch for flutter or excessive vibration that might be caused by poor instal-lation or a poorly balanced wheel.
- Remove material or debris from the area that might be ignited by sparks. Be sure that others are not in the path of the sparks. Keep a proper, charged fire extinguisher closely available.
- If the wheel stops during the operation, makes an odd noise or begins to vibrate, switch off the tool immediately.
- Always switch off and wait for the wheel to come to a complete stop before removing, securing workpiece, working vise, changing work position, angle or the wheel itself.
- Do not touch the workpiece immediately after oper-ation; it is extremely hot and could burn your skin.
- Store wheels in a dry location only.
SAVE THESE INSTRUCTIONS.
INSTALLATION
WARNING: This tool produces spark when cutting a workpiece. Do not install this tool in the place in which flammable and/or explosive materials might be ignited by the spark from the tool. Also make sure that there is no such material near the tool before starting the operation.
Securing the base
This tool should be bolted with two bolts to a level and stable surface using the bolt holes provided in the tool’s base. This will help prevent tipping over and possible personal injury.

- Bolt holes
- Base
FUNCTIONAL DESCRIPTION
CAUTION: Always be sure that the tool is switched off and unplugged before adjusting or checking function on the tool.
Unlocking/locking tool head
The tool head can be locked. When using, unhook the lock chain from the hook. When not in use or carrying, always hook the lock chain to the hook.

- Hook
- Lock chain
Switch action
WARNING: Before plugging in the tool, always check to see that the switch trigger actu-ates properly and returns to the “OFF” position when released.

- Lock button / Lock-off button
- Switch trigger
For tool with lock button
To start the tool, simply pull the switch trigger. Release the switch trigger to stop. For continuous operation, pull the switch trigger, push in the lock button and then release the switch trigger. To stop the tool from the locked position, pull the trigger fully, then release it.
CAUTION: Switch can be locked in “ON” posi-tion for ease of operator comfort during extended use. Apply caution when locking tool in “ON” position and maintain firm grasp on tool.
For tool with lock-off button
To prevent the switch trigger from being accidentally pulled, a lock-off button is provided. To start the tool, press the lock-off button and pull the switch trigger. Release the switch trigger to stop.
WARNING: NEVER defeat the lock-off button by taping down or some other means. A switch with a negated lock-off button may result in unintentional operation and serious personal injury.
WARNING: NEVER use the tool if it runs when you simply pull the switch trigger without press-ing the lock-off button. A switch in need of repair may result in unintentional operation and serious personal injury. Return tool to a Makita service center for proper repairs BEFORE further usage.
NOTICE: Do not pull the switch trigger hard without pressing in the lock-off button. This can cause switch breakage.
Interval between vise and guide plate
CAUTION: After adjusting the interval between the vise and the guide plate, make sure that the guide plate is properly secured. Insufficient fixing may result in personal injury.
CAUTION: Remember that narrow workpieces may not be secured safely when using the two, wider interval settings.
The following interval settings of the vise are available:
- 0 – 170 mm (original setting)
- 35 – 205 mm
- 70 – 240 mm
If your work requires different setting, proceed as fol-lows to change the spacing or interval. Remove the two hex socket bolts using a hex wrench. Move the guide plate to the desired position and secure it with the hex socket bolts.

- Hex wrench
- Guide plate
- Hex socket bolts
Cutting angle adjustment
CAUTION: After adjusting the angle of the guide plate, make sure that the guide plate is properly secured. Insufficient fixing may result in personal injury.
CAUTION: Do not operate the tool when the material is not firmly secured with the vise because of the cutting angle.
Loosen the two hex socket bolts using a hex wrench. Turn the guide plate to the desired angle and secure it with the hex socket bolts. Be careful not to move the set angle while securing the hex socket bolts.

- Guide plate
- Hex socket bolts
NOTE: The scale on the guide plate is only a rough indication. For more accurate angle, use a protractor or triangle ruler. Keep the handle down so that the cut-off wheel extends into the base. At the same time, adjust the angle between the guide plate and the cut-off wheel with a protractor or triangle ruler.
Spark guard adjustment
The spark guard is factory-installed with its lower edge contacting the base. Operating the tool in this position will cause many sparks to fly around. Loosen the screw and adjust the spark guard to a position at which mini-mum sparks will fly around.

- Screw
- Spark guard
ASSEMBLY
CAUTION: Always be sure that the tool is switched off and unplugged before carrying out any work on the tool.
Removing or installing cut-off wheel
CAUTION: Be sure to tighten the hex socket bolt securely. Insufficient tightening may result in severe injury. When tightening the hex socket bolt, use the hex wrench provided with the tool to assure proper tightening.
CAUTION: Always use only the proper inner and outer flanges which are provided with the tool.
CAUTION: Always lower the safety guard after replacing the wheel.
CAUTION: Wear gloves when handling wheels.

- Inner flange
- Ring
- O-ring
- Bonded reinforced cut-off wheel
- Outer flange
- Washer
- Hex socket bolt
Raise the safety guard. Turn the hex socket bolt coun-terclockwise using a hex wrench while holding down the shaft lock. Then remove the hex socket bolt, washer, outer flange and wheel.

- Shaft lock
- Hex socket bolt
To install the wheel, follow the removal procedures in reverse. Make sure to fit the hole of cut-off wheel to the ring and return the safety guard.
Hex wrench storage
When not in use, store the hex wrench as shown in the figure to keep it from being lost.

OPERATION
CAUTION: Proper handle pressure during cutting and maximum cutting efficiency can be determined by the amount of sparks that is produced while cutting. Do not force the cut by applying excessive pressure on the handle. Reduced cutting efficiency, premature wheel wear, as well as, possible damage to the tool, cut-off wheel or workpiece may result.
Hold the handle firmly. Switch on the tool and wait until the cut-off wheel attains full speed before lowering gently into the cut. When the cut-off wheel contacts the workpiece, gradually bear down on the handle to perform the cut. When the cut is completed, switch off the tool and wait until the cut-off wheel has come to a complete stop before returning the handle to the fully elevated position.
Cutting capacity
Maximum cutting capacity varies depending on the cutting angle and workpiece shape. Max. cutting capacity with a brand-new cut-off wheel

Securing workpiece
CAUTION: Always place the thread holder on the shaft threads when securing the workpiece. Failure to do so may result in insufficient securing of the workpiece. This could cause the workpiece to be ejected or cause a dangerous breakage of the cut-off wheel. While the thread holder is lifted, the vise plate can be moved in and out quickly. To grip a workpiece, push the handle until the vise plate contacts the workpiece then return the thread holder. Turn the handle clockwise until the workpiece is securely retained.

- Handle
- Thread holder
- Vise plate
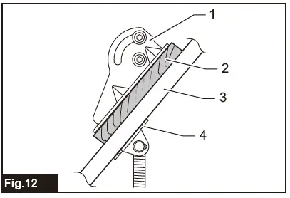
When the cut-off wheel has worn down considerably, place a spacer block behind the workpiece as shown in the figure. You can more efficiently utilize the worn wheel by using the mid point on the periphery of the wheel to cut the workpiece. Use a sturdy and non-flam-mable material for a spacer block.

Spacer block
When cutting workpieces over 85 mm wide at an angle, attach a straight piece of wood (spacer) over 190 mm long x 45 mm wide to the guide plate as shown in the figure. Attach this spacer with screws through the holes in the guide plate. Make sure that the cut-off wheel does not contact the spacer when the tool head is depressed.

- Guide plate
- Spacer block (over 190 mm long x45 mm wide)
- Workpiece (over 85 mm wide)
- Vise plate
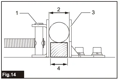
When the cut-off wheel has worn down, raise the cutting position by putting a spacer block which is slightly nar-rower than the workpiece as shown in the figure. This will help you to utilize the cut-off wheel economically.

- Vise plate
- Workpiece diameter
- Guide plate
- Spacer block width
Long workpieces must be supported by blocks on either side so that it will be level with the base top. Use non-flammable material for supporting blocks.

Supporting block
Carrying tool
Fold down the tool head and lock it. Hold the handle when carrying.

MAINTENANCE
CAUTION: Always be sure that the tool is switched off and unplugged before attempting to perform inspection or maintenance.
NOTICE: Never use gasoline, benzine, thinner, alcohol or the like. Discoloration, deformation or cracks may result.
Replacing carbon brushes
Limit mark Check the carbon brushes regularly. Replace them when they wear down to the limit mark. Keep the carbon brushes clean and free to slip in the holders. Both carbon brushes should be replaced at the same time. Use only identical carbon brushes.

- Use a screwdriver to remove the brush holder caps.
- Take out the worn carbon brushes, insert the new ones and secure the brush holder caps.
Brush holder cap
To maintain product SAFETY and RELIABILITY, repairs, any other maintenance or adjustment should be performed by Makita Authorized or Factory Service Centers, always using Makita replacement parts.

Makita Corporation 3-11-8, Sumiyoshi-cho, Anjo, Aichi 446-8502 Japan www.makita.com



















