makita 4101RH 5 Inch Masonry Saw or Cutter Instruction Manual
Explanation of general view
- 1-1. TEST button
- 1-2. RESET or “ON” button
- 1-3. Pilot lamp
- 1-4. Portable residual current device
- (PRCD)
- 2-1. Wing bolt
- 2-2. Base
- 3-1. Wing nut
- 4-1. Wing bolt
- 4-2. End of blade case
- 4-3. Red line
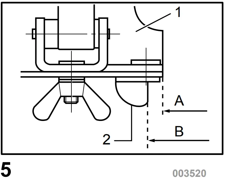
- 5-1. Base
- 5-2. Top guide
- 6-1. Switch trigger
- 6-2. Lock-off button
- 7-1. Wrench 22
- 7-2. Hex wrench
- 8-1. Inner flange
- 8-2. Diamond wheel
- 8-3. Outer flange
- 8-4. Hex socket head bolt
- 9-1. Wing bolt
- 9-2. Blade case
- 9-3. Water pipe
- 10-1. Clamp
- 10-2. Cover (A)
- 12-1. Clamp
- 12-2. Cover (A)
- 13-1. Cover (B)
- 13-2. Screw
- 14-1. Limit mark
- 15-1. Brush holder cap
- 15-2. Screwdriver
SPECIFICATIONS
| Model | 4101RH | |
| Wheel diameter | 125 mm | |
| Max. cutting capacities | 90° | 41.5 mm |
| 45° | 26 mm | |
| No load speed (min-1) | 12,000 | |
| Overall length | 236 mm | |
| Net weight | 3.0 kg | |
| Safety class | Class I | |
- Due to our continuing programme of research and development, the specifications herein are subject to change without notice.
- Specifications may differ from country to country.
- Weight according to EPTA-Procedure 01/2003
Symbols
The following show the symbols used for the equipment.
Be sure that you understand their meaning before use.
Read instruction manual.
The tool should be used on horizontal surfaces.
Do not use the tool upside down.
The tool should be used with the PRCD (Portable Residual Current Device).
Do not use the abrasive cut-off wheel.
After use, brush off accumulation of dust on the base.
Do not use the saw blade.
Only for EU countries
Do not dispose of electric equipment together with household waste material! In observance of European Directive 2002/96/EC on waste electric and electronic equipment and its implementation in accordance with national law, electric equipment that have reached the end of their life must be collected separately and returned to an environmentally compatible recycling facility.
Intended use
The tool is intended for cutting in brick, concrete and stone with the use of water.
Power supply
The tool should be connected only to a power supply of the same voltage as indicated on the nameplate, and can only be operated on single-phase AC supply. This tool should be grounded while in use to protect the operator from electric shock. Use only three-wire extension cords which have three-prong grounding-type plugs and three-pole receptacles which accept the tool’s plug.
Noise
The typical A-weighted noise level determined according to EN60745:
Sound pressure level (LpA) : 101 dB(A)
Sound power level (LWA) : 112 dB(A)
Uncertainty (K) : 3 dB(A)
Wear ear protection
Vibration
The vibration total value (tri-axial vector sum) determined according to EN60745:
Work mode : concrete cutting
Vibration emission (ah) : 4.5 m/s2
Uncertainty (K) : 1.5 m/s2
- The declared vibration emission value has been measured in accordance with the standard test method and may be used for comparing one tool with another.
- The declared vibration emission value may also be used in a preliminary assessment of exposure.
WARNING
- The vibration emission during actual use of the power tool can differ from the declared emission value depending on the ways in which the tool is used.
- Be sure to identify safety measures to protect the operator that are based on an estimation of exposure in the actual conditions of use (taking account of all parts of the operating cycle such as the times when the tool is switched off and when it is running idle in addition to the trigger time).
General Power Tool Safety Warnings
WARNING Read all safety warnings and all instructions. Failure to follow the warnings and instructions may result in electric shock, fire and/or serious injury.
Save all warnings and instructions for future reference.
CUTTER SAFETY WARNINGS
- Read all safety warnings, instructions, illustrations and specifications provided with this power tool. Failure to follow all instructions listed below may result in electric shock, fire and/or serious injury.
- Always use guard provided with the tool. The guard must be securely attached to the power tool and positioned for maximum safety, so the least amount of wheel is exposed towards the operator. The guard helps to protect operator from broken wheel fragments and accidental contact with wheel.
- Use only diamond cut-off wheel for your power tool. Just because the accessory can be attached to your power tool, it does not assure safe operation.
- The rated speed of the wheel must be at least equal to the maximum speed marked on the power tool. Wheels running faster than their rated speed can break and fly apart.
- Always use undamaged wheel flanges that are of correct diameter for your selected wheel. Proper wheel flanges support the wheel thus reducing the possibility of wheel breakage.
- The outside diameter and the thickness of your wheel must be within the capacity rating of your power tool. Incorrectly sized wheels cannot be adequately guarded or controlled.
- The arbour size of wheels and flanges must properly fit the spindle of the power tool. Wheels and flanges with arbour holes that do not match the mounting hardware of the power tool will run out of balance, vibrate excessively and may cause loss of control.
- Do not use damaged wheels. Before each use, inspect the wheels for chips and cracks. If power tool or wheel is dropped, inspect for damage or install an undamaged wheel. After inspecting and installing the wheel, position yourself and bystanders away from the plane of the rotating wheel and run the power tool at maximum no load speed for one minute. Damaged wheels will normally break apart during this test time.
- Wear personal protective equipment. Depending on application, use face shield, safety goggles or safety glasses. As appropriate, wear dust mask, hearing protectors, gloves and shop apron capable of stopping small abrasive or workpiece fragments. The eye protection must be capable of stopping flying debris generated by various operations. The dust mask or respirator must be capable of filtrating particles generated by your operation. Prolonged exposure to high intensity noise may cause hearing loss.
- Keep bystanders a safe distance away from work area. Anyone entering the work area must wear personal protective equipment. Fragments of workpiece or of a broken wheel may fly away and cause injury beyond immediate area of operation.
- Hold power tool by insulated gripping surfaces only, when performing an operation where the wheel may contact hidden wiring or its own cord. Wheel contacting a “live” wire may make exposed metal parts of the power tool “live” and shock the operator.
- Position the cord clear of the spinning wheel. If you lose control, the cord may be cut or snagged and your hand or arm may be pulled into the spinning wheel.
- Never lay the power tool down until the wheel has come to a complete stop. The spinning wheel may grab the surface and pull the power tool out of your control.
- Do not run the power tool while carrying it at your side. Accidental contact with the spinning wheel could snag your clothing, pulling the wheel into your body.
- Regularly clean the power tool’s air vents. The motor’s fan will draw the dust inside the housing and excessive accumulation of powdered metal may cause electrical hazards.
- Do not operate the power tool near flammable materials. Sparks could ignite these materials.
- Never attempt to cut with the tool held upside down in a vise. This can lead to serious accidents, because it is extremely dangerous.
- Some material contains chemicals which may be toxic. Take caution to prevent dust inhalation and skin contact. Follow material supplier safety data.
Kickback and related warnings
Kickback is a sudden reaction to a pinched or snagged rotating wheel. Pinching or snagging causes rapid stalling of the rotating wheel which in turn causes the uncontrolled power tool to be forced in the direction opposite of the wheel’s rotation at the point of the binding.
For example, if a wheel is snagged or pinched by the workpiece, the edge of the wheel that is entering into the pinch point can dig into the surface of the material causing the wheel to climb out or kick out. The wheel may either jump toward or away from the operator, depending on direction of the wheel’s movement at the point of pinching. The wheels may also break under these conditions.
Kickback is the result of power tool misuse and/or incorrect operating procedures or conditions and can be avoided by taking proper precautions as given below.
- Maintain a firm grip on the power tool and position your body and arm to allow you to resist kickback forces. Always use auxiliary handle, if provided, for maximum control over kickback or torque reaction during start-up. The operator can control torque reactions or kickback forces, if proper precautions are taken.
- Never place your hand near the rotating wheel. Wheel may kickback over your hand.
- Do not position your body in line with and behind the rotating wheel. Kickback will propel the tool in direction opposite to the wheel’s movement at the point of snagging.
- Use special care when working corners, sharp edges etc. Avoid bouncing and snagging the wheel. Corners, sharp edges or bouncing have a tendency to snag the rotating wheel and cause loss of control or kickback.
- Do not attach a saw chain woodcarving blade or toothed saw blade. Such blades create frequent kickback and loss of control.
- Do not “jam” the wheel or apply excessive pressure. Do not attempt to make an excessive depth of cut. Overstressing the wheel increases the loading and susceptibility to twisting or binding of the wheel in the cut and the possibility of kickback or wheel breakage.
- When wheel is binding or when interrupting a cut for any reason, switch off the power tool and hold the power tool motionless until the wheel comes to a complete stop. Never attempt to remove the wheel from the cut while the wheel is in motion otherwise kickback may occur. Investigate and take corrective action to eliminate the cause of wheel binding.
- Do not restart the cutting operation in the workpiece. Let the wheel reach full speed and carefully reenter the cut. The wheel may bind, walk up or kickback if the power tool is restarted in the workpiece.
- Support panels or any oversized workpiece to minimize the risk of wheel pinching and kickback. Large workpieces tend to sag under their own weight. Supports must be placed under the workpiece near the line of cut and near theedge of the workpiece on both sides of the wheel.
- Use extra caution when making a “pocket cut” into existing walls or other blind areas. The protruding wheel may cut gas or water pipes, electrical wiring or objects that can cause kickback
SAVE THESE INSTRUCTIONS.
WARNING:
DO NOT let comfort or familiarity with product (gained from repeated use) replace strict adherence to safety rules for the subject product. MISUSE or failure to follow the safety rules stated in this instruction manual may cause serious personal injury.
FUNCTIONAL DESCRIPTION
CAUTION
Always be sure that the tool is switched off and unplugged before adjusting or checking function on the tool.
Portable residual current device
Connect the tool to a power supply and test the Portable Residual Current Device (PRCD) before using the tool. Push the “RESET” or “ON” button and confirm that the pilot lamp lights. Push the “TEST” button and confirm that the pilot lamp goes out. Push the “RESET” or “ON” button again to use the tool.
Fig.1
WARNING
Do not use the tool if the pilot lamp does not go out when the “TEST” button is pushed.
Adjusting the depth of cut
Fig.2 
Loosen the wing bolt on the depth guide and move the base up or down. At the desired depth of cut, secure the base by tightening the wing bolt.
CAUTION
After adjusting the depth of cut, always tighten the wing bolt securely.
Fig.3 
Loosen the wing nut on the bevel scale plate on the front of the base. Set for the desired angle (0° – 45°) by tilting accordingly, then tighten the wing nut securely. Loosen the wing bolt on the depth guide and move the base so that the end of the blade case is above the red line on the depth guide. Then tighten the wing bolt to secure the base.
Fig.4 
NOTE
If the end of the blade case is under the red line on the depth guide, the outer flange may hit the workpiece when you perform the bevel cut.
Sighting
Fig.5 
For straight cuts, align the “A” position on the front of the base with your cutting line. For 45° bevel cuts, align the “B” position with it.
Switch action
CAUTION
Before plugging in the tool, always check to see that the switch trigger actuates properly and returns to the “OFF” position when released.
Fig.6 
To prevent the switch trigger from being accidentally pulled, a lock-off button is provided. To start the tool, push in the lock-off button and pull the switch trigger. Release the switch trigger to stop.
ASSEMBLY
CAUTION:
Always be sure that the tool is switched off and unplugged before carrying out any work on the tool.
Installing or removing diamond wheel
Fig.7 
Hold the outer flange with the wrench and loosen the hex socket head bolt clockwise with the hex wrench. Then remove the hex socket head bolt, outer flange and diamond wheel.
Install the diamond wheel, outer flange and hex socket head bolt onto the spindle. Hold the outer flange with the wrench and tighten the hex socket head bolt counterclockwise with the hex wrench. BE SURE TO TIGHTEN THE HEX SOCKET HEAD BOLT SECURELY
Fig.8 
CAUTION
Use only the Makita wrench to install or remove the wheel.
Installing water pipe
Fig.9 
First, unplug the tool. Loosen the wing bolt on the depth guide and move the base down. Install the water pipe on the blade case using the screw.
Attach the vinyl tube onto the water pipe and attach the adapter on the vinyl tube to a faucet of water mains pressure. Adjust the amount of water flow by simply adjusting the water cock.
Installing cover (A)
Fig.10 
Install the cover (A) on the tool so that its side with “Upside ” mark faces upward.
OPERATION
Fig.11 
Adjust the amount of water flow. Hold the tool firmly. Set the base plate on the workpiece to be cut without the wheel making any contact. Then turn the tool on and wait until the wheel attains full speed. Now simply move the tool forward over the workpiece surface, keeping it flat and advancing smoothly until the cutting is completed. Keep your cutting line straight and your speed of advance uniform.
CAUTION
- THIS TOOL SHOULD ONLY BE USED ON HORIZONTAL SURFACES.
- Be sure to move the tool forward in a straight line and gently. Forcing and exerting excessive pressure or allowing the wheel to bend, pinch or twist in the cut can cause overheating of the motor and dangerous kickback of the tool.
- Since excessive cutting may cause overload of the motor, the depth of cut should not be more than 20 mm at a pass. When you wish to cut more than 20 mm deep, make a couple of passes with progressively deeper settings.
MAINTENANCE
CAUTION
- Always be sure that the tool is switched off and unplugged before attempting to perform inspection or maintenance.
- Never use gasoline, benzine, thinner, alcohol or the like. Discoloration, deformation or cracks may result.
Dressing diamond wheel
If the cutting action of the diamond wheel begins to diminish, use an old discarded coarse grit bench grinder wheel or concrete block to dress the diamond wheel. To do this, tightly secure the bench grinder wheel or concrete block and cut in it.
After use
Blow away dust from the inside of the tool by running the tool at an idle for a while. Brush off accumulation of dust on the base. Accumulation of dust in the motor or on the base may cause a malfunction of the tool.
Cleaning covers
Fig.12 
When accumulation of dust on the cover (A) looks excessive, loosen the clamp and remove the cover (A). Wash off accumulation of dust inside the cover (A) and wipe it. Then install the cover (A) on the tool so that its side with “Upside ” mark faces upward. Push the cover (A) toward the motor as far as it will go and secure it by tightening the clamp
When changing the wheel, clean the cover (B) at the same time. Loosen the screw securing the cover (B) and remove the cover (B). Wash off accumulation of dust inside the cover (B) and wipe it. Then attach the cover (B) to the tool by tightening the screw. Accumulation of dust inside the covers may cause a malfunction of the tool.
Fig.13 
CAUTION:
- When using the tool, be sure to attach the covers (A) and (B).
Replacing carbon brushes
Fig.14 
Remove and check the carbon brushes regularly.
Replace when they wear down to the limit mark. Keep the carbon brushes clean and free to slip in the holders.
Both carbon brushes should be replaced at the same time. Use only identical carbon brushes.
First, remove the cover (A).
Use a screwdriver to remove the brush holder caps. Take out the worn carbon brushes, insert the new ones and secure the brush holder caps.
Fig.15 
To maintain product SAFETY and RELIABILITY, repairs, any other maintenance or adjustment should be performed by Makita Authorized Service Centers, always using Makita replacement parts.
OPTIONAL ACCESSORIES
CAUTION:
- These accessories or attachments are recommended for use with your Makita tool specified in this manual. The use of any other accessories or attachments might present a risk of injury to persons. Only use accessory or attachment for its stated purpose.
If you need any assistance for more details regarding these accessories, ask your local Makita Service Center.
- Diamond wheels
- Hex wrench 5
- Wrench 22
- Rip fence (Guide rule)
NOTE:
- Some items in the list may be included in the tool package as standard accessories. They may differ from country to country.
For European countries only
EC Declaration of Conformity
We Makita Corporation as the responsible manufacturer declare that the following Makita machine(s):
Designation of Machine:
Cutter
Model No./ Type: 4101RH
are of series production and
Conforms to the following European Directives:
2006/42/EC
And are manufactured in accordance with the following standards or standardised documents:
EN60745
The technical documentation is kept by our authorised representative in Europe who is:
Makita International Europe Ltd.
Michigan Drive, Tongwell,
Milton Keynes, Bucks MK15 8JD, England
30.1.2009

Tomoyasu Kato
Director
Makita Corporation
3-11-8, Sumiyoshi-cho,
Anjo, Aichi, 446-8502, JAPAN

After use, brush off accumulation of dust on the base.
Do not use the saw blade.
Only for EU countries
















